CN202964072U - 斜顶槽加工夹具 - Google Patents

斜顶槽加工夹具 Download PDF

Info

Publication number
CN202964072U
CN202964072U CN 201220626609 CN201220626609U CN202964072U CN 202964072 U CN202964072 U CN 202964072U CN 201220626609 CN201220626609 CN 201220626609 CN 201220626609 U CN201220626609 U CN 201220626609U CN 202964072 U CN202964072 U CN 202964072U
Authority
CN
China
Prior art keywords
fixture
main body
jig main
angle
fixture body
Prior art date
Legal status (The legal status is an assumption and is not a legal conclusion. Google has not performed a legal analysis and makes no representation as to the accuracy of the status listed.)
Expired - Fee Related
Application number
CN 201220626609
Other languages
English (en)
Inventor
谢志强
Current Assignee (The listed assignees may be inaccurate. Google has not performed a legal analysis and makes no representation or warranty as to the accuracy of the list.)
Dongguan Huasheng Electronic Technology Co ltd
Guangdong Janus Intelligent Group Corp Ltd
Original Assignee
Dongguan Huasheng Electronic Technology Co ltd
Janus Dongguan Precision Components Co Ltd
Priority date (The priority date is an assumption and is not a legal conclusion. Google has not performed a legal analysis and makes no representation as to the accuracy of the date listed.)
Filing date
Publication date
Application filed by Dongguan Huasheng Electronic Technology Co ltd, Janus Dongguan Precision Components Co Ltd filed Critical Dongguan Huasheng Electronic Technology Co ltd
Priority to CN 201220626609 priority Critical patent/CN202964072U/zh
Application granted granted Critical
Publication of CN202964072U publication Critical patent/CN202964072U/zh
Anticipated expiration legal-status Critical
Expired - Fee Related legal-status Critical Current

Links

Images

Landscapes

  • Jigs For Machine Tools (AREA)

Abstract

斜顶槽加工夹具,包括夹具主体和夹具基座,所述夹具主体和夹具基座通过销轴铰接,并通过角度垫块调整夹具主体与夹具基体之间的角度;所述夹具主题上表面设有纵向贯穿夹具主体的矩形凹槽,凹槽一侧设有锁紧螺栓,夹具主体上方设有压块,夹具主体前侧设有基准块。本实用新型所提供的斜顶槽加工夹具工件装夹稳定,而且装夹方式简单,对同一批次的工件只需进行一次校表,节省时间和劳力。

Description

斜顶槽加工夹具
技术领域
 本实用新型涉及机械加工领域,具体涉及一种斜顶工件顶部槽位加工的夹具。
背景技术
注塑模具中一般配有斜顶工件,斜顶工件上设有槽位,现有技术中对斜顶工件槽位的加工是单个工件装夹校表分中,再对槽位进行线切割加工,如此每个工件重复定位校表需要消耗大量时间,效率低下。
发明内容
为克服现有技术的不足及存在的问题,本实用新型提供一种可用于任何斜度的斜顶工件加工、并可对斜顶工件高精度重复定位的斜顶槽加工夹具。
本实用新型是通过以下技术方案实现的:
斜顶槽加工夹具,包括夹具主体和夹具基座,所述夹具主体和夹具基座通过销轴铰接,并通过角度垫块调整夹具主体与夹具基座之间的角度;所述夹具主体上表面设有纵向贯穿夹具主体的矩形凹槽,凹槽一侧设有锁紧螺栓,夹具主体上方设有压块,夹具主体前侧设有基准块。
所述角度垫块设有螺丝固定位,通过螺丝将角度垫块固定在夹具主体上。
本实用新型与现有技术比较,存在以下有益效果:夹具主体上设有基准块,加工同一型号的工件只需对第一个加工工件进行碰数校准,后续加工的工件只需根据基准块定位即可,节省了校表时间;夹具主体上方设有压块,旁边设有锁紧螺栓,工件不易松动,保证加工时工件的稳定。
附图说明
图1是本实用新型的前侧装配结构示意图;
图2是本实用新型的后侧装配结构示意图。
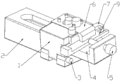
图中:1-夹具主体,2-夹具基座,3-轴销,4-凹槽,5-锁紧螺栓,6-压块,7-基准块,8-角度垫块,9-斜顶工件。
具体实施方式
为了便于本领域技术人员的理解,以下结合附图对本实用新型作进一步详细描述。应当指出,此处所描述的具体实施例仅仅用于解释本实用新型,并不用于限定本实用新型。
如附图1、2所示,斜顶槽加工夹具,包括夹具主体1和夹具基座2,所述夹具主体1和夹具基座2通过销轴3铰接,并通过角度垫块8调整夹具主体1与夹具基座2之间的角度;所述夹具主体1上表面设有纵向贯穿夹具主体1的矩形凹槽4,加工时斜顶工件9置于凹槽4上,斜顶工件9底面与凹槽4底面贴合,斜顶工件9垂直面与凹槽4垂直面贴合,斜顶工件9一头与夹具主体1前侧所设基准块7相抵,通过凹槽4一侧所设锁紧螺栓5和夹具主体1上方所设压块6,将斜顶工件固定;所述基准块7用于斜顶工件碰数,加工同一型号的斜顶工件只需对第一个加工工件进行碰数校准,后续加工的工件只需根据基准块7定位即可。所述角度垫块8设有螺丝固定位,通过螺丝将角度垫块8固定在夹具主体1上,如此可保证角度的精确。

Claims (2)

1.斜顶槽加工夹具,包括夹具主体(1)和夹具基座(2),其特征在于:所述夹具主体(1)和夹具基座(2)通过销轴(3)铰接,并通过角度垫块(8)调整夹具主体(1)与夹具基座(2)之间的角度;所述夹具主体(1)上表面设有纵向贯穿夹具主体的矩形凹槽(4),凹槽(4)一侧设有锁紧螺栓(5),夹具主体(1)上方设有压块(6),夹具主体(1)前侧设有基准块(7)。
2.根据权利要求1所述的斜顶槽加工夹具,其特征在于:所述角度垫块(8)设有螺丝固定位,通过螺丝将角度垫(8)块固定在夹具主体(1)上。
CN 201220626609 2012-11-23 2012-11-23 斜顶槽加工夹具 Expired - Fee Related CN202964072U (zh)

Priority Applications (1)

Application Number Priority Date Filing Date Title
CN 201220626609 CN202964072U (zh) 2012-11-23 2012-11-23 斜顶槽加工夹具

Applications Claiming Priority (1)

Application Number Priority Date Filing Date Title
CN 201220626609 CN202964072U (zh) 2012-11-23 2012-11-23 斜顶槽加工夹具

Publications (1)

Publication Number Publication Date
CN202964072U true CN202964072U (zh) 2013-06-05

Family

ID=48505201

Family Applications (1)

Application Number Title Priority Date Filing Date
CN 201220626609 Expired - Fee Related CN202964072U (zh) 2012-11-23 2012-11-23 斜顶槽加工夹具

Country Status (1)

Country Link
CN (1) CN202964072U (zh)

Cited By (2)

* Cited by examiner, † Cited by third party
Publication number Priority date Publication date Assignee Title
CN108098085A (zh) * 2017-11-29 2018-06-01 台州市黄岩星泰塑料模具有限公司 模具斜顶电加工靠模
CN108972070A (zh) * 2018-09-30 2018-12-11 中山市利群精密实业有限公司 一种应用于斜顶以及异形工件加工的治具

Cited By (2)

* Cited by examiner, † Cited by third party
Publication number Priority date Publication date Assignee Title
CN108098085A (zh) * 2017-11-29 2018-06-01 台州市黄岩星泰塑料模具有限公司 模具斜顶电加工靠模
CN108972070A (zh) * 2018-09-30 2018-12-11 中山市利群精密实业有限公司 一种应用于斜顶以及异形工件加工的治具

Similar Documents

Publication Publication Date Title
CN202701854U (zh) 一种行位镶件夹具
CN202114499U (zh) 一种线切割夹具
CN204487208U (zh) 用于加工叉形支架槽的铣床夹具
CN204748116U (zh) 一种模具平面加工用夹具
CN201201188Y (zh) 等高研磨治具
CN204565684U (zh) 圆形反向器滚珠螺母端面键槽夹具
CN202964072U (zh) 斜顶槽加工夹具
CN201573240U (zh) 线切割夹具
CN216325429U (zh) 一种用于提高框架装夹定位找正效率的铣夹具
CN204171699U (zh) 燕尾夹具
CN105500058B (zh) 一种cnc加工弯曲件专用夹具及装夹方法
CN201960353U (zh) 一种扁顶针类工件加工治具
CN216178607U (zh) 一种机用平口钳配套夹具
CN203156076U (zh) 可调高度的车削加工对刀器
CN204565687U (zh) 一种缝纫机中座内腔铣削夹具
CN203621958U (zh) 小镶件类工件使用的工件定位夹具
CN204339359U (zh) 加工中心用组合夹具机构
CN204621556U (zh) 一种机床侧床身的精调定位机构
CN204262974U (zh) 螺纹杆磨扁工装
CN103465068B (zh) 一种下拖板对铣两端面夹具
CN101704255B (zh) 线切割夹具
CN206662819U (zh) 机器人转盘柔性加工夹具
CN222986283U (zh) 异形工件辅助固定装置
CN204546030U (zh) 一种新型数控车床拨叉铣槽夹具装置
CN222405305U (zh) 大钩安全舌加工的定位装置

Legal Events

Date Code Title Description
C14 Grant of patent or utility model
GR01 Patent grant
CP01 Change in the name or title of a patent holder
CP01 Change in the name or title of a patent holder

Address after: The town of Changan city of Dongguan province Guangdong 523000 Wu Sha Cun Li Wu Xing FA Lu

Co-patentee after: Guangdong Jinsheng Intelligent Group Co.,Ltd.

Patentee after: DONGGUAN HUASHENG ELECTRONIC TECHNOLOGY Co.,Ltd.

Address before: The town of Changan city of Dongguan province Guangdong 523000 Wu Sha Cun Li Wu Xing FA Lu

Co-patentee before: JANUS ( DONGGUAN ) PRECISION COMPONENTS Co.,Ltd.

Patentee before: DONGGUAN HUASHENG ELECTRONIC TECHNOLOGY Co.,Ltd.

TR01 Transfer of patent right
TR01 Transfer of patent right

Effective date of registration: 20180207

Address after: 523878 Changan City, Guangdong Province town on the corner management area

Patentee after: Guangdong Jinsheng Intelligent Group Co.,Ltd.

Address before: The town of Changan city of Dongguan province Guangdong 523000 Wu Sha Cun Li Wu Xing FA Lu

Co-patentee before: Guangdong Jinsheng Intelligent Group Co.,Ltd.

Patentee before: DONGGUAN HUASHENG ELECTRONIC TECHNOLOGY Co.,Ltd.

CF01 Termination of patent right due to non-payment of annual fee
CF01 Termination of patent right due to non-payment of annual fee

Granted publication date: 20130605

Termination date: 20191123