CN202859429U - 带陶瓷电热基板的电热暖手器 - Google Patents
带陶瓷电热基板的电热暖手器 Download PDFInfo
- Publication number
- CN202859429U CN202859429U CN 201220516414 CN201220516414U CN202859429U CN 202859429 U CN202859429 U CN 202859429U CN 201220516414 CN201220516414 CN 201220516414 CN 201220516414 U CN201220516414 U CN 201220516414U CN 202859429 U CN202859429 U CN 202859429U
- Authority
- CN
- China
- Prior art keywords
- electric
- electric heating
- heating
- hand warmer
- base board
- Prior art date
- Legal status (The legal status is an assumption and is not a legal conclusion. Google has not performed a legal analysis and makes no representation as to the accuracy of the status listed.)
- Expired - Fee Related
Links
- 238000005485 electric heating Methods 0.000 title claims abstract description 85
- 239000000919 ceramic Substances 0.000 title claims abstract description 31
- 239000000758 substrate Substances 0.000 title abstract 10
- 238000010438 heat treatment Methods 0.000 claims abstract description 46
- 230000001012 protector Effects 0.000 claims abstract description 18
- PNEYBMLMFCGWSK-UHFFFAOYSA-N Alumina Chemical compound [O-2].[O-2].[O-2].[Al+3].[Al+3] PNEYBMLMFCGWSK-UHFFFAOYSA-N 0.000 claims description 57
- 238000009413 insulation Methods 0.000 claims description 38
- 239000004020 conductor Substances 0.000 claims description 31
- 230000000903 blocking effect Effects 0.000 claims description 22
- 239000010408 film Substances 0.000 claims description 21
- 229910052751 metal Inorganic materials 0.000 claims description 20
- 239000002184 metal Substances 0.000 claims description 20
- XUIMIQQOPSSXEZ-UHFFFAOYSA-N Silicon Chemical compound [Si] XUIMIQQOPSSXEZ-UHFFFAOYSA-N 0.000 claims description 15
- 229910052710 silicon Inorganic materials 0.000 claims description 15
- 239000010703 silicon Substances 0.000 claims description 15
- 239000000463 material Substances 0.000 claims description 12
- VYPSYNLAJGMNEJ-UHFFFAOYSA-N Silicium dioxide Chemical compound O=[Si]=O VYPSYNLAJGMNEJ-UHFFFAOYSA-N 0.000 claims description 7
- 239000010409 thin film Substances 0.000 claims description 7
- 239000000741 silica gel Substances 0.000 claims description 6
- 229910002027 silica gel Inorganic materials 0.000 claims description 6
- 239000003822 epoxy resin Substances 0.000 claims description 5
- 229920000647 polyepoxide Polymers 0.000 claims description 5
- 229920000642 polymer Polymers 0.000 claims description 5
- 150000001875 compounds Chemical class 0.000 claims description 4
- 239000002131 composite material Substances 0.000 claims description 3
- 238000009422 external insulation Methods 0.000 claims description 3
- 239000002657 fibrous material Substances 0.000 claims description 3
- 238000003780 insertion Methods 0.000 claims description 3
- 230000037431 insertion Effects 0.000 claims description 3
- 238000004021 metal welding Methods 0.000 claims description 3
- 239000007787 solid Substances 0.000 claims description 3
- 229920001169 thermoplastic Polymers 0.000 claims description 3
- 239000004416 thermosoftening plastic Substances 0.000 claims description 3
- 230000000694 effects Effects 0.000 abstract description 10
- XLYOFNOQVPJJNP-UHFFFAOYSA-N water Substances O XLYOFNOQVPJJNP-UHFFFAOYSA-N 0.000 abstract description 5
- 238000011161 development Methods 0.000 abstract description 3
- 230000002349 favourable effect Effects 0.000 abstract 1
- XAGFODPZIPBFFR-UHFFFAOYSA-N aluminium Chemical compound [Al] XAGFODPZIPBFFR-UHFFFAOYSA-N 0.000 description 12
- 239000002002 slurry Substances 0.000 description 7
- 229910052782 aluminium Inorganic materials 0.000 description 6
- 230000005611 electricity Effects 0.000 description 6
- 238000003475 lamination Methods 0.000 description 6
- 238000012546 transfer Methods 0.000 description 6
- 206010037660 Pyrexia Diseases 0.000 description 5
- 239000004411 aluminium Substances 0.000 description 4
- 239000003792 electrolyte Substances 0.000 description 4
- 238000004519 manufacturing process Methods 0.000 description 4
- 238000000034 method Methods 0.000 description 4
- 238000000926 separation method Methods 0.000 description 4
- 238000005245 sintering Methods 0.000 description 4
- 238000009841 combustion method Methods 0.000 description 3
- 230000007812 deficiency Effects 0.000 description 3
- 238000005516 engineering process Methods 0.000 description 3
- 230000007613 environmental effect Effects 0.000 description 3
- FAPWRFPIFSIZLT-UHFFFAOYSA-M Sodium chloride Chemical compound [Na+].[Cl-] FAPWRFPIFSIZLT-UHFFFAOYSA-M 0.000 description 2
- 230000009286 beneficial effect Effects 0.000 description 2
- 238000006243 chemical reaction Methods 0.000 description 2
- 238000010304 firing Methods 0.000 description 2
- 238000007639 printing Methods 0.000 description 2
- 238000007789 sealing Methods 0.000 description 2
- 238000010792 warming Methods 0.000 description 2
- 206010014357 Electric shock Diseases 0.000 description 1
- FYYHWMGAXLPEAU-UHFFFAOYSA-N Magnesium Chemical compound [Mg] FYYHWMGAXLPEAU-UHFFFAOYSA-N 0.000 description 1
- 238000009825 accumulation Methods 0.000 description 1
- 239000002253 acid Substances 0.000 description 1
- 235000021168 barbecue Nutrition 0.000 description 1
- 238000005422 blasting Methods 0.000 description 1
- 239000004568 cement Substances 0.000 description 1
- 239000012141 concentrate Substances 0.000 description 1
- 230000009514 concussion Effects 0.000 description 1
- 230000006378 damage Effects 0.000 description 1
- 238000000354 decomposition reaction Methods 0.000 description 1
- 238000004134 energy conservation Methods 0.000 description 1
- 239000003292 glue Substances 0.000 description 1
- 238000005338 heat storage Methods 0.000 description 1
- 230000008676 import Effects 0.000 description 1
- 230000002045 lasting effect Effects 0.000 description 1
- 239000007788 liquid Substances 0.000 description 1
- 150000002739 metals Chemical class 0.000 description 1
- 238000012544 monitoring process Methods 0.000 description 1
- 231100000614 poison Toxicity 0.000 description 1
- 230000007096 poisonous effect Effects 0.000 description 1
- 230000005855 radiation Effects 0.000 description 1
- 238000012827 research and development Methods 0.000 description 1
- 239000011780 sodium chloride Substances 0.000 description 1
- 239000000126 substance Substances 0.000 description 1
- 238000003466 welding Methods 0.000 description 1
- 238000004804 winding Methods 0.000 description 1
Images
Landscapes
- Resistance Heating (AREA)
Abstract
本实用新型涉及一种带陶瓷电热基板的电热暖手器,包括袋体和电加热体,电加热体设置在袋体内,其特征是,所述电加热体系陶瓷电热基板,陶瓷电热基板串联有过热保护器;此款电热暖手器,通过使用陶瓷电热基板作为电加热体,并配合串联的过热保护器,它具有结构简单、合理,加热速度快的特性,而且,过热保护器可实时监测陶瓷电热基板的发热状况,当陶瓷电热基板露出液面造成干烧时,过热保护器会断电保护,实现防干烧的作用,因此,其工作安全可靠,产品使用寿命长,而且,这种新型电加热体,其发热效率高,可节省电能、环保,有利于产业化的可持续发展。
Description
技术领域
本实用新型涉及储热式电热暖手器技术领域,尤其是一种带陶瓷电热基板的电热暖手器。
背景技术
电热暖手器又称“电暖袋”或叫“电热水袋”,它体积小、加热快、储热持久、外表柔软且手感舒适,作为冬季理想的取暖产品倍受人们的亲睐。
电热暖手器结构包括袋体、电源插座、组装在插座下的温控电路和指示电路、与电源插座电路连接且设在袋体内的发热装置。早期的电热暖手器设置在袋体内的发热装置直接采用两块金属片浸泡在含有一定比例的氯化钠电解液里,通电后将电能通过两块金属片导通电解液把电能转化为热能,通过能量转化的方式将电解液加热,从而起到取暖效果。这种电极式电热暖手器加热装置极为简单,成本较低,但在电暖袋通电加热时因电极直接导通电解液,如果袋体出现漏水,人体接触到袋体漏水都会造成触电危险。随着人们使用安全意识的提高,曾经风靡一时的电极式电热暖手器已慢慢地被一些新的水电分离发热装置的电热暖手器所取代。
目前市场上常见的有以下几种电热暖手器的水电分离式加热装置:
(1)、以发热管为发热体的电加热装置,发热管发热虽然快速,但发热不均匀,高温区集中在管体中间部位,散热较慢,通常要在发热管外壁包裹金属外壳才能起到很好的均匀散热及快速加热的效果,还有必须将发热管输入端增加温控元件,且须将发热管的两输入端口用耐高温的绝缘胶密封才能使其起到水电分离和防干烧的效果。这种以发热管为发热体的电热暖手器加热装置通常是结构配件多,装配工艺复杂,人工成本很高。还有就是因发热管两输入端口被胶密封,经常出现因发热管管内镁粉填充烧烤工艺未做到位而出现困气爆管,致使发热管无法加热;
(2)、以发热线为发热体的电加热装置,发热线发热速度快,发热均匀,但线与线之间不能堆叠,如果紧密堆叠,散热效果和加热效果会降低,所以常见的发热线大多有进行交错绕线,且绕线工艺相对复杂,如发热线线皮有沙孔就会使袋内的水带电,无法完全做到水电分离。好的发热线成本较高,加之交错绕线产能低,如要将发热线做到防干烧,其生产工艺更为复杂,综合成本高也将制约其产能化发展的需求;
(3)、以PTC为发热体的电加热装置,PTC发热体比上述两种发热体有诸多明显的优势:热效率高、升温速度快、散热均匀、高温恒温发热,但现有市场PTC电热暖手器来看:其组装工艺简单,端口密封结构强度较差,没有防干烧电路控制和无隔热罩保护,无法起到防干烧作用,存在一定的安全隐患。
以上三种电加热装置的电热暖手器长期使用后,袋内的水都会含有一定的有害物质而无法达到环保要求。
针对上述不足,需研发使用一种新的电热暖手器的电加热装置,新的电加热装置既节能又环保、既安全又耐用、既经济又实用,以满足电热暖手器专业化、产业化生产需求。
实用新型内容
本实用新型的目的在于克服上述现有技术存在的不足,而提供一种结构简单、合理,加热速度快、可防止干烧、安全可靠、节能环保、使用寿命长的带陶瓷电热基板的电热暖手器。
本实用新型的目的是这样实现的:
带陶瓷电热基板的电热暖手器,包括袋体和电加热体,电加热体设置在袋体内,其特征是,所述电加热体系陶瓷电热基板,陶瓷电热基板串联有过热保护器;此款电热暖手器,通过使用陶瓷电热基板作为电加热体,并配合串联的过热保护器,它具有结构简单、合理,加热速度快的特性,而且,过热保护器可实时监测陶瓷电热基板的发热状况,当陶瓷电热基板露出液面造成干烧时,过热保护器会断电保护,实现防干烧的作用,因此,其工作安全可靠,产品使用寿命长,而且,这种新型电加热体,其发热效率高,可节省电能、环保。
本实用新型的目的还可以采用以下技术措施解决:
作为更具体的方案,所述陶瓷电热基板包括金属发热膜、氧化铝陶瓷外层、接线电极和导电线,金属发热膜设置在氧化铝陶瓷外层内,接线电极与金属发热膜电性连接,导电线与接线电极连接,且导电线和接线电极连接处设置有密封绝缘层,其中,导电线上还串接有所述过热保护器;工作时,电源由导电线经接线电极导入金属发热膜,金属发热膜通电发热,热量迅速由氧化铝陶瓷外层传递出去,鉴于氧化铝陶瓷外层具有良好的热传导作用,而且面积较大,有利于热量的迅速散发,提高热效率。
作为更具体之方案,所述金属发热膜和氧化铝陶瓷外层系在氧化铝陶瓷生片上印刷电阻浆料、并经叠片层压后在1200℃至1800℃高温下电阻浆料与氧化铝陶瓷生片共烧而成,氧化铝陶瓷生片烧结后形成所述氧化铝陶瓷外层,电阻浆料烧结后形成所述金属发热膜。
所述电加热体包括两个接线电极,它们分别与金属发热膜的两端焊固连接,每个接线电极连接有导电线。
它还包括网状隔离保护罩和防震耐高温硅胶圈,所述电加热体呈片状、并设置在网状隔离保护罩内,以防止电加热体与袋壁接触,因过热而损坏袋壁之不足,所述防震耐高温硅胶圈设置在电加热体与网状隔离保护罩之间,既有利于电加热体的安放、固定,又可起到防震之作用。
作为更具体的实施,所述防震耐高温硅胶圈设有两个、并分别套设在电加热体两端。
所述袋体由上袋壁和下袋壁围设而成,下袋壁连接固定杆一端,固定杆和袋体均由相同材料制成,固定杆与下袋体为高频热复合连接成一体,固定杆另一端与网状隔离保护罩连接,上袋壁设置有电源插座,所述导电线与电源插座电性连接。
为了方便高频热复合,所述固定杆和袋体系由PVC材料制成,固定杆下端设有连接头,连接头与下袋壁中心位置通过高频热复合固定连接在一起,固定杆上端设有挂扣,网状隔离保护罩系由耐高温的热塑性材料制成的上网罩和下网罩构成,上网罩和下网罩表面开设有若干个呈方形、菱形或圆形的散热孔,下网罩底部对应固定杆上端的挂扣设有卡槽,挂扣从卡槽开口扣入卡槽内,下网罩还扣接有将卡槽开口封锁住的锁扣。
所述锁扣系由耐高温PP材料制成,锁扣呈U形,U形开口设有倒钩,U形底部一侧设有凸起挡块,所述下网罩的卡槽开口旁侧对应锁扣的倒钩设有扣孔,锁扣的倒钩从下网罩由外向内插入扣孔中扣接固定,凸起挡块伸入卡槽内并挡住固定杆。
所述导电线和接线电极连接处包裹有耐高温绝缘薄膜,耐高温绝缘薄膜外围再用耐高温硅胶或环氧树脂合成胶进行密封绝缘处理;所述导电线系外绝缘层为硅纤材料的耐高温导线;所述过热保护器系温控器或熔断器,过热保护器与陶瓷电热基板接触或靠近。
本实用新型的有益效果如下:
(1)此款电热暖手器,由于采用陶瓷电热基板(MCH)作为电加热体,它是在氧化铝陶瓷生片上印刷电阻浆料,经叠片层压后,在1650℃左右的高温下金属与陶瓷共烧,然后再焊接上导线,就成为一种中低温发热元件;陶瓷本身就是一种优良的耐高温、热膨胀系数小、高硬度、超强的耐酸碱、耐有害气体的环保材料,它有极佳的导热性能和绝缘性能,发热均匀无明火,高效节能,在相同发热效率条件下,可节电40%;高温下不会损坏发热金属膜,使用寿命长,功率衰减量小,发热效果稳定,是替代含铅有毒PTC发热元件及传统低热效率电阻元件的理想产品。只要将陶瓷发热片上的两电极同导线焊接位置绝缘密封就能起到很好的防漏电效果。这种陶瓷电热基板结构简单,使用极为方便,关键是节能环保,利于产业化的可持续发展;
(2)再有,上网罩和下网罩通过螺钉连接在一起形成网状隔离保护罩,最后用固定杆和锁扣将装有电加热体的网状隔离保护罩通过一固定杆固定在电暖手器下袋体内壁中心位置,这样既保证良好的加热效果,又能起到发热体干烧不会烧坏袋体的功能;
(3)再有,电加热体两端套有防震耐高温硅胶圈可避免电加热体5因震荡而断裂,提高其使用寿命,另外,防震耐高温硅胶圈将电加热体垫起一定高度,上网罩和下网罩表面还设有散热孔,以便于电加热体上下两侧导热对流,加快水温提升的速度;
(4)另,固定杆与袋体材料一致(均为PVC材料制成),以确保两者结合的牢固性;
(5)最后,鉴于锁扣与下网罩由外向内扣入后,从外面是无法正常拆卸,必须通过辅助工具从下网罩的内部侧顶锁扣的倒扣位才能将锁扣取出, 所以其结构强度安全可靠,而且操作非常方便。
附图说明
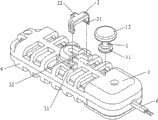
图1为本实用新型的电热暖手器示意图。
图2为本实用新型网状隔离保护罩及电加热体的分解示意图。
图3为电加热体第一实施方式结构示意图。
图4为电加热体第二实施方式结构示意图。
图5为图2的网状隔离保护罩及电加热体组合后的示意图。
图6为图5打开上网罩后结构示意图。
图7为图5的另一角度示意图。
图8为图7的固定杆、锁扣与电加热体分解示意图。
图9为PTC电加热装置与网状隔离保护罩连接结构示意图。
图10为图9中PTC电加热装置结构示意图。
图11为PTC电加热装置分解结构示意图。
具体实施方式
下面结合附图及实施例对本实用新型作进一步描述。
实施例一,如图1、图2、图3和图5所示,一种带陶瓷电热基板的电热暖手器,包括袋体B和电加热体5,电加热体5设置在袋体B内,其特征是,所述电加热体5系陶瓷电热基板,陶瓷电热基板串联有过热保护器7。
上述陶瓷电热基板可以系包括金属发热膜52、氧化铝陶瓷外层51、接线电极53和导电线6,金属发热膜52设置在氧化铝陶瓷外层51内,接线电极53与金属发热膜52电性连接,导电线6与接线电极53连接,且导电线6和接线电极53连接处设置有密封绝缘层,其中,导电线6上还串接有所述过热保护器7。
作为具体的实施方案,所述金属发热膜52和氧化铝陶瓷外层51系在氧化铝陶瓷生片上印刷电阻浆料、并经叠片层压后在1200℃至1800℃高温下电阻浆料与氧化铝陶瓷生片共烧而成,氧化铝陶瓷生片烧结后形成所述氧化铝陶瓷外层51,电阻浆料烧结后形成所述金属发热膜52。
所述电加热体5包括两个接线电极,它们分别与金属发热膜的两端焊固连接,每个接线电极连接有导电线。
它还包括网状隔离保护罩A和防震耐高温硅胶圈10,所述电加热体5呈片状、并设置在网状隔离保护罩A内,所述防震耐高温硅胶圈10设置在电加热体5与网状隔离保护罩A之间。
结合图6所示,所述防震耐高温硅胶圈10设有两个、并分别套设在电加热体5两端。
结合图1、图7和图8所示,所述袋体B由上袋壁B1和下袋壁B2围设而成,下袋壁B2连接固定杆1一端,固定杆1和袋体B均由相同材料制成,固定杆1与下袋体为高频热复合连接成一体,固定杆1另一端与网状隔离保护罩A连接,上袋壁B1设置有电源插座,所述导电线6与电源插座电性连接。
所述固定杆1和袋体系由PVC材料制成,固定杆1下端设有连接头12与下袋体内壁中心位置通过高频热复合固定连接在一起,固定杆1上端设有挂扣11,网状隔离保护罩系由耐高温的热塑性材料制成的上网罩4和下网罩3构成,上网罩4和下网罩3表面开设有若干个呈方形、菱形或圆形的散热孔41,下网罩3底部对应固定杆1上端的挂扣11设有卡槽32,挂扣11从卡槽32开口扣入卡槽32内,下网罩3还扣接有将卡槽32开口封锁住的锁扣2。所述固定杆1下端连接头12呈圆盘状,以确保其有更大的面积与下袋体接触,连接更加可靠。
所述锁扣2系由耐高温PP材料制成,锁扣2呈U形,U形开口设有倒钩21,U形底部一侧设有凸起挡块22,所述下网罩3的卡槽32开口旁侧对应锁扣2的倒钩21设有扣孔31,锁扣2的倒钩21从下网罩3由外向内插入扣孔31中扣接固定,凸起挡块22伸入卡槽32内并挡住固定杆1。
所述导电线6和接线电极53连接处系通过耐高温硅胶或环氧树脂合成胶9进行密封绝缘处理。
所述导电线6系外绝缘层为硅纤材料61的耐高温导线,所述过热保护器7系突跳式可复位温控器或熔断器,过热保护器7与陶瓷电热基板接触或靠近。
实施例二,如图4所示,与实施例一的不同之处在于:所述导电线6和接线电极53连接处包裹有耐高温绝缘薄膜8,耐高温绝缘薄膜外围再用耐高温硅胶或环氧树脂合成胶9进行密封绝缘处理。
本实用新型的电热暖手器,还公开了一种使用PTC加热装置的实施例;见图9至图11所示,PTC加热装置5’包括PCT发热片13、印刷铝膜14、导电传热铝片15和T型散热铝片16,T型散热铝片16设有内腔161,PCT发热片13上下两侧均设有所述导电传热铝片15,印刷铝膜14印制在PCT发热片13上下两侧、并与导电传热铝片15导电连接;PCT发热片13及导电传热铝片15同时套入耐高温绝缘薄膜内,然后,三者同时插入T型散热铝片16的内腔161,最后在T型散热铝片16两端用耐高温硅胶或环氧树脂合成胶9对内腔161端口进行密封绝缘处理。上述PCT发热片13上下两侧的导电传热铝片15分别连接有导电线6,其中一导电线上串联有熔断器7,熔断器7与导电线6连接处、导电线6与导电传热铝片15连接处均套有耐高温绝缘硅纤管17,两根导电线6外套设有硅胶管18。上述PTC加热装置5’设置在由上网罩4和下网罩3构成的网状隔离保护罩A内,PTC加热装置5’两端还设有硅胶圈10,网状隔离保护罩A表面设有散热孔41。
Claims (9)
1.带陶瓷电热基板的电热暖手器,包括袋体(B)和电加热体(5),电加热体(5)设置在袋体(B)内,其特征是,所述电加热体(5)系陶瓷电热基板,陶瓷电热基板串联有过热保护器(7)。
2.根据权利要求1所述带陶瓷电热基板的电热暖手器,其特征是,所述陶瓷电热基板包括金属发热膜(52)、氧化铝陶瓷外层(51)、接线电极(53)和导电线(6),金属发热膜(52)设置在氧化铝陶瓷外层(51)内,接线电极(53)与金属发热膜(52)电性连接,导电线(6)与接线电极(53)连接,且导电线(6)和接线电极(53)连接处设置有密封绝缘层,其中,导电线(6)上还串接有所述过热保护器(7)。
3.根据权利要求2所述带陶瓷电热基板的电热暖手器,其特征是,所述电加热体(5)包括两个接线电极,它们分别与金属发热膜的两端焊固连接,每个接线电极连接有导电线。
4.根据权利要求2所述带陶瓷电热基板的电热暖手器,其特征是,还包括网状隔离保护罩(A)和防震耐高温硅胶圈(10),所述电加热体(5)呈片状、并设置在网状隔离保护罩(A)内,所述防震耐高温硅胶圈(10)设置在电加热体(5)与网状隔离保护罩(A)之间。
5.根据权利要求4所述带陶瓷电热基板的电热暖手器,其特征是,所述防震耐高温硅胶圈(10)设有两个、并分别套设在电加热体(5)两端。
6.根据权利要求2所述带陶瓷电热基板的电热暖手器,其特征是,所述袋体(B)由上袋壁(B1)和下袋壁(B2)围设而成,下袋壁(B2)连接固定杆(1)一端,固定杆(1)和袋体(B)均由相同材料制成,固定杆(1)与下袋体为高频热复合连接成一体,固定杆(1)另一端与网状隔离保护罩(A)连接,上袋壁(B1)设置有电源插座,所述导电线(6)与电源插座电性连接。
7.根据权利要求6所述带陶瓷电热基板的电热暖手器,其特征是,所述固定杆(1)和袋体(B)系由PVC材料制成,固定杆(1)下端设有连接头(12),连接头(12)与下袋壁(B2)中心位置通过高频热复合固定连接在一起,固定杆(1)上端设有挂扣(11),网状隔离保护罩(A)系由耐高温的热塑性材料制成的上网罩(4)和下网罩(3)构成,上网罩(4)和下网罩(3)表面开设有若干个呈方形、菱形或圆形的散热孔(41),下网罩(3)底部对应固定杆(1)上端的挂扣(11)设有卡槽(32),挂扣(11)从卡槽(32)开口扣入卡槽(32)内,下网罩(3)还扣接有将卡槽(32)开口封锁住的锁扣(2)。
8.根据权利要求7所述带陶瓷电热基板的电热暖手器,其特征是,所述锁扣(2)系由耐高温PP材料制成,锁扣(2)呈U形,U形开口设有倒钩(21),U形底部一侧设有凸起挡块(22),所述下网罩(3)的卡槽(32)开口旁侧对应锁扣(2)的倒钩(21)设有扣孔(31),锁扣(2)的倒钩(21)从下网罩(3)由外向内插入扣孔(31)中扣接固定,凸起挡块(22)伸入卡槽(32)内并挡住固定杆(1)。
9.根据权利要求2所述带陶瓷电热基板的电热暖手器,其特征是,所述导电线(6)和接线电极(53)连接处包裹有耐高温绝缘薄膜(8),耐高温绝缘薄膜外围再用耐高温硅胶或环氧树脂合成胶(9)进行密封绝缘处理;所述导电线(6)系外绝缘层为硅纤材料(61)的耐高温导线;所述过热保护器(7)系温控器或熔断器,过热保护器(7)与陶瓷电热基板接触或靠近。
Priority Applications (1)
| Application Number | Priority Date | Filing Date | Title |
|---|---|---|---|
| CN 201220516414 CN202859429U (zh) | 2012-10-10 | 2012-10-10 | 带陶瓷电热基板的电热暖手器 |
Applications Claiming Priority (1)
| Application Number | Priority Date | Filing Date | Title |
|---|---|---|---|
| CN 201220516414 CN202859429U (zh) | 2012-10-10 | 2012-10-10 | 带陶瓷电热基板的电热暖手器 |
Publications (1)
| Publication Number | Publication Date |
|---|---|
| CN202859429U true CN202859429U (zh) | 2013-04-10 |
Family
ID=48026194
Family Applications (1)
| Application Number | Title | Priority Date | Filing Date |
|---|---|---|---|
| CN 201220516414 Expired - Fee Related CN202859429U (zh) | 2012-10-10 | 2012-10-10 | 带陶瓷电热基板的电热暖手器 |
Country Status (1)
| Country | Link |
|---|---|
| CN (1) | CN202859429U (zh) |
Cited By (4)
| Publication number | Priority date | Publication date | Assignee | Title |
|---|---|---|---|---|
| CN102860899A (zh) * | 2012-10-10 | 2013-01-09 | 佛山市顺德区美美创新电器有限公司 | 带陶瓷电热基板的电热暖手器 |
| CN110726320A (zh) * | 2019-10-08 | 2020-01-24 | 沈阳工程学院 | 一种固体电蓄热炉用电热保护套管 |
| JP2021016766A (ja) * | 2019-07-17 | 2021-02-15 | 佛山市順徳区美興達電器有限公司Foshan Shunde Meixingda Electrical Appliances Co., Ltd. | 縦型電気湯たんぽ及びその充電台 |
| JP2021041028A (ja) * | 2019-09-12 | 2021-03-18 | 佛山市順徳区美興達電器有限公司Foshan Shunde Meixingda Electrical Appliances Co., Ltd. | Ptc加熱パッドを備える電気湯たんぽ |
-
2012
- 2012-10-10 CN CN 201220516414 patent/CN202859429U/zh not_active Expired - Fee Related
Cited By (4)
| Publication number | Priority date | Publication date | Assignee | Title |
|---|---|---|---|---|
| CN102860899A (zh) * | 2012-10-10 | 2013-01-09 | 佛山市顺德区美美创新电器有限公司 | 带陶瓷电热基板的电热暖手器 |
| JP2021016766A (ja) * | 2019-07-17 | 2021-02-15 | 佛山市順徳区美興達電器有限公司Foshan Shunde Meixingda Electrical Appliances Co., Ltd. | 縦型電気湯たんぽ及びその充電台 |
| JP2021041028A (ja) * | 2019-09-12 | 2021-03-18 | 佛山市順徳区美興達電器有限公司Foshan Shunde Meixingda Electrical Appliances Co., Ltd. | Ptc加熱パッドを備える電気湯たんぽ |
| CN110726320A (zh) * | 2019-10-08 | 2020-01-24 | 沈阳工程学院 | 一种固体电蓄热炉用电热保护套管 |
Similar Documents
| Publication | Publication Date | Title |
|---|---|---|
| CN202859429U (zh) | 带陶瓷电热基板的电热暖手器 | |
| CN102860899A (zh) | 带陶瓷电热基板的电热暖手器 | |
| CN201054804Y (zh) | 一种厚膜陶瓷发热板 | |
| CN105573379A (zh) | 一种基于温差电效应的智能温控系统及其控温方法 | |
| CN101963371A (zh) | 电磁加热取暖器 | |
| CN201256453Y (zh) | 一种保健发热衣用发热元件 | |
| CN203506379U (zh) | 一种便携式电热水壶 | |
| CN2331142Y (zh) | 高温ptc节能安全长寿发热板 | |
| CN202998520U (zh) | 远红外碳纤纸发热体 | |
| CN206191931U (zh) | 一种基于石墨烯技术的热得快 | |
| CN202818637U (zh) | 电热暖手器的电加热装置安装结构 | |
| CN207398311U (zh) | 一种动力电池模组及电池箱体 | |
| CN202722590U (zh) | 即充速热安全保温手套 | |
| CN201212732Y (zh) | 蜂窝式多功能电加热器 | |
| CN202892192U (zh) | 一种新型暖手宝 | |
| CN204880652U (zh) | 一种即热式电热水器 | |
| CN201790560U (zh) | 一种暖奶器 | |
| CN201595562U (zh) | 恒温保暖抱枕 | |
| CN202364398U (zh) | 高温热铬丝稀土合成陶瓷发热片 | |
| CN208610632U (zh) | 一种安全便携的杯盖加热保温体 | |
| CN206269358U (zh) | Ptc半导体电热锅炉以及供暖系统 | |
| CN203598099U (zh) | 一种安全节能型暖手宝 | |
| CN205208910U (zh) | Ptc液体加热器 | |
| CN206586815U (zh) | 带红外发热膜的加热陶瓷壶 | |
| CN202998519U (zh) | 远红外碳晶纸发热体 |
Legal Events
| Date | Code | Title | Description |
|---|---|---|---|
| C14 | Grant of patent or utility model | ||
| GR01 | Patent grant | ||
| CF01 | Termination of patent right due to non-payment of annual fee |
Granted publication date: 20130410 Termination date: 20151010 |
|
| EXPY | Termination of patent right or utility model |