CN202641303U - Independent suspension device for four-wheel electric vehicle - Google Patents
Independent suspension device for four-wheel electric vehicle Download PDFInfo
- Publication number
- CN202641303U CN202641303U CN 201220173228 CN201220173228U CN202641303U CN 202641303 U CN202641303 U CN 202641303U CN 201220173228 CN201220173228 CN 201220173228 CN 201220173228 U CN201220173228 U CN 201220173228U CN 202641303 U CN202641303 U CN 202641303U
- Authority
- CN
- China
- Prior art keywords
- shock absorber
- support frame
- rocker arm
- shaft
- electric vehicle
- Prior art date
- Legal status (The legal status is an assumption and is not a legal conclusion. Google has not performed a legal analysis and makes no representation as to the accuracy of the status listed.)
- Expired - Lifetime
Links
- 239000000725 suspension Substances 0.000 title claims abstract description 16
- 230000035939 shock Effects 0.000 claims abstract description 84
- 239000006096 absorbing agent Substances 0.000 claims abstract description 75
- 230000000694 effects Effects 0.000 abstract description 6
- 238000010521 absorption reaction Methods 0.000 abstract description 5
- 230000005540 biological transmission Effects 0.000 description 1
- 238000000034 method Methods 0.000 description 1
- 238000012986 modification Methods 0.000 description 1
- 230000004048 modification Effects 0.000 description 1
Images
Landscapes
- Vehicle Body Suspensions (AREA)
- Arrangement Or Mounting Of Propulsion Units For Vehicles (AREA)
Abstract
一种四轮电动车的独立悬挂装置,包括车架,车架连接有支撑架,支撑架连接有减震器,减震器一端设有第一减震器转轴,减震器的另一端设有第二减震器转轴,第一减震器转轴活动连接于支撑架,第二减震器转轴连接有摇臂,摇臂的一端活动连接于支撑架。本实用新型结构简单,设计合理,安装方便,减震效果好,乘坐舒服。
An independent suspension device for a four-wheel electric vehicle comprises a frame, the frame is connected to a support frame, the support frame is connected to a shock absorber, one end of the shock absorber is provided with a first shock absorber rotating shaft, the other end of the shock absorber is provided with a second shock absorber rotating shaft, the first shock absorber rotating shaft is movably connected to the support frame, the second shock absorber rotating shaft is connected to a rocker arm, one end of the rocker arm is movably connected to the support frame. The utility model has a simple structure, a reasonable design, is easy to install, has a good shock absorption effect, and is comfortable to ride.
Description
技术领域 technical field
本实用新型涉及独立悬挂技术领域,特别是涉及一种四轮电动车的独立悬挂装置。 The utility model relates to the technical field of independent suspension, in particular to an independent suspension device of a four-wheel electric vehicle.
背景技术 Background technique
悬挂结构是车辆中车架与车桥或车轮之间的一切传力连接装置的总称,其作用是传递车轮和车架之间的力和力矩,缓冲因不平路面传给车架或车身的冲击力,并衰减由此引起的震动,以保证车辆能平顺地行驶。悬挂结构的好坏直接影响到四轮电动车的操纵稳定性,制动安全性和舒服性等。 Suspension structure is the general term for all force transmission connection devices between the frame and the axle or wheels in the vehicle. Its function is to transmit the force and moment between the wheels and the frame, and buffer the impact transmitted to the frame or body due to uneven roads. force, and attenuate the vibration caused by it, so as to ensure that the vehicle can run smoothly. The quality of the suspension structure directly affects the handling stability, braking safety and comfort of the four-wheel electric vehicle.
但是,传统的四轮电动车的悬挂结构采用非独立前桥与车架进行连接,使得车辆行走时,车轮上下跳动的范围不大。在颠簸的路面时,舒适性较差,在转向的时候较易发生侧翻。此外,传统的四轮电动车的悬挂结构不仅结构复杂,占用空间较大,其减震器的下端与车轮直接相连,此种安装方式使得其在吸震时不仅反应不够灵敏,且减震效果不好,装配难度较大。 However, the suspension structure of the traditional four-wheel electric vehicle adopts a non-independent front axle to connect with the vehicle frame, so that when the vehicle is walking, the range of the wheels bouncing up and down is not large. On bumpy roads, the comfort is poor, and rollover is more likely to occur when turning. In addition, the suspension structure of the traditional four-wheel electric vehicle is not only complicated in structure, but also takes up a lot of space. The lower end of the shock absorber is directly connected to the wheel. Well, it is more difficult to assemble.
发明内容 Contents of the invention
基于此,有必要针对现有技术的缺点的问题,提供一种四轮电动车的独立悬挂装置,其结构简单,设计合理,减震效果好,舒适性好。 Based on this, it is necessary to address the shortcomings of the prior art to provide an independent suspension device for a four-wheel electric vehicle, which has a simple structure, reasonable design, good shock absorption effect and good comfort.
一种四轮电动车的独立悬挂装置,包括车架,所述车架连接有支撑架,所述支撑架连接有减震器,所述减震器一端设有第一减震器转轴,所述减震器的另一端设有第二减震器转轴,所述第一减震器转轴连接于所述支撑架,所述第二减震器转轴连接有摇臂,所述摇臂的一端连接于所述支撑架。 An independent suspension device for a four-wheel electric vehicle, comprising a vehicle frame, the vehicle frame is connected with a support frame, the support frame is connected with a shock absorber, and one end of the shock absorber is provided with a first shock absorber rotating shaft. The other end of the shock absorber is provided with a second shock absorber rotating shaft, the first shock absorber rotating shaft is connected to the support frame, the second shock absorber rotating shaft is connected to a rocker arm, and one end of the rocker arm connected to the support frame.
在其中一个实施例中,所述摇臂与所述支撑架连接的一端设有第一轴套,所述支撑架上设有圆杆,所述第一轴套套设于所述圆杆外围,所述摇臂通过所述第一轴套和圆杆活动连接。 In one of the embodiments, the end of the rocker arm connected to the support frame is provided with a first bushing, the support frame is provided with a round rod, and the first bush is sleeved on the periphery of the round rod, The rocker arm is movably connected with the round rod through the first bushing.
在其中一个实施例中,所述摇臂与所述第二减震器转轴连接的一端设有第二轴套,所述第二轴套套设于所述第二减震器转轴外围,所述摇臂通过所述第二轴套沿所述第二减震器转轴转动。 In one of the embodiments, the end of the rocker arm connected to the second shock absorber shaft is provided with a second bushing, and the second bushing is sleeved on the periphery of the second shock absorber shaft. The rocker arm rotates along the rotation axis of the second shock absorber through the second bushing.
在其中一个实施例中,所述减震器外围套设有弹簧,所述减震器一端通过所述第一减震器转轴与所述支撑架活动连接,所述减震器另一端通过所述第二减震器转轴与所述摇臂活动连接。 In one of the embodiments, a spring is sleeved around the shock absorber, one end of the shock absorber is movably connected to the support frame through the first shock absorber shaft, and the other end of the shock absorber is connected through the The rotating shaft of the second shock absorber is movably connected with the rocker arm.
在其中一个实施例中,所述减震器还连接有连接件,所述连接件连接车轮的轮毂。 In one of the embodiments, the shock absorber is further connected with a connecting piece, and the connecting piece is connected with the hub of the wheel.
上述四轮电动车的独立悬挂装置,结构简单,安装方便,两侧车轮彼此独立地通过减震器和支撑架与车身相连。在颠簸的路面行走时,当一侧车轮受到冲击后,可通过所述减震器吸收冲击力,使冲击力不会波及另一侧车轮,使车辆始终处于良好的工作状态,吸震效果好,乘坐舒服。 The independent suspension device of the above-mentioned four-wheel electric vehicle has a simple structure and is easy to install, and the wheels on both sides are independently connected to the vehicle body through the shock absorber and the support frame. When walking on a bumpy road, when one side of the wheel is impacted, the shock absorber can absorb the impact, so that the impact will not affect the other side of the wheel, so that the vehicle is always in good working condition, and the shock absorption effect is good. The ride is comfortable.
附图说明 Description of drawings
图1为本实用新型结构示意图。 Fig. 1 is the structural representation of the utility model.
以下是本实用新型零部件符号标记说明: The following is the description of the utility model part symbols and marks:
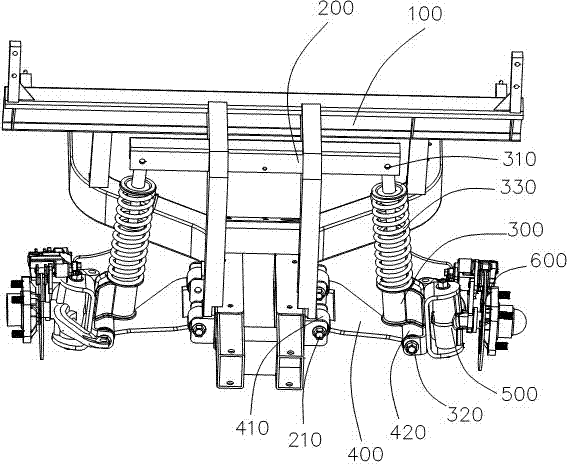
车架100、支撑架200、圆杆210、减震器300、第一减震器转轴310、第二减震器转轴320、弹簧330、摇臂400、第一轴套410、第二轴套420、连接件500、轮毂600。
具体实施方式 Detailed ways
为能进一步了解本实用新型的特征、技术手段以及所达到的具体目的、功能,解析本实用新型的优点与精神,藉由以下结合附图与具体实施方式对本实用新型的详述得到进一步的了解。 In order to be able to further understand the features, technical means and achieved specific objectives and functions of the utility model, and to analyze the advantages and spirit of the utility model, a further understanding of the utility model can be obtained through the following detailed description of the utility model in conjunction with the accompanying drawings and specific embodiments .
本实用新型包括车架100,所述车架100固定连接有支撑架200,所述支撑架200连接有减震器300。所述减震器300一端设有第一减震器转轴310,所述减震器300的另一端设有第二减震器转轴320,所述第一减震器转轴310连接于所述支撑架200,所述第二减震器转轴320连接有摇臂400。所述减震器300一端通过所述第一减震器转轴310与所述支撑架200活动连接,所述减震器300可通过所述第一减震转轴围绕与所述支撑架200的连接处转动。所述减震器300另一端通过所述第二减震器转轴320与所述摇臂400活动连接。所述第一减震器转轴310和第二减震器转轴320使得所述减震器300在吸震时反应更为灵敏,减震效果更好。
The utility model includes a
所述摇臂400一端活动连接于所述第二减震器转轴320,所述摇臂400的另一端连接于所述支撑架200。所述摇臂400与所述支撑架200连接的一端设有第一轴套410,所述支撑架200上设有与所述第一轴套410匹配的圆杆210。所述第一轴套410套设于所述圆杆210外围,所述摇臂400通过所述第一轴套410和圆杆210活动连接。所述第一轴套410可沿所述圆杆210转动,进而带动所述摇臂400摆动。
One end of the
所述摇臂400与所述第二减震器转轴320连接的一端设有第二轴套420。所述第二轴套420套设于所述第二减震器转轴320外围,所述摇臂400通过所述第二轴套420沿所述第二减震器转轴320转动。
One end of the
所述减震器300外围套设有弹簧330,所述弹簧330用以控制所述减震器300的运动,缓和由不平路面引起的振动和冲击。
The
所述减震器300还连接有连接件500,所述连接件500连接车轮的轮毂600。
The
在使用四轮电动车时,当电动车车轮遇到颠簸路面产生的震动时,首先通过电动车的车轮和连接件500将震动传递到所述减震器300和摇臂400上。所述减震器300外围的弹簧330受压发生弹性形变,所述减震器300吸收震动。此时,由于所述摇臂400与所述减震器300和支撑架200活动连接,在所述摇臂400接收到震动时,所述摇臂400通过所述第一轴套410和第二轴套420可转动,使震动减弱。同时,所述减震器300把余下的震动通过所述支撑架200传递给所述车架100,此时的震动极小,人体几乎感觉不到震动,从而达到减震效果,增加了乘坐的舒适性。
When using a four-wheel electric vehicle, when the wheels of the electric vehicle encounter vibrations generated by bumpy roads, the vibrations are first transmitted to the shock absorber 300 and the
综上所述,本实用新型结构简单,安装方便,两侧车轮彼此独立地通过减震器300和支撑架200与车身相连。在颠簸的路面行走时,当一侧车轮受到冲击后,可通过所述减震器300吸收冲击力,使冲击力不会波及另一侧车轮,使车辆始终处于良好的工作状态,吸震效果好,乘坐舒服。
In summary, the utility model has a simple structure and is easy to install, and the wheels on both sides are connected to the vehicle body through the shock absorber 300 and the
以上所述实施例仅表达了本实用新型的几种实施方式,其描述较为具体和详细,但并不能因此而理解为对本实用新型专利范围的限制。应当指出的是,对于本领域的普通技术人员来说,在不脱离本实用新型构思的前提下,还可以做出若干变形和改进,这些都属于本实用新型的保护范围。因此,本实用新型专利的保护范围应以所附权利要求为准。 The above-mentioned embodiments only express several implementations of the utility model, and the description thereof is relatively specific and detailed, but it should not be construed as limiting the patent scope of the utility model. It should be noted that those skilled in the art can make several modifications and improvements without departing from the concept of the present invention, and these all belong to the protection scope of the present invention. Therefore, the scope of protection of the utility model patent should be based on the appended claims.
Claims (5)
Priority Applications (1)
| Application Number | Priority Date | Filing Date | Title |
|---|---|---|---|
| CN 201220173228 CN202641303U (en) | 2012-04-23 | 2012-04-23 | Independent suspension device for four-wheel electric vehicle |
Applications Claiming Priority (1)
| Application Number | Priority Date | Filing Date | Title |
|---|---|---|---|
| CN 201220173228 CN202641303U (en) | 2012-04-23 | 2012-04-23 | Independent suspension device for four-wheel electric vehicle |
Publications (1)
| Publication Number | Publication Date |
|---|---|
| CN202641303U true CN202641303U (en) | 2013-01-02 |
Family
ID=47410458
Family Applications (1)
| Application Number | Title | Priority Date | Filing Date |
|---|---|---|---|
| CN 201220173228 Expired - Lifetime CN202641303U (en) | 2012-04-23 | 2012-04-23 | Independent suspension device for four-wheel electric vehicle |
Country Status (1)
| Country | Link |
|---|---|
| CN (1) | CN202641303U (en) |
Cited By (3)
| Publication number | Priority date | Publication date | Assignee | Title |
|---|---|---|---|---|
| CN106167068A (en) * | 2015-05-19 | 2016-11-30 | 郑庆华 | The independent suspension mechanism that rear wheels of motor-vehicles can upright be beated |
| CN106627011A (en) * | 2017-02-24 | 2017-05-10 | 浙江春风动力股份有限公司 | All terrain vehicle rear rocker arm |
| CN114161893A (en) * | 2021-12-31 | 2022-03-11 | 顾国忠 | Shock-absorbing booster structure for wheeled vehicles |
-
2012
- 2012-04-23 CN CN 201220173228 patent/CN202641303U/en not_active Expired - Lifetime
Cited By (4)
| Publication number | Priority date | Publication date | Assignee | Title |
|---|---|---|---|---|
| CN106167068A (en) * | 2015-05-19 | 2016-11-30 | 郑庆华 | The independent suspension mechanism that rear wheels of motor-vehicles can upright be beated |
| CN106167068B (en) * | 2015-05-19 | 2020-09-15 | 郑庆华 | Independent suspension mechanism with rear wheel capable of vertically jumping for motor vehicle |
| CN106627011A (en) * | 2017-02-24 | 2017-05-10 | 浙江春风动力股份有限公司 | All terrain vehicle rear rocker arm |
| CN114161893A (en) * | 2021-12-31 | 2022-03-11 | 顾国忠 | Shock-absorbing booster structure for wheeled vehicles |
Similar Documents
| Publication | Publication Date | Title |
|---|---|---|
| CN102582757A (en) | Front suspension system for motorcycle | |
| CN202641303U (en) | Independent suspension device for four-wheel electric vehicle | |
| CN204354759U (en) | Electronic van transporter trailing arm type rear suspension system | |
| CN202727902U (en) | Front and back four-wheel independent suspension device applied to electric vehicle | |
| CN206884647U (en) | Electric floor sweeping car shock absorbing apparatus | |
| CN106585302A (en) | Independent rear suspension having transmission function | |
| CN204173118U (en) | Rear wheel connection shock absorber | |
| CN205737924U (en) | A kind of four-wheel independent suspension damping device | |
| CN103350629A (en) | Automobile suspension system | |
| CN105365514B (en) | A kind of suspension fork mechanism for two-wheeled leg mobile robot | |
| CN202807010U (en) | Damping rocker-arm front fork for electric tricycle | |
| CN202053829U (en) | Elastic connecting rod stepping device | |
| CN104527360A (en) | Trailing arm type rear suspension system for power-driven transport van | |
| CN217260514U (en) | A kind of scooter front shock absorption structure and scooter | |
| CN204895735U (en) | Electric tricycle shock mitigation system | |
| CN205131489U (en) | Reverse tricycle turns to stand before and with before turn to stand | |
| CN203268273U (en) | Bicycle front wheel damping device | |
| CN202529099U (en) | Elastic suspension structure | |
| CN203864896U (en) | Electro-tricycle damping rocker front fork | |
| CN203854448U (en) | Automobile balanced suspension structure and electric truck | |
| CN114954765A (en) | Scooter front shock-absorbing structure with universal head and scooter | |
| CN206606026U (en) | A kind of balancing pole not easy to break | |
| CN201951534U (en) | Child cart | |
| CN203739564U (en) | Middle-sized front coach independent front-suspended mechanism | |
| CN203496597U (en) | Rear shock absorbing mechanism for electric vehicle |
Legal Events
| Date | Code | Title | Description |
|---|---|---|---|
| C14 | Grant of patent or utility model | ||
| GR01 | Patent grant | ||
| C56 | Change in the name or address of the patentee | ||
| CP02 | Change in the address of a patent holder |
Address after: Guangdong province Dongguan City Wanjiang 523000 New Village No. 1 and the state. Patentee after: Dongwan Ruida Battery car technology co., LTD Address before: Guangdong province Dongguan City Wanjiang 523000 Mo Wu Village Road community primary pumping station Patentee before: Dongwan Ruida Battery car technology co., LTD |
|
| CX01 | Expiry of patent term | ||
| CX01 | Expiry of patent term |
Granted publication date: 20130102 |
