CN202618950U - Solar armchair - Google Patents
Solar armchair Download PDFInfo
- Publication number
- CN202618950U CN202618950U CN 201220247976 CN201220247976U CN202618950U CN 202618950 U CN202618950 U CN 202618950U CN 201220247976 CN201220247976 CN 201220247976 CN 201220247976 U CN201220247976 U CN 201220247976U CN 202618950 U CN202618950 U CN 202618950U
- Authority
- CN
- China
- Prior art keywords
- chair
- solar
- battery
- utility
- model
- Prior art date
- Legal status (The legal status is an assumption and is not a legal conclusion. Google has not performed a legal analysis and makes no representation as to the accuracy of the status listed.)
- Expired - Fee Related
Links
- 210000002683 foot Anatomy 0.000 claims 2
- 238000000034 method Methods 0.000 description 1
- 238000012986 modification Methods 0.000 description 1
- 230000004048 modification Effects 0.000 description 1
Images
Landscapes
- Special Chairs (AREA)
Abstract
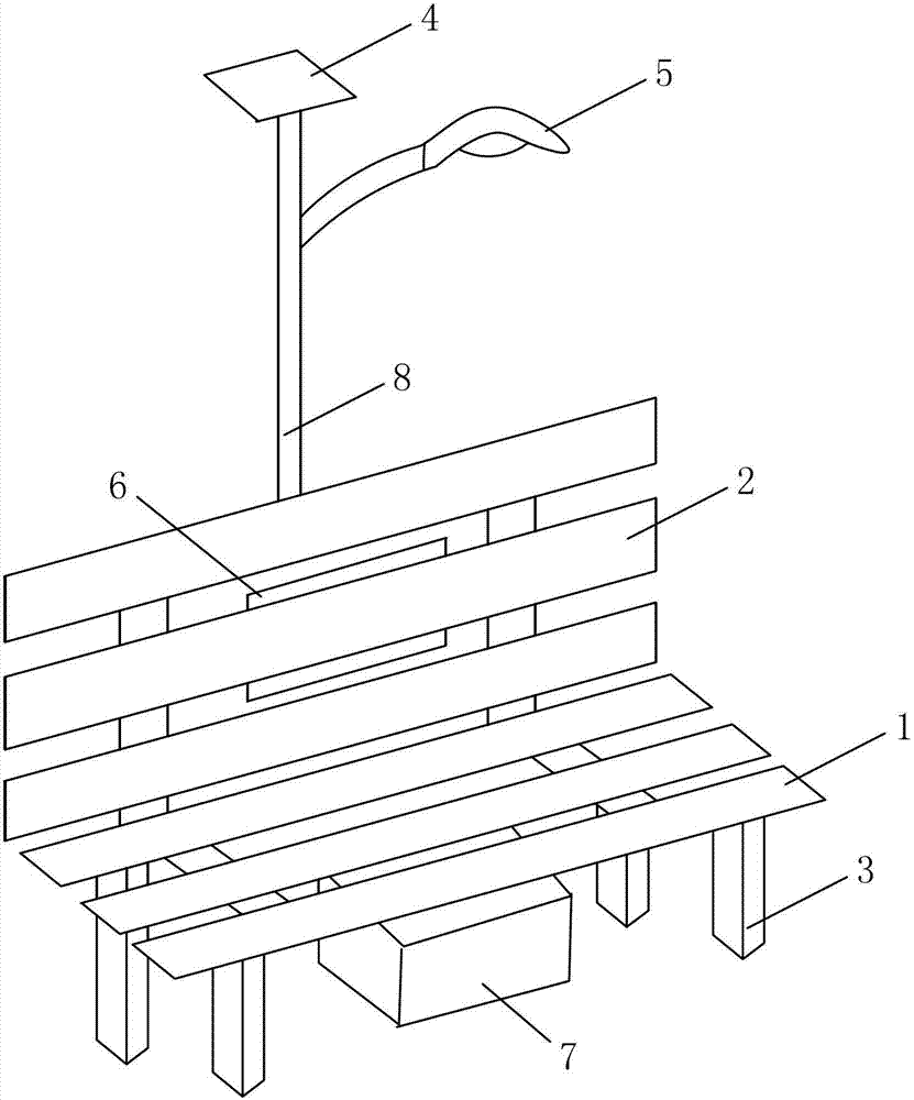
本实用新型涉及带太阳能的靠椅。包括椅面、椅背和四个支撑脚,所述的椅背上设有太阳能电池板及灯泡,所述椅背的背面设有控制器,四个支撑脚之间设有蓄电池,所述的太阳能电池板及蓄电池与控制器相连,所述的灯泡与蓄电池相连。由上述技术方案可知,本实用新型通过在靠椅上设置太阳能电池板,这样可以将白天吸收的光能转成电能,送往蓄电池中存储,晚上,蓄电池为灯泡供电,起到照明作用,这样靠椅不仅可以休息,晚上还能起到照明作用,节约了能源。
The utility model relates to a chair with solar energy. It includes a chair surface, a chair back and four supporting legs. The chair back is provided with a solar panel and a light bulb. The back of the chair is provided with a controller. The solar battery panel and the storage battery are connected with the controller, and the light bulb is connected with the storage battery. It can be seen from the above technical scheme that the utility model can convert the light energy absorbed during the day into electric energy by installing a solar panel on the armchair, and send it to the battery for storage. At night, the battery supplies power to the light bulb to play a lighting role. The armchair can not only rest, but also play a lighting role at night, which saves energy.
Description
技术领域 technical field
本实用新型涉及一种靠椅,具体说涉及一种带太阳能的靠椅。The utility model relates to a reclining chair, in particular to a reclining chair with solar energy.
背景技术 Background technique
目前,公园或小区内会设有很多靠椅供游客或住户休息,这些靠椅的功能单一。At present, many armchairs are provided in parks or communities for tourists or residents to rest, and these armchairs have a single function.
实用新型内容 Utility model content
本实用新型的目的在于提供一种带太阳能的板凳。The purpose of the utility model is to provide a bench with solar energy.
为实现上述目的,本实用新型采用了以下技术方案:包括椅面、椅背和四个支撑脚,所述的椅背上设有太阳能电池板及灯泡,所述椅背的背面设有控制器,四个支撑脚之间设有蓄电池,所述的太阳能电池板、蓄电池及灯泡均与控制器相连,所述的灯泡与蓄电池相连。In order to achieve the above object, the utility model adopts the following technical solutions: including a chair surface, a chair back and four supporting legs, the chair back is provided with solar panels and light bulbs, and the back of the chair back is provided with a controller A storage battery is arranged between the four supporting legs, the solar panel, the storage battery and the light bulb are all connected to the controller, and the light bulb is connected to the storage battery.
本实用新型的椅背上设有固定杆,所述的太阳能电池板与灯泡设置在固定杆上。The chair back of the utility model is provided with a fixed rod, and the solar battery panel and the light bulb are arranged on the fixed rod.
由上述技术方案可知,本实用新型通过在靠椅上设置太阳能电池板,这样可以将白天吸收的光能转成电能,送往蓄电池中存储,晚上,蓄电池为灯泡供电,起到照明作用,这样靠椅不仅可以休息,晚上还能起到照明作用,节约了能源。It can be seen from the above-mentioned technical scheme that the utility model can convert the light energy absorbed in the daytime into electric energy by arranging the solar panel on the armchair, and send it to the storage battery for storage. The armchair can not only rest, but also play a lighting role at night, saving energy.
附图说明 Description of drawings
图1是本实用新型的结构示意图。Fig. 1 is the structural representation of the utility model.
具体实施方式 Detailed ways
下面结合附图对本实用新型做进一步说明:Below in conjunction with accompanying drawing, the utility model is further described:
如图1、图2所示的一种带太阳能的靠椅,包括椅面1、椅背2和四个支撑脚3,椅背2上设有太阳能电池板4及灯泡5,具体说是椅背2上设有固定杆8,太阳能电池板4与灯泡5设置在固定杆8上。A kind of armchair with solar energy as shown in Fig. 1, Fig. 2, comprises
椅背的背面设有控制器6,四个支撑脚3之间设有蓄电池7,太阳能电池板4、蓄电池7及灯泡5均与控制器6相连,灯泡5与蓄电池7相连。The back side of the chair back is provided with a
一般来说,控制器6及太阳能电池板4上均设有塑料面板,防止被雨水淋湿。Generally, the
白天,太阳能电池板吸收光能并将光能转换成电能,通过控制器对蓄电池充电,晚上,蓄电池为灯泡供电,灯泡可以起到照明作用。During the day, the solar panel absorbs the light energy and converts the light energy into electrical energy, and the battery is charged through the controller. At night, the battery supplies power to the light bulb, which can play the role of lighting.
以上所述的实施例仅仅是对本实用新型的优选实施方式进行描述,并非对本实用新型的范围进行限定,在不脱离本实用新型设计精神的前提下,本领域普通技术人员对本实用新型的技术方案作出的各种变形和改进,均应落入本实用新型权利要求书确定的保护范围内。The above-mentioned embodiments are only described to the preferred implementation of the utility model, and are not limited to the scope of the utility model. Various modifications and improvements made should fall within the scope of protection determined by the claims of the utility model.
Claims (2)
Priority Applications (1)
| Application Number | Priority Date | Filing Date | Title |
|---|---|---|---|
| CN 201220247976 CN202618950U (en) | 2012-05-29 | 2012-05-29 | Solar armchair |
Applications Claiming Priority (1)
| Application Number | Priority Date | Filing Date | Title |
|---|---|---|---|
| CN 201220247976 CN202618950U (en) | 2012-05-29 | 2012-05-29 | Solar armchair |
Publications (1)
| Publication Number | Publication Date |
|---|---|
| CN202618950U true CN202618950U (en) | 2012-12-26 |
Family
ID=47372212
Family Applications (1)
| Application Number | Title | Priority Date | Filing Date |
|---|---|---|---|
| CN 201220247976 Expired - Fee Related CN202618950U (en) | 2012-05-29 | 2012-05-29 | Solar armchair |
Country Status (1)
| Country | Link |
|---|---|
| CN (1) | CN202618950U (en) |
Cited By (3)
| Publication number | Priority date | Publication date | Assignee | Title |
|---|---|---|---|---|
| CN104146514A (en) * | 2014-08-25 | 2014-11-19 | 无锡同春新能源科技有限公司 | Sunbath deckchair for increasing light being beneficial to life action for elder people in foggy and hazy weather |
| CN105135793A (en) * | 2015-09-29 | 2015-12-09 | 平湖市当湖街道超越时空模具图文设计服务部 | Solar freezer placing frame |
| CN105266447A (en) * | 2014-06-26 | 2016-01-27 | 曾言 | Outdoor seat with solar electric lamp |
-
2012
- 2012-05-29 CN CN 201220247976 patent/CN202618950U/en not_active Expired - Fee Related
Cited By (4)
| Publication number | Priority date | Publication date | Assignee | Title |
|---|---|---|---|---|
| CN105266447A (en) * | 2014-06-26 | 2016-01-27 | 曾言 | Outdoor seat with solar electric lamp |
| CN104146514A (en) * | 2014-08-25 | 2014-11-19 | 无锡同春新能源科技有限公司 | Sunbath deckchair for increasing light being beneficial to life action for elder people in foggy and hazy weather |
| CN104146514B (en) * | 2014-08-25 | 2016-09-28 | 无锡同春新能源科技有限公司 | Increase the sun lounger of useful vital movement illumination to old people in haze weather |
| CN105135793A (en) * | 2015-09-29 | 2015-12-09 | 平湖市当湖街道超越时空模具图文设计服务部 | Solar freezer placing frame |
Similar Documents
| Publication | Publication Date | Title |
|---|---|---|
| CN204580545U (en) | There is the bench of Chargeable lighting function | |
| CN202618950U (en) | Solar armchair | |
| CN103104877A (en) | Solar garden light with wind power generation function | |
| CN202544481U (en) | Novel tent | |
| CN202152549U (en) | gazebo with solar power | |
| CN103115308A (en) | Solar wall lamp with temperature and temperature and humidity display function | |
| CN202312221U (en) | Charging deck chair | |
| CN204743322U (en) | Outdoor seat of solar energy | |
| CN203468074U (en) | Solar chair | |
| CN202419446U (en) | Wind-solar hybrid solar street lamp system | |
| CN202501362U (en) | Solar-energy infrared induction desk lamp | |
| CN201710920U (en) | Basketball stand capable of generating power | |
| CN205585674U (en) | Solar energy chair | |
| CN203202899U (en) | Solar street lamp device | |
| CN202813825U (en) | Clean energy collection and supply device | |
| CN202692452U (en) | Solar water heater suitable for short sunshade duration areas | |
| CN205285680U (en) | Leisure chair | |
| CN202993026U (en) | Outdoor lawn lamp | |
| CN202159687U (en) | Solar battery structure | |
| CN202553399U (en) | Clothes hanger with solar fans | |
| CN202674762U (en) | Support frame of intelligent solar lighting monitoring device | |
| CN202047645U (en) | Shed possessing function of generating electricity with solar energy | |
| CN202891190U (en) | Solar rocking chair | |
| CN202504741U (en) | Garden solar lounge chair | |
| CN204721639U (en) | Portable type solar energy food stove |
Legal Events
| Date | Code | Title | Description |
|---|---|---|---|
| C14 | Grant of patent or utility model | ||
| GR01 | Patent grant | ||
| C17 | Cessation of patent right | ||
| CF01 | Termination of patent right due to non-payment of annual fee |
Granted publication date: 20121226 Termination date: 20130529 |
