CN202270627U - Coupling Surface Paint Coating Device - Google Patents

Coupling Surface Paint Coating Device Download PDF

Info

Publication number
CN202270627U
CN202270627U CN2011203800528U CN201120380052U CN202270627U CN 202270627 U CN202270627 U CN 202270627U CN 2011203800528 U CN2011203800528 U CN 2011203800528U CN 201120380052 U CN201120380052 U CN 201120380052U CN 202270627 U CN202270627 U CN 202270627U
Authority
CN
China
Prior art keywords
paint
coupling
driving roller
coupling surface
roller
Prior art date
Legal status (The legal status is an assumption and is not a legal conclusion. Google has not performed a legal analysis and makes no representation as to the accuracy of the status listed.)
Expired - Fee Related
Application number
CN2011203800528U
Other languages
Chinese (zh)
Inventor
王升虹
尹君
陈勇
张卫东
王宏伟
李道刚
谭峰
高山
王茹
刘晨智
Current Assignee (The listed assignees may be inaccurate. Google has not performed a legal analysis and makes no representation or warranty as to the accuracy of the list.)
Angang Steel Co Ltd
Original Assignee
Angang Steel Co Ltd
Priority date (The priority date is an assumption and is not a legal conclusion. Google has not performed a legal analysis and makes no representation as to the accuracy of the date listed.)
Filing date
Publication date
Application filed by Angang Steel Co Ltd filed Critical Angang Steel Co Ltd
Priority to CN2011203800528U priority Critical patent/CN202270627U/en
Application granted granted Critical
Publication of CN202270627U publication Critical patent/CN202270627U/en
Anticipated expiration legal-status Critical
Expired - Fee Related legal-status Critical Current

Links

Images

Landscapes

  • Coating Apparatus (AREA)

Abstract

本实用新型提供一种接箍表面油漆涂覆装置,在油漆箱上沿并列设置有一根主动辊和一根从动辊,主动辊一端连接大皮带轮,大皮带轮通过皮带和小皮带轮连接减速机和电机。将接箍放在主动辊和从动辊之间,主动辊依靠辊身的摩擦力带动接箍匀速转动,油漆工即可用油刷蘸着油漆箱内的油漆均匀涂刷在接箍表面。始终处于转动状态的接箍可以使油漆涂覆的更加均匀到位,滴落的油滴可直接落到油漆箱内,既可避免油漆的雾化挥发,减少对环境的污染,又可使滴油得到完全回收,提高油漆的利用率,降低涂覆成本。

Figure 201120380052

The utility model provides a coupling surface paint coating device. A driving roller and a driven roller are arranged side by side on the paint box. One end of the driving roller is connected with a large pulley, and the large pulley is connected with a reducer and a small pulley through a belt and a small pulley. motor. Put the coupling between the driving roller and the driven roller, the driving roller drives the coupling to rotate at a constant speed by the friction of the roller body, and the painter can evenly paint the surface of the coupling with the oil brush dipped in the paint in the paint box. The coupling that is always in the rotating state can make the paint coating more even and in place, and the dripping oil droplets can directly fall into the paint box, which can not only avoid the atomization and volatilization of the paint, reduce the pollution to the environment, but also make the dripping oil drip It can be completely recycled, improve the utilization rate of paint, and reduce the cost of coating.

Figure 201120380052

Description

A kind of coupling surface paint application device
Technical field
The utility model belongs to the coating machine field, relates in particular to a kind of coating unit that petroleum pipeline connects coupling surface paint that is used for.
Background technology
Box cupling is that petroleum pipeline is gone into the well and connected requisite heavy connection.In box cupling was produced, the coated technique of coupling surface paint mainly adopted spraying and applies two kinds.At present, most enterprises all adopt spraying coating process, and when spraying because the paint atomizing, so highly volatile, not only the utilization rate and the rate of recovery are lower, and the paint that atomizes in the spraying process can cause severe contamination to environment, directly influence the healthy of operating personnel.Though and the employing coating processes can reduce above-mentioned defective, coating efficiency is lower, and the uniformity coefficient that applies is relatively poor, influences the quality of coupling surface paint application.
Summary of the invention
The utility model aims to provide a kind of simple and practical, can guarantee coupling surface paint application quality, improves the paint utilization rate, reduces the coupling surface paint application device of environmental pollution.
For this reason, the solution taked of the utility model is:
A kind of coupling surface paint application device is characterized in that, is made up of drive roll, driven voller, paint case, belt pulley, motor and reductor; Be set side by side with a drive roll and a driven voller in paint case upper edge, drive roll one end connects big belt pulley, and big belt pulley is connected reductor and motor through belt with small belt pulley.
Said drive roll and driven voller and paint case junction are inlaid with bearing holder (housing, cover).
Said big belt pulley diameter is ¢ 150mm, and the small belt pulley diameter is ¢ 15mm.
Method for using of the utility model and effect are:
Before the coating, earlier box cupling is placed between drive roll and the driven voller, behind the starter motor, drive roll relies on the frictional force of the body of roll will drive the box cupling uniform rotation, and the painter is dipping in even brushing of the paint that paint in the case and gets final product at coupling surface with covering with paint or varnish.Because box cupling is in rotary state all the time, can make more evenly putting in place of paint application, the oil droplet of drippage can directly be fallen in the paint case; Both avoided the atomizing volatilization of paint, reduced pollution, oil dripping is reclaimed fully environment; Improve the utilization rate of paint, reduce applying cost.
Description of drawings
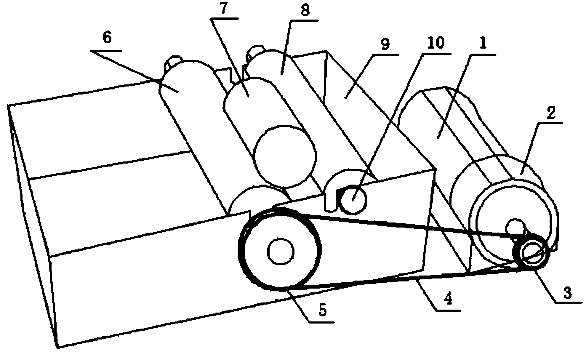
Accompanying drawing is a coupling surface paint application apparatus structure stereogram.
Among the figure: motor 1, reductor 2, small belt pulley 3, belt 4, big belt pulley 5, drive roll 6, box cupling 7, driven voller 8, paint case 9, bearing holder (housing, cover) 10.
The specific embodiment
Visible by accompanying drawing, the coupling surface paint application device of the utility model mainly is made up of motor 1, reductor 2, small belt pulley 3, belt 4, big belt pulley 5, drive roll 6, driven voller 8 and 9 in case of paint.
Upper edge at 9 two broad sidewalls of paint case is symmetrily processed with two connecting holes respectively side by side; All be inlaid with bearing holder (housing, cover) 10 in four connecting holes; Drive roll 6 is installed in respectively in the bearing holder (housing, cover) 10 separately with driven voller 8 two ends; Distance between drive roll 6 and the driven voller 8 confirms according to the diameter of box cupling 7, and in general the diameter that is slightly less than box cupling 7 of the distance between drive roll 6 and driven voller 8 axis gets final product.
Be fixedly connected a big belt pulley 5 in the outer end of drive roll 6, big belt pulley 5 flexibly connects small belt pulley 3 through belt 4, and small belt pulley 3 is installed on the reductor 2 that is connected with motor 1.
Selecting motor 1 rotating speed for use is 1200r/min, and reductor 2 gearratios are 10:1, and big belt pulley 5 diameters are ¢ 150mm, and small belt pulley 3 diameters are ¢ 15mm.

Claims (3)

1.一种接箍表面油漆涂覆装置,其特征在于,由主动辊、从动辊、油漆箱、皮带轮、电机及减速机组成;在油漆箱上沿并列设置有一根主动辊和一根从动辊,主动辊一端连接大皮带轮,大皮带轮通过皮带和小皮带轮连接减速机和电机。 1. A coupling surface paint coating device is characterized in that it is made up of a driving roller, a driven roller, a paint box, a belt pulley, a motor and a speed reducer; a driving roller and a slave roller are arranged side by side on the paint box One end of the driving roller is connected to the large pulley, and the large pulley is connected to the reducer and the motor through the belt and the small pulley. 2.根据权利要求1所述的接箍表面油漆涂覆装置,其特征在于,所述主动辊和从动辊与油漆箱连接处镶嵌有轴承套。 2. The coupling surface paint coating device according to claim 1, characterized in that bearing sleeves are inlaid at the joints between the driving roller and the driven roller and the paint box. 3.根据权利要求1所述的接箍表面油漆涂覆装置,其特征在于,所述大皮带轮直径为¢150mm,小皮带轮直径为¢15mm。 3. The coupling surface paint coating device according to claim 1, characterized in that, the diameter of the large pulley is ¢150mm, and the diameter of the small pulley is ¢15mm.
CN2011203800528U 2011-09-30 2011-09-30 Coupling Surface Paint Coating Device Expired - Fee Related CN202270627U (en)

Priority Applications (1)

Application Number Priority Date Filing Date Title
CN2011203800528U CN202270627U (en) 2011-09-30 2011-09-30 Coupling Surface Paint Coating Device

Applications Claiming Priority (1)

Application Number Priority Date Filing Date Title
CN2011203800528U CN202270627U (en) 2011-09-30 2011-09-30 Coupling Surface Paint Coating Device

Publications (1)

Publication Number Publication Date
CN202270627U true CN202270627U (en) 2012-06-13

Family

ID=46191017

Family Applications (1)

Application Number Title Priority Date Filing Date
CN2011203800528U Expired - Fee Related CN202270627U (en) 2011-09-30 2011-09-30 Coupling Surface Paint Coating Device

Country Status (1)

Country Link
CN (1) CN202270627U (en)

Cited By (2)

* Cited by examiner, † Cited by third party
Publication number Priority date Publication date Assignee Title
CN105895389A (en) * 2016-06-17 2016-08-24 昆山微容电子企业有限公司 Capacitor encapsulation machine
CN106733488A (en) * 2016-12-30 2017-05-31 山西浩业通用设备有限公司 A kind of automatic mopping flow-line equipment of carrying roller

Cited By (3)

* Cited by examiner, † Cited by third party
Publication number Priority date Publication date Assignee Title
CN105895389A (en) * 2016-06-17 2016-08-24 昆山微容电子企业有限公司 Capacitor encapsulation machine
CN106733488A (en) * 2016-12-30 2017-05-31 山西浩业通用设备有限公司 A kind of automatic mopping flow-line equipment of carrying roller
CN106733488B (en) * 2016-12-30 2023-04-07 山西浩业通用设备有限公司 Control method of automatic bearing roller painting production line device

Similar Documents

Publication Publication Date Title
CN203124189U (en) Motor rotor painting machine
CN205762038U (en) A kind of guide rail cleaning Rustproofing apparatus
CN102632012A (en) Simple rotor painting machine
CN202270627U (en) Coupling Surface Paint Coating Device
CN105944887A (en) Painting device and painting method for inner wall of pipeline
CN109692769A (en) Petroleum casing pipe outer wall anti-corrosion spray device and the spray-painting production line for using the device
CN203916988U (en) Robot painting wood door rotating plate device
CN203565286U (en) Outer ring surface rust prevention treatment equipment
CN201887621U (en) Roller coater for motor rotor
CN205236297U (en) Panel device that oils
CN113586926B (en) Lubricating equipment for mobile device of visual detection head
CN205096037U (en) Automatic device of paining of anticorrosive fat of oil pipe drilling rod screw thread
CN202021128U (en) Ribbon painting device
CN203408839U (en) Automatic painting machine
CN203508299U (en) Even coating device for board machining
CN216857137U (en) Coating device for electric power tube processing
CN221789755U (en) A workbench for spraying mechanical parts
CN204769393U (en) Automatic dip -coating machine
CN209766129U (en) Enameled wire high viscosity paint coating device
CN107859291A (en) A kind of automatic mopping apparatus and its application
CN105197285B (en) Synchronous pulley packaging equipment
CN201632374U (en) Surface oil coating device for steel belts of flux-cored wires
CN203389806U (en) Oil paint roller coating device for board
CN117198647A (en) Coating spraying device for cable production
CN211289516U (en) Smearing device

Legal Events

Date Code Title Description
C14 Grant of patent or utility model
GR01 Patent grant
CF01 Termination of patent right due to non-payment of annual fee

Granted publication date: 20120613

Termination date: 20170930

CF01 Termination of patent right due to non-payment of annual fee