CN201663204U - Storage battery-bridging structure - Google Patents

Storage battery-bridging structure Download PDF

Info

Publication number
CN201663204U
CN201663204U CN2010201122906U CN201020112290U CN201663204U CN 201663204 U CN201663204 U CN 201663204U CN 2010201122906 U CN2010201122906 U CN 2010201122906U CN 201020112290 U CN201020112290 U CN 201020112290U CN 201663204 U CN201663204 U CN 201663204U
Authority
CN
China
Prior art keywords
positive
negative
bridge
bus bar
storage battery
Prior art date
Legal status (The legal status is an assumption and is not a legal conclusion. Google has not performed a legal analysis and makes no representation as to the accuracy of the status listed.)
Expired - Lifetime
Application number
CN2010201122906U
Other languages
Chinese (zh)
Inventor
刘孝伟
徐伟良
陈胜洋
马永泉
Current Assignee (The listed assignees may be inaccurate. Google has not performed a legal analysis and makes no representation or warranty as to the accuracy of the list.)
Chaowei Power Supply Co Ltd
Original Assignee
Chaowei Power Supply Co Ltd
Priority date (The priority date is an assumption and is not a legal conclusion. Google has not performed a legal analysis and makes no representation as to the accuracy of the date listed.)
Filing date
Publication date
Application filed by Chaowei Power Supply Co Ltd filed Critical Chaowei Power Supply Co Ltd
Priority to CN2010201122906U priority Critical patent/CN201663204U/en
Application granted granted Critical
Publication of CN201663204U publication Critical patent/CN201663204U/en
Anticipated expiration legal-status Critical
Expired - Lifetime legal-status Critical Current

Links

Images

Classifications

    • YGENERAL TAGGING OF NEW TECHNOLOGICAL DEVELOPMENTS; GENERAL TAGGING OF CROSS-SECTIONAL TECHNOLOGIES SPANNING OVER SEVERAL SECTIONS OF THE IPC; TECHNICAL SUBJECTS COVERED BY FORMER USPC CROSS-REFERENCE ART COLLECTIONS [XRACs] AND DIGESTS
    • Y02TECHNOLOGIES OR APPLICATIONS FOR MITIGATION OR ADAPTATION AGAINST CLIMATE CHANGE
    • Y02EREDUCTION OF GREENHOUSE GAS [GHG] EMISSIONS, RELATED TO ENERGY GENERATION, TRANSMISSION OR DISTRIBUTION
    • Y02E60/00Enabling technologies; Technologies with a potential or indirect contribution to GHG emissions mitigation
    • Y02E60/10Energy storage using batteries

Landscapes

  • Connection Of Batteries Or Terminals (AREA)

Abstract

The utility model provides a storage battery-bridging structure, which comprises a storage battery jar, positive plates and negative plates, the positive plates and the negative plates are arranged in the storage battery jar, partitions are arranged between the positive plates and the negative plates, positive bus bars corresponding to the positive plates are arranged in the storage battery jar, negative bus bars corresponding to the negative plates are arranged in the storage battery jar as well, the positive bus bars are provided with positive bridging terminals, the negative bus bars are provided with negative bridging terminals, a bridge is arranged between the positive bridging terminal and the negative bridging terminal which neighbor each other, the positive bridging terminal on the positive bus bar of the front section and the negative bridging terminal on the negative bus bar of the front section are arranged close to the edge of a central plastic partition at the center of the storage battery jar, leading-out terminals are arranged on the sides of the positive bus bar and the negative bus bar of the rear section, and the positive bridging terminals of the positive bus bars of the middle section and the negative bridging terminals of the negative bus bars of the middle section are arranged at the center. The bridges are correspondingly soldered on an intelligent balance circuit board, so placement is convenient. The balance circuit board can be conveniently placed, the cost is low, and the performance is high.

Description

蓄电池跨桥结构 battery bridge structure

技术领域technical field

本实用新型涉及铅酸蓄电池,具体涉及蓄电池跨桥结构。The utility model relates to a lead-acid storage battery, in particular to a storage battery bridge structure.

背景技术Background technique

如图1和图2所示,现有的铅酸蓄电池包括蓄电池槽1、设在蓄电池槽1内的正极板2和负极板3,所述正极板2和负极板3之间设有隔板4,所述蓄电池槽1内设有与正极板2对应的正汇流排5,所述蓄电池槽1内还设有与负极板3对应的负汇流排6,所述正汇流排5上设有正跨桥极柱7,所述负汇流排6上设有负跨桥极柱8,所述相邻的正跨桥极柱7与负跨桥极柱8之间设有跨桥9,所述中段正汇流排5上的正跨桥极柱7以及中段负汇流排6上的负跨桥极柱8均设在侧端,所述前段正汇流排5上的正跨桥极柱7以及前段负汇流排6上的负跨桥极柱8设在蓄电池槽1中央靠近中心塑料格挡12边缘,而后段的正汇流排5和负汇流排6上在侧端设有引出端子10。要实现蓄电池各单元之间的智能平衡,需要放置智能平衡电路板。但是现有的跨桥结构要么在各单格放置一块平衡电路板,要么需要放置一块覆盖整个蓄电池槽的平衡电路板,这两种方式实现起来比较困难,而且成本也比较高,性能比较差。As shown in Fig. 1 and Fig. 2, the existing lead-acid battery comprises a battery tank 1, a positive plate 2 and a negative plate 3 arranged in the battery tank 1, and a separator is arranged between the positive plate 2 and the negative plate 3 4. The battery tank 1 is provided with a positive bus bar 5 corresponding to the positive plate 2, and the battery tank 1 is also provided with a negative bus bar 6 corresponding to the negative plate 3, and the positive bus bar 5 is provided with The positive bridge pole 7, the negative bus bar 6 is provided with a negative bridge pole 8, and the adjacent positive bridge pole 7 and the negative bridge pole 8 are provided with a bridge 9, so The positive bridge pole 7 on the positive bus bar 5 in the middle section and the negative bridge pole 8 on the negative bus bar 6 in the middle section are all arranged at the side ends, and the positive bridge pole 7 on the positive bus bar 5 in the front section and The negative bridge pole 8 on the front negative bus bar 6 is located in the center of the battery tank 1 near the edge of the central plastic barrier 12, while the positive bus bar 5 and the negative bus bar 6 in the rear section are provided with lead-out terminals 10 at the side ends. To realize the intelligent balance between the cells of the battery, it is necessary to place the intelligent balance circuit board. However, in the existing bridge structure, either a balanced circuit board is placed in each cell, or a balanced circuit board covering the entire battery slot is required. These two methods are difficult to implement, and the cost is relatively high, and the performance is relatively poor.

发明内容Contents of the invention

本实用新型所要解决的技术问题在于提供蓄电池跨桥结构,便于实现平衡电路板的放置,成本低,性能高。The technical problem to be solved by the utility model is to provide a storage battery bridge structure, which is convenient to realize the placement of a balanced circuit board, and has low cost and high performance.

为解决上述现有的技术问题,本实用新型采用如下方案:蓄电池跨桥结构,包括包括蓄电池槽、设在蓄电池槽内的正极板和负极板,所述正极板和负极板之间设有隔板,所述蓄电池槽内设有与正极板对应的正汇流排,所述蓄电池槽内还设有与负极板对应的负汇流排,所述正汇流排上设有正跨桥极柱,所述负汇流排上设有负跨桥极柱,所述相邻的正跨桥极柱与负跨桥极柱之间设有跨桥,所述前段正汇流排上的正跨桥极柱以及前段负汇流排上的负跨桥极柱设在蓄电池槽中央靠近中心塑料格挡边缘,后段的正汇流排和负汇流排上在侧端设有引出端子,所述中段正汇流排上的正跨桥极柱以及中段负汇流排上的负跨桥极柱均设在中央。跨桥与智能平衡电路板对应焊接,便于放置。In order to solve the above-mentioned existing technical problems, the utility model adopts the following scheme: the battery bridge structure includes a battery tank, a positive plate and a negative plate arranged in the battery tank, and a separator is arranged between the positive plate and the negative plate. The battery tank is provided with a positive bus bar corresponding to the positive plate, and the battery tank is also provided with a negative bus bar corresponding to the negative plate, and the positive bus bar is provided with a positive bridge pole. The negative bus bar is provided with a negative bridge pole, and a bridge is provided between the adjacent positive bridge pole and the negative bridge pole, and the positive bridge pole on the front positive bus bar and The negative bridge pole on the negative bus bar in the front section is set in the center of the battery tank close to the edge of the central plastic barrier, the positive bus bar and the negative bus bar in the rear section are provided with lead-out terminals at the side ends, and the positive bus bar in the middle section is provided with lead-out terminals. The poles of the positive span bridge and the poles of the negative span bridge on the negative busbar in the middle section are all arranged in the center. The cross-bridge and the intelligent balance circuit board are welded correspondingly for easy placement.

作为优选,所述后段的正汇流排和负汇流排的中央设有与引出端子对应的辅助端子。便于放置智能平衡电路板。Preferably, an auxiliary terminal corresponding to the lead-out terminal is provided at the center of the positive bus bar and the negative bus bar at the rear section. Easy to place smart balance circuit board.

有益效果:Beneficial effect:

本实用新型采用上述技术方案提供蓄电池跨桥结构,将中段的跨桥极柱以及跨桥设置在汇流排的中央,便于实现平衡电路板的放置,成本低,性能高。同时智能平衡电路板的面积减少,放置也比较方便。The utility model adopts the above-mentioned technical scheme to provide a battery cross-bridge structure, and the middle cross-bridge pole and the bridge are arranged in the center of the busbar, which facilitates the placement of balanced circuit boards, and has low cost and high performance. At the same time, the area of the intelligent balance circuit board is reduced, and it is more convenient to place.

附图说明Description of drawings

图1为现有的跨桥结构的结构示意图;Fig. 1 is the structural representation of existing span bridge structure;

图2为现有的跨桥结构的俯视图;Fig. 2 is the top view of existing span bridge structure;

图3为本实用新型的结构示意图;Fig. 3 is the structural representation of the utility model;

图4为本实用新型装上电路板时的结构示意图;Fig. 4 is the structural representation when the utility model loads onto circuit board;

图5为本实用新型装上电路板时的俯视图。Fig. 5 is the top view when the utility model is loaded onto the circuit board.

具体实施方式Detailed ways

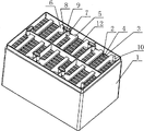
如图3所示,蓄电池跨桥结构,包括包括蓄电池槽1、设在蓄电池槽1内的正极板2和负极板3,所述正极板2和负极板3之间设有隔板4,所述蓄电池槽1内设有与正极板2对应的正汇流排5,所述蓄电池槽1内还设有与负极板3对应的负汇流排6,所述正汇流排5上设有正跨桥极柱7,所述负汇流排6上设有负跨桥极柱8,所述相邻的正跨桥极柱7与负跨桥极柱8之间设有跨桥9,所述前段正汇流排5上的正跨桥极柱7以及前段负汇流排6上的负跨桥极柱8设在蓄电池槽1中央靠近中心塑料格挡12边缘,而后段的正汇流排5和负汇流排6上在侧端设有引出端子10,所述中段正汇流排5上的正跨桥极柱7以及中段负汇流排6上的负跨桥极柱8均设在中央。所述后段的正汇流排5和负汇流排6的中央设有与引出端子10对应的辅助端子11。As shown in Figure 3, the battery bridge structure includes a battery tank 1, a positive plate 2 and a negative plate 3 disposed in the battery tank 1, and a separator 4 is arranged between the positive plate 2 and the negative plate 3, so The battery tank 1 is provided with a positive bus bar 5 corresponding to the positive plate 2, and the battery tank 1 is also provided with a negative bus bar 6 corresponding to the negative plate 3, and the positive bus bar 5 is provided with a positive bridge pole 7, the negative bus bar 6 is provided with a negative bridge pole 8, a bridge 9 is provided between the adjacent positive bridge pole 7 and the negative bridge pole 8, and the front positive The positive bridge pole 7 on the bus bar 5 and the negative bridge pole 8 on the negative bus bar 6 in the front section are arranged in the center of the battery tank 1 near the edge of the central plastic barrier 12, while the positive bus bar 5 and the negative bus bar in the rear section 6 is provided with a lead-out terminal 10 at the side end, and the positive bridge pole 7 on the positive busbar 5 in the middle section and the negative bridge pole 8 on the negative busbar 6 in the middle section are both arranged in the center. An auxiliary terminal 11 corresponding to the lead-out terminal 10 is provided at the center of the positive bus bar 5 and the negative bus bar 6 at the rear section.

如图4和图5所示,智能平衡电路板13与跨桥9以及辅助端子11对应焊接,便于放置。智能平衡电路板13的面积也比较小,制造成本低,放置也比较方便。放置智能平衡电路板13后,用导热密封胶灌封,充电后的蓄电池性能好,使用寿命长。As shown in FIG. 4 and FIG. 5 , the intelligent balance circuit board 13 is welded to the bridge 9 and the auxiliary terminal 11 correspondingly, which is convenient for placement. The area of the intelligent balance circuit board 13 is also relatively small, the manufacturing cost is low, and the placement is relatively convenient. After the intelligent balance circuit board 13 is placed, it is potted with heat-conducting sealant, and the battery after charging has good performance and long service life.

Claims (2)

1.蓄电池跨桥结构,包括包括蓄电池槽(1)、设在蓄电池槽(1)内的正极板(2)和负极板(3),所述正极板(2)和负极板(3)之间设有隔板(4),所述蓄电池槽(1)内设有与正极板(2)对应的正汇流排(5),所述蓄电池槽(1)内还设有与负极板(3)对应的负汇流排(6),所述正汇流排(5)上设有正跨桥极柱(7),所述负汇流排(6)上设有负跨桥极柱(8),所述相邻的正跨桥极柱(7)与负跨桥极柱(8)之间设有跨桥(9),所述前段正汇流排(5)上的正跨桥极柱(7)以及前段负汇流排(6)上的负跨桥极柱(8)设在蓄电池槽(1)中央靠近中心塑料格挡(12)边缘,后段的正汇流排(5)和负汇流排(6)上在侧端设有引出端子(10),其特征在于:所述中段正汇流排(5)上的正跨桥极柱(7)以及中段负汇流排(6)上的负跨桥极柱(8)均设在中央。1. The bridge structure of the battery, including the battery tank (1), the positive plate (2) and the negative plate (3) arranged in the battery tank (1), the positive plate (2) and the negative plate (3) A separator (4) is arranged between them, a positive bus bar (5) corresponding to the positive plate (2) is arranged in the battery tank (1), and a positive bus bar (5) corresponding to the positive plate (2) is arranged in the battery tank (1). ) corresponding to the negative busbar (6), the positive busbar (5) is provided with a positive bridge pole (7), and the negative busbar (6) is provided with a negative bridge pole (8), A bridge (9) is provided between the adjacent positive bridge poles (7) and negative bridge poles (8), and the positive bridge poles (7) on the positive busbar (5) of the front section ) and the negative bridge pole (8) on the negative bus bar (6) in the front section are set in the center of the battery tank (1) near the edge of the central plastic grille (12), and the positive bus bar (5) and negative bus bar in the rear section (6) is provided with a lead-out terminal (10) at the side end, which is characterized in that: the positive bridge pole (7) on the positive busbar (5) in the middle section and the negative bridge pole (7) on the negative busbar (6) in the middle section The bridge poles (8) are all located at the center. 2.根据权利要求1所述的蓄电池跨桥结构,其特征在于:所述后段的正汇流排(5)和负汇流排(6)的中央设有与引出端子(10)对应的辅助端子(11)。2. The battery bridge structure according to claim 1, characterized in that: the center of the positive busbar (5) and negative busbar (6) in the rear section is provided with an auxiliary terminal corresponding to the lead-out terminal (10) (11).
CN2010201122906U 2010-02-10 2010-02-10 Storage battery-bridging structure Expired - Lifetime CN201663204U (en)

Priority Applications (1)

Application Number Priority Date Filing Date Title
CN2010201122906U CN201663204U (en) 2010-02-10 2010-02-10 Storage battery-bridging structure

Applications Claiming Priority (1)

Application Number Priority Date Filing Date Title
CN2010201122906U CN201663204U (en) 2010-02-10 2010-02-10 Storage battery-bridging structure

Publications (1)

Publication Number Publication Date
CN201663204U true CN201663204U (en) 2010-12-01

Family

ID=43233625

Family Applications (1)

Application Number Title Priority Date Filing Date
CN2010201122906U Expired - Lifetime CN201663204U (en) 2010-02-10 2010-02-10 Storage battery-bridging structure

Country Status (1)

Country Link
CN (1) CN201663204U (en)

Cited By (4)

* Cited by examiner, † Cited by third party
Publication number Priority date Publication date Assignee Title
CN102610780A (en) * 2012-03-30 2012-07-25 风帆股份有限公司 High volumetric specific energy valve-controlled sealed storage battery and preparing method thereof
CN102909350A (en) * 2012-10-19 2013-02-06 林川 Trans-bridge-free cast-weld manufacturing process of storage battery
CN107452936A (en) * 2017-09-04 2017-12-08 旭派电源有限公司 A kind of bridge structure of lead-acid accumulator
CN109390506A (en) * 2018-10-10 2019-02-26 超威电源有限公司 The forming method of sealing structure and the sealing structure between a kind of battery multi-cell battery

Cited By (6)

* Cited by examiner, † Cited by third party
Publication number Priority date Publication date Assignee Title
CN102610780A (en) * 2012-03-30 2012-07-25 风帆股份有限公司 High volumetric specific energy valve-controlled sealed storage battery and preparing method thereof
CN102610780B (en) * 2012-03-30 2015-04-22 风帆股份有限公司 High volumetric specific energy valve-controlled sealed storage battery and preparing method thereof
CN102909350A (en) * 2012-10-19 2013-02-06 林川 Trans-bridge-free cast-weld manufacturing process of storage battery
CN107452936A (en) * 2017-09-04 2017-12-08 旭派电源有限公司 A kind of bridge structure of lead-acid accumulator
CN109390506A (en) * 2018-10-10 2019-02-26 超威电源有限公司 The forming method of sealing structure and the sealing structure between a kind of battery multi-cell battery
CN109390506B (en) * 2018-10-10 2021-06-18 超威电源集团有限公司 Sealing structure between multiple single-cell batteries of battery and forming method of sealing structure

Similar Documents

Publication Publication Date Title
CN205790151U (en) Battery modules output electric connecting sheet
CN203787527U (en) Lead-acid storage battery
CN201663204U (en) Storage battery-bridging structure
CN202178343U (en) Unpaired weldment plumbic acid battery pack
CN201638910U (en) The connection structure of the positive and negative bus bars of lead-acid batteries
CN203659970U (en) Battery module
CN205194781U (en) Batteries plate
CN207834369U (en) Soft package lithium battery frame and battery modules, battery case
CN201181725Y (en) A battery pole group structure avoiding reverse polarity of pole group assembly slots
CN104377325B (en) A kind of vehicle-mounted startup power supply
CN204614896U (en) A plug-in fast group lithium-ion battery pack
CN202930470U (en) Battery pack with tabs in parallel connection at middle part
CN201717330U (en) Polymer lithium ion electric vehicle battery
CN201845818U (en) Assembly module of grid type power batteries
CN201758158U (en) Lead-acid storage battery
CN205194762U (en) Horizontal battery box body
CN206210955U (en) A kind of practical Li ion cells unit
CN202487718U (en) Lead-acid storage battery plate group structure capable of increasing acid suction quantity
CN203941970U (en) A kind of novel grid of lead acid accumulator
CN202996988U (en) High-performance lead-acid storage battery structure
CN211150660U (en) Bridging structure for connecting lead-acid storage battery single batteries
CN202282427U (en) Novel lead-acid storage battery in cast welding structure
CN203787526U (en) Triangular prism lead-acid storage battery
CN105514305A (en) Horizontal battery box
CN105576249A (en) Battery plate

Legal Events

Date Code Title Description
C14 Grant of patent or utility model
GR01 Patent grant
CX01 Expiry of patent term

Granted publication date: 20101201

CX01 Expiry of patent term