CN201632176U - Dry high efficiency dust collector - Google Patents
Dry high efficiency dust collector Download PDFInfo
- Publication number
- CN201632176U CN201632176U CN2010200470343U CN201020047034U CN201632176U CN 201632176 U CN201632176 U CN 201632176U CN 2010200470343 U CN2010200470343 U CN 2010200470343U CN 201020047034 U CN201020047034 U CN 201020047034U CN 201632176 U CN201632176 U CN 201632176U
- Authority
- CN
- China
- Prior art keywords
- dust removal
- cyclone
- bag
- dust
- removal chamber
- Prior art date
- Legal status (The legal status is an assumption and is not a legal conclusion. Google has not performed a legal analysis and makes no representation as to the accuracy of the status listed.)
- Expired - Fee Related
Links
- 239000000428 dust Substances 0.000 title claims abstract description 103
- 238000005192 partition Methods 0.000 claims abstract description 11
- 238000001035 drying Methods 0.000 claims abstract description 8
- JTJMJGYZQZDUJJ-UHFFFAOYSA-N phencyclidine Chemical class C1CCCCN1C1(C=2C=CC=CC=2)CCCCC1 JTJMJGYZQZDUJJ-UHFFFAOYSA-N 0.000 claims abstract description 8
- 239000004744 fabric Substances 0.000 claims abstract description 4
- 238000007664 blowing Methods 0.000 claims description 7
- 239000000463 material Substances 0.000 claims description 2
- 238000000034 method Methods 0.000 abstract description 4
- 239000002245 particle Substances 0.000 description 11
- 238000001816 cooling Methods 0.000 description 2
- 238000001914 filtration Methods 0.000 description 1
- 239000007921 spray Substances 0.000 description 1
- 230000009466 transformation Effects 0.000 description 1
- 238000000844 transformation Methods 0.000 description 1
Images
Classifications
-
- Y—GENERAL TAGGING OF NEW TECHNOLOGICAL DEVELOPMENTS; GENERAL TAGGING OF CROSS-SECTIONAL TECHNOLOGIES SPANNING OVER SEVERAL SECTIONS OF THE IPC; TECHNICAL SUBJECTS COVERED BY FORMER USPC CROSS-REFERENCE ART COLLECTIONS [XRACs] AND DIGESTS
- Y02—TECHNOLOGIES OR APPLICATIONS FOR MITIGATION OR ADAPTATION AGAINST CLIMATE CHANGE
- Y02A—TECHNOLOGIES FOR ADAPTATION TO CLIMATE CHANGE
- Y02A50/00—TECHNOLOGIES FOR ADAPTATION TO CLIMATE CHANGE in human health protection, e.g. against extreme weather
- Y02A50/20—Air quality improvement or preservation, e.g. vehicle emission control or emission reduction by using catalytic converters
- Y02A50/2351—Atmospheric particulate matter [PM], e.g. carbon smoke microparticles, smog, aerosol particles, dust
Landscapes
- Filtering Of Dispersed Particles In Gases (AREA)
Abstract
本实用新型公开了一种干法高效除尘器,它包括主箱体,该主箱体内由隔板分割成旋风子除尘室、布袋除尘室两个除尘室,该隔板上部设有气体输送口,该主箱体上设有进气口,该进气口与该旋风子除尘室相贯通,该旋风子除尘室内设有多个旋风子,该布袋除尘室内设有多个过滤布袋,该主箱体的顶端设有上箱体,该上箱体与该布袋除尘室相贯通,该上箱体的一端设有出气口,该旋风子除尘室、该布袋除尘室的下端均设有一灰斗,每一灰斗的下端设有一卸灰阀。本实用新型采用旋风子、过滤布袋两种干法方式对含尘气体进行除尘,具有除尘效率高、使用寿命长的优点。
The utility model discloses a dry-process high-efficiency dust collector, which comprises a main box body, the main box body is divided into two dust removal chambers, a cyclone dust removal chamber and a bag dust removal chamber by a partition, and a gas delivery port is arranged on the top of the partition board , the main box is provided with an air inlet, the air inlet is connected with the cyclone dust removal chamber, the cyclone dust removal chamber is provided with a plurality of cyclones, the bag dust removal chamber is provided with a plurality of filter bags, the main The top of the box is provided with an upper box, the upper box is connected with the bag dust removal room, one end of the upper box is provided with an air outlet, the cyclone dust removal room and the lower end of the bag dust removal room are equipped with an ash hopper , the lower end of each ash hopper is provided with an ash unloading valve. The utility model adopts two dry methods of cyclone and filter cloth bag to remove dust from the dusty gas, and has the advantages of high dust removal efficiency and long service life.
Description
技术领域technical field
本实用新型涉及一种干法除尘器,具体地说,是涉及一种通过旋风子和过滤布袋对含尘气体进行除尘的干法高效除尘器。The utility model relates to a dry-process dust collector, in particular to a dry-process high-efficiency dust collector for dedusting dust-containing gas through a cyclone and a filter cloth bag.
背景技术Background technique
目前,除尘效果较好的除尘器有多管旋风除尘器和布袋除尘器。多管旋风除尘器对于去除大颗粒粉尘有显著的除尘效果,但对于细微粉尘就不起作用了,而布袋除尘器对于细微粉尘具有很好的过滤作用,但大颗粒粉尘对布袋有磨损作用,会影响布袋的使用寿命。可见,设计出一种对大颗粒粉尘和细微粉尘均有除尘效果的除尘器是需要解决的问题。At present, there are many dust collectors with good dust removal effect, such as cyclone dust collector and bag dust collector. The multi-tube cyclone dust collector has a significant dust removal effect for removing large particles of dust, but it does not work for fine dust, while the bag filter has a good filtering effect for fine dust, but large particles of dust have a wear effect on the bag, It will affect the service life of the bag. It can be seen that it is a problem to be solved to design a dust collector that has dust removal effect on both large particle dust and fine dust.
实用新型内容Utility model content
本实用新型的目的是提供一种干法高效除尘器,该除尘器结构简单,除尘效率高,使用寿命长。The purpose of the utility model is to provide a dry high-efficiency dust collector, which has simple structure, high dust removal efficiency and long service life.
为了实现上述目的,本实用新型采用了以下技术方案:In order to achieve the above object, the utility model adopts the following technical solutions:
一种干法高效除尘器,其特征在于:它包括主箱体,该主箱体内由隔板分割成旋风子除尘室、布袋除尘室两个腔室,该隔板上部设有气体输送口,该主箱体上设有进气口,该进气口与该旋风子除尘室相贯通,该旋风子除尘室内设有多个旋风子,该布袋除尘室内设有多个过滤布袋,该主箱体的顶端设有上箱体,该上箱体与该布袋除尘室相贯通,该上箱体的一端设有出气口,该旋风子除尘室、该布袋除尘室的下端均设有一灰斗,每一灰斗的下端设有一卸灰阀。A dry-process high-efficiency dust collector is characterized in that it includes a main box body, which is divided into two chambers, a cyclone dust removal room and a bag dust removal room, by a partition, and a gas delivery port is arranged on the top of the partition board. The main box is provided with an air inlet, and the air inlet communicates with the cyclone dust removal chamber. The cyclone dust removal chamber is provided with a plurality of cyclones, and the bag dust removal chamber is provided with a plurality of filter bags. The main box The top of the body is provided with an upper box, the upper box is connected with the bag dust removal room, one end of the upper box is provided with an air outlet, and the cyclone dust removal room and the lower end of the bag dust removal room are equipped with an ash hopper. The lower end of each ash hopper is provided with an ash unloading valve.
所述上箱体的顶端可设有多个喷吹装置,该喷吹装置用于吹掉所述过滤布袋上的灰尘。A plurality of blowing devices may be provided on the top of the upper box, and the blowing devices are used to blow off the dust on the filter cloth bag.
所述灰斗上可设有防闭塞装置、料位计。An anti-blocking device and a material level gauge can be provided on the ash hopper.
为了达到更好的除尘效果,所述布袋除尘室内的多个过滤布袋并列竖向排列。所述旋风子除尘室内设有阶梯形管道,该阶梯形管道的一端与所述进气口相贯通,该阶梯形管道的另一端与所述隔板相接,所述旋风子除尘室内的多个旋风子相应于该阶梯形管道而阶梯形竖向排列,所述旋风子的进气口设置在该阶梯形管道内,所述旋风子的出气口和卸灰口露于该阶梯形管道外。In order to achieve a better dust removal effect, multiple filter bags in the bag filter chamber are arranged side by side and vertically. The cyclone dust-removing chamber is provided with a ladder-shaped pipe, one end of which is connected to the air inlet, and the other end of the ladder-shaped pipe is connected to the partition. The two cyclones are vertically arranged in a ladder shape corresponding to the ladder-shaped pipeline, the air inlet of the cyclone child is arranged in the ladder-shaped pipeline, and the air outlet and ash discharge port of the cyclone child are exposed outside the ladder-shaped pipeline .
本实用新型的优点是:The utility model has the advantages of:
本实用新型结构简单,使用寿命长。本实用新型采用了旋风子、过滤布袋两种干法方式对含尘气体进行除尘,位于前级的旋风子将大颗粒粉尘除掉,位于后级的过滤布袋将微细粉尘除掉,从而使得本实用新型具有除尘效率高的优点。并且,前级的旋风子对热量较高的大颗粒粉尘具有降温作用,使得进入过滤布袋的粉尘温度不会过高,有效保护了过滤布袋,延长了过滤布袋的使用寿命。The utility model has simple structure and long service life. The utility model adopts two dry methods of cyclone and filter bag to dedust the dust-containing gas. The cyclone located in the front stage removes large particle dust, and the filter bag located in the latter stage removes fine dust, so that the utility model The utility model has the advantage of high dust removal efficiency. Moreover, the cyclone in the front stage has a cooling effect on the large particles of dust with high heat, so that the temperature of the dust entering the filter bag will not be too high, which effectively protects the filter bag and prolongs the service life of the filter bag.
附图说明Description of drawings
图1是本实用新型的结构示意图。Fig. 1 is the structural representation of the utility model.
具体实施方式Detailed ways
下面结合附图对本实用新型进行详细描述。Below in conjunction with accompanying drawing, the utility model is described in detail.
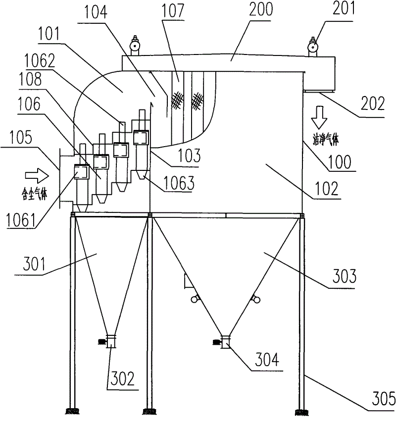
如图1所示,本实用新型干法高效除尘器包括主箱体100,该主箱体100由支架305支撑。该主箱体100内由隔板103分割成旋风子除尘室101、布袋除尘室102两个腔室,该隔板103上部设有气体输送口104,该主箱体100上设有进气口105,该进气口105与该旋风子除尘室101相贯通,该旋风子除尘室101内设有多个旋风子106,该布袋除尘室102内设有多个过滤布袋107。该主箱体100的顶端设有上箱体200,该上箱体200与该布袋除尘室102相贯通,该上箱体200的一端设有出气口202。实际中,该出气口202可与引风机相连接,该引风机与烟囱相连接。该旋风子除尘室101的下端设有一灰斗301,灰斗301的下端设有一卸灰阀302,该布袋除尘室102的下端设有一灰斗303,灰斗303的下端设有一卸灰阀304。As shown in FIG. 1 , the dry-process high-efficiency dust collector of the present invention includes a
为了使除尘效果更好,如图,旋风子除尘室101内设有阶梯形管道108,该阶梯形管道108的一端与进气口105相贯通,该阶梯形管道108的另一端与隔板103相接,旋风子除尘室101内的多个旋风子106相应于该阶梯形管道108而阶梯形竖向排列,旋风子106的进气口1061设置在该阶梯形管道108内,旋风子106的出气口1062和卸灰口1063露于该阶梯形管道108外。另外,布袋除尘室102内的多个过滤布袋107并列竖向排列。旋风子106和过滤布袋107的设置个数可根据含尘气体量、气体流速等因素来确定。In order to make the dust removal effect better, as shown in the figure, the cyclone
实际设计中,如图,上箱体200的顶端可设有多个喷吹装置201,该喷吹装置201用于吹掉过滤布袋107上的灰尘,使灰尘掉入灰斗303。In the actual design, as shown in the figure, the top of the
如图1,本实用新型的工作原理是:As shown in Fig. 1, the working principle of the present utility model is:
含尘气体在引风机的作用下,从进气口105进入旋风子除尘室101内的阶梯形管道108,在阶梯形管道108内,含尘气体经由进气口1061进入旋风子106,旋风子106将含尘气体中的大颗粒粉尘滤除,并对热量较高的大颗粒粉尘进行降温,使得进入过滤布袋107的粉尘温度不会过高,有效保护了过滤布袋,被滤除的大颗粒粉尘经由卸灰口1063掉入灰斗301内,被滤除掉大颗粒粉尘的含尘气体从出气口1062输出,并经由气体输送口104进入布袋除尘室102。在布袋除尘室102内,过滤布袋107将微细粉尘滤除,喷吹装置201对过滤布袋107进行喷吹,以吹掉过滤布袋107上的微细粉尘,使微细粉尘掉入灰斗303内,被滤除微细粉尘的洁净气体进入上箱体200,从出气口202输出至引风机,并经引风机而从烟囱排出。当灰斗301、303内的灰尘需要清理时,只需分别通过卸灰阀302、304即可进行清理。Under the action of the induced draft fan, the dusty gas enters the
实际应用时,灰斗301、303上可设有防闭塞装置(图中未示出),以使灰尘不会堵塞灰斗的输灰口;灰斗301、303上可设有料位计(图中未示出),以使灰尘被及时清理。During actual application, an anti-blocking device (not shown) can be provided on the
本实用新型结构简单,使用寿命长。本实用新型采用了旋风子、过滤布袋两种干法方式对含尘气体进行除尘,位于前级的旋风子将大颗粒粉尘除掉,位于后级的过滤布袋将微细粉尘除掉,从而使得本实用新型具有除尘效率高的优点。并且,前级的旋风子对热量较高的大颗粒粉尘具有降温作用,使得进入过滤布袋的粉尘温度不会过高,有效保护了过滤布袋,延长了过滤布袋的使用寿命。The utility model has simple structure and long service life. The utility model adopts two dry methods of cyclone and filter bag to dedust the dust-containing gas. The cyclone located in the front stage removes large particle dust, and the filter bag located in the latter stage removes fine dust, so that the utility model The utility model has the advantage of high dust removal efficiency. Moreover, the cyclone in the front stage has a cooling effect on the large particles of dust with high heat, so that the temperature of the dust entering the filter bag will not be too high, which effectively protects the filter bag and prolongs the service life of the filter bag.
以上所述是本实用新型的较佳实施例及其所运用的技术原理,对于本领域的技术人员来说,在不背离本实用新型的精神和范围的情况下,任何基于本实用新型技术方案基础上的等效变换、简单替换等显而易见的改变,均属于本实用新型保护范围之内。The above are the preferred embodiments of the utility model and the technical principles used therefor. For those skilled in the art, without departing from the spirit and scope of the utility model, any technical solution based on the utility model Obvious changes such as basic equivalent transformations and simple replacements all fall within the protection scope of the present utility model.
Claims (6)
Priority Applications (1)
| Application Number | Priority Date | Filing Date | Title |
|---|---|---|---|
| CN2010200470343U CN201632176U (en) | 2010-01-20 | 2010-01-20 | Dry high efficiency dust collector |
Applications Claiming Priority (1)
| Application Number | Priority Date | Filing Date | Title |
|---|---|---|---|
| CN2010200470343U CN201632176U (en) | 2010-01-20 | 2010-01-20 | Dry high efficiency dust collector |
Publications (1)
| Publication Number | Publication Date |
|---|---|
| CN201632176U true CN201632176U (en) | 2010-11-17 |
Family
ID=43076651
Family Applications (1)
| Application Number | Title | Priority Date | Filing Date |
|---|---|---|---|
| CN2010200470343U Expired - Fee Related CN201632176U (en) | 2010-01-20 | 2010-01-20 | Dry high efficiency dust collector |
Country Status (1)
| Country | Link |
|---|---|
| CN (1) | CN201632176U (en) |
Cited By (4)
| Publication number | Priority date | Publication date | Assignee | Title |
|---|---|---|---|---|
| CN103263816A (en) * | 2013-05-02 | 2013-08-28 | 洛阳理工学院 | Air box-bag type dust collector integrated with high efficiency cyclone dust collection |
| CN104248900A (en) * | 2013-06-27 | 2014-12-31 | 北京青山绿野环保科技有限公司 | Pipe and bag combined dust collector |
| CN105999894A (en) * | 2015-03-16 | 2016-10-12 | 张云轩 | Bag dedusting dust ash transfer and use method thereof |
| CN113908630A (en) * | 2021-09-27 | 2022-01-11 | 铁岭龙鑫钛业新材料有限公司 | Dust sack dust removal air cooling device |
-
2010
- 2010-01-20 CN CN2010200470343U patent/CN201632176U/en not_active Expired - Fee Related
Cited By (6)
| Publication number | Priority date | Publication date | Assignee | Title |
|---|---|---|---|---|
| CN103263816A (en) * | 2013-05-02 | 2013-08-28 | 洛阳理工学院 | Air box-bag type dust collector integrated with high efficiency cyclone dust collection |
| CN103263816B (en) * | 2013-05-02 | 2015-07-15 | 洛阳理工学院 | Air box-bag type dust collector integrated with high efficiency cyclone dust collection |
| CN104248900A (en) * | 2013-06-27 | 2014-12-31 | 北京青山绿野环保科技有限公司 | Pipe and bag combined dust collector |
| CN105999894A (en) * | 2015-03-16 | 2016-10-12 | 张云轩 | Bag dedusting dust ash transfer and use method thereof |
| CN105999894B (en) * | 2015-03-16 | 2019-01-25 | 张云轩 | A kind of bag dust removal dust ash transfer device |
| CN113908630A (en) * | 2021-09-27 | 2022-01-11 | 铁岭龙鑫钛业新材料有限公司 | Dust sack dust removal air cooling device |
Similar Documents
| Publication | Publication Date | Title |
|---|---|---|
| CN202036880U (en) | High-temperature-resistant filter cylinder air purification device | |
| CN202555099U (en) | Bag-type dust collector with vibrating ash removers | |
| CN201632176U (en) | Dry high efficiency dust collector | |
| CN106196123A (en) | A kind of boiler smoke dust pelletizing system | |
| CN202700258U (en) | Offline bag-type dust collector | |
| CN205461451U (en) | Dust remover increase -volume device | |
| CN104400669B (en) | Dust removing device for stone shot blasting | |
| CN206343042U (en) | A multi-stage dust collector for refractory materials | |
| CN105327585A (en) | Integrated dust collector device and dedusting method | |
| CN207253923U (en) | A kind of high density duster for filter tube of dust | |
| CN202715320U (en) | Bag-type dust collector | |
| CN202701956U (en) | Water curtain type integral polishing and dedusting operating platform | |
| CN201394397Y (en) | Low pressure long bag filter | |
| CN202844787U (en) | Bag-type dust remover | |
| CN203724969U (en) | Pulse dust collector | |
| CN203400593U (en) | Bag-type dust collector for shaft furnace | |
| CN207620836U (en) | A kind of mine spray dust remover | |
| CN207126299U (en) | Coal separation deduster | |
| CN205252786U (en) | A filter dust collector | |
| CN204073688U (en) | The sack cleaner that anti-high concentrate dust particle washes away | |
| CN201061795Y (en) | Industry suction cleaner | |
| CN205287979U (en) | Compound dust remover of pipe bag | |
| CN206381749U (en) | A kind of multi-point dust separation system of coke production line | |
| CN206404497U (en) | A kind of novel horizontal cyclone water-film cleaner of electric automatization control | |
| CN204502632U (en) | Spiral negative pressure dust removing device |
Legal Events
| Date | Code | Title | Description |
|---|---|---|---|
| C14 | Grant of patent or utility model | ||
| GR01 | Patent grant | ||
| CF01 | Termination of patent right due to non-payment of annual fee |
Granted publication date: 20101117 Termination date: 20130120 |
|
| CF01 | Termination of patent right due to non-payment of annual fee |
