CN201511130U - A coaxial powder feeding nozzle for laser rapid prototyping - Google Patents
A coaxial powder feeding nozzle for laser rapid prototyping Download PDFInfo
- Publication number
- CN201511130U CN201511130U CN2009202039392U CN200920203939U CN201511130U CN 201511130 U CN201511130 U CN 201511130U CN 2009202039392 U CN2009202039392 U CN 2009202039392U CN 200920203939 U CN200920203939 U CN 200920203939U CN 201511130 U CN201511130 U CN 201511130U
- Authority
- CN
- China
- Prior art keywords
- sleeve
- powder
- cooling water
- nozzle
- cone nozzle
- Prior art date
- Legal status (The legal status is an assumption and is not a legal conclusion. Google has not performed a legal analysis and makes no representation as to the accuracy of the status listed.)
- Expired - Fee Related
Links
Images
Classifications
-
- Y—GENERAL TAGGING OF NEW TECHNOLOGICAL DEVELOPMENTS; GENERAL TAGGING OF CROSS-SECTIONAL TECHNOLOGIES SPANNING OVER SEVERAL SECTIONS OF THE IPC; TECHNICAL SUBJECTS COVERED BY FORMER USPC CROSS-REFERENCE ART COLLECTIONS [XRACs] AND DIGESTS
- Y02—TECHNOLOGIES OR APPLICATIONS FOR MITIGATION OR ADAPTATION AGAINST CLIMATE CHANGE
- Y02P—CLIMATE CHANGE MITIGATION TECHNOLOGIES IN THE PRODUCTION OR PROCESSING OF GOODS
- Y02P10/00—Technologies related to metal processing
- Y02P10/25—Process efficiency
Landscapes
- Laser Beam Processing (AREA)
Abstract
一种用于激光快速成形的同轴送粉嘴,包括冷却水罩,锥嘴套,内锥嘴,进粉套和进水管。锥嘴套处于冷却水罩内,进水管插入到冷却水罩内。冷却水罩与锥嘴套之间的空腔为外层冷却水通道。冷却水罩与锥嘴套之间由螺纹结构连接,在上下两个结合面处分别设有密封圈。内锥嘴和进粉套处于锥嘴套内。内锥嘴与进粉套之间用螺纹连接,内锥嘴在内,进粉套在外,内锥嘴与进粉套之间的空腔为内层冷却水通道,在内锥嘴与进粉套两个结合面上分别有密封圈。内锥嘴外表面为圆锥面,在此面上均匀的开有4个或是6个槽型结构,槽型结构的中心线汇交于一点,且此交点与激光聚焦光斑重合。本实用新型密封、冷却好,出粉口不粘粉,提高了粉末的汇聚性和喷射速度,而且主要连接方式为螺纹连接,既易于加工,方便装拆,又克服了焊接连接热输入大,零件变化大的缺点。
A coaxial powder feeding nozzle for laser rapid prototyping, comprising a cooling water cover, a cone nozzle sleeve, an inner cone nozzle, a powder inlet sleeve and a water inlet pipe. The taper mouth sleeve is in the cooling water cover, and the water inlet pipe is inserted into the cooling water cover. The cavity between the cooling water cover and the cone nozzle sleeve is the outer cooling water channel. The cooling water cover and the cone mouth sleeve are connected by a thread structure, and sealing rings are respectively provided at the upper and lower joint surfaces. The inner cone mouth and the powder inlet sleeve are in the cone mouth sleeve. The inner cone nozzle and the powder inlet sleeve are connected by threads, the inner cone nozzle is inside, the powder inlet sleeve is outside, the cavity between the inner cone nozzle and the powder inlet sleeve is the inner cooling water channel, the inner cone nozzle and the powder inlet sleeve There are sealing rings respectively on the two joint surfaces of the sleeve. The outer surface of the inner cone mouth is a conical surface, and there are 4 or 6 groove structures uniformly formed on this surface. The centerlines of the groove structures meet at one point, and this intersection coincides with the laser focus spot. The utility model has good sealing and cooling, the powder outlet does not stick to the powder, improves the convergence and spray speed of the powder, and the main connection method is threaded connection, which is not only easy to process, convenient to assemble and disassemble, but also overcomes the large heat input of the welding connection. Disadvantages of large changes in parts.
Description
技术领域:本实用新型涉及一种送粉嘴,尤其是一种用于激光快速成形的同轴送粉嘴,主要应用于金属粉末激光快速成形系统中和激光表面熔覆系统中。Technical field: The utility model relates to a powder feeding nozzle, especially a coaxial powder feeding nozzle for laser rapid prototyping, which is mainly used in metal powder laser rapid prototyping systems and laser surface cladding systems.
背景技术:激光是二十世纪最有发展前途的领域,国外已开发出20多种激光加工技术,其中激光熔覆技术是目前最活跃的激光加工技术之一。激光快速成形技术是是将激光熔覆技术与快速成形技术相结合,以金属粉末为原料,采用高功率的激光熔覆技术,利用快速成形分层制造思想,制造出金属功能零件表坯。此项技术因能够直接成形金属功能零件而倍受人们的关注,并且取得了长足的发展。激光快速成形系统除了大功率激光器外,主要还包括导光及聚焦装置、数控装置和金属粉末送给装置等,其中金属粉末送给是一项关键技术,它直接影响着的激光表面熔覆和激光快速成形的质量和效率。目前,金属粉末送给方式主要有以下三种:预置粉末法、侧向同步送粉法和同轴送粉法。目前使用较多的是采用同轴送粉法的同轴粉末喷嘴,而且大多数同轴粉末喷嘴均采用同轴环形锥套的结构。这种同轴粉末喷嘴虽然结构紧凑,但是仍然具有如下问题:Background technology: Laser is the most promising field in the 20th century. More than 20 kinds of laser processing technologies have been developed abroad, among which laser cladding technology is currently one of the most active laser processing technologies. Laser rapid prototyping technology is a combination of laser cladding technology and rapid prototyping technology, using metal powder as raw material, using high-power laser cladding technology, and using rapid prototyping layered manufacturing ideas to manufacture metal functional parts. This technology has attracted people's attention because of its ability to directly form metal functional parts, and has made great progress. In addition to high-power lasers, the laser rapid prototyping system mainly includes light guide and focusing devices, numerical control devices and metal powder feeding devices, among which metal powder feeding is a key technology, which directly affects the laser surface cladding and Quality and efficiency in laser rapid prototyping. At present, there are three main methods of metal powder feeding: preset powder method, side synchronous powder feeding method and coaxial powder feeding method. At present, the coaxial powder nozzles using the coaxial powder feeding method are used more, and most of the coaxial powder nozzles adopt the structure of the coaxial annular cone sleeve. Although this coaxial powder nozzle has a compact structure, it still has the following problems:
1、粉末汇聚性差:现有环形锥套结构在整个环周上都有粉末喷出,不易实现粉末汇聚到激光熔覆或激光快速成形的熔池内。1. Poor powder convergence: the existing ring-shaped cone sleeve structure has powder sprayed out on the entire circumference, and it is difficult to realize powder convergence into the molten pool of laser cladding or laser rapid prototyping.
2、粉末利用率低:因为现有环形锥套结构的同轴送粉嘴粉末汇聚性差,直接导致粉末利用率低,近而造成加工成本增加。2. Low powder utilization rate: Because the coaxial powder feeding nozzle with the existing annular cone sleeve structure has poor powder aggregation, it directly leads to low powder utilization rate, which leads to increased processing costs.
3、加工困难:现有同轴送粉嘴大多采用焊接结构,焊接加工热量输入大,工件变形大,成品率低,导致加工困难。3. Difficult processing: most of the existing coaxial powder feeding nozzles adopt welding structure, which leads to large heat input in welding processing, large deformation of the workpiece, and low yield, resulting in difficult processing.
发明内容:针对上述现有技术的不足,本实用新型提供了一种用于激光快速成形的同轴送粉嘴。Summary of the invention: In view of the shortcomings of the above-mentioned prior art, the utility model provides a coaxial powder feeding nozzle for laser rapid prototyping.
为实现上述目的,本实用新型采用的技术方案是:一种用于激光快速成形的同轴送粉嘴,包括冷却水罩,锥嘴套,内锥嘴,进粉套和进水管。锥嘴套处于冷却水罩内,进水管插入到冷却水罩内。冷却水罩与锥嘴套之间的空腔为外层冷却水通道。冷却水罩与锥嘴套之间由螺纹结构连接,在上下两个结合面处分别设有密封圈。内锥嘴和进粉套处于锥嘴套内。内锥嘴与进粉套之间用螺纹连接,内锥嘴在内,进粉套在外,内锥嘴与进粉套之间的空腔为内层冷却水通道,在内锥嘴与进粉套两个结合面上分别有密封圈。内锥嘴外表面为圆锥面,在此面上均匀的开有4个(每个槽相差90度)或是6个(每个槽相差60度)槽型结构,槽型结构的中心线汇交于一点,且此交点与激光聚焦光斑重合。In order to achieve the above purpose, the technical solution adopted by the utility model is: a coaxial powder feeding nozzle for laser rapid prototyping, including a cooling water cover, a cone nozzle sleeve, an inner cone nozzle, a powder inlet sleeve and a water inlet pipe. The taper mouth sleeve is in the cooling water cover, and the water inlet pipe is inserted into the cooling water cover. The cavity between the cooling water cover and the cone nozzle sleeve is the outer cooling water channel. The cooling water cover and the cone mouth sleeve are connected by a thread structure, and sealing rings are respectively provided at the upper and lower joint surfaces. The inner cone mouth and the powder inlet sleeve are in the cone mouth sleeve. The inner cone nozzle and the powder inlet sleeve are connected by threads, the inner cone nozzle is inside, the powder inlet sleeve is outside, the cavity between the inner cone nozzle and the powder inlet sleeve is the inner cooling water channel, the inner cone nozzle and the powder inlet sleeve There are sealing rings respectively on the two joint surfaces of the sleeve. The outer surface of the inner cone mouth is a conical surface, and there are 4 groove structures (with a difference of 90 degrees for each groove) or 6 groove structures (with a difference of 60 degrees for each groove) evenly formed on this surface, and the center lines of the groove structures meet Intersect at one point, and this intersection coincides with the laser focus spot.
本实用新型密封、冷却好,出粉口不粘粉,提高了粉末的汇聚性和喷射速度,而且主要连接方式为螺纹连接,即易于加工,方便装拆,又克服了焊接连接热输入大,零件变化大的缺点。The utility model has good sealing and cooling, and the powder outlet does not stick to the powder, which improves the convergence and spraying speed of the powder, and the main connection method is threaded connection, which is easy to process, convenient to assemble and disassemble, and overcomes the large heat input of the welding connection. Disadvantages of large changes in parts.
附图说明:Description of drawings:
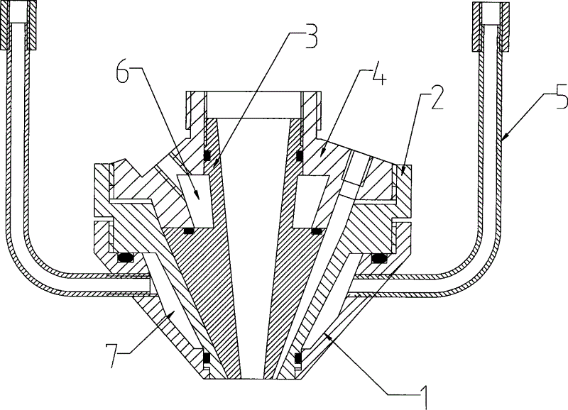
图1是本实用新型的内部剖视图。Fig. 1 is an internal sectional view of the utility model.
图2是内锥嘴的结构示意图。Fig. 2 is a schematic diagram of the structure of the inner cone mouth.
图3是图2的仰视图。FIG. 3 is a bottom view of FIG. 2 .
具体实施方式:Detailed ways:
如图1所示:一种用于激光快速成形的同轴送粉嘴,包括冷却水罩1,锥嘴套2,内锥嘴3,进粉套4和进水管5。锥嘴套2处于冷却水罩1内,进水管5插入到冷却水罩1内。冷却水罩1与锥嘴套2之间的空腔为外层冷却水通道7,此结构能带走激光表面熔覆和激光快速成型过程中反射到送粉嘴上的大部分热量。冷却水罩1与锥嘴套2之间由螺纹结构连接,在上下两个结合面处分别设有密封圈,保证此结构的密封可靠。冷却水罩1与进出水管5用螺纹连接,在连接时先在螺纹表面涂上密封胶,然后在旋紧螺纹,保证连接可靠且密封可靠。内锥嘴3和进粉套4处于锥嘴套2内。内锥嘴3与进粉套4之间用螺纹连接,内锥嘴3在内,进粉套4在外,内锥嘴3与进粉套4之间的空腔为内层冷却水通道6,此结构使送粉通道的温度保持在一个较低的范围内,以使出粉口不粘粉,在内锥嘴3与进粉套4两个结合面上分别有密封圈,保证此结构的密封可靠。As shown in Figure 1: a coaxial powder feeding nozzle for laser rapid prototyping, including a cooling water cover 1, a cone nozzle sleeve 2, an inner cone nozzle 3, a powder inlet sleeve 4 and a water inlet pipe 5. The cone mouth cover 2 is in the cooling water cover 1, and the water inlet pipe 5 is inserted into the cooling water cover 1. The cavity between the cooling water cover 1 and the nozzle sleeve 2 is the outer
如图2和图3所示:内锥嘴3外表面为圆锥面,在此面上均匀的开有4个(每个槽相差90度)或是6个(每个槽相差60度)槽型结构。粉末从4个(6个)槽孔中喷出,有以下几个优点:1、较现有的环锥形面喷出,提高了粉末的汇聚性。2、槽孔面积相比环孔面积要小,在载气压力及载气流量不变情况下,提高的粉末喷射速度,提高了汇聚性。3、较高的喷射速度也使粉末不易粘到出粉口。内锥嘴3为中空结构,为聚焦后的激光通道,且内部通有惰性气体,即保护镜片清洁,又使激光熔池处在惰性气体保护范围内。4、较高的出口气流速度及较大的出口压力可将末熔化的粉末喷开,使激光熔覆和激光快速成形表面质量更高。As shown in Figure 2 and Figure 3: the outer surface of the inner cone nozzle 3 is a conical surface, and there are 4 (each groove differs by 90 degrees) or 6 grooves (each groove differs by 60 degrees) evenly on this surface type structure. The powder is ejected from 4 (6) slots, which has the following advantages: 1. Compared with the existing ring-conical surface ejection, the aggregation of the powder is improved. 2. The area of the slot hole is smaller than the area of the ring hole. Under the condition of the carrier gas pressure and the carrier gas flow rate unchanged, the powder injection speed is increased and the convergence is improved. 3. The higher spray speed also makes it difficult for the powder to stick to the powder outlet. The inner cone mouth 3 is a hollow structure, which is a focused laser channel, and an inert gas is passed inside, which not only protects the lens from cleaning, but also keeps the laser melting pool within the protection range of the inert gas. 4. Higher outlet air velocity and higher outlet pressure can spray unmelted powder away, making the surface quality of laser cladding and laser rapid prototyping higher.
Claims (2)
Priority Applications (1)
| Application Number | Priority Date | Filing Date | Title |
|---|---|---|---|
| CN2009202039392U CN201511130U (en) | 2009-10-16 | 2009-10-16 | A coaxial powder feeding nozzle for laser rapid prototyping |
Applications Claiming Priority (1)
| Application Number | Priority Date | Filing Date | Title |
|---|---|---|---|
| CN2009202039392U CN201511130U (en) | 2009-10-16 | 2009-10-16 | A coaxial powder feeding nozzle for laser rapid prototyping |
Publications (1)
| Publication Number | Publication Date |
|---|---|
| CN201511130U true CN201511130U (en) | 2010-06-23 |
Family
ID=42482528
Family Applications (1)
| Application Number | Title | Priority Date | Filing Date |
|---|---|---|---|
| CN2009202039392U Expired - Fee Related CN201511130U (en) | 2009-10-16 | 2009-10-16 | A coaxial powder feeding nozzle for laser rapid prototyping |
Country Status (1)
| Country | Link |
|---|---|
| CN (1) | CN201511130U (en) |
Cited By (8)
| Publication number | Priority date | Publication date | Assignee | Title |
|---|---|---|---|---|
| CN102374758A (en) * | 2010-08-25 | 2012-03-14 | 湖南工学院 | Drying treatment device for laser cladding powder |
| CN105522264A (en) * | 2016-01-06 | 2016-04-27 | 江苏烁石焊接科技有限公司 | Device for 3D printing of high-nitrogen steel products through nitrogen arc and nitride |
| CN106029263A (en) * | 2014-03-18 | 2016-10-12 | 株式会社东芝 | Nozzle for layered molding device and layered molding device |
| CN106378450A (en) * | 2016-10-17 | 2017-02-08 | 华南理工大学 | Additive manufacturing equipment and method suitable for selective laser melting of various materials |
| CN106825571A (en) * | 2017-03-31 | 2017-06-13 | 杨沛恩 | A kind of coaxial powder feeding apparatus for 3D printing metal works |
| CN110923706A (en) * | 2019-12-31 | 2020-03-27 | 华南理工大学 | A 3D printing-based laser cladding device and its nozzle |
| CN110952089A (en) * | 2019-12-20 | 2020-04-03 | 西安交通大学 | A slit type powder feeder |
| CN119370611A (en) * | 2025-01-02 | 2025-01-28 | 西安优耐特容器制造有限公司 | A powder feeding method for plasma spheroidized powder |
-
2009
- 2009-10-16 CN CN2009202039392U patent/CN201511130U/en not_active Expired - Fee Related
Cited By (11)
| Publication number | Priority date | Publication date | Assignee | Title |
|---|---|---|---|---|
| CN102374758A (en) * | 2010-08-25 | 2012-03-14 | 湖南工学院 | Drying treatment device for laser cladding powder |
| CN106029263A (en) * | 2014-03-18 | 2016-10-12 | 株式会社东芝 | Nozzle for layered molding device and layered molding device |
| US10279430B2 (en) | 2014-03-18 | 2019-05-07 | Kabushiki Kaisha Toshiba | Nozzle of layered object manufacturing apparatus, and layered object manufacturing apparatus |
| CN105522264A (en) * | 2016-01-06 | 2016-04-27 | 江苏烁石焊接科技有限公司 | Device for 3D printing of high-nitrogen steel products through nitrogen arc and nitride |
| CN106378450A (en) * | 2016-10-17 | 2017-02-08 | 华南理工大学 | Additive manufacturing equipment and method suitable for selective laser melting of various materials |
| CN106825571A (en) * | 2017-03-31 | 2017-06-13 | 杨沛恩 | A kind of coaxial powder feeding apparatus for 3D printing metal works |
| CN106825571B (en) * | 2017-03-31 | 2018-03-23 | 杨沛恩 | A kind of coaxial powder feeding apparatus for 3D printing metal works |
| CN110952089A (en) * | 2019-12-20 | 2020-04-03 | 西安交通大学 | A slit type powder feeder |
| CN110952089B (en) * | 2019-12-20 | 2024-05-28 | 西安交通大学 | A slit type powder feeding head |
| CN110923706A (en) * | 2019-12-31 | 2020-03-27 | 华南理工大学 | A 3D printing-based laser cladding device and its nozzle |
| CN119370611A (en) * | 2025-01-02 | 2025-01-28 | 西安优耐特容器制造有限公司 | A powder feeding method for plasma spheroidized powder |
Similar Documents
| Publication | Publication Date | Title |
|---|---|---|
| CN201511130U (en) | A coaxial powder feeding nozzle for laser rapid prototyping | |
| CN101264519B (en) | An adjustable laser coaxial powder feeding nozzle | |
| CN102554471B (en) | Angle-adjustable four-pipe powder feeding nozzle for laser direct forming | |
| CN101942659A (en) | Laser cladding nozzle convenient for cooling and manufacturing method thereof | |
| CN103060801A (en) | Coaxial powder delivery nozzle applied to variable spot technique | |
| CN105328199B (en) | A kind of Novel air atomizer and its implementation | |
| CN101386111A (en) | Laser optical inner wire feeding cladding method and optical inner wire feeding device | |
| CN109234730B (en) | Precise coaxial powder feeding type laser cladding nozzle | |
| CN201915148U (en) | Wire-feeding and powder-feeding laser cladding composite nozzle | |
| CN106392073B (en) | Selective laser sintering melting unit | |
| CN1271236C (en) | Built-in type jet nozzle for laser melting and coating | |
| CN104694922A (en) | Ring hole type laser coaxial powder feeding nozzle | |
| CN107587132A (en) | A kind of multifunctional coaxial powder feeding high-rate laser spray equipment and application | |
| CN116727844B (en) | Water-guide laser water jet stabilization enhancement coupling device | |
| CN112126924A (en) | A laser cladding coaxial powder feeding nozzle with outer protective gas structure | |
| CN201793743U (en) | Laser cladding spray nozzle convenient for cooling | |
| CN101942656A (en) | A laser nozzle device and method for uniform powder distribution thereof | |
| CN201574192U (en) | A light, powder and gas coaxial conveying device for laser cladding forming | |
| CN217757661U (en) | An adjustable precision ring laser powder spray nozzle | |
| CN214142541U (en) | A nozzle for laser cladding with inner powder guide ring structure | |
| CN202989279U (en) | Laser rapid prototyping coaxial powder-feeding nozzle | |
| CN202099345U (en) | Coaxial blowing type gas protection device | |
| CN206635417U (en) | A kind of laser melting coating shower nozzle | |
| CN213739683U (en) | Laser cladding powder feeding mechanism | |
| CN2705236Y (en) | Built-in laser smelting spray nozzle |
Legal Events
| Date | Code | Title | Description |
|---|---|---|---|
| C14 | Grant of patent or utility model | ||
| GR01 | Patent grant | ||
| C17 | Cessation of patent right | ||
| CF01 | Termination of patent right due to non-payment of annual fee |
Granted publication date: 20100623 Termination date: 20121016 |
