CN201389414Y - A high-efficiency electric bag dust collector - Google Patents

A high-efficiency electric bag dust collector Download PDF

Info

Publication number
CN201389414Y
CN201389414Y CN200920012318U CN200920012318U CN201389414Y CN 201389414 Y CN201389414 Y CN 201389414Y CN 200920012318 U CN200920012318 U CN 200920012318U CN 200920012318 U CN200920012318 U CN 200920012318U CN 201389414 Y CN201389414 Y CN 201389414Y
Authority
CN
China
Prior art keywords
bag
dust collector
bag dust
collector according
efficient electric
Prior art date
Legal status (The legal status is an assumption and is not a legal conclusion. Google has not performed a legal analysis and makes no representation as to the accuracy of the status listed.)
Expired - Fee Related
Application number
CN200920012318U
Other languages
Chinese (zh)
Inventor
冯素萍
Current Assignee (The listed assignees may be inaccurate. Google has not performed a legal analysis and makes no representation or warranty as to the accuracy of the list.)
ANGANG KAIXIN MINE EQUIPMENT Co Ltd
Original Assignee
ANGANG KAIXIN MINE EQUIPMENT Co Ltd
Priority date (The priority date is an assumption and is not a legal conclusion. Google has not performed a legal analysis and makes no representation as to the accuracy of the date listed.)
Filing date
Publication date
Application filed by ANGANG KAIXIN MINE EQUIPMENT Co Ltd filed Critical ANGANG KAIXIN MINE EQUIPMENT Co Ltd
Priority to CN200920012318U priority Critical patent/CN201389414Y/en
Application granted granted Critical
Publication of CN201389414Y publication Critical patent/CN201389414Y/en
Anticipated expiration legal-status Critical
Expired - Fee Related legal-status Critical Current

Links

Images

Classifications

    • YGENERAL TAGGING OF NEW TECHNOLOGICAL DEVELOPMENTS; GENERAL TAGGING OF CROSS-SECTIONAL TECHNOLOGIES SPANNING OVER SEVERAL SECTIONS OF THE IPC; TECHNICAL SUBJECTS COVERED BY FORMER USPC CROSS-REFERENCE ART COLLECTIONS [XRACs] AND DIGESTS
    • Y02TECHNOLOGIES OR APPLICATIONS FOR MITIGATION OR ADAPTATION AGAINST CLIMATE CHANGE
    • Y02ATECHNOLOGIES FOR ADAPTATION TO CLIMATE CHANGE
    • Y02A50/00TECHNOLOGIES FOR ADAPTATION TO CLIMATE CHANGE in human health protection, e.g. against extreme weather
    • Y02A50/20Air quality improvement or preservation, e.g. vehicle emission control or emission reduction by using catalytic converters
    • Y02A50/2351Atmospheric particulate matter [PM], e.g. carbon smoke microparticles, smog, aerosol particles, dust

Landscapes

  • Filtering Of Dispersed Particles In Gases (AREA)

Abstract

本实用新型涉及一种高效电袋除尘器,包括电除尘单元和袋式除尘单元,在装置的进风口处设有气流分布装置。气流分布装置是均匀布置的多孔板结构;在电除尘单元与袋式除尘单元之间设有导流板;滤袋骨架上口采用保护套结构,该保护套通过垫片与花板相接触,通过螺栓固定。喷吹清灰系统下部安装有诱导器。与现有技术相比,本实用新型的优点是:清灰彻底、除尘效率高、能耗低、使用寿命长。

Figure 200920012318

The utility model relates to a high-efficiency electric bag dust collector, which comprises an electric dust removal unit and a bag type dust removal unit, and an airflow distribution device is arranged at the air inlet of the device. The air flow distribution device is a uniformly arranged porous plate structure; there is a deflector between the electrostatic precipitator unit and the bag filter unit; the upper opening of the filter bag skeleton adopts a protective cover structure, and the protective cover is in contact with the flower plate through a gasket. Secured by bolts. An inducer is installed at the lower part of the jet cleaning system. Compared with the prior art, the utility model has the advantages of thorough dust removal, high dust removal efficiency, low energy consumption and long service life.

Figure 200920012318

Description

A kind of efficient electric bag dust collector
Technical field
The utility model relates to a kind of electric bag dust collector.
Background technology
Electricity-bag complex type dust remover is a kind of cleaner that grew up in recent years.It is made up of two unit, i.e. electric precipitation unit and bag-type dust unit.Generally speaking, an electric field is arranged in the electric precipitation unit.Electric back pkt. before this electricity-bag complex type dust remover, both having brought into play electric cleaner can reduce the concentration that enters filter bag 80%~90% dust collection in the flue gas greatly, and the resistance of filter bag reduces, cleaning cycle strengthens, thereby prolong the life-span of cloth bag.It is insensitive to coal to have brought into play sack cleaner again, and fine dust collection efficiency height advantages such as (99.9%) can guarantee to reach the discharge standard of 50mg/m3.Electricity-bag complex type dust remover is a kind of novel, the deduster efficiently by the combination of electric precipitation and bag-type dust.
Along with the strictness day by day of national environmental standard, country has issued new " thermal power plant's atmosphere pollutants emission standards ", and grassroot project has been proposed higher emission request.But the deduster of present existing electricity bag combination also can't reach desirable deashing ability, efficiency of dust collection and long service life because of its structure Design.
Summary of the invention
The purpose of this utility model provides that a kind of rational in infrastructure, dedusting is efficient, the efficient electric bag dust collector of long service life.
For achieving the above object, the utility model is achieved through the following technical solutions:
A kind of efficient electric bag dust collector, the electric precipitation unit that comprises air inlet, housing, constitutes by cathod system, anode system, rapping apparatus, silicon rectifying transformer, ash bucket, by bag-type dusting unit, air outlet, ash bucket that pulse valve, jetting deashing system, filter bag, dust chamber, air-purifying chamber, ash bucket constitute, be provided with airflow distribution device at the air inlet place of device.
Described airflow distribution device is the perforated plate construction of evenly arranging.
Between electric precipitation unit and bag-type dusting unit, be provided with the deflector that dust-contained airflow is play the guiding role.
Described Filter-bag carcass employing protective sleeve suitable for reading structure, this protective sleeve contacts with card by pad, passes through bolting.
Described protective sleeve adopts Venturi tube.
Described jetting deashing system bottom is equipped with persuader, is positioned at filter bag top; Be made of fixation clamp, induction tunnel, clip, air deflector, fixation clamp is positioned at the induction tunnel upper end, and induction tunnel is fixedlyed connected with air deflector by clip.
Described air deflector is horn-like.
Compared with prior art, the utility model has the advantages that:
1) the dust removal combined structure of locellus of employing electric precipitation and bag-type dust satisfies service requirement under the different working conditions, and deashing is efficiently thorough; Prime electric precipitation efficiency of dust collection height is collected 80%~90% Dust Capacity; Back level bag-type dust is collected grain dust, guarantees the low concentration discharging.
2) the air inlet place is provided with airflow distribution device, and the dirt pocket internal gas flow is evenly distributed; Air-flow is distributed both guaranteed not reduce electric cleaner efficient, can satisfy sack cleaner again, prolonged life of bag filter the requirement that air-flow distributes;
3) Filter-bag carcass employing protective sleeve suitable for reading structure, the air-flow deflection that prevents to jet is washed away filter bag, for the organosilicon preservative treatment of skeleton, protect filter bag fully, prolongs life-span of the filter bag.
4) described jetting deashing system bottom is equipped with persuader, and it is far away to have jet length, and spray angle such as can control at characteristics; Make that deashing is thorough, drag losses is little, the winding-up bleed pressure is low, and energy consumption is low; The winding-up cycle is long, pulse width is narrow;
5), select the rational utmost point to join form, the efficient of the raising electric precipitation of employing sub-district power supply maximum possible and the security reliability of operation according to the dust characteristic.
6) running resistance is low, and life of bag filter is long, and energy consumption is little, and operation, maintenance cost is low.
Description of drawings
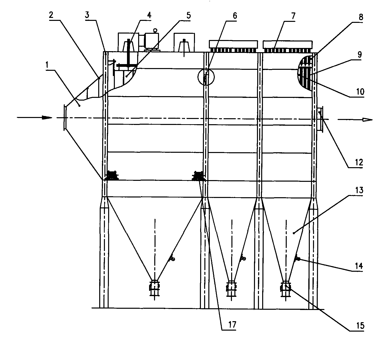
Fig. 1 is the main TV structure figure of electric bag dust collector;
Fig. 2 is the right TV structure figure of electric bag dust collector;
Fig. 3 is the plan structure figure of electric bag dust collector;
Fig. 4 is the structural representation of airflow distribution device;
Fig. 5-the 1st, the structural representation of deflector;
Fig. 5-the 2nd, the structural representation of the another kind of form of deflector;
Fig. 6 is a filter bag structural representation suitable for reading;
Fig. 7 is the structural representation of jetting deashing system bottom persuader.
The specific embodiment
See Fig. 1, Fig. 2, Fig. 3, a kind of efficient electric bag dust collector, the mode that this deduster adopts electric precipitation and bag-type dust to combine, cleaning efficiency height, long service life.The deduster air inlet connects the electric precipitation unit, and air outlet connects the bag-type dusting unit.Air inlet 1 place of electric precipitation unit is provided with airflow distribution device 2, sees Fig. 4, and airflow distribution device 2 is perforated plate constructions of evenly arranging.Electric precipitation unit housing 3 tops are provided with cathod system 4 and anode system 5, and the bottom is provided with ash bucket; Silicon rectifying transformer 18 is positioned at electric precipitation unit housings top.
In order to produce electric field, with anode system 5 ground connection, by silicon rectifying transformer 18 cathod system 4 (dust collecting electrode) is applied high voltage, irregularly shaped generation non-uniform electric field by negative electrode, make charged grit by its electrically charged not opposite polarity in the same way electrode movement separately, stressed and be captured at electric field.Grit after the capture is deposited on the dust collecting electrode (cathod system 4), and rapping apparatus 17 carries out rapping every some cycles to it, and the rapping power and the dust collecting electrode that produce by rapping apparatus break away from, and fall into the bottom ash bucket by the self gravitation sedimentation.
Then continue to move through flue gas and fine particle wherein after the electric field preliminary purification along the flow of flue gas direction, be folded to the electric field bottom at the electric field rear portion by deflector 6 (or 6 ') (two kinds of forms shown in Fig. 5-1, Fig. 5-2), the ventilating opening through the bottom enters the bagroom 10 of bag-type dusting unit.
Bagroom 10 tops are provided with jetting deashing system 7 and pulse valve 16, and inside is provided with filter bag 9, and air outlet 12 sides are provided with 8 air-purifying chambers, and the bottom is provided with ash bucket 13, and the ash bucket sidewall is provided with hopper wall vibrator 14, and the bottom is provided with unloading valve 15.Bagroom 10 air outlets 12 places are provided with lifting device 11, and lifting device is realized the open and-shut mode of air outlet 12 by the lifting of control valve plate.
See Fig. 6, Filter-bag carcass 5 employing protective sleeve structures suitable for reading, protective sleeve adopts Venturi tube 19, and Venturi tube 19 contacts with card 21 by pad 20, passes through bolting.
See Fig. 7, jetting deashing system 7 bottoms are equipped with persuader, are positioned at filter bag 9 tops; Be made of fixation clamp 23, induction tunnel 24, clip 25, air deflector 26, fixation clamp 23 is positioned at induction tunnel 24 upper ends, and induction tunnel 24 is fixedlyed connected with air deflector 26 by clip 25, and air deflector 26 is horn-like, is positioned at filter bag 9 tops.
The bottom-up motion of flue gas in dust chamber 10, comprehensive effects such as inertia, collision, sieving, interception and static by filter bag 9 surfaces, make dust settling on filter bag surface and form dust layer, purified gas enters air-purifying chamber 8, is drawn by air outlet 12 by lifting device 11 backs.
After a period of time, at this moment the thickening of filter bag surface dust layer need to carry out deashing.Pulse valve 16 in the jetting deashing system 7 is opened, compressed air in the gas bag is by the aperture of pulse valve on the winding-up pipe, eject the injection air-flow of one high speed and high pressure to filter pocket mouths, form one induced drafts suitable and injection airflow volume several times, together enter in the filter bag, make to occur the moment malleation in the filter bag, sharply expand, be deposited on the dust releasing in the filter bag outside, fall in the ash bucket, reach the deashing purpose.
When the dust stratification in the ash bucket acquires a certain degree, need unload ash.Produce vibration by the hopper wall vibrator 14 that is installed on the ash bucket, dust is discharged by unloading valve 15 smoothly, be transported to the appointed place.

Claims (7)

1, a kind of efficient electric bag dust collector, the electric precipitation unit that comprises air inlet, housing, constitutes by cathod system, anode system, rapping apparatus, silicon rectifying transformer, ash bucket, the bag-type dusting unit, air outlet, the ash bucket that constitute by pulse valve, jetting deashing system, filter bag, dust chamber, air-purifying chamber, ash bucket, it is characterized in that, be provided with airflow distribution device at the air inlet place of device.
2, a kind of efficient electric bag dust collector according to claim 1 is characterized in that, described airflow distribution device is the perforated plate construction of evenly arranging.
3, a kind of efficient electric bag dust collector according to claim 1 is characterized in that, is provided with the deflector that dust-contained airflow is play the guiding role between electric precipitation unit and bag-type dusting unit.
4, a kind of efficient electric bag dust collector according to claim 1 is characterized in that, described Filter-bag carcass employing protective sleeve suitable for reading structure, and this protective sleeve contacts with card by pad, passes through bolting.
5, a kind of efficient electric bag dust collector according to claim 4 is characterized in that, described protective sleeve adopts Venturi tube.
6, a kind of efficient electric bag dust collector according to claim 1 is characterized in that, described jetting deashing system bottom is equipped with persuader, is positioned at filter bag top; Be made of fixation clamp, induction tunnel, clip, air deflector, fixation clamp is positioned at the induction tunnel upper end, and induction tunnel is fixedlyed connected with air deflector by clip.
7, a kind of efficient electric bag dust collector according to claim 1 is characterized in that described air deflector is horn-like.
CN200920012318U 2009-03-23 2009-03-23 A high-efficiency electric bag dust collector Expired - Fee Related CN201389414Y (en)

Priority Applications (1)

Application Number Priority Date Filing Date Title
CN200920012318U CN201389414Y (en) 2009-03-23 2009-03-23 A high-efficiency electric bag dust collector

Applications Claiming Priority (1)

Application Number Priority Date Filing Date Title
CN200920012318U CN201389414Y (en) 2009-03-23 2009-03-23 A high-efficiency electric bag dust collector

Publications (1)

Publication Number Publication Date
CN201389414Y true CN201389414Y (en) 2010-01-27

Family

ID=41596232

Family Applications (1)

Application Number Title Priority Date Filing Date
CN200920012318U Expired - Fee Related CN201389414Y (en) 2009-03-23 2009-03-23 A high-efficiency electric bag dust collector

Country Status (1)

Country Link
CN (1) CN201389414Y (en)

Cited By (6)

* Cited by examiner, † Cited by third party
Publication number Priority date Publication date Assignee Title
CN101972577A (en) * 2010-08-10 2011-02-16 盐城市兰丰环境工程科技有限公司 Explosion-proof-type dust collector for mine
CN102872673A (en) * 2012-10-29 2013-01-16 广东电网公司电力科学研究院 Electric bag dust collector
CN103657316A (en) * 2013-11-26 2014-03-26 清华大学 Electrostatically-enhanced electric-bag compound dust remover
CN105709550A (en) * 2016-03-07 2016-06-29 苏州保酚环境科技有限公司 Combined dust remover
CN111408478A (en) * 2020-05-25 2020-07-14 浙江大学 A system and method for efficient removal of fine particles in high-temperature gas by coupling of electric filtration
CN112156600A (en) * 2020-09-19 2021-01-01 昆明理工大学 Method and device for preventing pipeline for conveying yellow phosphorus furnace gas from being blocked and removing dust

Cited By (8)

* Cited by examiner, † Cited by third party
Publication number Priority date Publication date Assignee Title
CN101972577A (en) * 2010-08-10 2011-02-16 盐城市兰丰环境工程科技有限公司 Explosion-proof-type dust collector for mine
CN102872673A (en) * 2012-10-29 2013-01-16 广东电网公司电力科学研究院 Electric bag dust collector
CN102872673B (en) * 2012-10-29 2015-06-24 广东电网公司电力科学研究院 Electric bag dust collector
CN103657316A (en) * 2013-11-26 2014-03-26 清华大学 Electrostatically-enhanced electric-bag compound dust remover
CN103657316B (en) * 2013-11-26 2016-03-30 清华大学 A kind of Electrostatically-enelectric-bag electric-bag compound dust remover
CN105709550A (en) * 2016-03-07 2016-06-29 苏州保酚环境科技有限公司 Combined dust remover
CN111408478A (en) * 2020-05-25 2020-07-14 浙江大学 A system and method for efficient removal of fine particles in high-temperature gas by coupling of electric filtration
CN112156600A (en) * 2020-09-19 2021-01-01 昆明理工大学 Method and device for preventing pipeline for conveying yellow phosphorus furnace gas from being blocked and removing dust

Similar Documents

Publication Publication Date Title
CN201871303U (en) Passing-through type electricity and bag compound dust remover
CN201389414Y (en) A high-efficiency electric bag dust collector
CN103566695B (en) Enhanced coupled-mode embedded type electrostatic-bag integrated dust collector
CN203183863U (en) Electrostatic precipitator with ultrasonic dust removal function
CN101670217A (en) Wet-type spray deduster
CN107008095A (en) A kind of coagulation and enhanced type electric-bag complex dust collector
CN102091496A (en) Double-effect dust remover with long service life
CN102641641A (en) Electrostatic actuation bag type dedusting system
CN202569885U (en) Electrostatic actuation bag type dedusting system
CN202569888U (en) Timber industry electric bag composite deduster
CN101337148B (en) Large electric bag composite dust collector
CN2730484Y (en) Electric-bag combined type dust remover
CN206935019U (en) Electric bag integrated dust collector
CN206868433U (en) A kind of electric dust collector with sorting function
CN202387346U (en) Lenticular electric bag compound dust remover
CN104258997B (en) Bag-type dust collector with dust collecting device
CN208694594U (en) A kind of electric-bag complex dust collector of high-efficiency low-resistance
CN2788888Y (en) Electric-bag combined dust cleaner
CN205164960U (en) Putty powder workshop electrostatic precipitator equipment
CN102824804A (en) Skewed gas flow electric bag composite dust remover
CN2559400Y (en) Charged water curtain dust removing device
CN211189568U (en) Electric bag dust collector
CN201529470U (en) Vertical surface electric filter bag combination dust collector
CN205340456U (en) Flue gas dust removal system
CN203342602U (en) Static-bag-hybrid efficient dust remover

Legal Events

Date Code Title Description
C14 Grant of patent or utility model
GR01 Patent grant
C17 Cessation of patent right
CF01 Termination of patent right due to non-payment of annual fee

Granted publication date: 20100127

Termination date: 20120323