CN201381610Y - an exterior decorative brick - Google Patents
an exterior decorative brick Download PDFInfo
- Publication number
- CN201381610Y CN201381610Y CN200920129065.0U CN200920129065U CN201381610Y CN 201381610 Y CN201381610 Y CN 201381610Y CN 200920129065 U CN200920129065 U CN 200920129065U CN 201381610 Y CN201381610 Y CN 201381610Y
- Authority
- CN
- China
- Prior art keywords
- exterior decorative
- brick
- brick body
- cement
- decorative brick
- Prior art date
- Legal status (The legal status is an assumption and is not a legal conclusion. Google has not performed a legal analysis and makes no representation as to the accuracy of the status listed.)
- Expired - Lifetime
Links
- 239000011449 brick Substances 0.000 title claims abstract description 60
- 239000004568 cement Substances 0.000 claims abstract description 15
- 239000000463 material Substances 0.000 claims abstract description 15
- 239000000853 adhesive Substances 0.000 description 7
- 230000001070 adhesive effect Effects 0.000 description 7
- 239000011469 building brick Substances 0.000 description 3
- 239000011083 cement mortar Substances 0.000 description 1
- 239000003818 cinder Substances 0.000 description 1
- 238000005034 decoration Methods 0.000 description 1
- 230000000694 effects Effects 0.000 description 1
- 238000000034 method Methods 0.000 description 1
- 239000002689 soil Substances 0.000 description 1
- 238000005728 strengthening Methods 0.000 description 1
Images
Classifications
-
- Y—GENERAL TAGGING OF NEW TECHNOLOGICAL DEVELOPMENTS; GENERAL TAGGING OF CROSS-SECTIONAL TECHNOLOGIES SPANNING OVER SEVERAL SECTIONS OF THE IPC; TECHNICAL SUBJECTS COVERED BY FORMER USPC CROSS-REFERENCE ART COLLECTIONS [XRACs] AND DIGESTS
- Y02—TECHNOLOGIES OR APPLICATIONS FOR MITIGATION OR ADAPTATION AGAINST CLIMATE CHANGE
- Y02A—TECHNOLOGIES FOR ADAPTATION TO CLIMATE CHANGE
- Y02A30/00—Adapting or protecting infrastructure or their operation
- Y02A30/60—Planning or developing urban green infrastructure
Landscapes
- Finishing Walls (AREA)
- Floor Finish (AREA)
Abstract
本实用新型涉及一种外装饰砖,在外装饰砖砖体与水泥或类似材料的接触面上采用燕尾槽构造,使之与水泥或类似材料产生良好的粘接性能,从而大大提高其安全性能。
The utility model relates to an exterior decorative brick, which adopts a dovetail groove structure on the contact surface between the exterior decorative brick body and cement or similar materials, so that it can have good bonding performance with cement or similar materials, thereby greatly improving its safety performance.
Description
技术领域 technical field
本实用新型涉及建筑用砖,更具体地说,涉及一种建筑用的外装饰砖。The utility model relates to building bricks, in particular to a building exterior decorative brick.
背景技术 Background technique
通常的建筑用砖为长方体或正方体的红砖、水泥砖或煤渣砖,将这样的砖累搭起来形成建筑物的墙体,此时,相邻的砖用粘性泥浆或水泥浆等类似材料相互粘接来构筑墙体,以增强它的整体性。为降低建筑用砖的使用量,可将墙体采用其它材料制作,而只在外墙面采用很薄的外装饰砖粘贴在墙体上以达到砖砌体的效果。外装饰砖作为一种外装饰构件,经受着风吹雨打的考验,故其背面的粘接性就成为建筑安全不可忽视的问题。现有的外装饰砖其背面往往仅为拉毛面或做水平直槽处理,对于外装饰砖,这样的设计的粘接性能并不能达到各种建筑用外装饰用砖理想的要求。Usual building bricks are cuboid or cube red bricks, cement bricks or cinder bricks. These bricks are piled up to form the wall of the building. Bond to build the wall to enhance its integrity. In order to reduce the usage of building bricks, the body of wall can be made of other materials, and only very thin exterior decorative bricks are pasted on the body of wall on the outer wall surface to achieve the effect of brickwork. As an exterior decorative component, the exterior decorative brick has withstood the test of wind and rain, so the adhesiveness of its back side has become a problem that cannot be ignored in building safety. The back side of the existing exterior decorative bricks is often only roughened or treated with horizontal straight grooves. For exterior decorative bricks, the bonding performance of such a design cannot meet the ideal requirements of various building exterior decorative bricks.
实用新型内容Utility model content
本实用新型要解决的技术问题在于,克服现有技术拉毛面或做水平直槽处理的外装饰砖其粘接性能不能满足的缺点,提供一种粘结性好安全性高的外装饰砖。The technical problem to be solved by the utility model is to provide an exterior decorative brick with good cohesiveness and high safety by overcoming the disadvantages of unsatisfactory bonding performance of the exterior decorative brick with roughened surface or horizontal straight groove treatment in the prior art.
本实用新型解决其技术问题所采用的技术方案是:构造一种外装饰砖,所述外装饰砖在砖体与水泥或类似材料的接触面上至少设置有一个燕尾槽,使之与水泥或类似材料产生良好的粘接性能。The technical scheme adopted by the utility model to solve the technical problem is: to construct a kind of exterior decorative brick, and the said exterior decorative brick is provided with at least one dovetail groove on the contact surface between the brick body and cement or similar materials, so that it is compatible with cement or Similar materials yield good bonding properties.
在按照本实用新型提供的外装饰砖,其特征在于,所设置的燕尾槽,可以是横向、纵向、斜向以及其它能达到增加粘接性能的一切形状。According to the exterior decorative brick provided by the utility model, it is characterized in that the dovetail groove provided can be in any shape such as horizontal, vertical, oblique and other which can increase the bonding performance.
实施本本实用新型提供的外装饰砖,由于在其与水泥或类似材料的接触面上,由于设置有燕尾槽结构,当砖体和水泥或类似材料粘接时,其粘有粘性泥土或水泥沙浆等粘结物填充到砖体燕尾槽,当粘结物凝固后,粘结物通过与燕尾槽柱面及燕尾槽所在的平面粘接,使其砖体无法移动,从而增强了砖体和粘结物的粘结性。同时,由于砖体与粘结物的接触面上存在燕尾槽,增加了砖体和粘结物的粘结性,砖体和砖体之间的空隙也能大大减少,使外装饰砖与水泥或类似材料产生良好的粘接性能,从而大大提高其安全性能。Implementing the exterior decorative brick provided by the utility model, due to the dovetail groove structure is provided on its contact surface with cement or similar materials, when the brick body is bonded with cement or similar materials, sticky soil or cement mortar will stick to it. When the adhesive is filled into the dovetail groove of the brick body, when the adhesive is solidified, the adhesive is bonded to the cylindrical surface of the dovetail groove and the plane where the dovetail groove is located, so that the brick body cannot be moved, thereby strengthening the brick body and the adhesive. The cohesiveness of the knot. At the same time, due to the existence of dovetail grooves on the contact surface between the brick body and the cement, the cohesion between the brick body and the cement is increased, and the gap between the brick body and the brick body can also be greatly reduced, so that the exterior decorative brick and cement Or similar materials produce good bonding performance, thereby greatly improving its safety performance.
附图说明 Description of drawings
下面将结合附图及实施例对本实用新型作进一步说明,附图中:The utility model will be further described below in conjunction with accompanying drawing and embodiment, in the accompanying drawing:
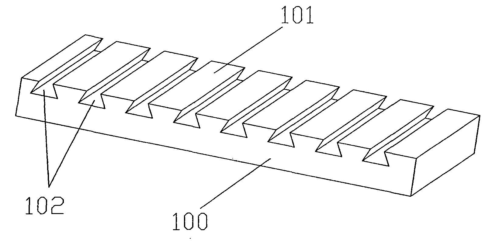
图1是本实用新型外装饰砖第一实施例的立体图;Fig. 1 is a perspective view of the first embodiment of the utility model exterior decorative brick;
图2是本实用新型外装饰砖与粘结物粘结时的截面图;Fig. 2 is a cross-sectional view of the utility model when the exterior decorative brick is bonded with the adhesive;
图3是本实用新型外装饰砖第二实施例的立体图。Fig. 3 is a perspective view of the second embodiment of the exterior decorative brick of the present invention.
具体实施方式 Detailed ways
如图1和图2所示,在本实用新型的第一实施例中,所提供的外装饰砖,在砖体100与水泥或类似材料的接触面101上,纵向设置有燕尾槽102,其燕尾槽数量至少为一个,其燕尾槽贯穿其砖体,槽深不超过砖体高度的一半,在建筑时,向上砌墙的情况下,只需将有燕尾槽一面的砖填涂上水泥或类似材料的粘合物,使其与墙体黏合;与普通拉毛面或做水平直槽处理的外装饰用砖不同的是,本实用新型所提供的外装饰砖,其砖体与墙体黏合更紧密,而且砖体与砖体之间并不需要填充更多的粘合物,节省了材料而且使外墙更加美观,同时也提高了安全性能。As shown in Figures 1 and 2, in the first embodiment of the present utility model, the provided exterior decorative brick is provided with a
如图3所示,在本实用新型的第二实施例中,所提供的外装饰砖,在砖体100与水泥或类似材料的接触面101上,横向设置有燕尾槽103,其燕尾槽数量至少为一个,其燕尾槽贯穿其砖体,槽深不超过砖体高度的一半。As shown in Figure 3, in the second embodiment of the utility model, the provided exterior decorative brick is provided with a
在本实用新型的第三实施例中,所述外装饰砖,在砖体与水泥或类似材料的接触面上,斜向设置有燕尾槽,其燕尾槽数量至少为一个,其燕尾槽贯穿其砖体,槽深不超过砖体高度的一半。In the third embodiment of the present utility model, the exterior decorative brick is obliquely provided with dovetail grooves on the contact surface between the brick body and cement or similar materials, and the number of dovetail grooves is at least one, and the dovetail grooves run through it For the brick body, the depth of the groove shall not exceed half of the height of the brick body.
在本实用新型的第四实施例中,所述外装饰砖,在砖体与水泥或类似材料的接触面上,纵向和横向设置有燕尾槽,其燕尾槽在每个方向的数量至少为一个,其燕尾槽贯穿其砖体,槽深不超过砖体高度的一半。In the fourth embodiment of the present utility model, the exterior decorative brick is provided with dovetail grooves longitudinally and transversely on the contact surface between the brick body and cement or similar materials, and the number of dovetail grooves in each direction is at least one , the dovetail groove runs through the brick body, and the groove depth does not exceed half the height of the brick body.
综合上述实施例,本实用新型所保护的并不局限于所述的实施例,对于同样在一个面上,其他各个方向及数量上的改进也应在本实用新型的保护范围内。Based on the above-mentioned embodiments, what the utility model protects is not limited to the above-mentioned embodiments, and improvements in other directions and quantities on the same surface should also fall within the scope of protection of the utility model.
Claims (5)
Priority Applications (1)
| Application Number | Priority Date | Filing Date | Title |
|---|---|---|---|
| CN200920129065.0U CN201381610Y (en) | 2009-01-05 | 2009-01-05 | an exterior decorative brick |
Applications Claiming Priority (1)
| Application Number | Priority Date | Filing Date | Title |
|---|---|---|---|
| CN200920129065.0U CN201381610Y (en) | 2009-01-05 | 2009-01-05 | an exterior decorative brick |
Publications (1)
| Publication Number | Publication Date |
|---|---|
| CN201381610Y true CN201381610Y (en) | 2010-01-13 |
Family
ID=41525086
Family Applications (1)
| Application Number | Title | Priority Date | Filing Date |
|---|---|---|---|
| CN200920129065.0U Expired - Lifetime CN201381610Y (en) | 2009-01-05 | 2009-01-05 | an exterior decorative brick |
Country Status (1)
| Country | Link |
|---|---|
| CN (1) | CN201381610Y (en) |
Cited By (3)
| Publication number | Priority date | Publication date | Assignee | Title |
|---|---|---|---|---|
| CN102926513A (en) * | 2012-11-20 | 2013-02-13 | 扬州大学 | Suspensible tile and mounting method thereof |
| CN106193512A (en) * | 2016-09-18 | 2016-12-07 | 广西棕海园林工程有限公司 | A kind of ceramic tile |
| CN110843086A (en) * | 2019-11-29 | 2020-02-28 | 赵奎 | Manufacturing process of hollowing and falling prevention ceramic tile |
-
2009
- 2009-01-05 CN CN200920129065.0U patent/CN201381610Y/en not_active Expired - Lifetime
Cited By (3)
| Publication number | Priority date | Publication date | Assignee | Title |
|---|---|---|---|---|
| CN102926513A (en) * | 2012-11-20 | 2013-02-13 | 扬州大学 | Suspensible tile and mounting method thereof |
| CN106193512A (en) * | 2016-09-18 | 2016-12-07 | 广西棕海园林工程有限公司 | A kind of ceramic tile |
| CN110843086A (en) * | 2019-11-29 | 2020-02-28 | 赵奎 | Manufacturing process of hollowing and falling prevention ceramic tile |
Similar Documents
| Publication | Publication Date | Title |
|---|---|---|
| CN202945728U (en) | Building block/brick and masonry structure thereof | |
| CN201381610Y (en) | an exterior decorative brick | |
| CN203583812U (en) | Anti-separation ceramic tile | |
| CN201437625U (en) | an exterior decorative brick | |
| CN203066331U (en) | Insulating brick | |
| CN206917143U (en) | A kind of decorative panel for building | |
| CN203475687U (en) | Self-heat-preservation composite hollow block | |
| CN204001549U (en) | A kind of impervious foamed ceramic plate | |
| CN203307985U (en) | Building brick | |
| CN207348344U (en) | A kind of new soft ceramic tile | |
| CN206091138U (en) | Decorative brick or board | |
| CN206873820U (en) | A kind of anti-hollowing structure of tile laying anti-dropout | |
| CN201241417Y (en) | a kind of brick | |
| CN204282627U (en) | Hollow brick | |
| CN202731060U (en) | Aseismatic building wall body block with vertical rectangular grooves on side face | |
| CN201495652U (en) | Novel thermal insulation type brick-concrete masonry | |
| CN201296990Y (en) | Cement tooth surface brick | |
| CN203626113U (en) | Anti-seismic brick | |
| CN201896389U (en) | Combined masonry block | |
| CN204040340U (en) | A kind of exterior wall mechanical execution leveling system | |
| CN204850290U (en) | A facing brick that prevents falling off | |
| CN204551972U (en) | The building Imitation Rock Porcelain Tiles that a kind of mechanical seaming is combined with Binder Phase | |
| CN202081603U (en) | Composite heat insulation board with ultrathin stone decorative finish | |
| CN202248482U (en) | Energy-saving high-cohesiometer lath brick | |
| CN204163270U (en) | The real in-core partition board of granular polystyrene lightweight compound |
Legal Events
| Date | Code | Title | Description |
|---|---|---|---|
| C14 | Grant of patent or utility model | ||
| GR01 | Patent grant | ||
| C56 | Change in the name or address of the patentee |
Owner name: SHENZHEN FANGDA JIANKE GROUP CO., LTD Free format text: FORMER NAME: FANGDA DECORATION ENGINEERING CO., LTD., SHENZHEN CITY |
|
| CP03 | Change of name, title or address |
Address after: 518057 Nanshan District science and Technology Industrial Park, Guangdong Province, the Southern District of science and technology in the south of the road on the way to the big science and technology building, building 19, building twelve Patentee after: Shenzhen Fangda Jianke Group Co., Ltd Address before: 518055 Guangdong city of Shenzhen province Nanshan District Xili Town, Longjing Fangda industrial city Patentee before: Fangda Decoration Engineering Co., Ltd., Shenzhen City |
|
| CX01 | Expiry of patent term | ||
| CX01 | Expiry of patent term |
Granted publication date: 20100113 |
