CN201176673Y - Lighting and ventilation skylight - Google Patents
Lighting and ventilation skylight Download PDFInfo
- Publication number
- CN201176673Y CN201176673Y CNU2008200198898U CN200820019889U CN201176673Y CN 201176673 Y CN201176673 Y CN 201176673Y CN U2008200198898 U CNU2008200198898 U CN U2008200198898U CN 200820019889 U CN200820019889 U CN 200820019889U CN 201176673 Y CN201176673 Y CN 201176673Y
- Authority
- CN
- China
- Prior art keywords
- push rod
- skylight
- hinged
- connecting rod
- transmission shaft
- Prior art date
- Legal status (The legal status is an assumption and is not a legal conclusion. Google has not performed a legal analysis and makes no representation as to the accuracy of the status listed.)
- Expired - Fee Related
Links
- 238000009423 ventilation Methods 0.000 title claims abstract description 11
- 230000005540 biological transmission Effects 0.000 claims abstract description 11
- 238000004519 manufacturing process Methods 0.000 abstract description 4
- 238000000034 method Methods 0.000 description 2
- 238000010586 diagram Methods 0.000 description 1
Classifications
-
- Y—GENERAL TAGGING OF NEW TECHNOLOGICAL DEVELOPMENTS; GENERAL TAGGING OF CROSS-SECTIONAL TECHNOLOGIES SPANNING OVER SEVERAL SECTIONS OF THE IPC; TECHNICAL SUBJECTS COVERED BY FORMER USPC CROSS-REFERENCE ART COLLECTIONS [XRACs] AND DIGESTS
- Y02—TECHNOLOGIES OR APPLICATIONS FOR MITIGATION OR ADAPTATION AGAINST CLIMATE CHANGE
- Y02A—TECHNOLOGIES FOR ADAPTATION TO CLIMATE CHANGE
- Y02A40/00—Adaptation technologies in agriculture, forestry, livestock or agroalimentary production
- Y02A40/10—Adaptation technologies in agriculture, forestry, livestock or agroalimentary production in agriculture
- Y02A40/25—Greenhouse technology, e.g. cooling systems therefor
Landscapes
- Power-Operated Mechanisms For Wings (AREA)
- Specific Sealing Or Ventilating Devices For Doors And Windows (AREA)
Abstract
本实用新型公开了一种采光通风天窗,包括骨架以及连接在骨架上的透光的顶面和透光的立面,顶面和立面连为一体围成一个房体,立面上设有活动的窗扇,骨架上连接有能转动的传动轴和铰接有推杆式电机,传动轴上固接有拐臂和连杆,拐臂的另一端与推杆式电机铰接,连杆的另一端与窗扇铰接,推杆式电机由控制电路控制。该天窗的窗扇的开关由推杆式电机推动拐臂带动连杆动作来实现,天窗结构简单,开关方便省力,制作成本低。
The utility model discloses a skylight for daylighting and ventilation, which comprises a frame and a light-transmitting top surface and a light-transmitting facade connected to the frame. The movable window sash is connected with a rotatable transmission shaft and a push rod motor hinged on the frame, a crank arm and a connecting rod are fixedly connected to the transmission shaft, the other end of the crank arm is hinged with the push rod motor, and the other end of the connecting rod Hinged with the window sash, the push rod motor is controlled by the control circuit. The opening and closing of the window sash of the skylight is realized by pushing the crank arm driven by the push rod type motor to drive the action of the connecting rod. The skylight has simple structure, convenient and labor-saving opening and closing, and low manufacturing cost.
Description
技术领域 technical field
本实用新型涉及一种采光通风天窗。The utility model relates to a daylighting and ventilation skylight.
背景技术 Background technique
目前,在工厂里许多车间的房顶上都设有天窗,有的天窗只用来通风换气,有的天窗既用来通风换气又用来进行采光。上述天窗基本上都有顶面及与顶面连为一体的四个立面,在立面上设有活动的窗扇,通过人工操作连接在窗扇上的机械式开窗机构来实现窗扇的开关,这种天窗的开关比较费力,开窗机构的结构复杂,提高了整个天窗的制作成本。At present, skylights are arranged on the roofs of many workshops in factories, some skylights are only used for ventilation, and some skylights are used for both ventilation and lighting. The above-mentioned skylight basically has a top surface and four facades connected with the top surface. There are movable sash on the facade, and the opening and closing of the sash is realized by manual operation of the mechanical window opening mechanism connected to the sash. The opening and closing of this kind of skylight is relatively laborious, and the structure of the window opening mechanism is complicated, which increases the manufacturing cost of the whole skylight.
实用新型内容Utility model content
本实用新型要解决的技术问题是针对上述缺陷,提供一种结构简单,制作成本低,开关方便省力的采光通风天窗。The technical problem to be solved by the utility model is to provide a daylighting and ventilation skylight with simple structure, low manufacturing cost, convenient and labor-saving opening and closing.
为解决上述技术问题,本实用新型采光通风天窗,包括骨架以及连接在骨架上的透光的顶面和透光的立面,顶面和立面连为一体围成一个房体,立面上设有活动的窗扇,其结构特点是:所述骨架上连接有能转动的传动轴和铰接有推杆式电机,传动轴上固接有拐臂和连杆,拐臂的另一端与推杆式电机铰接,连杆的另一端与窗扇铰接,推杆式电机由控制电路控制。In order to solve the above-mentioned technical problems, the skylight for daylighting and ventilation of the utility model includes a framework and a light-transmitting top surface and a light-transmitting facade connected to the framework. The top surface and the facade are connected to form a room body. There is a movable window sash, and its structural characteristics are: the frame is connected with a rotatable transmission shaft and a push rod motor, the transmission shaft is fixed with a crank arm and a connecting rod, and the other end of the crank arm is connected with the push rod. A type motor is hinged, the other end of the connecting rod is hinged with the window sash, and the push rod type motor is controlled by a control circuit.
开窗时,通过控制电路给推杆式电机信号,推杆式电机开始收杆,从而带动拐臂转动,拐臂转动驱使传动轴转动,传动轴带动连杆转动,连杆向上推动活动窗扇,起到开窗的目的;需要关窗时,给推杆式电机信号,推杆式电机开始伸杆并带动拐臂反向转动,反向转动的拐臂驱使传动轴反转,从而带动连杆向下拉动活动窗扇,起到关窗的目的。从上述窗扇的开关过程不难看出,上述结构的采光通风天窗结构简单,制作成本低,开关方便省力。When opening the window, the push rod motor signal is given through the control circuit, and the push rod motor starts to close the rod, thereby driving the crank arm to rotate, the crank arm rotates to drive the transmission shaft to rotate, the transmission shaft drives the connecting rod to rotate, and the connecting rod pushes the movable window sash upward. To open the window; when the window needs to be closed, give the push rod motor a signal, and the push rod motor starts to extend the rod and drive the crank arm to rotate in reverse, and the reverse rotating crank arm drives the drive shaft to reverse, thereby driving the connecting rod Pull down the movable sash to achieve the purpose of closing the window. It is not difficult to see from the opening and closing process of the above-mentioned window sash that the daylighting and ventilation skylight with the above-mentioned structure has a simple structure, low manufacturing cost, and convenient and labor-saving opening and closing.
在窗扇开关到位后,由于操作不当,推杆式电机还可能因过载而烧坏,为了防止推杆式电机烧坏,所述传动轴上固接有限位臂,限位臂的两侧设有上限位器和下限位器。当窗扇开到最大时,限位臂同时接触上限位器,推杆式电机自动断电停止工作;当窗扇关闭严实时,限位臂同时接触下限位器,推杆式电机自动断电停止工作。After the sash switch is in place, the push rod motor may burn out due to overload due to improper operation. Upper limiter and lower limiter. When the window sash is opened to the maximum, the limit arm touches the upper limiter at the same time, and the push rod motor automatically powers off and stops working; when the window sash is closed tightly, the limit arm contacts the lower limiter at the same time, and the push rod motor automatically powers off and stops working .
附图说明 Description of drawings
下面结合附图对本实用新型的具体实施方式作进一步的详细说明:Below in conjunction with accompanying drawing, the specific embodiment of the present utility model is described in further detail:
图1为本实用新型的立体结构示意图;Fig. 1 is the three-dimensional structure schematic diagram of the present utility model;
图2为图1沿A-A向的剖视图;Fig. 2 is a sectional view along A-A direction of Fig. 1;
图3为图2沿B-B向的剖视图。Fig. 3 is a cross-sectional view along B-B direction of Fig. 2 .
具体实施方式 Detailed ways
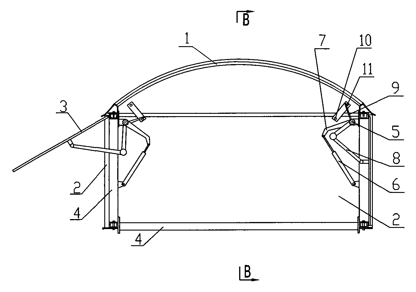
图1所示的采光通风天窗为一个由透光的顶面1和与顶面1连为一体的四个透光的立面2围成的房体,顶面1和立面2连接在骨架4上,顶面1为弧形,顶面1和立面2由阳光板制成.,立面2上设有活动的窗扇3。如图2、图3所示,在骨架4上连接有能转动的传动轴5和铰接有推杆式电机6,传动轴5上固接有拐臂7、连杆8和限位臂9,拐臂7的另一端与推杆式电机6铰接,连杆8的另一端与窗扇3铰接,限位臂9的两侧设有固接在骨架4上的上限位器10和下限位器11,推杆式电机6由控制电路控制,控制电路为现有技术,推杆式电机6为现有商品,在此都不再赘述。附图中所示的窗扇3只设在侧立面上,当然也可设在端立面上,更可以在四个立面上均设。The lighting and ventilation skylight shown in Figure 1 is a room surrounded by a light-transmitting top surface 1 and four light-transmitting facades 2 connected with the top surface 1. The top surface 1 and the facades 2 are connected on the skeleton 4, the top surface 1 is arc-shaped, the top surface 1 and the facade 2 are made of solar panels, and the facade 2 is provided with movable window sashes 3. As shown in Fig. 2 and Fig. 3, a rotatable transmission shaft 5 and a push rod motor 6 are connected on the skeleton 4, and a crank arm 7, a connecting rod 8 and a limit arm 9 are fixedly connected to the transmission shaft 5, The other end of the crank arm 7 is hinged with the push rod motor 6, the other end of the connecting rod 8 is hinged with the window sash 3, and the upper limiter 10 and the lower limiter 11 fixedly connected to the frame 4 are provided on both sides of the limiter arm 9 , the push rod type motor 6 is controlled by a control circuit, the control circuit is a prior art, and the push rod type motor 6 is an existing commodity, and no further details are given here. The sash 3 shown in the accompanying drawings is only arranged on the side elevation, certainly also can be located on the end elevation, more can be all established on four elevations.
Claims (2)
Priority Applications (1)
| Application Number | Priority Date | Filing Date | Title |
|---|---|---|---|
| CNU2008200198898U CN201176673Y (en) | 2008-03-28 | 2008-03-28 | Lighting and ventilation skylight |
Applications Claiming Priority (1)
| Application Number | Priority Date | Filing Date | Title |
|---|---|---|---|
| CNU2008200198898U CN201176673Y (en) | 2008-03-28 | 2008-03-28 | Lighting and ventilation skylight |
Publications (1)
| Publication Number | Publication Date |
|---|---|
| CN201176673Y true CN201176673Y (en) | 2009-01-07 |
Family
ID=40216691
Family Applications (1)
| Application Number | Title | Priority Date | Filing Date |
|---|---|---|---|
| CNU2008200198898U Expired - Fee Related CN201176673Y (en) | 2008-03-28 | 2008-03-28 | Lighting and ventilation skylight |
Country Status (1)
| Country | Link |
|---|---|
| CN (1) | CN201176673Y (en) |
Cited By (7)
| Publication number | Priority date | Publication date | Assignee | Title |
|---|---|---|---|---|
| CN102352673A (en) * | 2011-08-25 | 2012-02-15 | 单金龙 | Circular-arc automatic louver |
| CN102852295A (en) * | 2012-09-04 | 2013-01-02 | 万维通风设备江苏有限公司 | Downhill electric high-lighting ventilating skylight |
| CN102852260A (en) * | 2012-09-04 | 2013-01-02 | 万维通风设备江苏有限公司 | Triangular side-open electric ventilating skylight |
| CN103088953A (en) * | 2012-10-18 | 2013-05-08 | 美能源集团有限公司 | An Energy-Saving High-Performance Skylight |
| CN103485466A (en) * | 2012-06-14 | 2014-01-01 | 万维通风设备江苏有限公司 | Fully automatic side opening type ventilation clerestory |
| CN108035496A (en) * | 2017-11-18 | 2018-05-15 | 中山诺顿科研技术服务有限公司 | Windproof lighting smoke-discharging skylight |
| CN108952023A (en) * | 2018-09-05 | 2018-12-07 | 天津海瑞德自动化设备有限公司 | A kind of electronic smoke-discharge skylight structure |
-
2008
- 2008-03-28 CN CNU2008200198898U patent/CN201176673Y/en not_active Expired - Fee Related
Cited By (8)
| Publication number | Priority date | Publication date | Assignee | Title |
|---|---|---|---|---|
| CN102352673A (en) * | 2011-08-25 | 2012-02-15 | 单金龙 | Circular-arc automatic louver |
| CN103485466A (en) * | 2012-06-14 | 2014-01-01 | 万维通风设备江苏有限公司 | Fully automatic side opening type ventilation clerestory |
| CN102852295A (en) * | 2012-09-04 | 2013-01-02 | 万维通风设备江苏有限公司 | Downhill electric high-lighting ventilating skylight |
| CN102852260A (en) * | 2012-09-04 | 2013-01-02 | 万维通风设备江苏有限公司 | Triangular side-open electric ventilating skylight |
| CN103088953A (en) * | 2012-10-18 | 2013-05-08 | 美能源集团有限公司 | An Energy-Saving High-Performance Skylight |
| CN103088953B (en) * | 2012-10-18 | 2015-11-18 | 美能源集团有限公司 | An Energy-Saving High-Performance Skylight |
| CN108035496A (en) * | 2017-11-18 | 2018-05-15 | 中山诺顿科研技术服务有限公司 | Windproof lighting smoke-discharging skylight |
| CN108952023A (en) * | 2018-09-05 | 2018-12-07 | 天津海瑞德自动化设备有限公司 | A kind of electronic smoke-discharge skylight structure |
Similar Documents
| Publication | Publication Date | Title |
|---|---|---|
| CN201176673Y (en) | Lighting and ventilation skylight | |
| CN201738724U (en) | Automatic horizontal pushing window opener | |
| CN201620712U (en) | Electric lifting glass window | |
| CN203404831U (en) | Extractor hood with automatic opening and closing panel | |
| CN204531846U (en) | A kind of folding type automatic window opener | |
| CN204402209U (en) | A kind of pneumatic sliding support window | |
| CN112576065B (en) | Modified polymer nano heat insulation material | |
| CN207453775U (en) | A kind of coordinated type projecting top-hung window mechanism | |
| CN104790801A (en) | Motor-operated switch sliding window device | |
| CN200975194Y (en) | Electric shutter curtain | |
| CN202125222U (en) | All-purpose window | |
| CN107386894A (en) | One kind can push type windowpane | |
| CN207988907U (en) | A kind of shading double-layer glass window | |
| CN222615120U (en) | High-efficient crank handle ware of windowing that moment is big | |
| CN2811090Y (en) | Movable side window in driving cab of electric locomotive | |
| CN2822302Y (en) | Fully automatic umbrella | |
| CN221219399U (en) | Large building ventilation structure | |
| CN220247314U (en) | A kind of door and window curtain wall with ventilation switch structure | |
| CN207484854U (en) | A kind of more windowing linkage mechanisms of single driving | |
| CN221646724U (en) | A remote window opening and closing device for smart housing | |
| CN111717445A (en) | A packaging structure for photovoltaic glass transportation | |
| CN205936218U (en) | Foldable door and window starting and stopping mechanism | |
| CN2764885Y (en) | Chain window opener | |
| CN200961399Y (en) | Window stopper | |
| CN219197201U (en) | Aluminum alloy window capable of automatically shading sun |
Legal Events
| Date | Code | Title | Description |
|---|---|---|---|
| C14 | Grant of patent or utility model | ||
| GR01 | Patent grant | ||
| C56 | Change in the name or address of the patentee |
Owner name: SHANDONG CLASSICAL CONSTRUCTION SCIENCE AND TECHNO Free format text: FORMER NAME: SHANDONG CLASSICAL CONSTRUCTION ENGINEERING CO., LTD. |
|
| CP03 | Change of name, title or address |
Address after: Weifang City, Shandong province outside the City West Ring North Shun King Street resident office, post code: 262200 Patentee after: Shandong Jingdian Construction Engineering Co., Ltd. Address before: Weifang City, Shandong Province, West Outer Ring North First Shun Wang Street resident office, post code: 262200 Patentee before: Shandong Jingdian Construction Engineering Co., Ltd. |
|
| CF01 | Termination of patent right due to non-payment of annual fee |
Granted publication date: 20090107 Termination date: 20150328 |
|
| EXPY | Termination of patent right or utility model |
