CN201162242Y - Stationary water storage device for rainwater collection - Google Patents
Stationary water storage device for rainwater collection Download PDFInfo
- Publication number
- CN201162242Y CN201162242Y CNU2007200773791U CN200720077379U CN201162242Y CN 201162242 Y CN201162242 Y CN 201162242Y CN U2007200773791 U CNU2007200773791 U CN U2007200773791U CN 200720077379 U CN200720077379 U CN 200720077379U CN 201162242 Y CN201162242 Y CN 201162242Y
- Authority
- CN
- China
- Prior art keywords
- water
- water storage
- pipe
- storage chamber
- rainwater
- Prior art date
- Legal status (The legal status is an assumption and is not a legal conclusion. Google has not performed a legal analysis and makes no representation as to the accuracy of the status listed.)
- Expired - Fee Related
Links
Images
Classifications
-
- Y—GENERAL TAGGING OF NEW TECHNOLOGICAL DEVELOPMENTS; GENERAL TAGGING OF CROSS-SECTIONAL TECHNOLOGIES SPANNING OVER SEVERAL SECTIONS OF THE IPC; TECHNICAL SUBJECTS COVERED BY FORMER USPC CROSS-REFERENCE ART COLLECTIONS [XRACs] AND DIGESTS
- Y02—TECHNOLOGIES OR APPLICATIONS FOR MITIGATION OR ADAPTATION AGAINST CLIMATE CHANGE
- Y02A—TECHNOLOGIES FOR ADAPTATION TO CLIMATE CHANGE
- Y02A20/00—Water conservation; Efficient water supply; Efficient water use
- Y02A20/108—Rainwater harvesting
Landscapes
- Sewage (AREA)
Abstract
一种节水工程技术领域的雨水收集的固定式蓄水装置,包括:蓄水室、除叶器、前期水分离器、排污管、底垫、维修窗口、盖板、连通管、取水龙头和排水管,蓄水室设置在地面上,除叶器设置在前期水分离器上部,正接雨水管的出水口,前期水分离器设置在蓄水室外侧壁上,连通管连通前期水分离器和蓄水室,排污管一半设置在蓄水室内,另外一半设置在蓄水室外,底垫设置在蓄水室的底板上,维修窗口设置在蓄水室顶部,盖板设在维修窗口上,取水龙头和排水管设在蓄水室的外侧壁上。本实用新型在雨水收集过程中能除去雨水中树叶、泥沙和污物,自动分离前期污水,能利用富余雨水自动排除蓄水室内的淤泥和水质较差的雨水,提高了所收集的雨水质量。
A fixed water storage device for rainwater collection in the field of water-saving engineering technology, comprising: a water storage chamber, a leaf remover, a pre-water separator, a sewage pipe, a bottom pad, a maintenance window, a cover plate, a connecting pipe, a water tap and The drainage pipe and the water storage chamber are set on the ground, the leaf remover is set on the upper part of the water separator in the early stage, and is directly connected to the outlet of the rainwater pipe, the water separator in the early stage is arranged on the side wall of the water storage room, and the connecting pipe connects the water separator in the early stage and the water storage chamber. In the water chamber, half of the sewage pipe is set in the water storage room, and the other half is set outside the water storage room. The bottom pad is set on the bottom plate of the water storage room. The maintenance window is set on the top of the water storage room. and drainpipes are arranged on the outer wall of the water storage chamber. The utility model can remove leaves, silt and dirt in the rainwater during the rainwater collection process, automatically separate the sewage in the early stage, and can use the surplus rainwater to automatically remove the silt and rainwater with poor water quality in the water storage chamber, thereby improving the quality of the collected rainwater .
Description
技术领域 technical field
本实用新型涉及的是一种节水工程技术领域的装置,具体地说,是一种雨水收集的固定式蓄水装置。The utility model relates to a device in the technical field of water-saving engineering, in particular to a fixed water storage device for collecting rainwater.
背景技术 Background technique
我国水资源严重不足,目前全国正常年份缺水量近400亿立方米,全国660多座城市中有400多座城市缺水,其中近130座严重缺水,18个主要沿海城市就有14个缺水。尤其是京津等大城市,在连续遭遇枯水年时就会出现严重水危机。目前,北京已连续五年干旱少雨,出现了建国以来最严峻的供水形势,如果不采取措施积极应对,将给首都工农业生产和人民生活、以及奥运会的成功召开带来极大的影响。由于我国绝大多数地区的降雨季节集中,加上日益城市化对地面可渗透面积的减少,大部分暴雨产生的径流白白流入海洋。如果城市雨水得到充分截留储存,可以用雨水冲洗厕所、浇洒路面、浇灌草坪、水景补水,甚至用于循环冷却水和消防水;同时也会减少进入雨水排除系统的流量,提高城市排洪系统的可靠性,减少城市洪涝灾害。城市雨水含有树叶和泥沙,现在的蓄水装置一般都没有树叶排除和泥沙的清理功能。因此,城市雨水的收集装置是我国当今各缺水城市经济发展和环境美化建设的急需。my country's water resources are seriously insufficient. At present, the national water shortage in a normal year is nearly 40 billion cubic meters. More than 400 of the more than 660 cities in the country are short of water, of which nearly 130 are seriously short of water, and 14 of the 18 major coastal cities lack of water. Especially in big cities such as Beijing and Tianjin, there will be serious water crises in successive dry years. At present, Beijing has experienced drought and little rain for five consecutive years, and the most severe water supply situation since the founding of the People's Republic of China has emerged. If no measures are taken to actively deal with it, it will have a great impact on the capital's industrial and agricultural production, people's lives, and the success of the Olympic Games. Due to the concentration of rainfall seasons in most areas of my country and the reduction of the permeable area of the ground due to increasing urbanization, most of the runoff generated by heavy rains flows into the ocean in vain. If the urban rainwater is fully intercepted and stored, it can be used to flush toilets, sprinkle roads, water lawns, replenish water features, and even be used for circulating cooling water and firefighting water; at the same time, it will also reduce the flow into the rainwater drainage system and improve the urban flood drainage system. reliability and reduce urban flood disasters. Urban rainwater contains leaves and silt, and current water storage devices generally do not have the functions of removing leaves and silt. Therefore, the collection device of urban rainwater is the urgent need of the economic development and environmental beautification construction of each water-deficient city in my country today.
经对现有技术的文献检索发现,中国专利公开号1536178A,公开日为2004年10月13日,专利申请号03138439.0,专利名称为:雨水收集和灌装系统。该专利是一种雨水收集和灌装装置,包括具有位于其上方的集水锥形物的容器。在锥形物底部的出口与容器顶部的入口之间是包括环形腔室的沉淀物捕集器。在其上端附近具有开口的入口管延伸到所述腔室内,从而当腔室在使用中溢满时,容器被填注。排放阀门允许冲刷沉淀物捕集器。所述雨水收集装置构成包括储存、净化和灌装设备的系统的一部分。该实用新型的主要不足之处在于:1)所述装置缺乏除叶功能,树叶、小枯枝等物质进入该雨水收集装置内,严重影响水质;2)在屋顶上聚集空气传播的污垢和灰尘,暴雨的前期水的水质很差,含虫子、鸟和动物排泄物,以及工业污染物,泥沙、BOD、COD等的浓度高,所述装置在蓄满水后不能利用后续多余雨水对所述装置自动清理装置内的淤泥,也不能利用后续多余雨水对所述装置自动排除装置内水质差的底层水。Found through document retrieval to prior art, Chinese Patent Publication No. 1536178A, disclosure date is October 13, 2004, and patent application No. 03138439.0, patent name is: rainwater collection and filling system. The patent is for a rainwater collection and filling device comprising a container with a collection cone positioned above it. Between the outlet at the bottom of the cone and the inlet at the top of the vessel is a sediment trap comprising an annular chamber. An inlet tube having an opening near its upper end extends into the chamber so that when the chamber overflows in use, the container is filled. The discharge valve allows flushing of the sediment trap. The rainwater harvesting device forms part of a system including storage, purification and filling equipment. The main disadvantages of this utility model are: 1) The device lacks the function of removing leaves, and substances such as leaves and small dead branches enter the rainwater collection device, which seriously affects the water quality; 2) Airborne dirt and dust accumulate on the roof , the water quality in the early stage of the heavy rain is very poor, containing insects, birds and animal excrement, and industrial pollutants, and the concentration of sediment, BOD, COD, etc. is high. Said device automatically clears the silt in the device, and the bottom water of poor water quality in the device cannot be automatically removed by subsequent excess rainwater.
发明内容 Contents of the invention
本实用新型的目的在于克服现有技术中存在的不足,提供一种雨水收集的固定式蓄水装置,使其最大限度的低成本、高质量地储存雨水,同时能够保证该实用新型装置亲环保、易实施、应用范围广。The purpose of this utility model is to overcome the deficiencies in the prior art, and provide a fixed water storage device for rainwater collection, so that it can store rainwater at the lowest cost and high quality, and at the same time ensure that the utility model device is environmentally friendly , easy to implement, wide range of applications.
本实用新型是通过以下技术方案实现的,本实用新型包括:蓄水室、除叶器、前期水分离器、排污管、底垫、维修窗口、盖板、连通管、取水龙头和排水管,蓄水室设置在地面上,除叶器设置前期水分离器上部,正接雨水管的出水口;前期水分离器设置在蓄水室外侧壁上;连通管连通前期水分离器和蓄水室;排污管的一半设置在蓄水室内,其另外一半设置在蓄水室外,底垫设置在蓄水室的底板上,维修窗口设置在蓄水室的顶部,盖板设置在维修窗口上,取水龙头和排水管设置在蓄水室的外侧壁上。The utility model is realized through the following technical solutions, and the utility model includes: a water storage chamber, a leaf remover, a water separator in the early stage, a sewage pipe, a bottom pad, a maintenance window, a cover plate, a connecting pipe, a water tap and a drain pipe, The water storage chamber is set on the ground, and the leaf remover is set on the upper part of the water separator in the early stage, which is directly connected to the outlet of the rainwater pipe; the water separator in the early stage is arranged on the side wall of the water storage room; the connecting pipe connects the water separator in the early stage and the water storage chamber; the sewage discharge Half of the pipe is set in the water storage room, the other half is set outside the water storage room, the bottom pad is set on the bottom plate of the water storage room, the maintenance window is set on the top of the water storage room, the cover plate is set on the maintenance window, the water tap and The drain pipe is arranged on the outer wall of the water storage chamber.
所述的前期水分离器是由前期水储存室、球座、浮球、底盖、滴水孔组成。球座、浮球设置在前期水储存室内,底盖设置前期水储存室底部,滴水孔设置底盖上。The pre-stage water separator is composed of a pre-stage water storage chamber, a ball seat, a floating ball, a bottom cover, and a drip hole. The ball seat and the floating ball are arranged in the early stage water storage chamber, the bottom cover is arranged at the bottom of the early stage water storage chamber, and the drip hole is arranged on the bottom cover.
本发明还可以包括:止水孔、支撑杆、取水浮体、取水软管、拦污栅。止水孔和支撑杆设置在排污管上,取水浮体连接取水软管的一端,取水软管的另外一端设置在取水龙头的进水端。The present invention may also include: a water stop hole, a support rod, a water intake floating body, a water intake hose, and a trash rack. The water stop hole and the support rod are arranged on the sewage pipe, the water intake floating body is connected with one end of the water intake hose, and the other end of the water intake hose is arranged at the water inlet end of the water intake faucet.
当雨水从雨水管流下,直落到除叶器上,雨水中的树叶枯枝被除叶器分离,树叶枯枝被雨水推落到管道外的地面,雨水通过除叶器进入前期水分离器内,随水位上升,浮球上浮,滴水孔开始滴水。当前期水分离器被雨水充满,浮球封堵前期水分离器的峡口,后续雨水进入连通管撒落到蓄水室内储存;雨水中的泥沙慢慢沉降到蓄水室底,大部分通过底垫的小孔沉积在蓄水室的底板上,小部分沉积在底垫上;取水浮体随蓄水室内的水位上升而上升,当蓄水室内水位超过排污管最大高度以后,由于虹吸作用,后续雨水在蓄水室内产生的压力使得水质差的底层水和底泥通过排污管自动虹吸出蓄水室;当蓄水室内水位低于排污管最大高度以后,由于虹吸作用消失,蓄水室内的雨水不再通过排污管自动虹吸出蓄水室;当蓄水室的淤泥太多,需要如果清理、维护时,打开维修窗口上的盖板进行清理作业,打开排水管的阀门,雨水通过排水管流出。取水时,打开取水龙头的阀门,蓄水室的蓄水从取水浮体的取水口进入,经取水软管和水龙头流出。前期水分离器内的污水通过滴水孔放空,下次降雨时,前期水分离器继续发挥作用。前期水分离器需要定期清理污物,清污时拧开其底盖清污。When the rainwater flows down from the rainwater pipe and falls straight onto the defoliator, the leaves and branches in the rain are separated by the defoliator, and the leaves and branches are pushed down to the ground outside the pipe by the rainwater, and the rainwater enters the pre-water separator through the defoliator , as the water level rises, the float floats up, and the drip hole starts to drip. The water separator in the current stage is filled with rainwater, and the floating ball blocks the gorge of the water separator in the early stage, and the subsequent rainwater enters the connecting pipe and is scattered into the water storage chamber for storage; the sediment in the rainwater slowly settles to the bottom of the water storage chamber, and most It is deposited on the bottom plate of the water storage chamber through the small holes of the bottom pad, and a small part is deposited on the bottom pad; the water intake floating body rises with the water level in the water storage chamber. When the water level in the water storage chamber exceeds the maximum height of the sewage pipe, due to the siphon effect, The pressure generated by subsequent rainwater in the storage chamber makes the bottom water and sediment with poor water quality automatically siphon out of the storage chamber through the sewage pipe; when the water level in the storage chamber is lower than the maximum height of the sewage pipe, due to the disappearance of the siphon effect, the Rainwater no longer automatically siphons out of the water storage chamber through the sewage pipe; when there is too much silt in the water storage chamber and needs to be cleaned and maintained, open the cover on the maintenance window for cleaning, open the valve of the drain pipe, and the rainwater will pass through the drain pipe flow out. When water is taken, the valve of the water intake tap is opened, and the water stored in the water storage chamber enters from the water intake of the water intake floating body, and flows out through the water intake hose and the water tap. The sewage in the early stage water separator is emptied through the drip hole, and the next time it rains, the early stage water separator will continue to function. In the early stage, the water separator needs to clean the dirt regularly. When cleaning the dirt, unscrew the bottom cover to clean the dirt.
所述的蓄水室是一个容器,容器的底板为平底或小于30°的斜底。The water storage chamber is a container, and the bottom plate of the container is a flat bottom or an inclined bottom less than 30°.
所述的除叶器垂直设置在前期水分离器上部,紧接雨水管的落水。所述的除叶器的形状为空心柱体,下接小于前期水分离器管径的短管,其进口设置拦污栅,其雨水进口端的尺寸大于雨水管的直径,其雨水出口端连接前期水分离器上部。The leaf remover is vertically arranged on the upper part of the water separator in the early stage, next to the falling water of the rainwater pipe. The shape of the leaf remover is a hollow cylinder, which is connected with a short pipe smaller than the diameter of the water separator in the previous stage, and a trash rack is arranged at the inlet, the size of the rainwater inlet end is larger than the diameter of the rainwater pipe, and the rainwater outlet end is connected to the water trap in the previous stage. upper part of the separator.
所述的拦污栅是由细小的、直线或锯齿形直线不锈钢丝编成的栅板,每根钢丝与水平的交角为40°-75°。The trash rack is a grating made of thin, straight or zigzag straight stainless steel wires, and the intersection angle between each steel wire and the horizontal is 40°-75°.
所述的前期水储存室是一个储存污水的容器,下端离地面约5-20厘米。The said early stage water storage chamber is a container for storing sewage, and the lower end is about 5-20 centimeters from the ground.
所述的球座是设置在前期水分离器内的一个圆形峡口。The ball seat is a circular gorge arranged in the early stage water separator.
所述的底盖是封闭集污管尾端的构件,底盖内设置螺纹。The bottom cover is a component that closes the tail end of the sewage collection pipe, and threads are arranged inside the bottom cover.
所述的滴水孔是前期水分离器底部边壁上的一个小于5毫米的微小孔口。The drip hole is a tiny orifice less than 5 mm on the bottom side wall of the early stage water separator.
所述的排污管是形状为倒U的管道,排污管穿过蓄水室侧壁,其蓄水室内部分的进水端上设置有小的支撑杆,通过支撑杆将排污管固定在蓄水室内的底板上,排污管的设置一个小孔。The sewage pipe is an inverted U pipe, the sewage pipe passes through the side wall of the water storage chamber, and a small support rod is arranged on the water inlet end of the water storage chamber, and the sewage pipe is fixed on the water storage chamber through the support rod. On the bottom plate of the room, a small hole is arranged for the sewage pipe.
所述的止水孔设置在排污管最高处的一个小于5毫米的微小孔口。The water stop hole is set at a tiny orifice less than 5 mm at the highest point of the sewage pipe.
所述的底垫设置许多小孔的硬质板,板上的小孔为倒喇叭状,上面大下面小,板的下表面粘结2-6厘米高的小墩,依靠这些小墩将所述的底垫支撑在蓄水室内的底板上,在安装的排污管进水端附近,开一个大于排污管管径的小孔。The bottom pad is provided with a hard board with many small holes. The small holes on the board are in the shape of an inverted trumpet, the top is large and the bottom is small, and the lower surface of the board is bonded with 2-6 cm high small piers. The bottom pad described above is supported on the bottom plate in the water storage chamber, and an aperture larger than the pipe diameter of the sewage pipe is opened near the water inlet end of the sewage pipe installed.
所述的连通管是连接蓄水室和前期水分离器管道,连通管在蓄水室内的部分,其壁面上开有小孔。The connecting pipe is a pipe connecting the water storage chamber and the early stage water separator, and the part of the connecting pipe inside the water storage chamber has small holes on its wall.
所述的取水龙头是一根设置在蓄水室底部边壁上且带有阀门的管道。The water tap is a pipe provided on the bottom side wall of the water storage chamber and equipped with a valve.
所述的取水软管由塑胶材料做成,进水端用绳索捆绑到取水浮体,出水端与水龙头的进水端相连。The water intake hose is made of plastic material, the water inlet end is bound to the water intake floating body with a rope, and the water outlet end is connected with the water inlet end of the faucet.
所述的排水管是一根带有阀门的短管,安装在略高于底垫的蓄水室侧壁。排水管的出水端的管道内壁有螺纹,以便连接其它输水管道。The drainpipe is a short pipe with a valve, which is installed on the side wall of the water storage chamber slightly higher than the bottom pad. The pipe inner wall of the water outlet end of the drainpipe is threaded so as to connect other water delivery pipes.
本实用新型装置具有如下优点:1所述装置具有一个清污窗口,人工清洗和维护非常方便;2所述装置能够将水质差的底层水和底泥通过排污管自动虹吸出蓄水室外;3所述装置具有除叶功能和前期水分离功能;4所述装置的结构简单、投资规模小、实施容易。The utility model device has the following advantages: 1. The device has a cleaning window, which is very convenient for manual cleaning and maintenance; 2. The device can automatically siphon the bottom water and bottom mud with poor water quality out of the water storage room through the sewage pipe; 3. The device has the function of removing leaves and the function of water separation in the early stage; 4. The device has a simple structure, a small investment scale and is easy to implement.
附图说明 Description of drawings
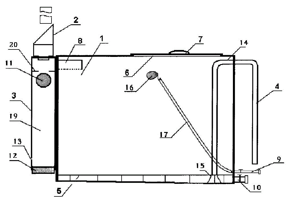
图1为本实用新型实施例1的整体结构示意图Fig. 1 is the overall structure schematic diagram of the utility model embodiment 1
图2为本实用新型的除叶器结构示意图Fig. 2 is the structural representation of the leaf remover of the present utility model
具体实施方式 Detailed ways
下面结合附图对本实用新型的实施例作详细说明:本实施例在以本实用新型技术方案为前提下进行实施,给出了详细的实施方式和具体的操作过程,但本实用新型的保护范围不限于下述的实施例。Below in conjunction with accompanying drawing the embodiment of the present utility model is described in detail: present embodiment is carried out under the premise of technical solution of the present utility model, has provided detailed embodiment and concrete operation process, but protection scope of the present utility model It is not limited to the following examples.
实施例1Example 1
如图1所示,本实施例包括:蓄水室1、除叶器2、前期水分离器3、排污管4、底垫5、维修窗口6、盖板7、连通管8、取水龙头9和排水管10、止水孔14、支撑杆15、取水浮体16、取水软管17、拦污栅18,蓄水室1设置在地面上;除叶器2设置前期水分离器3上部,正接雨水管的出水口;前期水分离器3设置在蓄水室1外侧壁上;连通管8连通前期水分离器3和蓄水室1;排污管4的一半设置在蓄水室1内,其另外一半设置在蓄水室1外;底垫5设置在蓄水室1的底板上;维修窗口6设置在蓄水室1的顶部;盖板7设置在维修窗口6上;取水龙头9和排水管10设置在蓄水室1的外侧壁上。止水孔14和支撑杆15设置在排污管4,取水浮体16连接取水软管17的一端,取水软管17的另外一端设置在取水龙头9的进水端。As shown in Figure 1, this embodiment includes: a water storage chamber 1, a leaf remover 2, a pre-water separator 3, a sewage pipe 4, a bottom pad 5, a maintenance window 6, a cover plate 7, a connecting pipe 8, and a water tap 9 With drainage pipe 10, water stop hole 14, support rod 15, water intake floating body 16, water intake hose 17, trash rack 18, water storage chamber 1 is arranged on the ground; leaf remover 2 is provided with the upper part of water separator 3 in the early stage, and is directly connected to The water outlet of the rainwater pipe; the early stage water separator 3 is arranged on the outer wall of the water storage chamber 1; the connecting pipe 8 communicates the early stage water separator 3 and the water storage chamber 1; half of the sewage pipe 4 is arranged in the water storage chamber 1, and the other Half is set outside the water storage chamber 1; the bottom pad 5 is set on the bottom plate of the water storage room 1; the maintenance window 6 is set on the top of the water storage room 1; the cover plate 7 is set on the maintenance window 6; the water tap 9 and the drain pipe 10 is arranged on the outer wall of the water storage chamber 1. The
所述的前期水分离器3是由前期水储存室19、球座20、浮球11、底盖12、滴水孔13组成。球座20、浮球11设置在前期水储存室19内,底盖12设置前期水储存室19底部,滴水孔13设置底盖12上。Described
当雨水从雨水管流下,直落到除叶器2上,雨水中的树叶枯枝被除叶器2分离,树叶枯枝被雨水推落到管道外的地面,雨水通过除叶器2进入前期水分离器3内,随水位上升,浮球11上浮,滴水孔13开始滴水。当前期水分离器3被雨水充满,浮球11封堵前期水分离器3的峡口,后续雨水进入连通管8撒落到蓄水室1内储存;雨水中的泥沙慢慢沉降到蓄水室1底,大部分通过底垫5的小孔沉积在蓄水室1的底板上,小部分沉积在底垫5上;取水浮体16随蓄水室1内的水位上升而上升,当蓄水室1内水位超过排污管4最大高度以后,由于虹吸作用,后续雨水在蓄水室1内产生的压力使得水质差的底层水和底泥通过排污管4自动虹吸出蓄水室1;当蓄水室1内水位低于排污管4最大高度以后,由于虹吸作用消失,蓄水室1内的雨水不再通过排污管4自动虹吸出蓄水室1;当蓄水室1的淤泥太多,需要如果清理、维护时,打开维修窗口6上的盖板7进行清理作业,打开排水管10的阀门,雨水通过排水管10流出。取水时,打开取水龙头9的阀门,蓄水室1的蓄水从取水浮体16的取水口进入,经取水软管17和水龙头9流出。前期水分离器3内的污水通过滴水孔13放空,下次降雨时,前期水分离器3继续发挥作用。前期水分离器3需要定期清理污物,清污时拧开其底盖12清污。When the rainwater flows down from the rainwater pipe and falls straight onto the
在降雨初期,雨水洗涤在屋顶上聚集的污垢和灰尘,暴雨前期水的水质很差,含泥沙、BOD、COD等的浓度高。所述前期水分离器3的作用是收集前期雨水,将水质很差的前期雨水与后续雨水分离。In the early stage of rainfall, the rainwater washes the dirt and dust accumulated on the roof. The water quality in the early stage of the storm is very poor, and the concentration of sediment, BOD, COD, etc. is high. The function of the early
所述的前期水储存室19是一个储存污水的容器,下端离地面约5-20厘米。Described early stage
所述的球座20是设置在前期水分离器3内的一个圆形峡口。所述的球座20的作用是让前期雨水通过进入前期水储存室19。The
所述的浮球11是一个轻质球体,在水体能够浮在水表面。所述的浮球11的作用是前期水储存室19被雨水充满后浮球11封闭前期水分离器3内的圆形峡口,阻止前期雨水与后续雨水掺混。Described floating
所述的底盖12是封闭集污管尾端的构件,底盖12内设置螺纹。所述底盖12的功能是:当所述的除叶除污装置工作时,拧紧底盖12封闭集污管;在清除集污管内泥沙时,拧开底盖12排放集污管内的前期雨水和水体中泥沙污物。The
所述的滴水孔13是前期水分离器3底部边壁上的一个小于5毫米的微小孔口。所述的滴水孔13的功能是慢慢释放集污管内的水,以便集污管可以连续使用。The
所述的排污管4是形状为倒U的管道,排污管4穿过蓄水室1侧壁,其蓄水室1内部分的进水端上设置有小的支撑杆15,通过支撑杆15将排污管4固定在蓄水室1内的底板上,排污管4的设置一个小孔。所述排污管4的功能是:当蓄水室1内蓄水达到排污管4最大高度以后,后续雨水在蓄水室1内产生的压力使得水质差的底层水和底泥通过排污管4自动虹吸出蓄水室1。The sewage pipe 4 is a pipe in the shape of an inverted U, the sewage pipe 4 passes through the side wall of the water storage chamber 1, and a
所述的止水孔14设置在排污管4最高处的一个小于5毫米的微小孔口。所述的止水孔14的功能是:当蓄水室1内蓄水低于止水孔14位置排污管4的高度以后,虹吸作用消失,防止蓄水室1内蓄水继续向外排溢。The
所述的底垫5设置许多小孔的硬质板,板上的小孔为倒喇叭状,上面大下面小,板的下表面粘结2-6厘米高的小墩,依靠这些小墩将所述的底垫5支撑在蓄水室1内的底板上,在安装的排污管4进水端附近,开一个大于排污管4管径的小孔。所述底垫5的功能是提高排污管4的排污能力。Described
所述的维修窗口6设置在蓄水室1顶板上。所述维修窗口6的功能是便于进行清理作业。The
所述的盖板7设置在维修窗口6上,盖板7设置有手柄,以便于打开盖板7。所述盖板7的功能是防止外物入侵和雨水外溢。The
所述的连通管8是连接蓄水室1和前期水分离器3管道,连通管8在蓄水室1内的部分,其壁面上开有小孔。所述连通管8的功能是输送雨水进入蓄水室1。The connecting pipe 8 is a pipe connecting the water storage chamber 1 and the early
所述的取水龙头9是一根设置在蓄水室1底部边壁上且带有阀门的管道。所述水龙头9的功能是排放蓄水室1内的蓄水。The water tap 9 is a pipe provided on the side wall at the bottom of the water storage chamber 1 with a valve. The function of the water tap 9 is to discharge the water stored in the water storage chamber 1 .
所述的取水浮体16是一个能够漂浮在水面的浮体。所述取水浮体16的功能是保证取水软管17的进水端淹没在水表层,保证每次取水都优先从蓄水室1内取表层优质水。Described water
所述的取水软管17由塑胶材料做成,进水端用绳索捆绑到取水浮体16,出水端与水龙头9的进水端相连。由于管道柔软,所以取水软管17能够随水位的变化而弯曲。所述的取水软管17的作用是输送蓄水室1内的蓄水。The
所述的排水管10是一根带有阀门的短管,安装在略高于底垫5的蓄水室1侧壁。排水管10的出水端的管道内壁有螺纹,以便连接其它输水管道。所述排水管10的功能是:需要利用蓄水室1内蓄水时通过排水管10放水;在对蓄水室1的底泥清理时,排放污水。The
实施例2Example 2
本实施例包括:蓄水室1、除叶器2、前期水分离器3、排污管4、底垫5、维修窗口6、盖板7、连通管8、取水龙头9和排水管10,蓄水室1设置在地面上;除叶器2设置前期水分离器3上部,正接雨水管的出水口;前期水分离器3设置在蓄水室1外侧壁上;连通管8连通前期水分离器3和蓄水室1;排污管4的一半设置在蓄水室1内,其另外一半设置在蓄水室1外;底垫5设置在蓄水室1的底板上;维修窗口6设置在蓄水室1的顶部;盖板7设置在维修窗口6上;取水龙头9和排水管10设置在蓄水室1的外侧壁上。各个部件的结构与实施例1相同。This embodiment includes: a water storage chamber 1, a
上述示例表明,本实用新型在雨水收集过程中能够除去雨水中树叶、泥沙和污物,自动分离前期污水,能够利用富余雨水自动排除蓄水室内的淤泥和水质较差的雨水,提高了所收集的雨水质量,保证了系统的永续利用;能够优先取蓄水室内的优质表层水,提高了取水水质;该实用新型亲环保、实施容易、结构简单、投资规模小,可以范围应用于不同规模的雨水收集。The above example shows that the utility model can remove leaves, silt and dirt in the rainwater during the rainwater collection process, automatically separate the previous sewage, and can use the surplus rainwater to automatically remove the silt and rainwater with poor water quality in the water storage chamber, thereby improving the efficiency of the rainwater collection system. The quality of the collected rainwater ensures the sustainable use of the system; it can give priority to the high-quality surface water in the storage chamber, which improves the water quality; this utility model is environmentally friendly, easy to implement, simple in structure, and small in investment scale, and can be used in different areas Scale rainwater harvesting.
Claims (10)
Priority Applications (1)
| Application Number | Priority Date | Filing Date | Title |
|---|---|---|---|
| CNU2007200773791U CN201162242Y (en) | 2007-12-27 | 2007-12-27 | Stationary water storage device for rainwater collection |
Applications Claiming Priority (1)
| Application Number | Priority Date | Filing Date | Title |
|---|---|---|---|
| CNU2007200773791U CN201162242Y (en) | 2007-12-27 | 2007-12-27 | Stationary water storage device for rainwater collection |
Publications (1)
| Publication Number | Publication Date |
|---|---|
| CN201162242Y true CN201162242Y (en) | 2008-12-10 |
Family
ID=40183180
Family Applications (1)
| Application Number | Title | Priority Date | Filing Date |
|---|---|---|---|
| CNU2007200773791U Expired - Fee Related CN201162242Y (en) | 2007-12-27 | 2007-12-27 | Stationary water storage device for rainwater collection |
Country Status (1)
| Country | Link |
|---|---|
| CN (1) | CN201162242Y (en) |
Cited By (2)
| Publication number | Priority date | Publication date | Assignee | Title |
|---|---|---|---|---|
| CN103696480A (en) * | 2013-12-26 | 2014-04-02 | 重庆大学 | Rainwater off-line device |
| CN106593208A (en) * | 2017-01-17 | 2017-04-26 | 泉州施米德智能科技有限公司 | Intelligent top-hung window capable of recycling rainwater and control method thereof |
-
2007
- 2007-12-27 CN CNU2007200773791U patent/CN201162242Y/en not_active Expired - Fee Related
Cited By (4)
| Publication number | Priority date | Publication date | Assignee | Title |
|---|---|---|---|---|
| CN103696480A (en) * | 2013-12-26 | 2014-04-02 | 重庆大学 | Rainwater off-line device |
| CN103696480B (en) * | 2013-12-26 | 2015-08-05 | 重庆大学 | A kind of rainwater off-line device |
| CN106593208A (en) * | 2017-01-17 | 2017-04-26 | 泉州施米德智能科技有限公司 | Intelligent top-hung window capable of recycling rainwater and control method thereof |
| CN106593208B (en) * | 2017-01-17 | 2018-01-23 | 泉州施米德智能科技有限公司 | The intelligent projecting top-hung window and its control method of a kind of recyclable rainwater |
Similar Documents
| Publication | Publication Date | Title |
|---|---|---|
| CN201276718Y (en) | Rainwater collecting and recycling system on building roofing | |
| CN202017224U (en) | Distributional automatic rainwater flow abandoning device for roof | |
| CN107653961A (en) | Rainwater collecting device | |
| CN106638882A (en) | Rainwater collecting and utilizing system | |
| CN106337484A (en) | Water seepage and flood drainage system based on sponge city | |
| CN111705589A (en) | A rainwater collection system for hollow permeable curbs | |
| CN203238699U (en) | Hydraulic automatic rainwater recovery device | |
| CN101886409A (en) | Vertical roof rainwater automatic initial discharge device | |
| CN109937747A (en) | Rainwater collection and automatic irrigation system in the green belt of the viaduct | |
| CN201162242Y (en) | Stationary water storage device for rainwater collection | |
| CN107618484A (en) | The collection rain car washer for being purified and being automatically replenished based on automatic control | |
| CN207158860U (en) | The device of automatic feeding coagulant processing roofing high pollution runoff in building downpipe | |
| CN100540814C (en) | Minitype rain water pot collecting device | |
| CN206385597U (en) | A kind of rainwater-collecting processing unit | |
| CN102106245B (en) | An automatic greening watering device for rainwater wastewater | |
| CN222009104U (en) | Building for recycling rainwater | |
| CN104975644B (en) | Special pipe storage system for road initial rainwater | |
| CN201137169Y (en) | Defoliation and decontamination device for rainwater | |
| CN207794243U (en) | Sunk type greenery patches reverse osmosis layer automatic flushing device in a kind of sponge city | |
| CN207959465U (en) | Anti-sedimentation and sedimentation cleaning pipes connected to abandoned rainwater wells | |
| CN207109865U (en) | A kind of multi-functional drainage manhole cover structure | |
| CN213446509U (en) | Rainwater collecting and utilizing system for urban viaduct | |
| CN206706890U (en) | A kind of sponge Urban roof rainwater delay shunt recovery system | |
| CN100582397C (en) | Roof rain water collection simple device having folding water storage tank | |
| CN211898844U (en) | Municipal works groundwater drainage device |
Legal Events
| Date | Code | Title | Description |
|---|---|---|---|
| C14 | Grant of patent or utility model | ||
| GR01 | Patent grant | ||
| C17 | Cessation of patent right | ||
| CF01 | Termination of patent right due to non-payment of annual fee |
Granted publication date: 20081210 Termination date: 20111227 |
