CN201148008Y - Automatic Blank Unloading Mechanism with Improved Structure - Google Patents
Automatic Blank Unloading Mechanism with Improved Structure Download PDFInfo
- Publication number
- CN201148008Y CN201148008Y CNU2008200825540U CN200820082554U CN201148008Y CN 201148008 Y CN201148008 Y CN 201148008Y CN U2008200825540 U CNU2008200825540 U CN U2008200825540U CN 200820082554 U CN200820082554 U CN 200820082554U CN 201148008 Y CN201148008 Y CN 201148008Y
- Authority
- CN
- China
- Prior art keywords
- conveying channel
- blank
- automatic blank
- pushing device
- transfer passage
- Prior art date
- Legal status (The legal status is an assumption and is not a legal conclusion. Google has not performed a legal analysis and makes no representation as to the accuracy of the status listed.)
- Expired - Fee Related
Links
Images
Landscapes
- Press Drives And Press Lines (AREA)
Abstract
本实用新型涉及一种用于制造磁性材料的改进结构的自动排坯机构。设置在压机上,包括一个推料装置,其特征在于,所述的推料装置的推进方向上设置有输送通道,在输送通道的外端处设有集料区,该输送通道倾斜设置,且其高度自推料装置一侧向集料区一侧逐渐降低,在输送通道上设有一个用于使被输送的毛坯翻转的台阶。因此,本实用新型具有如下优点:1.特别适用于EI型[日字型]磁性材料毛坯的排坯传输特别稳定,输送通道上的台阶可实现毛坯翻转。2.整个装置结构简单,易于实施,成本低廉。3.自动化程度高,可以节省大量人力物力,提高劳动效率,并且不易造成产品损坏。
The utility model relates to an automatic blank-discharging mechanism with an improved structure for manufacturing magnetic materials. Set on the press, including a pushing device, characterized in that, the pushing direction of the pushing device is provided with a conveying channel, a collection area is arranged at the outer end of the conveying channel, and the conveying channel is arranged obliquely, And its height gradually decreases from the side of the pushing device to the side of the material collection area, and a step for turning over the conveyed blank is provided on the conveying channel. Therefore, the utility model has the following advantages: 1. It is especially suitable for EI-type [Japanese-shaped] magnetic material blanks, and the transportation is particularly stable, and the steps on the conveying channel can realize blank turnover. 2. The whole device has a simple structure, is easy to implement, and has low cost. 3. The high degree of automation can save a lot of manpower and material resources, improve labor efficiency, and is not easy to cause product damage.
Description
技术领域 technical field
本实用新型涉及机械技术领域,尤其是涉及一种用于制造磁性材料的改进结构的自动排坯机构。The utility model relates to the technical field of machinery, in particular to an automatic blank-discharging mechanism with an improved structure for manufacturing magnetic materials.
背景技术 Background technique
磁性材料在加工过程中需要用压机进行压制,形成毛坯。压制而成的毛坯要及时从压机中取出,进行下一道工序的操作。传统的排坯方法是通过人工进行操作,这种方法的缺陷在于:工作效率低下,工人劳动强度大,费时费力,毛坯在取出过程中容易造成损坏,影响产品质量。Magnetic materials need to be pressed with a press during processing to form a blank. The blank formed by pressing should be taken out from the press in time to carry out the operation of the next process. The traditional method of arranging blanks is operated manually. The disadvantages of this method are: low work efficiency, high labor intensity, time-consuming and laborious, and the blanks are easily damaged during the removal process, which affects product quality.
为了提高克服上述缺陷,人们进行了长期的探索,提出了各种各样的解决方案。例如,中国专利文献公开了一种自动排坯机CN:02217626.8,包括机架、控制柜、输送带和推料装置,在压机台面和输送带间有:电机驱动的转盘和螺旋落料槽;转盘的中间有台阶,转盘的边缘有导向轮。本自动排坯机,由于采用一个转盘和压机台面相连接,工件出料后,滑落在转盘上,随转盘一起转动,在转盘中间的台阶和转盘边缘的导向轮的作用下,使工件沿某一方向顺序排列。与转盘相连接的螺旋落料槽,可以使沿某一方向顺序排列的工件,转动至所要求的角度出坯,以达到规则排坯方向的要求。因此,具有结构简单的特点,是一种高效率的、可自动取坯,并将坯件排放整齐的自动排坯机。但是上述装置并不适应于EI型[日字型]的磁性材料毛坯;并且整体结构复杂,运行过程容易造成毛坯损坏。In order to improve and overcome the above defects, people have carried out long-term exploration and proposed various solutions. For example, the Chinese patent document discloses an automatic billet unloading machine CN: 02217626.8, which includes a frame, a control cabinet, a conveyor belt and a pushing device, and between the press table and the conveyor belt: a motor-driven turntable and a spiral blanking chute ; There are steps in the middle of the turntable, and there are guide wheels on the edge of the turntable. This automatic billet unloading machine uses a turntable to connect with the press table, after the workpiece is discharged, it slides on the turntable and rotates with the turntable. Under the action of the steps in the middle of the turntable and the guide wheels on the edge of the turntable, the workpiece moves arranged in a certain direction. The spiral blanking chute connected with the turntable can make the workpieces arranged in a certain direction turn to the required angle to discharge the billets, so as to meet the requirements of the regular billet discharge direction. Therefore, it has the characteristics of simple structure, and is a high-efficiency automatic billet arranging machine that can automatically take blanks and arrange blanks neatly. However, the above-mentioned device is not suitable for EI-type [Japanese-shaped] magnetic material blanks; and the overall structure is complicated, and the blanks are likely to be damaged during operation.
发明内容 Contents of the invention
本实用新型主要是解决现有技术所存在的自动化程度地,费时费力,容易造成产品损坏等的技术问题;提供了一种自动化程度高,省时省力,工作效率高,不会造成产品损坏的改进结构的自动排坯机构。The utility model mainly solves the technical problems of low automation degree, time-consuming and labor-intensive, and easy product damage in the prior art; it provides a high automation degree, time-saving and labor-saving, high work efficiency, and will not cause product damage. Improved structure of automatic blank discharge mechanism.
本实用新型还有一目的是解决现有技术所存在的结构复杂,造价成本高,不适用于EI型[日字型]的磁性材料毛坯等的技术问题;提供了一种结构简单,易于实施,成本低廉,特别适用于EI型[日字型]磁性材料毛坯的改进结构的自动排坯机构。Another purpose of the utility model is to solve the existing technical problems of complex structure, high cost, unsuitable for EI-type [Japanese-shaped] magnetic material blanks, etc.; to provide a simple structure, easy to implement, The cost is low, and it is especially suitable for the automatic blanking mechanism of the improved structure of the EI type [Japanese-shaped] magnetic material blank.
本实用新型的上述技术问题主要是通过下述技术方案得以解决的:改进结构的自动排坯机构,设置在压机上,包括一个推料装置,其特征在于,所述的推料装置的推进方向上设置有输送通道,在输送通道的外端处设有集料区,该输送通道倾斜设置,且其高度自推料装置一侧向集料区一侧逐渐降低,在输送通道上设有一个用于使被输送的毛坯翻转的台阶。The above-mentioned technical problems of the utility model are mainly solved by the following technical solutions: the automatic billet discharge mechanism with improved structure is arranged on the press and includes a pushing device, which is characterized in that the pushing of the pushing device There is a conveying channel in the direction, and a collecting area is set at the outer end of the conveying channel. The conveying channel is arranged obliquely, and its height gradually decreases from the pushing device side to the collecting area side. A step for turning over the conveyed blank.
当推料装置推动由压机压制而成的毛坯后,可将毛坯推送至输送通道上,由于输送通道是倾斜设置的,毛坯可在其上滑动,当毛坯移动至台阶时,毛坯可实现翻转,并顺着输送通道继续滑动,并进入集料区。在集料区内,毛坯可以集中排列,操作人员过一段时间后可将排列好的一排毛坯取出。这样就可以有效地提高工作效率,提高产品质量。After the pushing device pushes the blank formed by the press, the blank can be pushed onto the conveying channel. Since the conveying channel is set obliquely, the blank can slide on it. When the blank moves to the step, the blank can be turned over , and continue to slide along the conveying channel, and enter the collection area. In the collecting area, blanks can be arranged in a concentrated manner, and the operator can take out a row of blanks after a period of time. This can effectively improve work efficiency and improve product quality.
作为优选,所述的台阶的落差为1.0~3.0cm。Preferably, the drop of the steps is 1.0-3.0 cm.
作为优选,所述的输送通道的倾斜角度为30度~60度。倾斜角度过小不利于传输,过大容易导致传输速度过快,对产品造成损伤。Preferably, the inclination angle of the delivery channel is 30°-60°. If the inclination angle is too small, it is not conducive to transmission, and if it is too large, it will easily lead to too fast transmission speed and cause damage to the product.
作为优选,所述的推料装置包括一个推料气缸,推料气缸活塞杆与推杆相连。Preferably, the pushing device includes a pushing cylinder, and the piston rod of the pushing cylinder is connected with the pushing rod.
作为优选,所述的集料区包括一块工作台,该工作台固定在支架上,滑轨的尾端位于工作台内。Preferably, the collection area includes a workbench, which is fixed on the support, and the tail end of the slide rail is located in the workbench.
因此,本实用新型具有如下优点:1.特别适用于EI型[日字型]磁性材料毛坯的排坯传输特别稳定,输送通道上的台阶可实现毛坯翻转。2.整个装置结构简单,易于实施,成本低廉。3.自动化程度高,可以节省大量人力物力,提高劳动效率,并且不易造成产品损坏。Therefore, the utility model has the following advantages: 1. It is especially suitable for EI-type [Japanese-shaped] magnetic material blanks, and the transportation is particularly stable, and the steps on the conveying channel can realize blank turnover. 2. The whole device has a simple structure, is easy to implement, and has low cost. 3. The high degree of automation can save a lot of manpower and material resources, improve labor efficiency, and is not easy to cause product damage.
附图说明 Description of drawings
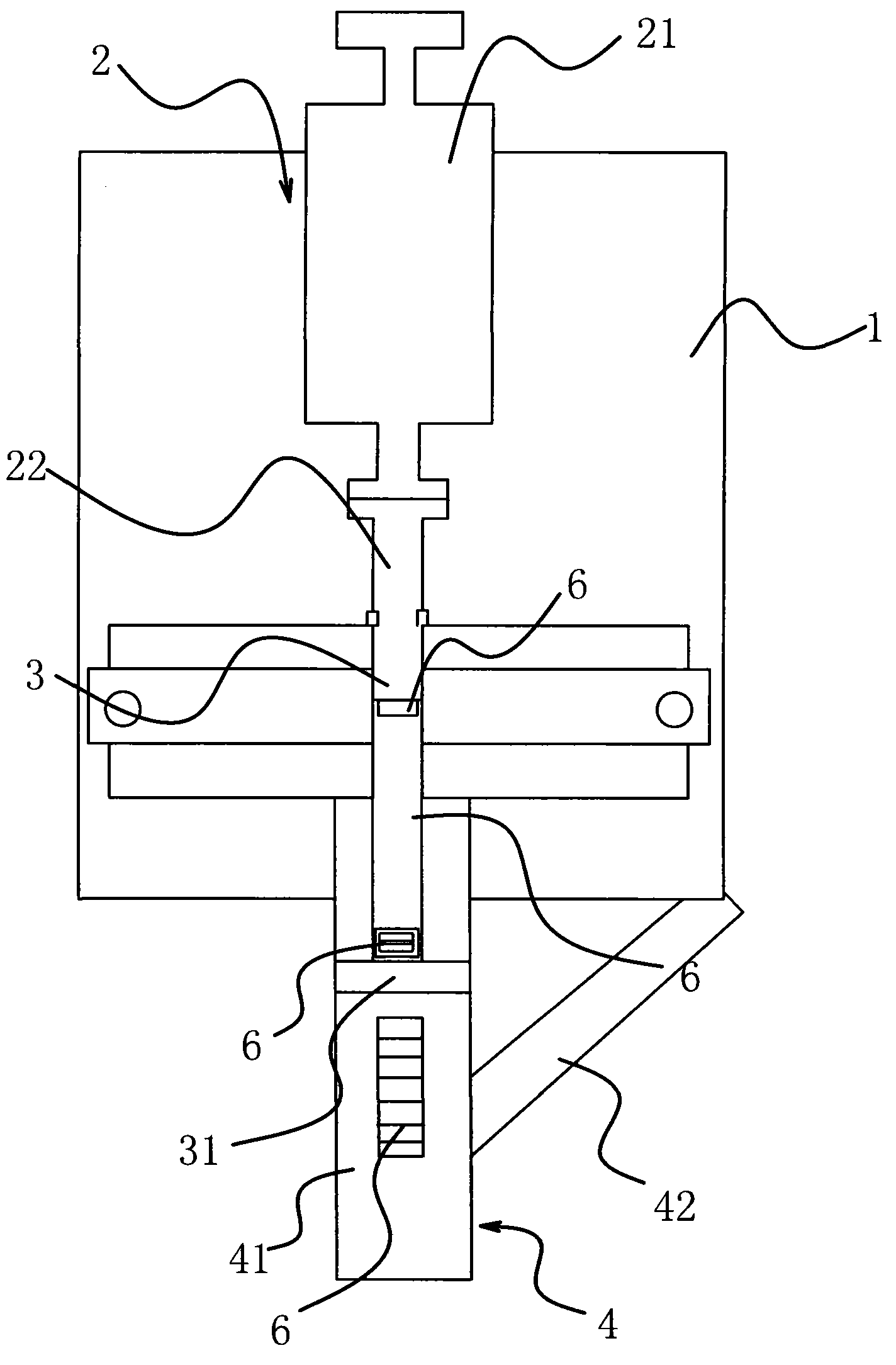
附图1是本实用新型的一种结构示意图。Accompanying drawing 1 is a kind of structural representation of the utility model.
图中,压机 1、推料装置 2、推料气缸 21、推杆 22、输送通道 3、台阶31、集料区 4、工作台 41、支架 42、毛坯6。In the figure, the press 1, the pushing device 2, the pushing
具体实施方式 Detailed ways
下面通过实施例,并结合附图,对本实用新型的技术方案作进一步具体的说明。The technical solutions of the present utility model will be further specifically described below through the embodiments and in conjunction with the accompanying drawings.
实施例:Example:
如图1所示,改进结构的自动排坯机构,设置在压机1上,包括一个推料装置2,所述的推料装置2的推进方向上设置有输送通道3,在输送通道3的外端处设有集料区4,该输送通道3倾斜设置,且其高度自推料装置2一侧向集料区4一侧逐渐降低,在输送通道3上设有一个用于使被输送的毛坯6翻转的台阶31。台阶31的落差为1.5cm。输送通道3的倾斜角度为40度。As shown in Figure 1, the automatic blank ejection mechanism with improved structure is arranged on the press machine 1 and includes a pushing device 2, and a
在本实施例中,推料装置2包括一个推料气缸21,推料气缸21活塞杆与推杆22相连。集料区4包括一块工作台41,该工作台41固定在支架42上,滑轨3的尾端位于工作台41内。In this embodiment, the pushing device 2 includes a pushing
工作时,当推料装置推动由压机压制而成的毛坯后,可将毛坯推送至输送通道上,由于输送通道是倾斜设置的,毛坯可在其上滑动,当毛坯移动至台阶时,毛坯可实现翻转,并顺着输送通道继续滑动,并进入集料区。在集料区内,毛坯可以集中排列,操作人员过一段时间后可将排列好的一排毛坯取出。本实用新型特别适应于EI型[日字型]的磁性材料毛坯。When working, when the pushing device pushes the blank formed by the press, it can push the blank to the conveying channel. Since the conveying channel is set obliquely, the blank can slide on it. When the blank moves to the step, the blank It can turn over and continue to slide along the conveying channel and enter the collection area. In the collecting area, blanks can be arranged in a concentrated manner, and the operator can take out a row of blanks after a period of time. The utility model is particularly suitable for EI-type [Japanese-shaped] magnetic material blanks.
本文中所描述的具体实施例仅仅是对本实用新型精神作举例说明。本实用新型所属技术领域的技术人员可以对所描述的具体实施例做各种各样的修改或补充或采用类似的方式替代,但并不会偏离本实用新型的精神或者超越所附权利要求书所定义的范围。The specific embodiments described herein are only examples to illustrate the spirit of the present invention. Those skilled in the technical field to which the utility model belongs can make various modifications or supplements to the described specific embodiments or adopt similar methods to replace them, but they will not deviate from the spirit of the utility model or go beyond the appended claims defined range.
尽管本文较多地使用了压机1、推料装置2、推料气缸21、推杆22、输送通道3、台阶31、集料区4、工作台41、支架42、毛坯6等术语,但并不排除使用其它术语的可能性。使用这些术语仅仅是为了更方便地描述和解释本实用新型的本质;把它们解释成任何一种附加的限制都是与本实用新型精神相违背的。Although the terms such as press 1, pusher device 2,
Claims (5)
Priority Applications (1)
| Application Number | Priority Date | Filing Date | Title |
|---|---|---|---|
| CNU2008200825540U CN201148008Y (en) | 2008-01-25 | 2008-01-25 | Automatic Blank Unloading Mechanism with Improved Structure |
Applications Claiming Priority (1)
| Application Number | Priority Date | Filing Date | Title |
|---|---|---|---|
| CNU2008200825540U CN201148008Y (en) | 2008-01-25 | 2008-01-25 | Automatic Blank Unloading Mechanism with Improved Structure |
Publications (1)
| Publication Number | Publication Date |
|---|---|
| CN201148008Y true CN201148008Y (en) | 2008-11-12 |
Family
ID=40115775
Family Applications (1)
| Application Number | Title | Priority Date | Filing Date |
|---|---|---|---|
| CNU2008200825540U Expired - Fee Related CN201148008Y (en) | 2008-01-25 | 2008-01-25 | Automatic Blank Unloading Mechanism with Improved Structure |
Country Status (1)
| Country | Link |
|---|---|
| CN (1) | CN201148008Y (en) |
Cited By (2)
| Publication number | Priority date | Publication date | Assignee | Title |
|---|---|---|---|---|
| CN103386485A (en) * | 2013-07-29 | 2013-11-13 | 河源富马硬质合金股份有限公司 | Siding feeder |
| CN104001921A (en) * | 2014-06-04 | 2014-08-27 | 宁波恒基永昕粉末冶金有限公司 | Powder metallurgy preparation method for component |
-
2008
- 2008-01-25 CN CNU2008200825540U patent/CN201148008Y/en not_active Expired - Fee Related
Cited By (3)
| Publication number | Priority date | Publication date | Assignee | Title |
|---|---|---|---|---|
| CN103386485A (en) * | 2013-07-29 | 2013-11-13 | 河源富马硬质合金股份有限公司 | Siding feeder |
| CN104001921A (en) * | 2014-06-04 | 2014-08-27 | 宁波恒基永昕粉末冶金有限公司 | Powder metallurgy preparation method for component |
| CN104001921B (en) * | 2014-06-04 | 2015-10-28 | 宁波恒基永昕粉末冶金有限公司 | A kind of method for preparing powder metallurgy of part |
Similar Documents
| Publication | Publication Date | Title |
|---|---|---|
| CN201186805Y (en) | Apparatus for automatically sorting well-regulated objects in accordance with order form requirements | |
| CN204430786U (en) | Full-automatic photovoltaic frame production line | |
| CN110943264A (en) | Disassembly device of square power battery shell | |
| CN201177657Y (en) | Battery automatic mobile conveying device of mobile phone battery internal parameter automatic detection machine | |
| CN210731573U (en) | Pressing mechanism for U shield production | |
| CN205837949U (en) | A kind of photovoltaic panel transfer mechanism | |
| CN203568398U (en) | Automatic feeding device | |
| CN203187054U (en) | Automatic overturning device for car underframe | |
| CN201148008Y (en) | Automatic Blank Unloading Mechanism with Improved Structure | |
| CN206959517U (en) | A kind of drier | |
| CN201148007Y (en) | New automatic billet discharge mechanism | |
| CN201791805U (en) | A kind of LED bracket bending machine | |
| CN206088319U (en) | Automatic long -pending letter sorting mechanism of putting | |
| CN204333133U (en) | Lamination device | |
| CN207508799U (en) | A kind of blanking device for machining tool | |
| CN206747703U (en) | Double end Production Line for Cutting | |
| CN201109512Y (en) | Accepting device for bag opening machine | |
| CN214685503U (en) | High-efficient steel pipe chamfering machine | |
| CN206999223U (en) | A kind of sheet material is the same as banding sideline | |
| CN105458115A (en) | Bottle cap stamping device and stamping method | |
| CN212173589U (en) | Bamboo wood diversion transmission device | |
| CN204384569U (en) | Glue machine is received in a kind of tire banburying | |
| CN208894925U (en) | English truss conveys bending and molding device | |
| CN207843573U (en) | A fully automatic suction card splitting double head labeling machine | |
| CN210475539U (en) | Copper, aluminium bar wagon locomotive cuts feed arrangement |
Legal Events
| Date | Code | Title | Description |
|---|---|---|---|
| C14 | Grant of patent or utility model | ||
| GR01 | Patent grant | ||
| CF01 | Termination of patent right due to non-payment of annual fee | ||
| CF01 | Termination of patent right due to non-payment of annual fee |
Granted publication date: 20081112 Termination date: 20170125 |
