CN201129867Y - Flue gas condensing gas water heater - Google Patents
Flue gas condensing gas water heater Download PDFInfo
- Publication number
- CN201129867Y CN201129867Y CNU2007203063012U CN200720306301U CN201129867Y CN 201129867 Y CN201129867 Y CN 201129867Y CN U2007203063012 U CNU2007203063012 U CN U2007203063012U CN 200720306301 U CN200720306301 U CN 200720306301U CN 201129867 Y CN201129867 Y CN 201129867Y
- Authority
- CN
- China
- Prior art keywords
- heat exchanger
- flue gas
- condensing
- shell
- water
- Prior art date
- Legal status (The legal status is an assumption and is not a legal conclusion. Google has not performed a legal analysis and makes no representation as to the accuracy of the status listed.)
- Expired - Fee Related
Links
- XLYOFNOQVPJJNP-UHFFFAOYSA-N water Substances O XLYOFNOQVPJJNP-UHFFFAOYSA-N 0.000 title claims abstract description 56
- UGFAIRIUMAVXCW-UHFFFAOYSA-N Carbon monoxide Chemical compound [O+]#[C-] UGFAIRIUMAVXCW-UHFFFAOYSA-N 0.000 title claims abstract description 54
- 239000003546 flue gas Substances 0.000 title claims abstract description 54
- 239000007789 gas Substances 0.000 title claims abstract description 14
- 239000000779 smoke Substances 0.000 claims abstract description 12
- 239000008399 tap water Substances 0.000 claims abstract description 4
- 235000020679 tap water Nutrition 0.000 claims abstract description 4
- 238000009833 condensation Methods 0.000 claims description 8
- 230000005494 condensation Effects 0.000 claims description 8
- 238000002485 combustion reaction Methods 0.000 claims description 5
- 239000002253 acid Substances 0.000 description 3
- 229910001220 stainless steel Inorganic materials 0.000 description 3
- 239000010935 stainless steel Substances 0.000 description 3
- 230000009286 beneficial effect Effects 0.000 description 1
- 238000001816 cooling Methods 0.000 description 1
- 230000007797 corrosion Effects 0.000 description 1
- 238000005260 corrosion Methods 0.000 description 1
- 230000007547 defect Effects 0.000 description 1
- 238000010586 diagram Methods 0.000 description 1
- 239000000463 material Substances 0.000 description 1
- 238000000034 method Methods 0.000 description 1
- 238000006386 neutralization reaction Methods 0.000 description 1
- 239000010865 sewage Substances 0.000 description 1
Images
Classifications
-
- Y—GENERAL TAGGING OF NEW TECHNOLOGICAL DEVELOPMENTS; GENERAL TAGGING OF CROSS-SECTIONAL TECHNOLOGIES SPANNING OVER SEVERAL SECTIONS OF THE IPC; TECHNICAL SUBJECTS COVERED BY FORMER USPC CROSS-REFERENCE ART COLLECTIONS [XRACs] AND DIGESTS
- Y02—TECHNOLOGIES OR APPLICATIONS FOR MITIGATION OR ADAPTATION AGAINST CLIMATE CHANGE
- Y02B—CLIMATE CHANGE MITIGATION TECHNOLOGIES RELATED TO BUILDINGS, e.g. HOUSING, HOUSE APPLIANCES OR RELATED END-USER APPLICATIONS
- Y02B30/00—Energy efficient heating, ventilation or air conditioning [HVAC]
Landscapes
- Instantaneous Water Boilers, Portable Hot-Water Supply Apparatuses, And Control Of Portable Hot-Water Supply Apparatuses (AREA)
- Chimneys And Flues (AREA)
Abstract
本实用新型公开了一种烟气冷凝式燃气热水器,冷凝热交换器的上方设有热水器排烟口,壳体中设有冷凝水管组,燃烧室上方为显热热交换器,冷凝热交换器处于显热热交换器的上方,烟气挡板处于冷凝热交换器的壳体上部,呈斜向的烟气导流板处于冷凝热交换水器的壳体下部,冷凝水管组封闭于烟气挡板、壳体和烟气导流板之间的空间内,烟气挡板一端与壳体一内侧间留有第一间隙,烟气导流板与壳体另一相对内侧间留有第二间隙,烟气导流板靠近第二间隙的一端高于其远离第二间隙的另一端,冷凝热交换器中的冷凝水管组入水口接自来水,冷凝热交换器中的冷凝水管组出水口与显热热交换器入水口相通,显热热交换器出水口接用户。本实用新型结构简单、运行可靠。
The utility model discloses a flue gas condensing gas water heater. A smoke outlet of the water heater is arranged above the condensing heat exchanger. Located above the sensible heat exchanger, the flue gas baffle is located at the upper part of the shell of the condensing heat exchanger, the oblique flue gas deflector is located at the lower part of the shell of the condensing heat exchanger, and the condensed water tube group is enclosed by the flue gas In the space between the baffle, the shell and the smoke deflector, there is a first gap between one end of the smoke baffle and one inner side of the shell, and a second gap between the smoke deflector and the other opposite inner side of the shell. The second gap, the end of the flue gas deflector close to the second gap is higher than the other end away from the second gap, the water inlet of the condensate pipe group in the condensing heat exchanger is connected to tap water, and the water outlet of the condensate pipe group in the condensing heat exchanger It communicates with the water inlet of the sensible heat exchanger, and the water outlet of the sensible heat exchanger is connected to the user. The utility model has the advantages of simple structure and reliable operation.
Description
技术领域technical field
本实用新型涉及一种燃气热水器,尤其是一种烟气冷凝式燃气热水器。The utility model relates to a gas water heater, in particular to a flue gas condensing type gas water heater.
背景技术Background technique
现在,随着我国经济的高速发展,能源问题日益突出。开发单纯燃气快速热水器的意义,已从单纯为节省支出提高到实现经济可持续发展的战略高度。目前燃气热水器的烟气中含有大量的SO2、NOX等酸性气体,对大气造成很大的污染,且热效率基本无法再提高。Now, with the rapid development of my country's economy, the energy problem is becoming increasingly prominent. The significance of developing simple gas instant water heaters has been raised from simply saving expenditures to the strategic height of realizing sustainable economic development. At present, the flue gas of gas-fired water heaters contains a large amount of acid gases such as SO 2 and NO X , which cause great pollution to the atmosphere, and the thermal efficiency cannot be improved basically.
发明内容Contents of the invention
为了克服上述缺陷,本实用新型提供一种烟气冷凝式燃气热水器,该烟气冷凝式燃气热水器能有效减少烟气中的SO2、NOX排放和提高热效率,且结构简单、运行可靠。In order to overcome the above defects, the utility model provides a flue gas condensing gas water heater, which can effectively reduce SO 2 and NO X emissions in the flue gas and improve thermal efficiency, and has a simple structure and reliable operation.
本实用新型为了解决其技术问题所采用的技术方案是:一种烟气冷凝式燃气热水器,设有冷凝热交换器,冷凝热交换器主要由壳体、冷凝水管组、烟气挡板和烟气导流板组成,冷凝热交换器的上方设有热水器排烟口,壳体中设有冷凝水管组,燃烧室上方为显热热交换器,冷凝热交换器处于显热热交换器(用于生活用水)的上方,烟气挡板处于冷凝热交换器的壳体上部,呈斜向的烟气导流板处于冷凝热交换水器的壳体下部,冷凝水管组封闭于烟气挡板、壳体和烟气导流板之间的空间内,烟气挡板一端与壳体一内侧间留有第一间隙(为冷却后烟气出口),烟气导流板与壳体另一相对内侧间留有第二间隙(为烟气入口),烟气导流板靠近第二间隙的一端高于其远离第二间隙的另一端,冷凝热交换器中的冷凝水管组入水口接自来水,冷凝热交换器中的冷凝水管组出水口与显热热交换器入水口相通,显热热交换器出水口接用户,这样冷凝热交换器可充分利用烟气和水蒸气中的大量潜热,使热水器的热效率提高12%左右。The technical solution adopted by the utility model to solve the technical problems is: a flue gas condensing gas water heater, which is provided with a condensing heat exchanger. Composed of air deflectors, above the condensing heat exchanger, there is a water heater smoke outlet, in the shell, there is a condensing water pipe group, above the combustion chamber is a sensible heat exchanger, and the condensing heat exchanger is located in the sensible heat exchanger (used Above the domestic water), the flue gas baffle is located at the upper part of the shell of the condensing heat exchanger, the oblique flue gas deflector is located at the lower part of the shell of the condensing heat exchanger, and the condensate pipe group is closed by the flue gas baffle 1. In the space between the shell and the flue gas deflector, there is a first gap between one end of the flue gas baffle and the inner side of the shell (for the cooled flue gas outlet), and the flue gas deflector and the other side of the shell A second gap (for the flue gas inlet) is left between the opposite inner sides. One end of the flue gas deflector near the second gap is higher than the other end away from the second gap. The water inlet of the condensate pipe group in the condensing heat exchanger is connected to tap water , the water outlet of the condensate pipe group in the condensing heat exchanger is connected to the water inlet of the sensible heat exchanger, and the water outlet of the sensible heat exchanger is connected to the user, so that the condensing heat exchanger can make full use of a large amount of latent heat in the flue gas and water vapor, The thermal efficiency of the water heater is increased by about 12%.
本实用新型的进一步技术方案是:冷凝热交换器具两路换热循环。The further technical solution of the utility model is: the condensation heat exchange device has two heat exchange cycles.
本实用新型的有益效果是:烟气经显热热交换器后从第二间隙进入冷凝热交换器进行热交换(冷凝热交换器中同时形成冷凝水,SO2、NOX等酸性气体溶于冷凝水中),冷却后烟气从第一间隙出来通过排烟口向外排出,使排烟温度降低到接近露点或露点以下,可有效减少烟气的排放污染。同时冷凝热交换器充分利用烟气和水蒸气的大量潜热,可使热水器的热效率提高12%左右,且本实用新型结构简单、运行可靠。The beneficial effects of the utility model are: the flue gas enters the condensation heat exchanger from the second gap after passing through the sensible heat exchanger for heat exchange (condensed water is formed in the condensation heat exchanger at the same time, and acid gases such as SO 2 and NO X are dissolved in After cooling, the flue gas is discharged from the first gap through the exhaust port, so that the temperature of the exhaust gas is reduced to close to the dew point or below the dew point, which can effectively reduce the emission pollution of the flue gas. At the same time, the condensing heat exchanger makes full use of a large amount of latent heat of flue gas and water vapor, which can increase the thermal efficiency of the water heater by about 12%, and the utility model has simple structure and reliable operation.
附图说明Description of drawings
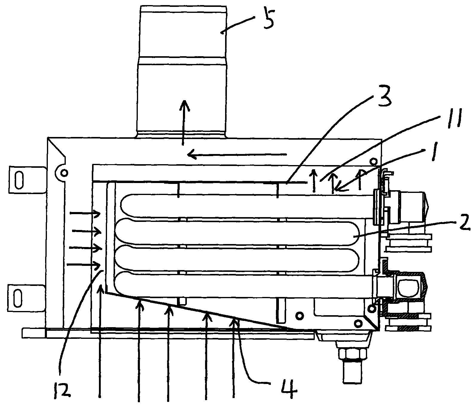
图1为本实用新型原理图。Fig. 1 is a schematic diagram of the utility model.
图中箭头为烟气流向。The arrows in the figure indicate the flow direction of the smoke.
具体实施方式Detailed ways
实施例:一种烟气冷凝式燃气热水器,设有冷凝热交换器1,冷凝热交换器主要由壳体、冷凝水管组2、烟气挡板3和烟气导流板4组成,冷凝热交换器的上方设有热水器排烟口5,壳体中设有冷凝水管组,燃烧室上方为显热热交换器,冷凝热交换器处于显热热交换器(用于生活用水)的上方,烟气挡板处于冷凝热交换器的壳体上部,呈斜向的烟气导流板处于冷凝热交换水器的壳体下部,冷凝水管组封闭于烟气挡板、壳体和烟气导流板之间的空间内,烟气挡板一端与壳体一内侧间留有第一间隙11(为冷却后烟气出口),烟气导流板与壳体另一相对内侧间留有第二间隙12(为烟气入口),烟气导流板靠近第二间隙的一端高于其远离第二间隙的另一端,冷凝热交换器中的冷凝水管组入水口接自来水,冷凝热交换器中的冷凝水管组出水口与显热热交换器入水口相通,显热热交换器出水口接用户,这样冷凝热交换器可充分利用烟气和水蒸气中的大量潜热,使热水器的热效率提高12%左右。Embodiment: A flue gas condensing gas water heater is provided with a condensing heat exchanger 1. The condensing heat exchanger is mainly composed of a shell, a condensing
冷凝热交换器具两路换热循环。The condensing heat exchange device has two heat exchange cycles.
本烟气冷凝式燃气热水器的结构采用烟气导流型。冷凝热交换器的材料为不锈钢。The structure of the flue gas condensing gas water heater adopts the flue gas diversion type. The material of the condensing heat exchanger is stainless steel.
工作原理是:The working principle is:
燃烧室在热水器的下部,高温烟气从燃烧室流入显热热交换器(为生活用水),显热热交换器吸收大部分热量后,在显热热交换器的出口,烟气温度约降至200-250℃;低温烟气经过烟气导流板再经第二间隙流至冷凝热交换器,向上流动的烟气与冷凝热交换器中的换热管(管中为未经过热交换的冷水)发生热交换,烟气温度降到露点温度,再通过第一间隙、导流器由烟道排出,同时冷水是从冷凝热交换器进入后再流入显热热交换器的,这样冷凝热交换器内的冷水得到热交换后再流入显热热交换器,可使热水器的热效率提高12%左右;又在冷凝热交换器内,冷凝液积聚在底部,最后从冷凝液导管流出,经过中和处理后再排入污水排放系统。冷凝热交换器中的冷凝水管组采用不锈钢波纹管,结构无吸热片,不易结碳,且不锈钢耐酸腐蚀很强。The combustion chamber is at the lower part of the water heater. The high-temperature flue gas flows from the combustion chamber into the sensible heat exchanger (for domestic water). After the sensible heat exchanger absorbs most of the heat, the temperature of the flue gas drops by about to 200-250°C; the low-temperature flue gas passes through the flue gas guide plate and then flows to the condensation heat exchanger through the second gap, and the upward flowing flue gas and the heat exchange tube in the condensation heat exchanger (the tubes are not heat-exchanged The cold water) undergoes heat exchange, the temperature of the flue gas drops to the dew point temperature, and then it is discharged from the flue through the first gap and the deflector. At the same time, the cold water enters from the condensing heat exchanger and then flows into the sensible heat exchanger. The cold water in the heat exchanger flows into the sensible heat exchanger after heat exchange, which can increase the thermal efficiency of the water heater by about 12%. After neutralization treatment, it is discharged into the sewage discharge system. The condensed water tube group in the condensing heat exchanger is made of stainless steel bellows, the structure has no heat-absorbing fins, it is not easy to carbonize, and the stainless steel is highly acid-resistant and corrosion-resistant.
Claims (2)
Priority Applications (1)
| Application Number | Priority Date | Filing Date | Title |
|---|---|---|---|
| CNU2007203063012U CN201129867Y (en) | 2007-11-15 | 2007-11-15 | Flue gas condensing gas water heater |
Applications Claiming Priority (1)
| Application Number | Priority Date | Filing Date | Title |
|---|---|---|---|
| CNU2007203063012U CN201129867Y (en) | 2007-11-15 | 2007-11-15 | Flue gas condensing gas water heater |
Publications (1)
| Publication Number | Publication Date |
|---|---|
| CN201129867Y true CN201129867Y (en) | 2008-10-08 |
Family
ID=40017721
Family Applications (1)
| Application Number | Title | Priority Date | Filing Date |
|---|---|---|---|
| CNU2007203063012U Expired - Fee Related CN201129867Y (en) | 2007-11-15 | 2007-11-15 | Flue gas condensing gas water heater |
Country Status (1)
| Country | Link |
|---|---|
| CN (1) | CN201129867Y (en) |
Cited By (5)
| Publication number | Priority date | Publication date | Assignee | Title |
|---|---|---|---|---|
| CN101561230A (en) * | 2009-05-27 | 2009-10-21 | 江苏光芒热水器有限公司 | Secondary heat exchanger used for gas water heater |
| CN102109281A (en) * | 2009-12-25 | 2011-06-29 | 株式会社能率 | Heat exchanger and water heater incorporating the same |
| CN102278818A (en) * | 2011-08-06 | 2011-12-14 | 浙江广涛卫厨有限公司 | Condensation heat exchanger of gas water heater |
| CN103032951A (en) * | 2011-10-06 | 2013-04-10 | 广东万和新电气股份有限公司 | Positive displacement gas water heater |
| CN111649485A (en) * | 2020-06-23 | 2020-09-11 | 珠海格力电器股份有限公司 | Condensing heat exchange structure and gas water heater |
-
2007
- 2007-11-15 CN CNU2007203063012U patent/CN201129867Y/en not_active Expired - Fee Related
Cited By (8)
| Publication number | Priority date | Publication date | Assignee | Title |
|---|---|---|---|---|
| CN101561230A (en) * | 2009-05-27 | 2009-10-21 | 江苏光芒热水器有限公司 | Secondary heat exchanger used for gas water heater |
| CN102109281A (en) * | 2009-12-25 | 2011-06-29 | 株式会社能率 | Heat exchanger and water heater incorporating the same |
| CN102109281B (en) * | 2009-12-25 | 2015-09-23 | 株式会社能率 | Heat exchanger and there is the hot water apparatus of this heat exchanger |
| CN102278818A (en) * | 2011-08-06 | 2011-12-14 | 浙江广涛卫厨有限公司 | Condensation heat exchanger of gas water heater |
| CN102278818B (en) * | 2011-08-06 | 2015-12-02 | 浙江广涛卫厨有限公司 | Condensation heat exchanger of gas water heater |
| CN103032951A (en) * | 2011-10-06 | 2013-04-10 | 广东万和新电气股份有限公司 | Positive displacement gas water heater |
| CN103032951B (en) * | 2011-10-06 | 2015-02-25 | 广东万和新电气股份有限公司 | Positive displacement gas water heater |
| CN111649485A (en) * | 2020-06-23 | 2020-09-11 | 珠海格力电器股份有限公司 | Condensing heat exchange structure and gas water heater |
Similar Documents
| Publication | Publication Date | Title |
|---|---|---|
| CN102589128B (en) | Double air inlet heat exchanger for condensing gas water heater | |
| CN105570956B (en) | A kind of residual heat from boiler fume circulating heat supply system | |
| WO2014044208A1 (en) | Forced spiral finned coil condensation heat-supplying heat exchanger | |
| CN108050731A (en) | A kind of flue gas drives residual heat recovery type absorption heat pump | |
| CN101191666B (en) | Condensing heat exchanger for gas water heater | |
| CN201129867Y (en) | Flue gas condensing gas water heater | |
| CN202303895U (en) | Finned-pipe type condensation heat exchanger for condensing-type gas water heater | |
| CN201093900Y (en) | Compact type two return-stroke flue tube flue gas condensing energy conservation equipment | |
| CN201637072U (en) | Pulsating heat pipe condensing gas water heater | |
| CN202057049U (en) | Condensation hot water boiler with externally-arranged condensers | |
| CN102278818B (en) | Condensation heat exchanger of gas water heater | |
| CN104501397B (en) | A kind of compound backwater condensing natural gas hot water's boiler of fin panel casing | |
| CN201429222Y (en) | Condensing heat exchanger for gas water heater | |
| CN204612167U (en) | A kind of vacuum hot water boiler of built-in condenser | |
| CN207214097U (en) | A kind of coal-burning boiler based on smoke evacuation vapor internal-circulation type condensing units | |
| CN201926121U (en) | Horizontal type condensing normal pressure hot water boiler | |
| CN202002316U (en) | Built-in vacuum hot water boiler with condensing heat recovery | |
| CN2444189Y (en) | Clausilium type heat energy recover using flue gas cooling | |
| CN201476304U (en) | Household gas water heater flue heat collection and energy saving device | |
| CN201463277U (en) | A condensing flue gas waste heat recovery device | |
| CN207247242U (en) | A kind of high-efficiency condensation flue gas heat recovery module furnace | |
| CN2655116Y (en) | Smoke condensing waste heat recovering device | |
| CN202521864U (en) | Double air inlet heat exchanger for condensing gas water heater | |
| CN200989662Y (en) | Condensation heat exchanger for gas water heater | |
| CN205279449U (en) | High -efficient plant specimen |
Legal Events
| Date | Code | Title | Description |
|---|---|---|---|
| C14 | Grant of patent or utility model | ||
| GR01 | Patent grant | ||
| C56 | Change in the name or address of the patentee |
Owner name: SAKURA SANITARY AND KITCHENWARE ( CHINA ) CO., LTD Free format text: FORMER NAME OR ADDRESS: AKURA TOILET + KITCHEN(CHINA) CO.,LTD. |
|
| CP03 | Change of name, title or address |
Address after: No. 1 South Qingyang Road, Jiangsu, Kunshan Province, China: 215300 Patentee after: Sakura Bath & Kitchen Products (China) Co., Ltd. Address before: No. 1 South Qingyang Road, Jiangsu, Kunshan Province, China: 215300 Patentee before: Sakura Bath and Kitchen Products (China) Co., Ltd. |
|
| C17 | Cessation of patent right | ||
| CF01 | Termination of patent right due to non-payment of annual fee |
Granted publication date: 20081008 Termination date: 20121115 |
