CN201002086Y - 一种自动喷水刷洗器 - Google Patents
一种自动喷水刷洗器 Download PDFInfo
- Publication number
- CN201002086Y CN201002086Y CNU2007200483248U CN200720048324U CN201002086Y CN 201002086 Y CN201002086 Y CN 201002086Y CN U2007200483248 U CNU2007200483248 U CN U2007200483248U CN 200720048324 U CN200720048324 U CN 200720048324U CN 201002086 Y CN201002086 Y CN 201002086Y
- Authority
- CN
- China
- Prior art keywords
- action bars
- feed pipe
- water
- brush
- brushing
- Prior art date
- Legal status (The legal status is an assumption and is not a legal conclusion. Google has not performed a legal analysis and makes no representation as to the accuracy of the status listed.)
- Expired - Fee Related
Links
- 238000005406 washing Methods 0.000 title description 2
- 238000005507 spraying Methods 0.000 title 1
- XLYOFNOQVPJJNP-UHFFFAOYSA-N water Substances O XLYOFNOQVPJJNP-UHFFFAOYSA-N 0.000 claims abstract description 101
- 238000004140 cleaning Methods 0.000 claims abstract description 26
- 230000008520 organization Effects 0.000 claims description 16
- 230000001680 brushing effect Effects 0.000 claims description 14
- 239000000945 filler Substances 0.000 claims description 8
- 239000007921 spray Substances 0.000 abstract 1
- 238000000034 method Methods 0.000 description 3
- 238000009835 boiling Methods 0.000 description 2
- 230000000694 effects Effects 0.000 description 2
- 238000005096 rolling process Methods 0.000 description 2
- 230000009183 running Effects 0.000 description 2
- 230000003068 static effect Effects 0.000 description 2
- 239000008400 supply water Substances 0.000 description 2
- 241001074085 Scophthalmus aquosus Species 0.000 description 1
- 230000009286 beneficial effect Effects 0.000 description 1
- 239000000919 ceramic Substances 0.000 description 1
- 235000019504 cigarettes Nutrition 0.000 description 1
- 230000007812 deficiency Effects 0.000 description 1
- 210000003205 muscle Anatomy 0.000 description 1
- 230000033764 rhythmic process Effects 0.000 description 1
- 238000005201 scrubbing Methods 0.000 description 1
Images
Landscapes
- Cleaning In General (AREA)
- Brushes (AREA)
Abstract
本实用新型公开了一种自动喷水刷洗器,包括刷头和操作杆,所述刷头设置在操作杆的前端;此外,还包括供水箱,该供水箱包括箱体、加水口、具有进水口和出水口的供水控制机构;所述操作杆内轴向贯穿设置有供水管;所述供水管的后端与供水控制机构的出水口连通,其前端到达所述刷头。本实用新型在使用过程中,通过供水控制机构将清洗水经操作杆内的供水管直接供给到刷头上,无需反复来回操作,既可方便快捷地完成清洁作业,保证了清洁质量,而且大幅度缩短了劳动时间、降低了劳动强度。同时,功能多样,可灵活选择,能够满足使用者不同的需求,适用于不同的场所。
Description
技术领域
本实用新型涉及一种清洁工具,尤其涉及一种使用水进行清洁的刷洗器。
背景技术
目前,家庭或公共场所使用的刷洗工具,一般都是由刷头(为毛制品或海绵制品等)和操作杆组成。在使用过程中,首先需要将刷头伸进水桶浸湿,然后再拿出对需要清洁的物品如玻璃窗、卷闸门、瓷砖等等进行刷洗。采用这种方式,刷头所带的清洗水往往很快就流失掉,因此不仅刷洗效果差,高处难以清洁,而且操作繁琐吃力,需要将刷头反复来回伸进、拿出水桶,然后再举高清洗,一次清洁操作往往需要重复多次这样的动作。劳动效率低下,操作时间长,消耗了使用者大量的体力,增加了劳动强度。
实用新型内容
本实用新型的目的在于克服现有技术的不足,提供一种方便高效、操作轻松快捷,清洁效果好的自动喷水刷洗器。
本实用新型的目的通过以下技术方案予以实现:
本实用新型提供的一种自动喷水刷洗器,包括刷头和操作杆,所述刷头设置在操作杆的前端;此外,还包括供水箱,该供水箱包括箱体、加水口、具有进水口和出水口的供水控制机构;所述操作杆内轴向贯穿设置有供水管;所述供水管的后端与供水控制机构的出水口连通,其前端到达所述刷头。本实用新型在使用过程中,通过供水控制机构将清洗水经操作杆内的供水管直接供给到刷头上,无需反复来回操作,即可方便快捷地完成清洁作业。
本实用新型的供水控制机构可采取气压或电动的方式实现供水。当采用气压方式时,本实用新型所述供水控制机构包括气泵、水阀开关和水管,所述水管设置在箱体内,其一端作为进水口置于箱体底部,另一端连接在所述水阀开关上,该水阀开关设置在箱体顶部,并作为出水口连接到操作杆内供水管的后端。此时,箱体内水面的上方需要留有一定的空间,使用气泵打入气体后,打开水阀开关,箱体内的水则从水管经水阀开关和操作杆内的供水管到达刷头。
当采用电动的方式时,本实用新型所述供水箱的箱体分为蓄水室和控制室,所述供水控制机构设置在控制室内,包括电泵和电源插头,电泵的进水口与蓄水室连通,其出水口连通到操作杆内供水管的后端;所述操作杆上设置有连接控制电泵的供水开关;所述蓄水室顶部设有通气孔。此时,接通电源后,打开供水开关,电泵运转,将箱体内的清洗水泵入操作杆内的供水管,然后到达刷头。当某些场所不方便使用电源插座时,可以采用电池供电的方法,为此本实用新型所述供水控制机构还可以包括电池和充电器,所述电泵电性连接到电池上。
为提高供水功能及其使用的灵活性,以满足不同的使用需求,本实用新型还可以将气压或电动的方式结合为一体。为此,本实用新型所述蓄水室还可以设置有气泵、水阀开关和水管,所述水管设置在蓄水室内,其一端作为进水口置于蓄水室底部,另一端连接在所述水阀开关上,该水阀开关设置在蓄水室顶部,并作为出水口连接到操作杆内供水管的后端。需要使用气压方式时,关闭蓄水室顶部的通气孔,并使水面留有一定的空间。使用电动方式时,则需打开蓄水室顶部的通气孔。
此外,本实用新型所述刷头可以通过托架设置在操作杆的前端,该托架与操作杆为可拆卸式连接,以方便更换不同类型的刷头;所述供水管的前端还设有喷头,使刷头的水量分布均匀。具体地可采用以下方式:所述供水管前端的喷头可以设在刷头上,此时刷头是固定不动的;或者,所述刷头也可以为圆筒型并通过转轴设置在托架上,供水管前端的喷头设置在刷头的外围;所述托架上还设置有刷头电机,转轴的一端与刷头电机连接,其另一端设有紧固螺母;所述刷头电机的控制开关设置在操作杆上,电线贯穿在操作杆内。打开刷头电机的控制开关时,刷头可以由刷头电机驱动自动滚动刷洗,无需使用者来回推动。另外,也可以根据需要关闭刷头电机的控制开关,将紧固螺母拧紧,刷头则固定不动。
为方便携带,并获得不同的使用长度,本实用新型所述操作杆及其内的供水管分为二段,二段之间还设置有一条或一条以上内有供水管的加长杆,操作杆与加长杆之间、以及加长杆之间通过连接套可拆卸式连接,其内的供水管通过水管连接头可拆卸式连接。
当采用带有电机可滚动的刷头时,本实用新型所述操作杆及其内的供水管和电线分为二段,二段之间还设置有一条或一条以上内有供水管和电线的加长杆,操作杆与加长杆之间、以及加长杆之间通过连接套可拆卸式连接,其内的供水管以及电线分别通过水管连接头和电线连接头可拆卸式连接。
本实用新型具有以下有益效果:
(1)在清洗过程中,可自动向刷头持续供水,使用方便快捷,能够适应现代社会人们快速的生活节奏。
(2)使用方便灵活,清洗效果好,保证了清洁质量,而且大大提高了工作效率。
(3)轻松省时,节水省力,大幅度缩短了劳动时间、降低了劳动强度。
(4)功能多样,可灵活选择,能够满足使用者不同的需求,适用于不同的场所。
附图说明
下面将结合实施例和附图对本实用新型作进一步的详细描述:
图1是本实用新型实施之一的结构示意图;
图2是本实用新型实施之二的结构示意图之一;
图3是本实用新型实施之二的结构示意图之二;
图4是本实用新型实施之三的结构示意图;
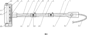
图5是本实用新型实施之四中刷头和操作杆的结构示意图;
图6是本实用新型实施之五、六中刷头和操作杆的结构示意图。
图中:刷头1,操作杆2,供水箱3,箱体4,蓄水室4a,控制室4b,加水口5,加水口盖子5a,托架6,供水管7,喷头7a,加长杆8,连接套9,紧固码10,水管连接头11,气泵12,水阀开关13,水管14,连接软管15、26,滚轮16,拉环17,拉绳18,电泵19,电泵进水口19a,电泵出水口19b,电源插头20,供水开关21,电线22、31,通气孔23,电池24,充电器25,转轴27,刷头电机28,紧固螺母29,控制开关30,电线连接头32
具体实施方式
实施例一:
图1所示为本实用新型的实施例之一,包括刷头1、操作杆2和供水箱3,该供水箱3包括箱体4、加水口5、具有进水口和出水口的供水控制机构。
如图1所示,刷头1通过托架6可拆卸式(如螺纹)连接在操作杆2的前端。操作杆2内轴向贯穿设置有供水管7,供水管7的前端还设有喷头7a,该喷头7a设在刷头1上。操作杆2及其内的供水管7分为二段,二段之间还设置有一条内有供水管7的加长杆8(也可以根据需要加设多条,以获得不同的使用长度),操作杆2与加长杆8之间、以及加长杆8之间通过连接套9可拆卸式连接,并通过紧固码10固定,其内的供水管7通过水管连接头11可拆卸式连接。
如图1所示,供水控制机构包括气泵12、水阀开关13和水管14,水管14设置在箱体4内,其一端作为进水口置于箱体4底部,另一端连接在水阀开关13上,该水阀开关13设置在箱体4顶部,并作为出水口通过连接软管15连接到操作杆2内供水管7的后端。
工作时,箱体4内蓄水时需要留有1/4以上的容积空间以便蓄气,并盖紧加水口5,使用气泵12打足气。然后打开水阀开关13,水在强气压下通过水管14和水阀开关13,经连接软管15输送到操作杆2内的供水管7。然后由前端喷头8向刷头1供水。此外,也可以将刷头1和托架6拆卸下来,将操作杆2作为水枪使用。
为携带方便,不使用时可以将刷头1和托架6、操作杆2和加长杆8拆开来。同时,供水箱其箱体4的底部可以安装滚轮16,前部安装拉环17和拉绳18,以方便搬运。
实施例二:
图2和图3所示为本实用新型的实施例之二,与实施例一不同之处在于:如图2所示,供水箱的箱体4分为蓄水室4a和控制室4b,供水控制机构设置在控制室4b内,包括电泵19、电源插头20和供水开关21,电泵19的进水口19a与蓄水室4a连通,其出水口19b通过连接软管15连通到操作杆2内供水管7的后端;供水开关21设置在操作杆2的后端,并通过电线22连接控制电泵19。蓄水室4a顶部设有通气孔23(该通气孔23也可以设在加水口的盖子5a上)以便通大气,或者使用时打开加水口5的盖子5a。此时,接通电源后,打开供水开关21,电泵19运转,箱体内的清洗水则经连接软管15输送到操作杆2内的供水管7。此种方式适用于家庭、办公室等方便使用电源插座的场所。另外,电源插头20也可以采用汽车点烟器的形式,以方便清洗汽车时使用。
此外,当某些场所不方便使用电源插座时,可以采用电池供电的方法,如图3所示,供水控制机构还包括电池24和充电器25,电泵19电性连接到电池24上。
实施例三:
图4所示为本实用新型的实施例之三,与实施例二不同之处在于:如图4所示,供水箱的蓄水室4a还设置有气泵12、水阀开关13和水管14,水管14设置在蓄水室4a内,其一端作为进水口置于蓄水室4a底部,另一端连接在水阀开关13上,该水阀开关13设置在蓄水室4a顶部,并通过连接软管26与电泵出水口19b的连接软管15连通。
需要使用气压送水时,其工作原理同实施例一。需要使用电泵送水时,其工作原理同实施例二。
实施例四、五、六:
图5和图6所示分别为本实用新型实施例之四和实施例之五、六中的刷头和操作杆。
实施例四、五、六分别与实施例一、二、三不同之处在于:如图5和图6所示,刷头1为圆筒型并通过转轴27设置在托架6上,供水管7前端的喷头7a设置在刷头1的外围;托架6上还设置有刷头电机28,转轴27的一端与刷头电机28的输出轴连接,其另一端设有紧固螺母29;刷头电机28的控制开关30设置在操作杆2的后端,电线31贯穿在操作杆2内。打开刷头电机28的控制开关30时,刷头1可以由刷头电机28驱动自动滚动刷洗,无需使用者来回推动。另外,也可以根据需要关闭刷头电机28的控制开关30,将紧固螺母29拧紧,刷头1则固定不动。
操作杆2及其内的供水管7和电线31分为二段,二段之间还设置有一条内有供水管7和电线31的加长杆8(也可以根据需要加设多条,以获得不同的使用长度)。操作杆2与加长杆8之间、以及加长杆8之间通过连接套9可拆卸式连接,并通过紧固码10固定,其内的供水管7以及电线31分别通过水管连接头11和电线连接头32可拆卸式连接。
Claims (10)
1、一种自动喷水刷洗器,包括刷头(1)和操作杆(2),所述刷头(1)设置在操作杆(2)的前端;其特征在于:还包括供水箱(3),该供水箱包括箱体(4)、加水口(5)、具有进水口和出水口的供水控制机构;所述操作杆(2)内轴向贯穿设置有供水管(7);所述供水管(7)的后端与供水控制机构的出水口连通,其前端到达所述刷头(1)。
2、根据权利要求1所述的自动喷水刷洗器,其特征在于:所述供水控制机构包括气泵(12)、水阀开关(13)和水管(14),所述水管(14)设置在箱体(4)内,其一端作为进水口置于箱体(4)底部,另一端连接在所述水阀开关(13)上,该水阀开关设置在箱体(4)顶部,并作为出水口连接到操作杆(2)内供水管(7)的后端。
3、根据权利要求1所述的自动喷水刷洗器,其特征在于:所述供水箱的箱体(4)分为蓄水室(4a)和控制室(4b),所述供水控制机构设置在控制室(4b)内,包括电泵(19)和电源插头(20),电泵的进水口(19a)与蓄水室(4a)连通,其出水口(19b)连通到操作杆(2)内供水管(7)的后端;所述操作杆(2)上设置有连接控制电泵(19)的供水开关(21);所述蓄水室(4a)顶部设有通气孔(23)。
4、根据权利要求3所述的自动喷水刷洗器,其特征在于:所述供水控制机构还包括电池(24)和充电器(25),所述电泵(19)电性连接到电池(25)上。
5、根据权利要求3或4所述的自动喷水刷洗器,其特征在于:所述蓄水室(4a)还设置有气泵(12)、水阀开关(13)和水管(14),所述水管(14)设置在蓄水室(4a)内,其一端作为进水口置于蓄水室(4a)底部,另一端连接在所述水阀开关(13)上,该水阀开关(13)设置在蓄水室(4a)顶部,并作为出水口连接到操作杆(2)内供水管(7)的后端。
6、根据权利要求1所述的自动喷水刷洗器,其特征在于:所述刷头(1)通过托架(6)设置在操作杆(2)的前端,该托架(6)与操作杆(2)为可拆卸式连接;所述供水管(7)的前端还设有喷头(7a)。
7、根据权利要求6所述的自动喷水刷洗器,其特征在于:所述供水管前端的喷头(7a)设在刷头(1)上。
8、根据权利要求6所述的自动喷水刷洗器,其特征在于:所述刷头(1)为圆筒型并通过转轴(27)设置在托架(6)上,供水管前端的喷头(7a)设置在刷头(1)的外围;所述托架(6)上还设置有刷头电机(28),转轴(27)的一端与刷头电机(28)连接,其另一端设有紧固螺母(29);所述刷头电机(28)的控制开关(30)设置在操作杆(2)上,电线(31)贯穿在操作杆(2)内。
9、根据权利要求1所述的自动喷水刷洗器,其特征在于:所述操作杆(2)及其内的供水管(7)分为二段,二段之间还设置有一条或一条以上内有供水管(7)的加长杆(8),操作杆(2)与加长杆(8)之间、以及加长杆(8)之间通过连接套(9)可拆卸式连接,其内的供水管(7)通过水管连接头(11)可拆卸式连接。
10、根据权利要求8所述的自动喷水刷洗器,其特征在于:所述操作杆(2)及其内的供水管(7)和电线(31)分为二段,二段之间还设置有一条或一条以上内有供水管(7)和电线(31)的加长杆(8),操作杆(2)与加长杆(8)之间、以及加长杆(8)之间通过连接套(9)可拆卸式连接,其内的供水管(7)以及电线(31)分别通过水管连接头(11)和电线连接头(32)可拆卸式连接。
Priority Applications (1)
| Application Number | Priority Date | Filing Date | Title |
|---|---|---|---|
| CNU2007200483248U CN201002086Y (zh) | 2007-02-06 | 2007-02-06 | 一种自动喷水刷洗器 |
Applications Claiming Priority (1)
| Application Number | Priority Date | Filing Date | Title |
|---|---|---|---|
| CNU2007200483248U CN201002086Y (zh) | 2007-02-06 | 2007-02-06 | 一种自动喷水刷洗器 |
Publications (1)
| Publication Number | Publication Date |
|---|---|
| CN201002086Y true CN201002086Y (zh) | 2008-01-09 |
Family
ID=39037629
Family Applications (1)
| Application Number | Title | Priority Date | Filing Date |
|---|---|---|---|
| CNU2007200483248U Expired - Fee Related CN201002086Y (zh) | 2007-02-06 | 2007-02-06 | 一种自动喷水刷洗器 |
Country Status (1)
| Country | Link |
|---|---|
| CN (1) | CN201002086Y (zh) |
Cited By (4)
| Publication number | Priority date | Publication date | Assignee | Title |
|---|---|---|---|---|
| CN102513310A (zh) * | 2011-11-30 | 2012-06-27 | 浙江工业大学 | 一种环境清洁工具 |
| CN105537156A (zh) * | 2015-12-10 | 2016-05-04 | 河海大学常州校区 | 一种槽式太阳能聚光器镜面清洗装置 |
| CN106491049A (zh) * | 2016-11-28 | 2017-03-15 | 常州信息职业技术学院 | 清扫电器 |
| CN108392148A (zh) * | 2017-02-08 | 2018-08-14 | 深圳市智意科技有限公司 | 水箱结构及智能扫地机 |
-
2007
- 2007-02-06 CN CNU2007200483248U patent/CN201002086Y/zh not_active Expired - Fee Related
Cited By (5)
| Publication number | Priority date | Publication date | Assignee | Title |
|---|---|---|---|---|
| CN102513310A (zh) * | 2011-11-30 | 2012-06-27 | 浙江工业大学 | 一种环境清洁工具 |
| CN105537156A (zh) * | 2015-12-10 | 2016-05-04 | 河海大学常州校区 | 一种槽式太阳能聚光器镜面清洗装置 |
| CN106491049A (zh) * | 2016-11-28 | 2017-03-15 | 常州信息职业技术学院 | 清扫电器 |
| CN106491049B (zh) * | 2016-11-28 | 2018-11-27 | 常州信息职业技术学院 | 清扫电器 |
| CN108392148A (zh) * | 2017-02-08 | 2018-08-14 | 深圳市智意科技有限公司 | 水箱结构及智能扫地机 |
Similar Documents
| Publication | Publication Date | Title |
|---|---|---|
| CN203805865U (zh) | 一种洗车器 | |
| CN201002086Y (zh) | 一种自动喷水刷洗器 | |
| CN203943619U (zh) | 一种电动擦玻璃器 | |
| CN205831417U (zh) | 多功能家居擦洗装置 | |
| CN211538712U (zh) | 直流清洗机 | |
| CN203472814U (zh) | 一种多头旋转双喷枪电动通水刷 | |
| CN214842738U (zh) | 一种暖通管道水垢清理装置 | |
| CN103419758A (zh) | 一种多头旋转双喷枪电动通水刷 | |
| CN203256646U (zh) | 电动护栏清洁工具 | |
| CN204616662U (zh) | 养貂笼清洗器 | |
| CN202932302U (zh) | 一种多功能餐具洗涤刷 | |
| CN103989441A (zh) | 电动擦玻璃器 | |
| CN211802686U (zh) | 一种新能源汽车配件加工清洗设备 | |
| CN210506534U (zh) | 电镀件刷洗装置 | |
| CN2582451Y (zh) | 自动喷水式电动刷子 | |
| CN209186575U (zh) | 一种厕所清洁装置 | |
| CN221476178U (zh) | 3d打印模型清洗系统 | |
| CN222804033U (zh) | 一种带水箱的清洁刷 | |
| CN222241621U (zh) | 一种电缆生产用电缆表面清洗装置 | |
| CN221356740U (zh) | 一种双滚刷的清洁机地刷喷水结构 | |
| CN204077624U (zh) | 一种喷水式电动擦洗器 | |
| CN211280965U (zh) | 手持式多功能电动清洗机 | |
| CN200960109Y (zh) | 沙粒洗碗机 | |
| CN201511008U (zh) | 节水型多用途清洗器 | |
| CN204998509U (zh) | 一种手持电动多功能洗车器 |
Legal Events
| Date | Code | Title | Description |
|---|---|---|---|
| C14 | Grant of patent or utility model | ||
| GR01 | Patent grant | ||
| C17 | Cessation of patent right | ||
| CF01 | Termination of patent right due to non-payment of annual fee |
Granted publication date: 20080109 Termination date: 20100206 |