CN116240886A - Device and construction method for adjusting concentricity of auxiliary prestressed anchor bolt assembly - Google Patents
Device and construction method for adjusting concentricity of auxiliary prestressed anchor bolt assembly Download PDFInfo
- Publication number
- CN116240886A CN116240886A CN202310158767.6A CN202310158767A CN116240886A CN 116240886 A CN116240886 A CN 116240886A CN 202310158767 A CN202310158767 A CN 202310158767A CN 116240886 A CN116240886 A CN 116240886A
- Authority
- CN
- China
- Prior art keywords
- concentricity
- steel wire
- steel
- anchor plate
- wire rope
- Prior art date
- Legal status (The legal status is an assumption and is not a legal conclusion. Google has not performed a legal analysis and makes no representation as to the accuracy of the status listed.)
- Pending
Links
Images
Classifications
-
- E—FIXED CONSTRUCTIONS
- E02—HYDRAULIC ENGINEERING; FOUNDATIONS; SOIL SHIFTING
- E02D—FOUNDATIONS; EXCAVATIONS; EMBANKMENTS; UNDERGROUND OR UNDERWATER STRUCTURES
- E02D5/00—Bulkheads, piles, or other structural elements specially adapted to foundation engineering
- E02D5/74—Means for anchoring structural elements or bulkheads
- E02D5/80—Ground anchors
-
- E—FIXED CONSTRUCTIONS
- E02—HYDRAULIC ENGINEERING; FOUNDATIONS; SOIL SHIFTING
- E02D—FOUNDATIONS; EXCAVATIONS; EMBANKMENTS; UNDERGROUND OR UNDERWATER STRUCTURES
- E02D27/00—Foundations as substructures
- E02D27/32—Foundations for special purposes
- E02D27/44—Foundations for machines, engines or ordnance
-
- E—FIXED CONSTRUCTIONS
- E02—HYDRAULIC ENGINEERING; FOUNDATIONS; SOIL SHIFTING
- E02D—FOUNDATIONS; EXCAVATIONS; EMBANKMENTS; UNDERGROUND OR UNDERWATER STRUCTURES
- E02D33/00—Testing foundations or foundation structures
-
- E—FIXED CONSTRUCTIONS
- E02—HYDRAULIC ENGINEERING; FOUNDATIONS; SOIL SHIFTING
- E02D—FOUNDATIONS; EXCAVATIONS; EMBANKMENTS; UNDERGROUND OR UNDERWATER STRUCTURES
- E02D35/00—Straightening, lifting, or lowering of foundation structures or of constructions erected on foundations
-
- Y—GENERAL TAGGING OF NEW TECHNOLOGICAL DEVELOPMENTS; GENERAL TAGGING OF CROSS-SECTIONAL TECHNOLOGIES SPANNING OVER SEVERAL SECTIONS OF THE IPC; TECHNICAL SUBJECTS COVERED BY FORMER USPC CROSS-REFERENCE ART COLLECTIONS [XRACs] AND DIGESTS
- Y02—TECHNOLOGIES OR APPLICATIONS FOR MITIGATION OR ADAPTATION AGAINST CLIMATE CHANGE
- Y02E—REDUCTION OF GREENHOUSE GAS [GHG] EMISSIONS, RELATED TO ENERGY GENERATION, TRANSMISSION OR DISTRIBUTION
- Y02E10/00—Energy generation through renewable energy sources
- Y02E10/70—Wind energy
- Y02E10/72—Wind turbines with rotation axis in wind direction
Landscapes
- Engineering & Computer Science (AREA)
- Structural Engineering (AREA)
- Life Sciences & Earth Sciences (AREA)
- General Life Sciences & Earth Sciences (AREA)
- Mining & Mineral Resources (AREA)
- Paleontology (AREA)
- Civil Engineering (AREA)
- General Engineering & Computer Science (AREA)
- Conveying And Assembling Of Building Elements In Situ (AREA)
Abstract
一种辅助预应力锚栓组合件调整同心度的装置,解决了现在同心度调整施工繁琐,费时费力,不能够快速有效实现预应力锚栓组合件同心度调整的问题。其包括多组拉固装置,拉固装置包括钢丝绳、紧线器和固定钢钎,上锚板与固定钢钎之间通过钢丝绳与紧线器连接。通过本发明的应用能够快速实现锚栓组合件同心度的调整,若采用常规方法进行调整需要人工4人,汽车吊1台,时间为4小时,采用新方案后能够在30分钟内完成同心度调整,与常规方法相比投入小、效率高、速度快,节省成本,进而也降低了施工难度。
A device for assisting the adjustment of the concentricity of the prestressed anchor bolt assembly solves the problems that the current concentricity adjustment construction is cumbersome, time-consuming and laborious, and the concentricity adjustment of the prestressed anchor bolt assembly cannot be quickly and effectively realized. It includes multiple sets of tensioning devices, the tensioning devices include steel wire ropes, wire tensioners and fixed steel drills, and the upper anchor plate and the fixed steel drills are connected to the wire tensioners through steel wire ropes. The application of the present invention can quickly realize the adjustment of the concentricity of the anchor bolt assembly. If the conventional method is used to adjust the concentricity, 4 people and 1 car crane are required for 4 hours. After adopting the new solution, the concentricity can be completed within 30 minutes. Compared with the conventional method, the adjustment has small investment, high efficiency, fast speed, cost saving, and thus reduces the difficulty of construction.
Description
技术领域technical field
本发明涉及预应力锚栓组合件同心度调整技术领域,尤其涉及一种辅助预应力锚栓组合件调整同心度的装置及施工方法。The invention relates to the technical field of concentricity adjustment of prestressed anchor bolt assemblies, in particular to a device and a construction method for assisting prestressed anchor bolt assemblies to adjust concentricity.
背景技术Background technique
近年来,随着人们用电需求的不断增加,水电、风电、核电等清洁能源得到广泛的普及,越来越多的大型发电设施不断涌现。在这个过程中会用到预应力锚栓,目前,预应力锚栓组合件同心度调整的方法主要有安装定位龙骨法和吊车辅助调整等方法,上述方法施工繁琐,费时费力,不能够快速有效的实现预应力锚栓组合件同心度的调整。In recent years, with the continuous increase of people's demand for electricity, clean energy such as hydropower, wind power, and nuclear power has been widely popularized, and more and more large-scale power generation facilities have emerged. Prestressed anchor bolts will be used in this process. At present, the methods for adjusting the concentricity of prestressed anchor bolt assemblies mainly include the installation and positioning keel method and the auxiliary adjustment of cranes. The above methods are cumbersome to construct, time-consuming and laborious, and cannot be fast and effective Realize the adjustment of the concentricity of the prestressed anchor bolt assembly.
发明内容Contents of the invention
针对上述情况,为克服现有技术的缺陷,本发明提供一种辅助预应力锚栓组合件调整同心度的装置及其施工方法,有效的解决了现在同心度调整施工繁琐,费时费力,不能够快速有效实现预应力锚栓组合件同心度调整的问题。In view of the above situation, in order to overcome the defects of the prior art, the present invention provides a device for adjusting the concentricity of the auxiliary prestressed anchor bolt assembly and its construction method, which effectively solves the cumbersome construction of the current concentricity adjustment, which is time-consuming and labor-intensive, and cannot The problem of quickly and effectively realizing the concentricity adjustment of the prestressed anchor bolt assembly.
为实现上述目的,本发明的技术方案为:一种辅助预应力锚栓组合件调整同心度的装置,包括多组拉固装置,拉固装置包括钢丝绳、紧线器和固定钢钎,上锚板与固定钢钎之间通过钢丝绳与紧线器连接。In order to achieve the above object, the technical solution of the present invention is: a device for adjusting the concentricity of the auxiliary prestressed anchor bolt assembly, including multiple sets of tensioning devices, the tensioning devices include steel wire ropes, wire tensioners and fixed steel brazes, and the anchors The plate and the fixed steel drill are connected with a wire tensioner through a wire rope.
优选的,所述钢丝绳的数量为四根,其中三根钢丝绳成120°夹角形式分布,第四根钢丝绳与锚栓组合件偏移方向成相反方向布置。Preferably, the number of the steel wire ropes is four, among which three steel wire ropes are arranged at an angle of 120°, and the fourth steel wire rope is arranged in the opposite direction to the offset direction of the anchor bolt assembly.
优选的,所述固定钢钎的数量为四根。Preferably, the number of the fixed steel rods is four.
优选的,所述紧线器数量为四个,钢丝绳与固定钢钎之间采用紧线器连接。Preferably, the number of the wire tighteners is four, and the wire rope is connected to the fixed steel brazing rod by a wire tightener.
一种辅助预应力锚栓组合件调整同心度的施工方法,包括如下步骤:A construction method for adjusting the concentricity of an auxiliary prestressed anchor bolt assembly, comprising the following steps:
S1,将预应力锚栓组合件按要求安装完成,安装完成后根据现场实际场地确定前三根拉固装置的方位,使拉固装置位置与风机基础箱变、人行通道、排水通道等错开布置;S1, complete the installation of the prestressed anchor bolt assembly according to the requirements. After the installation is completed, determine the orientation of the first three anchoring devices according to the actual site, so that the positions of the anchoring devices are staggered from the fan base box substation, pedestrian passages, and drainage passages;
S2,根据现场确定的方位,测量人员使用高精度全站仪在基础上锚板上定位出拉固装置连接点,三个点位按120°角均匀布设;S2, according to the location determined on site, surveyors use a high-precision total station to locate the connection point of the tensioning device on the anchor plate of the foundation, and the three points are evenly arranged at an angle of 120°;
S3,根据上锚板定出的拉固装置连接点位,使用全站仪在基坑周边定出固定钢钎位置,保证三根固定钢钎位置与上锚板三个钢筋连接点位置一一对应;S3, according to the connection point position of the tensioning device determined by the upper anchor plate, use the total station to determine the fixed steel brazing position around the foundation pit, to ensure that the positions of the three fixed steel brazes correspond to the positions of the three steel bar connection points on the upper anchor plate ;
S4,按照定出的钢钎位置,将三根钢钎打入基础周边土体中,并保证其安全稳固、具有一定的抗拔力;S4, drive three steel rods into the soil around the foundation according to the determined steel rod positions, and ensure that they are safe, stable and have a certain pull-out resistance;
S5,将三根钢丝绳按照确定的位置,一端与上锚板连接,另一端使用紧线器与固定钢钎连接固定;S5, according to the determined position, one end of the three wire ropes is connected with the upper anchor plate, and the other end is connected and fixed with the fixed steel brazing with a wire tensioner;
S6,钢丝绳连接完成后,测量人员进行锚板同心度测量,根据测量结果将三根钢丝绳不同程度的拉紧;S6, after the steel wire ropes are connected, the surveyors measure the concentricity of the anchor plate, and tension the three steel wire ropes to varying degrees according to the measurement results;
S7,测量人员对上下锚板同心度进行复测,找出锚栓笼整体偏移方向,按照锚栓笼整体偏移的相反的方向,使用全站仪在上锚板定出钢丝绳连接位置,在基坑周边定出第四根固定钢钎位置;S7, the surveyor retests the concentricity of the upper and lower anchor plates, finds out the overall offset direction of the anchor bolt cage, and uses the total station to determine the connection position of the wire rope on the upper anchor plate according to the opposite direction of the overall offset of the anchor bolt cage. Determine the fourth fixed steel drill position around the foundation pit;
S8,将第四根钢钎打入已确定出的点位上,然后将第四根钢丝绳一端与上锚板连接点连接,另一端使用紧线器与第四根钢钎连接;S8, drive the fourth steel rod into the determined point, then connect one end of the fourth steel wire rope to the connection point of the upper anchor plate, and connect the other end to the fourth steel rod using a wire tensioner;
S9,第四根钢丝绳连接完成后慢慢拉紧钢丝绳,紧固钢丝绳过程中测量人员对锚板同心度进行持续测量,直到同心度满足要求后停止钢丝绳的紧固;S9, after the connection of the fourth steel wire rope is completed, slowly tighten the steel wire rope. During the process of fastening the steel wire rope, the measuring personnel continuously measure the concentricity of the anchor plate, and stop the fastening of the steel wire rope until the concentricity meets the requirements;
S10,锚板同心度调整完成后,检查所有钢丝绳的连接,确保所有钢丝绳都安全紧固有效。S10, after the concentricity adjustment of the anchor plate is completed, check the connection of all wire ropes to ensure that all wire ropes are securely fastened and effective.
优选的,还包括如下步骤:在风机基础钢筋安装完成后、风机基础混凝土浇筑前都要对锚板同心度进行复测,如发现锚板同心度偏移,及时调整偏移相反方向的钢丝绳,使锚板同心度符合要求。Preferably, the following steps are also included: re-testing the concentricity of the anchor plate after the installation of the fan foundation reinforcement and before the concrete pouring of the fan foundation. Make the concentricity of the anchor plate meet the requirements.
通过本发明的应用能够快速实现锚栓组合件同心度的调整,若采用常规方法进行调整需要人工4人,汽车吊1台,时间为4小时,采用新方案后能够在30分钟内完成同心度调整,与常规方法相比投入小、效率高、速度快,节省成本,进而也降低了施工难度。Through the application of the present invention, the concentricity adjustment of the anchor bolt assembly can be quickly realized. If the conventional method is used to adjust the concentricity, it needs 4 manual workers, 1 car crane, and the time is 4 hours. After adopting the new scheme, the concentricity can be completed within 30 minutes. Compared with the conventional method, the adjustment has small investment, high efficiency, fast speed, cost saving, and thus reduces the difficulty of construction.
附图说明Description of drawings
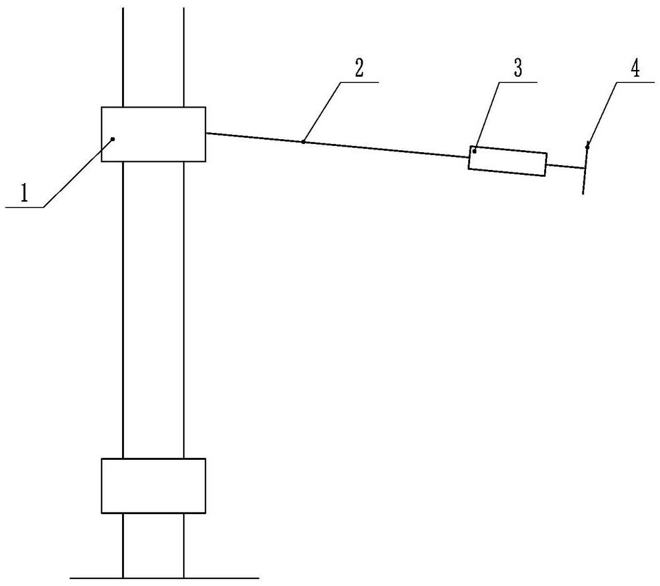
图1为本发明拉固装置结构示意图;Fig. 1 is a structural schematic diagram of the tensioning device of the present invention;
图2为本发明拉固装置平面结构示意图。Fig. 2 is a schematic plan view of the structure of the tensioning device of the present invention.
具体实施方式Detailed ways
现在结合附图对本发明作进一步详细的说明。附图为简化的示意图,仅以示意方式说明本发明的基本结构,因此其仅显示与本发明有关的构成。The present invention is described in further detail now in conjunction with accompanying drawing. The accompanying drawings are simplified schematic diagrams, which only schematically illustrate the basic structure of the present invention, so that they only show the components relevant to the present invention.
如图1-2所示,一种辅助预应力锚栓组合件调整同心度的装置,包括多组拉固装置,拉固装置包括钢丝绳2、紧线器3和固定钢钎4,上锚板1与固定钢钎4之间通过钢丝绳2与紧线器3连接。As shown in Figure 1-2, a device for adjusting the concentricity of the auxiliary prestressed anchor bolt assembly, including multiple sets of tensioning devices, the tensioning device includes a
所述钢丝绳2的数量为四根,其中三根钢丝绳2成120°夹角形式分布,第四根钢丝绳2与锚栓组合件偏移方向成相反方向布置。The number of said
钢丝绳2的作用是连接锚栓组合件上锚板1和固定钢钎4。The effect of
所述固定钢钎4的数量为四根。The number of the fixed
固定钢钎4的布置与钢丝绳2位置相匹配,作用是起固定作用。The arrangement of fixed
所述紧线器3数量为四个,钢丝绳2与固定钢钎4之间采用紧线器3连接。The number of said
紧线器3的作用是调整锚栓组合件的方向。The effect of the
一种辅助预应力锚栓组合件调整同心度的施工方法,包括如下步骤:A construction method for adjusting the concentricity of an auxiliary prestressed anchor bolt assembly, comprising the following steps:
S1,将预应力锚栓组合件按要求安装完成,安装完成后根据现场实际场地确定前三根拉固装置的方位,使拉固装置位置与风机基础箱变、人行通道、排水通道等错开布置;S1, complete the installation of the prestressed anchor bolt assembly according to the requirements. After the installation is completed, determine the orientation of the first three anchoring devices according to the actual site, so that the positions of the anchoring devices are staggered from the fan base box substation, pedestrian passages, and drainage passages;
S2,根据现场确定的方位,测量人员使用高精度全站仪在基础上锚板1上定位出拉固装置连接点,三个点位按120°角均匀布设;S2, according to the location determined on site, surveyors use a high-precision total station to locate the connection point of the tensioning device on the
S3,根据上锚板1定出的拉固装置连接点位,使用全站仪在基坑周边定出固定钢钎4位置,保证三根固定钢钎4位置与上锚板1三个钢筋连接点位置一一对应;S3, according to the connection points of the tensioning device determined by the
S4,按照定出的钢钎位置,将三根钢钎打入基础周边土体中,并保证其安全稳固、具有一定的抗拔力;S4, drive three steel rods into the soil around the foundation according to the determined steel rod positions, and ensure that they are safe, stable and have a certain pull-out resistance;
S5,将三根钢丝绳2按照确定的位置,一端与上锚板1连接,另一端使用紧线器3与固定钢钎4连接固定;S5, connect the three
S6,钢丝绳2连接完成后,测量人员进行锚板同心度测量,根据测量结果将三根钢丝绳2不同程度的拉紧;S6, after the
S7,测量人员对上下锚板同心度进行复测,找出锚栓笼整体偏移方向,按照锚栓笼整体偏移的相反的方向,使用全站仪在上锚板1定出钢丝绳2连接位置,在基坑周边定出第四根固定钢钎4位置;S7, the surveyor retests the concentricity of the upper and lower anchor plates, finds out the overall offset direction of the anchor bolt cage, and uses the total station to determine the connection of the
S8,将第四根钢钎打入已确定出的点位上,然后将第四根钢丝绳2一端与上锚板1连接点连接,另一端使用紧线器3与第四根钢钎连接;S8, drive the fourth steel brazing into the determined point, then connect one end of the fourth
S9,第四根钢丝绳2连接完成后慢慢拉紧钢丝绳2,紧固钢丝绳2过程中测量人员对锚板同心度进行持续测量,直到同心度满足要求后停止钢丝绳2的紧固;S9, after the connection of the fourth
S10,锚板同心度调整完成后,检查所有钢丝绳2的连接,确保所有钢丝绳2都安全紧固有效。S10, after the concentricity adjustment of the anchor plate is completed, check the connections of all the
还包括如下步骤:在风机基础钢筋安装完成后、风机基础混凝土浇筑前都要对锚板同心度进行复测,如发现锚板同心度偏移,及时调整偏移相反方向的钢丝绳2,使锚板同心度符合要求。It also includes the following steps: after the fan foundation reinforcement is installed and before the fan foundation concrete is poured, the concentricity of the anchor plate must be retested. If the concentricity of the anchor plate is found to be offset, adjust the
殿堂风电场二期项目位于广西壮族自治区桂林市兴安县境内,工程总装机量为80MW,包含单机容量4W的风机20台,风机基础均采用预应力锚栓组合件形式,本发明以此项目为依托,在预应力锚栓组合件安装完成后,在基坑开挖边外侧布设三根固定钢钎4,固定钢钎4沿基坑周边成120°角均匀布设,钢钎布设完成后,采用三根钢丝绳2和紧线器3将上锚板1与固定钢钎4进行连接,连接完成后利用紧线器3进行预紧固,采用高精度全站仪进行同心度复测,根据复测结果找出组合件的偏移方向,在其相反方向布设第四根拉固装置,利用第四根拉固装置对同心度进行调整。The second phase project of Diantang Wind Farm is located in Xing'an County, Guilin City, Guangxi Zhuang Autonomous Region. The total installed capacity of the project is 80MW, including 20 wind turbines with a single capacity of 4W. The foundations of the wind turbines are all in the form of prestressed anchor bolt assemblies. Relying, after the installation of the prestressed anchor bolt assembly is completed, three fixed
锚栓组合件安装完成后,在上锚板1上部成120°夹角形式布设三根拉固装置,第四根方向与组合件偏移方向相反,调整同心度,先紧固三根拉固装置,利用第四根拉固装置调整偏移方向,能够实现快速的调整同心度。After the installation of the anchor bolt assembly is completed, three tensioning devices are arranged on the upper part of the
本发明的应用,能够实现预应力锚栓组合件同心度的快速调整,使用方法便捷、可节省人力物力、安全可靠、速度快,节省施工成本。The application of the present invention can realize the rapid adjustment of the concentricity of the prestressed anchor bolt assembly, the method of use is convenient, manpower and material resources can be saved, safety is reliable, the speed is fast, and the construction cost is saved.
实施例仅仅是为清楚地说明所作的举例,而并非对实施方式的限定。对于所属领域的普通技术人员来说,在上述说明的基础上还可以做出其它不同形式的变化或变动。这里无需也无法对所有的实施方式予以穷举。而由此所引伸出的显而易见的变化或变动仍处于本发明创造的保护范围之中。The examples are merely examples for clear description, and do not limit the embodiments. For those of ordinary skill in the art, other changes or changes in different forms can be made on the basis of the above description. It is not necessary and impossible to exhaustively list all the implementation manners here. And the obvious changes or changes derived therefrom are still within the scope of protection of the present invention.
Claims (6)
Priority Applications (1)
| Application Number | Priority Date | Filing Date | Title |
|---|---|---|---|
| CN202310158767.6A CN116240886A (en) | 2023-02-24 | 2023-02-24 | Device and construction method for adjusting concentricity of auxiliary prestressed anchor bolt assembly |
Applications Claiming Priority (1)
| Application Number | Priority Date | Filing Date | Title |
|---|---|---|---|
| CN202310158767.6A CN116240886A (en) | 2023-02-24 | 2023-02-24 | Device and construction method for adjusting concentricity of auxiliary prestressed anchor bolt assembly |
Publications (1)
| Publication Number | Publication Date |
|---|---|
| CN116240886A true CN116240886A (en) | 2023-06-09 |
Family
ID=86634634
Family Applications (1)
| Application Number | Title | Priority Date | Filing Date |
|---|---|---|---|
| CN202310158767.6A Pending CN116240886A (en) | 2023-02-24 | 2023-02-24 | Device and construction method for adjusting concentricity of auxiliary prestressed anchor bolt assembly |
Country Status (1)
| Country | Link |
|---|---|
| CN (1) | CN116240886A (en) |
Citations (8)
| Publication number | Priority date | Publication date | Assignee | Title |
|---|---|---|---|---|
| CN104314101A (en) * | 2014-09-15 | 2015-01-28 | 中国十七冶集团有限公司 | Mounting method for foundation anchor bolt assembly of wind-driven generator |
| CN204435445U (en) * | 2015-04-17 | 2015-07-01 | 辽宁有色勘察研究院 | A kind of leaning tower deviation correcting device |
| CN204679240U (en) * | 2015-04-22 | 2015-09-30 | 山西大学 | A kind of sand-taped instrument spud pile |
| US20160168815A1 (en) * | 2014-12-15 | 2016-06-16 | Hubbell Incorporated | Guy wire anchoring systems, brackets and kits |
| CN205743222U (en) * | 2016-06-16 | 2016-11-30 | 北京普华亿能风电技术有限公司 | A kind of self-supporting anemometer tower |
| CN110621834A (en) * | 2017-05-24 | 2019-12-27 | 乔治洛德方法研究和开发液化空气有限公司 | Gas liquefaction or separation unit |
| CN112681363A (en) * | 2020-12-25 | 2021-04-20 | 中铁二局集团电务工程有限公司 | One-time pouring method and device for cup-shaped foundation and support |
| CN113356259A (en) * | 2021-06-18 | 2021-09-07 | 中建三局第二建设工程有限责任公司 | Prestressed anchor bolt cage precision leveling device |
-
2023
- 2023-02-24 CN CN202310158767.6A patent/CN116240886A/en active Pending
Patent Citations (8)
| Publication number | Priority date | Publication date | Assignee | Title |
|---|---|---|---|---|
| CN104314101A (en) * | 2014-09-15 | 2015-01-28 | 中国十七冶集团有限公司 | Mounting method for foundation anchor bolt assembly of wind-driven generator |
| US20160168815A1 (en) * | 2014-12-15 | 2016-06-16 | Hubbell Incorporated | Guy wire anchoring systems, brackets and kits |
| CN204435445U (en) * | 2015-04-17 | 2015-07-01 | 辽宁有色勘察研究院 | A kind of leaning tower deviation correcting device |
| CN204679240U (en) * | 2015-04-22 | 2015-09-30 | 山西大学 | A kind of sand-taped instrument spud pile |
| CN205743222U (en) * | 2016-06-16 | 2016-11-30 | 北京普华亿能风电技术有限公司 | A kind of self-supporting anemometer tower |
| CN110621834A (en) * | 2017-05-24 | 2019-12-27 | 乔治洛德方法研究和开发液化空气有限公司 | Gas liquefaction or separation unit |
| CN112681363A (en) * | 2020-12-25 | 2021-04-20 | 中铁二局集团电务工程有限公司 | One-time pouring method and device for cup-shaped foundation and support |
| CN113356259A (en) * | 2021-06-18 | 2021-09-07 | 中建三局第二建设工程有限责任公司 | Prestressed anchor bolt cage precision leveling device |
Similar Documents
| Publication | Publication Date | Title |
|---|---|---|
| US11555480B2 (en) | Prestressed-bolted dry-assembled segmental precast hybrid tower with grouting-free | |
| CN102374134B (en) | Tower with adapter section | |
| US10214872B2 (en) | Foundation for a wind turbine | |
| CN102767303A (en) | Precast concrete tower and construction method thereof | |
| CN104328740A (en) | Large-span steel tubular arched bridge vertical rotation construction and linear control method | |
| CN204456167U (en) | Prestress anchoraging blower foundation | |
| CN115306645B (en) | Wind power generation concrete tower barrel installation construction method | |
| CN105113803B (en) | A high-altitude sliding hoisting device and its implementation method for a mountain corridor truss | |
| CN110886184A (en) | Device and method for reducing accurate matching additional stress of wide steel box girder of cable-stayed bridge | |
| CN111561175B (en) | Prestress underpinning static force cutting and column pulling construction process | |
| CN218233177U (en) | Vertical rotation auxiliary structure of steel bridge tower | |
| KR200411341Y1 (en) | Suspension bridge | |
| CN102418329B (en) | Rapid installation method for large-scale hydraulic radial gate | |
| CN213392499U (en) | A grouting-free dry prestressed bolt splicing prefabricated prefabricated mixed tower | |
| CN111175068B (en) | Method for typical damage simulation device of cable-stayed bridge | |
| CN100478521C (en) | Overline strand suspension bridge construction by drawing anchor | |
| CN116240886A (en) | Device and construction method for adjusting concentricity of auxiliary prestressed anchor bolt assembly | |
| CN111395848A (en) | Mast type steel structure and inhaul cable installation construction method | |
| CN108442400A (en) | A kind of construction method of blower foundation bolt assembly and blower foundation with T-nut | |
| CN208763818U (en) | A kind of Wind turbines prestressing force stay-supported pylon heightening structure | |
| CN108223294B (en) | Application method of prestress penetrating rib and anchor bolt leveling device for high altitude of concrete tower drum | |
| CN213477194U (en) | Large-span cable truss structure | |
| CN211596340U (en) | A device for reducing the additional stress of accurate matching of wide steel box girder of cable-stayed bridge | |
| CN104033340B (en) | Pre-stress stretching method in a kind of wind power generation precast concrete tower body | |
| CN215573713U (en) | Bidirectional prestressed reinforced concrete equipment test device |
Legal Events
| Date | Code | Title | Description |
|---|---|---|---|
| PB01 | Publication | ||
| PB01 | Publication | ||
| SE01 | Entry into force of request for substantive examination | ||
| SE01 | Entry into force of request for substantive examination |
