CN115921709A - Stamping device for automobile protection plate suitable for different size processing - Google Patents
Stamping device for automobile protection plate suitable for different size processing Download PDFInfo
- Publication number
- CN115921709A CN115921709A CN202310027947.0A CN202310027947A CN115921709A CN 115921709 A CN115921709 A CN 115921709A CN 202310027947 A CN202310027947 A CN 202310027947A CN 115921709 A CN115921709 A CN 115921709A
- Authority
- CN
- China
- Prior art keywords
- fixedly connected
- stamping
- seat
- telescopic rod
- electric telescopic
- Prior art date
- Legal status (The legal status is an assumption and is not a legal conclusion. Google has not performed a legal analysis and makes no representation as to the accuracy of the status listed.)
- Pending
Links
- 230000001681 protective effect Effects 0.000 claims abstract description 27
- 230000005540 biological transmission Effects 0.000 claims description 6
- 238000004080 punching Methods 0.000 claims description 5
- 239000011241 protective layer Substances 0.000 claims description 4
- 230000008602 contraction Effects 0.000 abstract description 7
- 238000000034 method Methods 0.000 abstract description 6
- 230000000694 effects Effects 0.000 description 3
- 238000009434 installation Methods 0.000 description 3
- 230000009286 beneficial effect Effects 0.000 description 2
- 238000010586 diagram Methods 0.000 description 2
- 230000007547 defect Effects 0.000 description 1
- 239000002184 metal Substances 0.000 description 1
Images
Classifications
-
- Y—GENERAL TAGGING OF NEW TECHNOLOGICAL DEVELOPMENTS; GENERAL TAGGING OF CROSS-SECTIONAL TECHNOLOGIES SPANNING OVER SEVERAL SECTIONS OF THE IPC; TECHNICAL SUBJECTS COVERED BY FORMER USPC CROSS-REFERENCE ART COLLECTIONS [XRACs] AND DIGESTS
- Y02—TECHNOLOGIES OR APPLICATIONS FOR MITIGATION OR ADAPTATION AGAINST CLIMATE CHANGE
- Y02A—TECHNOLOGIES FOR ADAPTATION TO CLIMATE CHANGE
- Y02A30/00—Adapting or protecting infrastructure or their operation
- Y02A30/30—Adapting or protecting infrastructure or their operation in transportation, e.g. on roads, waterways or railways
Landscapes
- Vehicle Cleaning, Maintenance, Repair, Refitting, And Outriggers (AREA)
Abstract
本发明公开了一种适用于不同尺寸加工的汽车防护板用冲压装置,涉及汽车板冲压技术领域,包括移动底座,移动底座的顶端固定连接有支撑柱,支撑柱的顶端固定连接有固定顶座,固定顶座的顶端设置有固定机构,固定顶座的边侧固定连接有固定块,固定块的边侧设置有上料机构,本发明在对不同大小的汽车防护板进行夹取固定冲压时,通过小型电机、第一丝杆和安装座进行前后调节配合,便于对汽车防护板移动到第一冲压机构的底部进行冲压使用,通过两组固定装置板上的第一电动伸缩杆的伸缩,便于推动夹板沿着导向杆进行相互调节,从而对安装座上不同大小的汽车防护板进行夹取固定,便于进行冲压处理,避免在冲压的过程中发生晃动。
The invention discloses a stamping device for automobile protective panels suitable for processing different sizes, relates to the technical field of automobile panel stamping, and comprises a mobile base, the top of which is fixedly connected with a support column, and the top of the support column is fixedly connected with a fixed top seat , the top of the fixed top base is provided with a fixing mechanism, the side of the fixed top base is fixedly connected with a fixed block, and the side of the fixed block is provided with a feeding mechanism. , through the small motor, the first screw rod and the mounting seat for front and rear adjustment and cooperation, it is convenient to move the car protection plate to the bottom of the first stamping mechanism for stamping, and through the expansion and contraction of the first electric telescopic rod on the two sets of fixing device plates, It is convenient to push the splint to adjust each other along the guide bar, so as to clamp and fix the automobile protective panels of different sizes on the mounting seat, which is convenient for stamping and avoids shaking during the stamping process.
Description
技术领域technical field
本发明涉及汽车板冲压技术领域,尤其涉及一种适用于不同尺寸加工的汽车防护板用冲压装置。The invention relates to the technical field of automobile sheet stamping, in particular to a stamping device for automobile protective panels suitable for processing different sizes.
背景技术Background technique
汽车底部防护板是安装在汽车底盘上、且对应发动机位置的下方,用来对发动机机械结构进行保护,在进行山地自驾时,用于汽车底盘防护板的需求量越来越多,在山地凹凸不平的路面道路,汽车底盘防护板对于汽车发动机底部的保护非常有效;The bottom protective plate of the car is installed on the chassis of the car and corresponds to the position below the engine, which is used to protect the mechanical structure of the engine. When driving in the mountains, the demand for the protective plate of the car chassis is increasing. On uneven roads and roads, the car chassis protection plate is very effective in protecting the bottom of the car engine;
其中公开号为“CN107282735A”所公开的“一种汽车板材用冲压装置”也是日益成熟的技术,其“,包括固定架、风管、风机、电机、冲压装置、机箱、左板、右板、中间板、穿槽、底板、推盘、连接板、连杆、推杆、冲压板、牵引件和活动条。本发明的有益效果是:通过在冲压装置内部的推杆两侧安装连杆,并且连杆与推杆之间通过牵引件相连接,牵引件由三块活动条构成,利用牵引件的牵引作用,从而避免一个单独的推杆在推动时受力过大而弯折。通过在机箱内壁上连接风管,并且风管贯穿固定架的右板连接到固定架上方的风机内部,使得冲压板在冲压时风管将机箱内部抽成负压状态,从而增加冲压效果,并且在机箱底部安装推盘,推盘上抬板材配合冲压板下压板材,从而在提升冲压速率的同时增加冲压效果”,但是该种冲压装置在实际使用过程中,还存在以下缺陷:Among them, the "stamping device for automobile sheet metal" disclosed by the publication number "CN107282735A" is also an increasingly mature technology, which "includes a fixed frame, an air duct, a fan, a motor, a stamping device, a chassis, a left plate, a right plate, Intermediate plate, groove, base plate, push plate, connecting plate, connecting rod, push rod, stamping plate, traction piece and movable bar.The beneficial effects of the present invention are: by installing connecting rod on both sides of the push rod inside the stamping device, And the connecting rod and the push rod are connected by a traction piece, the traction piece is composed of three movable strips, and the traction effect of the traction piece is used to avoid a single push rod from being bent due to excessive force when pushing. The air pipe is connected to the inner wall of the case, and the air pipe runs through the right plate of the fixed frame and connects to the inside of the fan above the fixed frame, so that the air pipe draws the inside of the case into a negative pressure state when the stamping plate is stamping, thereby increasing the stamping effect, and in the case The push plate is installed at the bottom, and the push plate lifts up the plate and cooperates with the stamping plate to press down the plate, so as to increase the stamping speed and increase the stamping effect.” However, in the actual use of this stamping device, there are still the following defects:
汽车底盘防护板在安装到不同的汽车底盘时,需要进行不同方位开槽冲压设计,现有的冲压装置用于单一的防护板进行冲压使用,用于不同大小的汽车防护板进行冲压时,无法进行固定安装,需要人工进行按压,人工按压冲压的过程中,防护板容易发生晃动,对冲压的防护板造成纠偏损坏,导致无法与汽车底部进行安装使用,同时冲压装置无法根据需求进行调节方位对防护板进行冲压,具有一定的局限性。When the automobile chassis protection plate is installed on different automobile chassis, it is necessary to carry out the stamping design of slotting in different directions. The existing stamping device is used for stamping a single protection plate, and when it is used for stamping automobile protection plates of different sizes, it cannot For fixed installation, manual pressing is required. During the process of manual pressing and stamping, the protective plate is prone to shaking, causing deviation correction damage to the stamped protective plate, which makes it impossible to install and use with the bottom of the car. At the same time, the stamping device cannot be adjusted according to the demand. The stamping of the protective plate has certain limitations.
发明内容Contents of the invention
为解决上述背景技术中提出的技术问题,本发明提供一种适用于不同尺寸加工的汽车防护板用冲压装置,其优点在于通过机械按压对不同大小的防护板容易发生避免冲压发生晃动,防止冲压的防护板造成纠偏损坏,使得汽车底板进行安装使用,同时根据需求进行调节方位对防护板进行冲压,使用便捷。In order to solve the technical problems raised in the above-mentioned background technology, the present invention provides a stamping device for automobile fenders suitable for processing different sizes. The deflection correction damage caused by the protective plate makes the car floor to be installed and used. At the same time, the orientation is adjusted according to the demand to stamp the protective plate, which is convenient to use.
为了实现上述目的,本发明具体采用了如下技术方案:In order to achieve the above object, the present invention specifically adopts the following technical solutions:
一种适用于不同尺寸加工的汽车防护板用冲压装置,包括移动底座,所述移动底座的顶端固定连接有支撑柱,所述支撑柱的顶端固定连接有固定顶座,所述固定顶座的顶端设置有固定机构,所述固定顶座的边侧固定连接有固定块,所述固定块的边侧设置有上料机构,所述固定顶座的另一侧设置有冲压框架,所述冲压框架的内部顶端设置有第一冲压机构,所述冲压框架的顶端边侧设置有第二冲压机构。A stamping device for automobile protective panels suitable for processing different sizes, comprising a mobile base, the top of the mobile base is fixedly connected with a support column, the top of the support column is fixedly connected with a fixed top seat, and the top of the fixed top seat The top is provided with a fixing mechanism, the side of the fixed top seat is fixedly connected with a fixed block, the side of the fixed block is provided with a feeding mechanism, and the other side of the fixed top seat is provided with a stamping frame, and the stamping The inner top of the frame is provided with a first stamping mechanism, and the top side of the stamping frame is provided with a second stamping mechanism.
本发明进一步设置为,通过设置的固定机构对不同大小的汽车防护板进行夹取固定,避免在第一冲压机构和第二冲压机构在进行冲压时发生晃动,从而便于对汽车防护板进行冲压。The present invention is further configured to clamp and fix automobile fenders of different sizes through the provided fixing mechanism to avoid shaking when the first stamping mechanism and the second stamping mechanism are stamping, thereby facilitating the stamping of the automobile fender.
所述固定机构包括与固定顶座的底端固定连接有小型电机,所述小型电机的传动端固定连接有主动转盘,所述主动转盘的外侧通过传动带与固定顶座顶部一侧设置有从动转盘,所述从动转盘的一侧固定连接有第一丝杆,所述固定顶座的顶部两侧固定连接有第一滑轨,所述第一滑轨的顶部滑动连接有的移动滑块,所述移动滑块的顶部之间固定连接有安装座,所述安装座的底端固定连接有螺纹块,所述螺纹块与第一丝杆螺纹穿插连接,所述安装座的顶端边侧对称设置有两组固定装置板,两组所述固定装置板的一侧两端穿插连接有导向杆,所述导向杆的一端固定连接有夹板,所述夹板的背面通过第一电动伸缩杆与固定装置板固定连接。The fixing mechanism includes a small motor fixedly connected to the bottom end of the fixed top seat, the driving end of the small motor is fixedly connected to a driving turntable, and the outside of the driving turntable is provided with a driven drive belt on the top side of the fixed top seat through a transmission belt. Turntable, one side of the driven turntable is fixedly connected with a first screw rod, the top two sides of the fixed top seat are fixedly connected with first slide rails, and the top of the first slide rail is slidably connected with a moving slider , the top of the moving slider is fixedly connected with a mounting seat, the bottom end of the mounting seat is fixedly connected with a threaded block, and the threaded block is threadedly connected with the first screw rod, and the top side of the mounting seat There are two groups of fixing device boards arranged symmetrically. Guide rods are interspersed at both ends of one side of the two groups of fixing device boards, and a splint is fixedly connected to one end of the guide rod. Fixture plate fixed connection.
本发明进一步设置为,便于推动夹板沿着导向杆进行相互调节,从而便于对安装座上不同大小的汽车防护板进行夹取固定,便于进行冲压处理。The present invention is further configured to facilitate mutual adjustment of the splints along the guide rods by pushing the splints, so as to facilitate the clamping and fixing of automobile protective panels of different sizes on the mounting base, and facilitate the stamping process.
所述上料机构包括与固定块的边侧固定连接的固定支撑框架,所述支撑框架的顶端固定连接有驱动电机,所述驱动电机的传动端固定连接有小型主动盘,所述小型主动盘的外侧传动连接有橡胶带,所述橡胶带的一端传动连接有小型从动盘,所述小型从动盘的底端设置有第二丝杆,所述第二丝杆与升降座的边侧螺纹连接,所述升降座的表面两侧与固定支撑框架边侧设置的第二滑轨滑动连接,所述升降座的边侧固定连接有第二电动伸缩杆,所述第二电动伸缩杆的伸缩端固定连接有推板。The feeding mechanism includes a fixed supporting frame fixedly connected to the side of the fixed block, a driving motor is fixedly connected to the top of the supporting frame, a small driving disc is fixedly connected to the transmission end of the driving motor, and the small driving disc The outer side of the rubber belt is connected with a rubber belt, and one end of the rubber belt is connected with a small driven disk. The bottom end of the small driven disk is provided with a second screw rod, and the second screw rod is connected to the side of the lifting seat. Threaded connection, the two sides of the surface of the lifting seat are slidingly connected with the second slide rail provided on the side of the fixed support frame, the side of the lifting seat is fixedly connected with the second electric telescopic rod, and the second electric telescopic rod The telescopic end is fixedly connected with a push plate.
本发明进一步设置为,将升降座上的汽车防护板进行抬升,从而避免工作人员进行抬升,费时费力,且在上下调节的过程中,通过设置第二滑轨与升降座进行滑动保持平衡。The present invention is further configured to lift the car protection plate on the lifting seat, thereby avoiding the time-consuming and labor-intensive lifting by the staff, and in the process of adjusting up and down, the second slide rail is set to slide with the lifting seat to maintain balance.
所述第一冲压机构包括与冲压框架的顶端固定连接有第一电动气缸,所述第一电动气缸的底端固定连接有连接座,所述连接座的四个边角穿插连接有引导杆,所述引导杆与冲压框架内部顶端和底端固定连接,所述连接座的底端固定连接有若干个液压缸,若干个所述液压缸的底端固定连接有冲压座,所述冲压座的顶端边侧穿插连接有穿插导杆,每根所述穿插导杆的外侧套设有伸缩弹簧。The first stamping mechanism includes a first electric cylinder fixedly connected to the top of the stamping frame, a connecting seat fixedly connected to the bottom end of the first electric cylinder, and guide rods interspersed and connected to the four corners of the connecting seat, The guide rod is fixedly connected to the top and bottom of the stamping frame, the bottom of the connecting seat is fixedly connected to several hydraulic cylinders, the bottom of several hydraulic cylinders is fixedly connected to the stamping seat, and the stamping seat Interspersed guide rods are interspersed and connected to the sides of the top end, and telescopic springs are sheathed on the outer sides of each of the intersected guide rods.
本发明进一步设置为,通过设置的穿插导杆和伸缩弹簧的伸缩配合下,使得冲压座在冲压结束时能够及时的复位,进行下一个冲压使用。The present invention is further configured to enable the stamping seat to be reset in time at the end of stamping through the expansion and contraction of the provided interspersed guide rod and the telescopic spring for use in the next stamping.
所述第二冲压机构包括与冲压框架的边侧固定连接的固定安装板,所述固定安装板的顶部固定连接有第三滑轨,所述第三滑轨的顶部滑动连接有移动滑动块,所述移动滑动块的一侧与第三电动伸缩杆固定连接,所述移动滑动块的顶端固定连接有装置框架,所述装置框架的一侧固定连接有第四电动伸缩杆,所述第四电动伸缩杆的伸缩端固定连接有与装置框架滑动连接的靠板,所述靠板的一侧固定连有第二电动气缸,所述第二电动气缸的底端固定连接有冲压头。The second stamping mechanism includes a fixed mounting plate fixedly connected to the side of the stamping frame, the top of the fixed mounting plate is fixedly connected with a third slide rail, and the top of the third slide rail is slidably connected with a moving sliding block, One side of the moving sliding block is fixedly connected with the third electric telescopic rod, the top end of the moving sliding block is fixedly connected with the device frame, one side of the device frame is fixedly connected with the fourth electric telescopic rod, and the fourth The telescopic end of the electric telescopic rod is fixedly connected with a backing plate slidingly connected with the device frame, one side of the backing plate is fixedly connected with a second electric cylinder, and the bottom end of the second electric cylinder is fixedly connected with a stamping head.
本发明进一步设置为,通过设置的第二电动气缸对冲压头进行推动冲压使用。The present invention is further configured to use the second electric cylinder to push the stamping head for stamping.
所述移动底座的顶部固定连接没有开关面板,所述开关面板的表面设置有保护层。The top of the mobile base is fixedly connected without a switch panel, and the surface of the switch panel is provided with a protective layer.
本发明进一步设置为,保护层对开关面板进行保护。The present invention is further provided that the protective layer protects the switch panel.
所述开关面板的表面设置有第二电动气缸控制开关、第四电动伸缩杆控制开关、第三电动伸缩杆控制开关、第一电动气缸控制开关、驱动电机控制开关、第一电动伸缩杆控制开关和小型电机控制开关,The surface of the switch panel is provided with a second electric cylinder control switch, a fourth electric telescopic rod control switch, a third electric telescopic rod control switch, a first electric cylinder control switch, a drive motor control switch, and a first electric telescopic rod control switch. and small motor control switches,
所述第二电动气缸、第四电动伸缩杆、第三电动伸缩杆、第一电动气缸、驱动电机、第一电动伸缩杆和小型电机分别通过第二电动气缸控制开关、第四电动伸缩杆控制开关、第三电动伸缩杆控制开关、第一电动气缸控制开关、驱动电机控制开关、第一电动伸缩杆控制开关和小型电机控制开关。The second electric cylinder, the fourth electric telescopic rod, the third electric telescopic rod, the first electric cylinder, the driving motor, the first electric telescopic rod and the small motor are respectively controlled by the second electric cylinder control switch and the fourth electric telescopic rod switch, the third electric telescopic rod control switch, the first electric cylinder control switch, drive motor control switch, the first electric telescopic rod control switch and small motor control switch.
本发明进一步设置为,通过控制开关进行控制设备。The invention further provides that the device is controlled by a control switch.
本发明的有益效果为:The beneficial effects of the present invention are:
1、本发明能够,在对不同大小的汽车防护板进行夹取固定冲压时,通过小型电机、第一丝杆和安装座进行前后调节配合,便于对汽车防护板移动到第一冲压机构的底部进行冲压使用,通过两组固定装置板上的第一电动伸缩杆的伸缩,便于推动夹板沿着导向杆进行相互调节,从而对安装座上不同大小的汽车防护板进行夹取固定,便于进行冲压处理,避免在冲压的过程中发生晃动。1. The present invention can, when clamping and fixing stamping of automobile protective panels of different sizes, carry out front and rear adjustment and cooperation through the small motor, the first screw rod and the mounting seat, so as to facilitate the movement of the automobile protective panel to the bottom of the first stamping mechanism For stamping use, through the expansion and contraction of the first electric telescopic rod on the two sets of fixing device boards, it is convenient to push the splint to adjust each other along the guide rod, so as to clamp and fix the car protective panels of different sizes on the mounting seat, which is convenient for stamping Handle to avoid shaking during stamping.
2、本发明能够,通过第三电动伸缩杆的伸缩推动第三滑轨上的移动滑动块进行左右的滑动,便于对冲压头进行移动调节冲压的位置,使得第四电动伸缩杆的伸缩推动靠板进行前后的滑动,对防护板顶部的不同位置冲压时,通过第二电动气缸对冲压头进行推动进行冲压使用,使用便捷。2. The present invention can push the mobile sliding block on the third slide rail to slide left and right through the expansion and contraction of the third electric telescopic rod, so as to facilitate the movement of the stamping head to adjust the stamping position, so that the telescopic push of the fourth electric telescopic rod is close to The plate slides back and forth, and when stamping different positions on the top of the protective plate, the stamping head is pushed by the second electric cylinder for stamping, which is convenient to use.
附图说明Description of drawings
图1为本发明提出的一种适用于不同尺寸加工的汽车防护板用冲压装置的整体示意图;Fig. 1 is a kind of overall schematic diagram that is applicable to the punching device of the automobile protective plate of different size processing that the present invention proposes;
图2为本发明提出的一种适用于不同尺寸加工的汽车防护板用冲压装置的上料机构结构示意图;Fig. 2 is a schematic structural view of the feeding mechanism of a stamping device for automobile protective panels suitable for processing in different sizes proposed by the present invention;
图3为本发明提出的一种适用于不同尺寸加工的汽车防护板用冲压装置的第二冲压机构结构示意图;Fig. 3 is the structural representation of the second stamping mechanism of a stamping device suitable for different sizes of automotive protective panels proposed by the present invention;
图4为本发明提出的一种适用于不同尺寸加工的汽车防护板用冲压装置的第一冲压机构结构示意图;Fig. 4 is a schematic structural view of the first stamping mechanism of a stamping device suitable for different sizes of automotive protective panels proposed by the present invention;
图5为本发明提出的一种适用于不同尺寸加工的汽车防护板用冲压装置的固定机构结构示意图;Fig. 5 is a schematic structural view of the fixing mechanism of a punching device suitable for different sizes of automobile fenders proposed by the present invention;
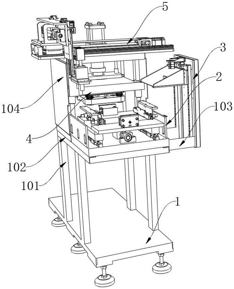
图6为本发明提出的一种适用于不同尺寸加工的汽车防护板用冲压装置的固定顶座结构示意图。Fig. 6 is a schematic diagram of the structure of a fixed top seat of a stamping device suitable for processing automobile fenders of different sizes proposed by the present invention.
图中:1、移动底座;101、支撑柱;102、固定顶座;103、固定块;104、冲压框架;2、固定机构;201、小型电机;202、主动转盘;2021、传动带;2022、从动转盘;2023、第一丝杆;2024、第一滑轨;2025、移动滑块;203、安装座;204、螺纹块;205、固定装置板;206、导向杆;207、夹板;208、第一电动伸缩杆;3、上料机构;301、支撑框架;302、驱动电机;303、小型主动盘;304、橡胶带;305、小型从动盘;306、第二丝杆;3061、升降座;307、第二滑轨;308、第二电动伸缩杆;309、推板;4、第一冲压机构;401、第一电动气缸;402、连接座;403、引导杆;404、液压缸;405、冲压座;406、穿插导杆;407、伸缩弹簧;5、第二冲压机构;501、固定安装板;502、第三滑轨;503、移动滑动块;504、第三电动伸缩杆;505、装置框架;506、第四电动伸缩杆;507、靠板;508、第二电动气缸;509、冲压头。In the figure: 1, mobile base; 101, support column; 102, fixed top seat; 103, fixed block; 104, stamping frame; 2, fixed mechanism; 201, small motor; Driven turntable; 2023, the first screw mandrel; 2024, the first slide rail; 2025, moving slide block; 203, mounting seat; 204, thread block; 205, fixture plate; 206, guide rod; 207, clamping plate; 3. Feeding mechanism; 301. Support frame; 302. Driving motor; 303. Small driving disc; 304. Rubber belt; 305. Small driven disc; 306. Second screw rod; 3061. Lifting seat; 307, the second slide rail; 308, the second electric telescopic rod; 309, the push plate; 4, the first stamping mechanism; 401, the first electric cylinder; 402, the connection seat; 403, the guide rod; 404, the hydraulic pressure Cylinder; 405, stamping seat; 406, interspersed guide rod; 407, telescopic spring; 5, the second stamping mechanism; 501, fixed mounting plate; 502, the third slide rail; Rod; 505, device frame; 506, the fourth electric telescopic rod; 507, leaning plate; 508, the second electric cylinder; 509, stamping head.
具体实施方式Detailed ways
下面结合具体实施方式对本专利的技术方案作进一步详细地说明。The technical solution of this patent will be further described in detail below in conjunction with specific embodiments.
下面详细描述本专利的实施例,所述实施例的示例在附图中示出,其中自始至终相同或类似的标号表示相同或类似的元件或具有相同或类似功能的元件。下面通过参考附图描述的实施例是示例性的,仅用于解释本专利,而不能理解为对本专利的限制。Embodiments of the present patent are described in detail below, examples of which are shown in the drawings, wherein the same or similar reference numerals designate the same or similar elements or elements having the same or similar functions throughout. The embodiments described below by referring to the figures are exemplary and are only used for explaining the patent, and should not be construed as limiting the patent.
在本专利的描述中,需要理解的是,术语“中心”、“上”、“下”、“前”、“后”、“左”、“右”、“竖直”、“水平”、“顶”、“底”、“内”、“外”等指示的方位或位置关系为基于附图所示的方位或位置关系,仅是为了便于描述本专利和简化描述,而不是指示或暗示所指的装置或元件必须具有特定的方位、以特定的方位构造和操作,因此不能理解为对本专利的限制。In the description of this patent, it is to be understood that the terms "center", "upper", "lower", "front", "rear", "left", "right", "vertical", "horizontal", The orientation or positional relationship indicated by "top", "bottom", "inner", "outer", etc. is based on the orientation or positional relationship shown in the drawings, and is only for the convenience of describing this patent and simplifying the description, rather than indicating or implying References to devices or elements must have a particular orientation, be constructed, and operate in a particular orientation and therefore should not be construed as limiting on the patent.
在本专利的描述中,需要说明的是,除非另有明确的规定和限定,术语“安装”、“相连”、“连接”、“设置”应做广义理解,例如,可以是固定相连、设置,也可以是可拆卸连接、设置,或一体地连接、设置。对于本领域的普通技术人员而言,可以根据具体情况理解上述术语在本专利中的具体含义。In the description of this patent, it should be noted that, unless otherwise clearly specified and limited, the terms "installation", "connection", "connection", and "setting" should be understood in a broad sense, for example, it can be fixed connection, setting , can also be detachably connected and set, or integrally connected and set. Those of ordinary skill in the art can understand the specific meanings of the above terms in this patent according to specific situations.
参照图1-6,一种适用于不同尺寸加工的汽车防护板用冲压装置,包括移动底座1,移动底座1的顶端固定连接有支撑柱101,支撑柱101的顶端固定连接有固定顶座102,固定顶座102的顶端设置有固定机构2,固定顶座102的边侧固定连接有固定块103,固定块103的边侧设置有上料机构3,固定顶座102的另一侧设置有冲压框架104,冲压框架104的内部顶端设置有第一冲压机构4,冲压框架104的顶端边侧设置有第二冲压机构5。Referring to Figures 1-6, a stamping device suitable for processing automobile fenders of different sizes includes a mobile base 1, a
参照图5和图1,固定机构2包括与固定顶座102的底端固定连接有小型电机201,小型电机201的传动端固定连接有主动转盘202,主动转盘202的外侧通过传动带2021与固定顶座102顶部一侧设置有从动转盘2022,从动转盘2022的一侧固定连接有第一丝杆2023,固定顶座102的顶部两侧固定连接有第一滑轨2024,第一滑轨2024的顶部滑动连接有的移动滑块2025,移动滑块2025的顶部之间固定连接有安装座203,安装座203的底端固定连接有螺纹块204,螺纹块204与第一丝杆2023螺纹穿插连接,安装座203的顶端边侧对称设置有两组固定装置板205,两组固定装置板205的一侧两端穿插连接有导向杆206,导向杆206的一端固定连接有夹板207,夹板207的背面通过第一电动伸缩杆208与固定装置板205固定连接Referring to Fig. 5 and Fig. 1, fixed
具体使用时,在对不同大小的汽车防护板进行夹取固定冲压时,通过设置的小型电机201的转动带动主动转盘202,通过主动转盘202的转动带动传动带2021进行转动,通过传动带2021的转动使得从动转盘2022进行转动便于带动第一丝杆2023进行转动,从而方便对螺纹块204进行螺纹转动,移动安装座203进行前后调节,便于对汽车防护板安装在安装座203顶部进行固定,放置汽车防护板结束后,通过设置的两组固定装置板205上的第一电动伸缩杆208的伸缩,便于推动夹板207沿着导向杆206进行相互调节,从而便于对安装座203上不同大小的汽车防护板进行夹取固定,便于进行冲压处理。During specific use, when clamping and fixing stamping on automobile fenders of different sizes, the rotation of the set
参照图2和图1,上料机构3包括与固定块103的边侧固定连接的固定支撑框架301,支撑框架301的顶端固定连接有驱动电机302,驱动电机302的传动端固定连接有小型主动盘303,小型主动盘303的外侧传动连接有橡胶带304,橡胶带304的一端传动连接有小型从动盘305,小型从动盘305的底端设置有第二丝杆306,第二丝杆306与升降座3061的边侧螺纹连接,升降座3061的表面两侧与固定支撑框架301边侧设置的第二滑轨307滑动连接,升降座3061的边侧固定连接有第二电动伸缩杆308,第二电动伸缩杆308的伸缩端固定连接有推板309。Referring to Fig. 2 and Fig. 1,
具有使用时,在对汽车防护板进行水平高度的抬升调节时,通过设置的驱动电机302的转动带动小型主动盘303进行转动,通过小型主动盘303的转动带动橡胶带304进行转动,使得小型从动盘305进行转动便于第二丝杆306与升降座3061进行螺纹转动调节,将升降座3061上的汽车防护板进行抬升,从而避免工作人员进行抬升,费时费力,且在上下调节的过程中,通过设置第二滑轨307与升降座3061进行滑动保持平衡。When in use, when the level of the automobile fender is adjusted, the rotation of the
参照图4和图1,第一冲压机构4包括与冲压框架104的顶端固定连接有第一电动气缸401,第一电动气缸401的底端固定连接有连接座402,连接座402的四个边角穿插连接有引导杆403,引导杆403与冲压框架104内部顶端和底端固定连接,连接座402的底端固定连接有若干个液压缸404,若干个液压缸404的底端固定连接有冲压座405,冲压座405的顶端边侧穿插连接有穿插导杆406,每根穿插导杆406的外侧套设有伸缩弹簧407。Referring to Fig. 4 and Fig. 1, the first stamping mechanism 4 includes a first
具体使用时,在对不同汽车防护板进行冲压时,通过冲压框架104顶端的第一电动气缸401的伸缩推动连接座402在引导杆403上进行上下滑动调节,且连接座402的调节便于带动液压缸404进行下降,在液压缸404的液压缓冲下使得冲压座405对汽车防护板进行冲压使用,通过设置的穿插导杆406和伸缩弹簧407的伸缩配合下,使得冲压座405在冲压结束时能够及时的复位,进行下一个冲压使用。In specific use, when stamping different automobile fenders, the telescopic push of the first
参照图3和图1,第二冲压机构5包括与冲压框架104的边侧固定连接的固定安装板501,固定安装板501的顶部固定连接有第三滑轨502,第三滑轨502的顶部滑动连接有移动滑动块503,移动滑动块503的一侧与第三电动伸缩杆504固定连接,移动滑动块503的顶端固定连接有装置框架505,装置框架505的一侧固定连接有第四电动伸缩杆506,第四电动伸缩杆506的伸缩端固定连接有与装置框架505滑动连接的靠板507,靠板507的一侧固定连有第二电动气缸508,第二电动气缸508的底端固定连接有冲压头509。Referring to Fig. 3 and Fig. 1, the
具体使用时,通过设置的第三电动伸缩杆504的伸缩推动第三滑轨502上的移动滑动块503进行左右的滑动,便于对冲压头509进行移动调节冲压的位置,通过设置的第四电动伸缩杆506的伸缩推动靠板507进行前后的滑动,滑动到需要冲压的防护板顶部的位置时,通过设置的第二电动气缸508对冲压头509进行推动冲压使用。During specific use, the movable sliding
参照图1,移动底座1的顶部固定连接没有开关面板,开关面板的表面设置有保护层。Referring to FIG. 1 , the top of the mobile base 1 is fixedly connected without a switch panel, and the surface of the switch panel is provided with a protective layer.
参照图1、图2、图3、图4、图5和图6,开关面板的表面设置有第二电动气缸控制开关、第四电动伸缩杆控制开关、第三电动伸缩杆控制开关、第一电动气缸控制开关、驱动电机控制开关、第一电动伸缩杆控制开关和小型电机控制开关,Referring to Figure 1, Figure 2, Figure 3, Figure 4, Figure 5 and Figure 6, the surface of the switch panel is provided with a second electric cylinder control switch, a fourth electric telescopic rod control switch, a third electric telescopic rod control switch, a first Electric cylinder control switch, driving motor control switch, first electric telescopic rod control switch and small motor control switch,
参照图1、图2、图3、图4、图5和图6,第二电动气缸508、第四电动伸缩杆506、第三电动伸缩杆504、第一电动气缸401、驱动电机302、第一电动伸缩杆208和小型电机201分别通过第二电动气缸控制开关、第四电动伸缩杆控制开关、第三电动伸缩杆控制开关、第一电动气缸控制开关、驱动电机控制开关、第一电动伸缩杆控制开关和小型电机控制开关。Referring to Fig. 1, Fig. 2, Fig. 3, Fig. 4, Fig. 5 and Fig. 6, the second
工作原理:在对不同尺寸的汽车防护板进行冲压时,通过设置的移动底座1便于对冲压装置进行移动,将冲压装置移动到指定的冲压地点,通过支撑柱101的支撑对固定顶座102进行固定,从而便于对冲压装置对汽车防护板进行冲压使用,通过固定块103边侧的上料机构3对大件的汽车进行上料使用,避免人工搬运耗费体力,通过设置的固定机构2对不同大小的汽车防护板进行夹取固定,避免在第一冲压机构4和第二冲压机构5在进行冲压时发生晃动,从而便于对汽车防护板进行冲压。Working principle: When stamping automobile fenders of different sizes, it is convenient to move the stamping device through the set mobile base 1, move the stamping device to the designated stamping place, and support the fixed
以上所述,仅为本发明较佳的具体实施方式,但本发明的保护范围并不局限于此,任何熟悉本技术领域的技术人员在本发明揭露的技术范围内,根据本发明的技术方案及其发明构思加以等同替换或改变,都应涵盖在本发明的保护范围之内。The above is only a preferred embodiment of the present invention, but the scope of protection of the present invention is not limited thereto, any person familiar with the technical field within the technical scope disclosed in the present invention, according to the technical solution of the present invention Any equivalent replacement or change of the inventive concepts thereof shall fall within the protection scope of the present invention.
Claims (7)
Priority Applications (1)
| Application Number | Priority Date | Filing Date | Title |
|---|---|---|---|
| CN202310027947.0A CN115921709A (en) | 2023-01-09 | 2023-01-09 | Stamping device for automobile protection plate suitable for different size processing |
Applications Claiming Priority (1)
| Application Number | Priority Date | Filing Date | Title |
|---|---|---|---|
| CN202310027947.0A CN115921709A (en) | 2023-01-09 | 2023-01-09 | Stamping device for automobile protection plate suitable for different size processing |
Publications (1)
| Publication Number | Publication Date |
|---|---|
| CN115921709A true CN115921709A (en) | 2023-04-07 |
Family
ID=86650931
Family Applications (1)
| Application Number | Title | Priority Date | Filing Date |
|---|---|---|---|
| CN202310027947.0A Pending CN115921709A (en) | 2023-01-09 | 2023-01-09 | Stamping device for automobile protection plate suitable for different size processing |
Country Status (1)
| Country | Link |
|---|---|
| CN (1) | CN115921709A (en) |
Cited By (2)
| Publication number | Priority date | Publication date | Assignee | Title |
|---|---|---|---|---|
| CN117208500A (en) * | 2023-10-31 | 2023-12-12 | 济南昊中智能科技有限公司 | Automatic unstacking trolley and operation method thereof |
| CN117943450A (en) * | 2024-03-26 | 2024-04-30 | 河北华曙新能源汽车科技有限公司 | Stamping forming process for automobile chassis parts |
Citations (15)
| Publication number | Priority date | Publication date | Assignee | Title |
|---|---|---|---|---|
| CN105689589A (en) * | 2016-02-17 | 2016-06-22 | 江西理工大学 | Automatic inserting device for radiator fins |
| CN108971358A (en) * | 2018-07-10 | 2018-12-11 | 宁波尚唯汽车饰件有限公司 | A kind of process equipment of the luggage compartment inner trim panels equipped with inductor |
| CN209849707U (en) * | 2019-04-02 | 2019-12-27 | 江西樟树市福铃内燃机配件有限公司 | Adjustable automobile part machining die bracket |
| CN211515714U (en) * | 2019-11-27 | 2020-09-18 | 湖北茂泽机电科技有限公司 | Stamping device of automobile brake bottom plate |
| CN111922185A (en) * | 2020-10-16 | 2020-11-13 | 吴江市液铸液压件铸造有限公司 | Punching equipment for metal plate with adjustable punch |
| CN112296156A (en) * | 2020-09-24 | 2021-02-02 | 马鞍山贺辉信息科技有限公司 | Stamping device for new energy automobile brake disc production and using method thereof |
| CN112536635A (en) * | 2020-12-21 | 2021-03-23 | 丽水市莲都区天机机械设计服务部 | Intelligent machine tool carrier with secondary positioning detection function |
| CN213436523U (en) * | 2020-09-18 | 2021-06-15 | 苏州祥栊烁机械制造有限公司 | Buffering and stabilizing device for stamping die |
| CN214814214U (en) * | 2021-06-11 | 2021-11-23 | 武汉东元泰精机有限公司 | An adjustment mechanism for an automobile sheet metal die |
| CN215315251U (en) * | 2021-07-23 | 2021-12-28 | 山东华数智能科技有限公司 | Panel punching press material loading pusher |
| CN215614406U (en) * | 2021-05-11 | 2022-01-25 | 合肥通盛达机械有限公司 | Punching device for processing air conditioner partition plate |
| CN216632256U (en) * | 2021-10-19 | 2022-05-31 | 浙江久特智能电器有限公司 | Stamping device is used in forging processing |
| CN114700433A (en) * | 2022-05-13 | 2022-07-05 | 苏州金利美金属科技有限公司 | Television backboard stamping equipment and stamping process |
| CN115255440A (en) * | 2022-08-06 | 2022-11-01 | 安徽省宁国顺昌机械有限公司 | Drilling machine convenient to centre gripping slewing bearing |
| CN218109092U (en) * | 2022-07-19 | 2022-12-23 | 重庆协弘运科技有限公司 | Clamping device for automobile stamping die |
-
2023
- 2023-01-09 CN CN202310027947.0A patent/CN115921709A/en active Pending
Patent Citations (15)
| Publication number | Priority date | Publication date | Assignee | Title |
|---|---|---|---|---|
| CN105689589A (en) * | 2016-02-17 | 2016-06-22 | 江西理工大学 | Automatic inserting device for radiator fins |
| CN108971358A (en) * | 2018-07-10 | 2018-12-11 | 宁波尚唯汽车饰件有限公司 | A kind of process equipment of the luggage compartment inner trim panels equipped with inductor |
| CN209849707U (en) * | 2019-04-02 | 2019-12-27 | 江西樟树市福铃内燃机配件有限公司 | Adjustable automobile part machining die bracket |
| CN211515714U (en) * | 2019-11-27 | 2020-09-18 | 湖北茂泽机电科技有限公司 | Stamping device of automobile brake bottom plate |
| CN213436523U (en) * | 2020-09-18 | 2021-06-15 | 苏州祥栊烁机械制造有限公司 | Buffering and stabilizing device for stamping die |
| CN112296156A (en) * | 2020-09-24 | 2021-02-02 | 马鞍山贺辉信息科技有限公司 | Stamping device for new energy automobile brake disc production and using method thereof |
| CN111922185A (en) * | 2020-10-16 | 2020-11-13 | 吴江市液铸液压件铸造有限公司 | Punching equipment for metal plate with adjustable punch |
| CN112536635A (en) * | 2020-12-21 | 2021-03-23 | 丽水市莲都区天机机械设计服务部 | Intelligent machine tool carrier with secondary positioning detection function |
| CN215614406U (en) * | 2021-05-11 | 2022-01-25 | 合肥通盛达机械有限公司 | Punching device for processing air conditioner partition plate |
| CN214814214U (en) * | 2021-06-11 | 2021-11-23 | 武汉东元泰精机有限公司 | An adjustment mechanism for an automobile sheet metal die |
| CN215315251U (en) * | 2021-07-23 | 2021-12-28 | 山东华数智能科技有限公司 | Panel punching press material loading pusher |
| CN216632256U (en) * | 2021-10-19 | 2022-05-31 | 浙江久特智能电器有限公司 | Stamping device is used in forging processing |
| CN114700433A (en) * | 2022-05-13 | 2022-07-05 | 苏州金利美金属科技有限公司 | Television backboard stamping equipment and stamping process |
| CN218109092U (en) * | 2022-07-19 | 2022-12-23 | 重庆协弘运科技有限公司 | Clamping device for automobile stamping die |
| CN115255440A (en) * | 2022-08-06 | 2022-11-01 | 安徽省宁国顺昌机械有限公司 | Drilling machine convenient to centre gripping slewing bearing |
Non-Patent Citations (1)
| Title |
|---|
| 侯铁民: "家具木工机械", 31 March 2000, 中国轻工业出版社, pages: 63 * |
Cited By (2)
| Publication number | Priority date | Publication date | Assignee | Title |
|---|---|---|---|---|
| CN117208500A (en) * | 2023-10-31 | 2023-12-12 | 济南昊中智能科技有限公司 | Automatic unstacking trolley and operation method thereof |
| CN117943450A (en) * | 2024-03-26 | 2024-04-30 | 河北华曙新能源汽车科技有限公司 | Stamping forming process for automobile chassis parts |
Similar Documents
| Publication | Publication Date | Title |
|---|---|---|
| CN115921709A (en) | Stamping device for automobile protection plate suitable for different size processing | |
| CN112097069A (en) | A support chassis for a multifunctional CNC machine tool | |
| CN220679017U (en) | Positioning frame of numerical control bending machine | |
| CN105502213A (en) | Power transformation equipment jacking device and adjusting mechanism thereof | |
| CN113148900A (en) | Lifting device for auto repair | |
| CN113458996B (en) | Square battery formation pressurizing and positioning device | |
| CN220107462U (en) | Cable bridge with shockproof function | |
| CN218777150U (en) | Flat pressure positioning device | |
| CN219768285U (en) | Electrodeless displacement clamping jaw device | |
| CN116443714B (en) | Glass hanging clamp with safety protection function | |
| CN219054094U (en) | Glass adsorbs fixing device | |
| CN115849152A (en) | Hoisting mechanism for building material processing | |
| CN222831085U (en) | Display panel assembling device | |
| CN223251600U (en) | A movable mechanical equipment maintenance fixing frame | |
| CN213230503U (en) | A positioning and transfer mechanism for battery voltage logging equipment | |
| CN222297459U (en) | Lifting device for be used for control engineering | |
| CN220828674U (en) | Adjusting device for mounting electromechanical equipment on highway | |
| CN222772931U (en) | A mounting plate for mechanical equipment | |
| CN221271110U (en) | Placing device for FRP daylighting panel | |
| CN216661663U (en) | Material feeding unit and equipment | |
| CN216583790U (en) | Balancing device for electromechanical device installation | |
| CN219078991U (en) | Square multi-cylinder lifter with dust cover | |
| CN221720380U (en) | Auxiliary mounting bracket for mechanical equipment | |
| CN221974785U (en) | Movable hydraulic power pump station | |
| CN222495836U (en) | Medical packing box surface printing colour difference contrast device |
Legal Events
| Date | Code | Title | Description |
|---|---|---|---|
| PB01 | Publication | ||
| PB01 | Publication | ||
| SE01 | Entry into force of request for substantive examination | ||
| SE01 | Entry into force of request for substantive examination | ||
| RJ01 | Rejection of invention patent application after publication | ||
| RJ01 | Rejection of invention patent application after publication |
Application publication date: 20230407 |
