CN115012451A - Underground structure induced joint - Google Patents
Underground structure induced joint Download PDFInfo
- Publication number
- CN115012451A CN115012451A CN202210673132.5A CN202210673132A CN115012451A CN 115012451 A CN115012451 A CN 115012451A CN 202210673132 A CN202210673132 A CN 202210673132A CN 115012451 A CN115012451 A CN 115012451A
- Authority
- CN
- China
- Prior art keywords
- seam
- induction
- induced
- top plate
- waterproof
- Prior art date
- Legal status (The legal status is an assumption and is not a legal conclusion. Google has not performed a legal analysis and makes no representation as to the accuracy of the status listed.)
- Pending
Links
- 230000006698 induction Effects 0.000 claims abstract description 34
- 238000007789 sealing Methods 0.000 claims abstract description 16
- 239000004567 concrete Substances 0.000 claims abstract description 11
- 239000011248 coating agent Substances 0.000 claims abstract description 3
- 238000000576 coating method Methods 0.000 claims abstract description 3
- 239000010410 layer Substances 0.000 claims description 20
- 230000001939 inductive effect Effects 0.000 claims description 9
- 239000011241 protective layer Substances 0.000 claims description 6
- 239000011150 reinforced concrete Substances 0.000 claims description 6
- 239000003973 paint Substances 0.000 claims description 4
- 239000000565 sealant Substances 0.000 claims description 4
- 239000011083 cement mortar Substances 0.000 claims description 3
- 239000004746 geotextile Substances 0.000 claims description 2
- 239000000463 material Substances 0.000 claims description 2
- 239000004575 stone Substances 0.000 claims description 2
- 230000000694 effects Effects 0.000 abstract description 3
- 238000000034 method Methods 0.000 abstract 1
- 230000003014 reinforcing effect Effects 0.000 abstract 1
- 230000006378 damage Effects 0.000 description 5
- 238000005336 cracking Methods 0.000 description 3
- 239000010426 asphalt Substances 0.000 description 1
- 230000009286 beneficial effect Effects 0.000 description 1
- 230000015572 biosynthetic process Effects 0.000 description 1
- 238000010276 construction Methods 0.000 description 1
- 239000004744 fabric Substances 0.000 description 1
- 230000013011 mating Effects 0.000 description 1
- 239000012528 membrane Substances 0.000 description 1
- 238000012986 modification Methods 0.000 description 1
- 230000004048 modification Effects 0.000 description 1
- 238000004062 sedimentation Methods 0.000 description 1
- 239000002689 soil Substances 0.000 description 1
- 239000002344 surface layer Substances 0.000 description 1
- XLYOFNOQVPJJNP-UHFFFAOYSA-N water Substances O XLYOFNOQVPJJNP-UHFFFAOYSA-N 0.000 description 1
- 238000004078 waterproofing Methods 0.000 description 1
Images
Classifications
-
- E—FIXED CONSTRUCTIONS
- E02—HYDRAULIC ENGINEERING; FOUNDATIONS; SOIL SHIFTING
- E02D—FOUNDATIONS; EXCAVATIONS; EMBANKMENTS; UNDERGROUND OR UNDERWATER STRUCTURES
- E02D29/00—Independent underground or underwater structures; Retaining walls
- E02D29/16—Arrangement or construction of joints in foundation structures
-
- E—FIXED CONSTRUCTIONS
- E02—HYDRAULIC ENGINEERING; FOUNDATIONS; SOIL SHIFTING
- E02D—FOUNDATIONS; EXCAVATIONS; EMBANKMENTS; UNDERGROUND OR UNDERWATER STRUCTURES
- E02D19/00—Keeping dry foundation sites or other areas in the ground
- E02D19/06—Restraining of underground water
-
- E—FIXED CONSTRUCTIONS
- E02—HYDRAULIC ENGINEERING; FOUNDATIONS; SOIL SHIFTING
- E02D—FOUNDATIONS; EXCAVATIONS; EMBANKMENTS; UNDERGROUND OR UNDERWATER STRUCTURES
- E02D31/00—Protective arrangements for foundations or foundation structures; Ground foundation measures for protecting the soil or the subsoil water, e.g. preventing or counteracting oil pollution
- E02D31/02—Protective arrangements for foundations or foundation structures; Ground foundation measures for protecting the soil or the subsoil water, e.g. preventing or counteracting oil pollution against ground humidity or ground water
-
- E—FIXED CONSTRUCTIONS
- E02—HYDRAULIC ENGINEERING; FOUNDATIONS; SOIL SHIFTING
- E02D—FOUNDATIONS; EXCAVATIONS; EMBANKMENTS; UNDERGROUND OR UNDERWATER STRUCTURES
- E02D31/00—Protective arrangements for foundations or foundation structures; Ground foundation measures for protecting the soil or the subsoil water, e.g. preventing or counteracting oil pollution
- E02D31/02—Protective arrangements for foundations or foundation structures; Ground foundation measures for protecting the soil or the subsoil water, e.g. preventing or counteracting oil pollution against ground humidity or ground water
- E02D31/025—Draining membranes, sheets or fabric specially adapted therefor, e.g. with dimples
-
- Y—GENERAL TAGGING OF NEW TECHNOLOGICAL DEVELOPMENTS; GENERAL TAGGING OF CROSS-SECTIONAL TECHNOLOGIES SPANNING OVER SEVERAL SECTIONS OF THE IPC; TECHNICAL SUBJECTS COVERED BY FORMER USPC CROSS-REFERENCE ART COLLECTIONS [XRACs] AND DIGESTS
- Y02—TECHNOLOGIES OR APPLICATIONS FOR MITIGATION OR ADAPTATION AGAINST CLIMATE CHANGE
- Y02E—REDUCTION OF GREENHOUSE GAS [GHG] EMISSIONS, RELATED TO ENERGY GENERATION, TRANSMISSION OR DISTRIBUTION
- Y02E10/00—Energy generation through renewable energy sources
- Y02E10/20—Hydro energy
Landscapes
- Engineering & Computer Science (AREA)
- Life Sciences & Earth Sciences (AREA)
- Environmental & Geological Engineering (AREA)
- General Life Sciences & Earth Sciences (AREA)
- Mining & Mineral Resources (AREA)
- Paleontology (AREA)
- Civil Engineering (AREA)
- General Engineering & Computer Science (AREA)
- Structural Engineering (AREA)
- Hydrology & Water Resources (AREA)
- Underground Structures, Protecting, Testing And Restoring Foundations (AREA)
Abstract
The invention discloses an underground structure induction seam, which comprises a structure top plate, wherein the structure top plate is broken to form an induction seam, the bottom surface of the structure top plate is fixedly provided with a sealing structure for sealing the lower opening of the induction seam, the upper opening cover of the induction seam is provided with a prefabricated cover plate, a waterproof coating is coated in the induction seam, and a drainage pipeline communicated with the outside is arranged in the induction seam. This application sets up in the position of easily splitting through setting up induced seam, suitably reduces methods such as reinforcing bar to the restraint of concrete in concrete structure, can guide concrete shrinkage crack to appear in induced seam department, prevents to appear the crack in other places, ensures that whole basement does not ftracture, has good anti and water-proof effects.
Description
Technical Field
The invention relates to the technical field of underground structure construction, in particular to an underground structure induced joint.
Background
Under the condition that underground structure overlength or geological conditions are complicated, need establish the seam from the design angle and handle the structure, under the general condition, the overlength structure all sets up the post-cast strip or establishes the seam and part the major structure, nevertheless the structure establishes the seam and takes place the seepage easily in the work progress, brings the difficulty to the function use and the waterproof design of structure.
Disclosure of Invention
The invention provides an underground structure induced seam which can control a cracking part of a structure and has a good waterproof and drainage function.
The technical problem to be solved is: the traditional overlong building needs to be subjected to parting and breaking treatment.
In order to solve the technical problems, the invention adopts the following technical scheme:
the invention relates to an underground structure induction seam which comprises a structure top plate, wherein the structure top plate is broken to form the induction seam, a sealing structure for sealing the lower opening of the induction seam is fixedly arranged on the bottom surface of the structure top plate, a prefabricated cover plate is arranged on the upper opening cover of the induction seam, waterproof paint is coated in the induction seam, and a drainage pipeline communicated with the outside is arranged in the induction seam.
The invention relates to an underground structure induced joint, further, the sealing structure is a reinforced concrete structure, and the sealing structure and a structural top plate are cast together.
The invention relates to an underground structure induced seam, further, the sealing structure is U-shaped, and two ends of the sealing structure are connected with a structural top plate.
The invention relates to an induction seam of an underground structure, further comprising a bump fixedly arranged on the inner wall of the induction seam, a prefabricated cover plate arranged on the bump, and waterproof sealant filled in the seam between the prefabricated cover plate and a structural top plate.
The invention relates to an induction seam of an underground structure, and further, the lug is of a reinforced concrete structure and is cast and molded together with a structural top plate.
The invention relates to an underground structure induction seam, and further relates to a drainage pipeline which is led out from the lower part of the induction seam and led into a basement sump pit.
The invention relates to an underground structure induced seam, and further discloses that a plurality of drainage pipelines are arranged at intervals along the length direction of the induced seam.
The invention relates to an underground structure induced seam, which is characterized in that a waterproof layer, a protective layer and a paving layer are sequentially arranged on a structural top plate.
The invention relates to an underground structure induced seam, further comprising a waterproof layer, a cement mortar leveling layer and a waterproof coiled material, wherein the waterproof layer is sequentially arranged from bottom to top.
The invention relates to an underground structure induced joint, further comprising a geotechnical cloth and a fine stone concrete layer which are sequentially arranged from bottom to top.
Compared with the prior art, the invention has the following beneficial effects:
1. the application adopts specific measures to carry out waterproof and drainage treatment, and realizes the use of normal functions of the structure; the induction seams are arranged at specific positions on the structural top plate, so that the problems that the whole structure is damaged due to temperature or sedimentation difference, the induction damage occurs at the specific positions, and the difficulty and the engineering quantity of whole damage repair are reduced;
2. when the longitudinal tensile stress is large to a certain degree, the gap is pulled open so as to release the longitudinal internal stress of the concrete structure, so that the shrinkage crack of the concrete can be guided to appear at the induced gap, the cracks at other places can be prevented, the whole basement is ensured not to crack, and the anti-cracking and waterproof effects are good; even this seam is pulled open, the later stage is consolidated and is maintained also more conveniently.
The invention will be further described with reference to the accompanying drawings.
Drawings
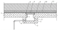
FIG. 1 is a schematic structural view of the present invention;
FIG. 2 is a schematic structural view of the salient induced seam of the present invention.
Reference numerals:
1. a structural roof; 2. inducing a seam; 3. a sealing structure; 4. prefabricating a cover plate; 5. waterproof paint; 6. a water discharge pipeline; 7. a bump; 8. waterproof sealant; 9. a waterproof layer; 10. a protective layer; 11. and (5) paving the layer.
Detailed Description
As shown in figures 1-2, the underground structure induction seam of the invention is arranged on a top plate 1 of a basement structure, and comprises the top plate 1 of the basement structure, an induction seam 2 is formed at the position where the structure top plate 1 needs to be provided with the seam in a breaking mode and serves as an easy-cracking part, a sealing structure 3 for sealing the lower opening of the induction seam 2 is fixedly arranged on the bottom surface of the structure top plate 1, a prefabricated cover plate 4 is arranged on the upper opening cover of the induction seam 2, a layer of JS waterproof paint 5 with the thickness of 2.0mm is coated in the induction seam 2, a drainage pipeline 6 connected with the outside is arranged at the bottom of the induction seam 2, the drainage pipeline 6 is led out from the lower part of the induction seam 2 and led into a sump of the basement, and the drainage pipeline 6 is arranged at intervals of 20m along the length direction of the induction seam 2.
The sealing structure 3 is of a reinforced concrete structure, is integrally U-shaped and is cast and molded together with the structural top plate 1. The inner wall of the upper part of the induction seam 2 is provided with a convex block 7, the convex block 7 is of a reinforced concrete structure and is cast and molded together with the structural top plate 1, the prefabricated cover plate 4 is arranged on the convex block 7 to seal the upper opening of the induction seam 2, and the gap between the prefabricated cover plate 4 and the structural top plate 1 is filled with an anticorrosive waterproof sealant 8 for sealing, so that the waterproof performance is improved.
Be equipped with waterproof layer 9, protective layer 10 and the layer 11 of mating formation on the structure roof 1 in proper order, waterproof layer 9 includes JS waterproof coating 5, 20 mm's cement mortar screed-coat and 4.0 mm's modified asphalt waterproofing membrane that the from the bottom up set gradually. The protective layer 10 comprises geotextile and 50mm C20 fine-grained concrete which are arranged from bottom to top in sequence. The pavement layer 11 is a covering soil layer or a surface layer. Through set up waterproof and the waterproof three-layer waterproof system that forms of double-deck at 1 top of cooperation structure roof in induced seam 2 department, guarantee the waterproof performance of structure, avoid the structure to take place the seepage phenomenon.
The application adopts specific measures to carry out waterproof and drainage treatment, and realizes the use of normal functions of the structure; and through set up induced seam 2 in specific position on structure roof 1, solve the overall structure damage that brings because of temperature or settlement difference, induced damage takes place in specific position, reduces the degree of difficulty and the engineering volume that the whole destruction was repaired.
In addition, when the longitudinal tensile stress is large to a certain degree, the gap is pulled open so as to release the longitudinal internal stress of the concrete structure, so that the shrinkage crack of the concrete can be guided to appear at the induction gap 2, the cracks can be prevented from appearing at other places, the whole basement is ensured not to crack, and the crack-resistant waterproof concrete structure has good crack-resistant and waterproof effects; even this seam is pulled open, the later stage is consolidated and is maintained also more conveniently.
The above-mentioned embodiments are merely illustrative of the preferred embodiments of the present invention, and do not limit the scope of the present invention, and various modifications and improvements of the technical solution of the present invention by those skilled in the art should fall within the protection scope defined by the claims of the present invention without departing from the spirit of the present invention.
Claims (10)
1. An underground structure induced seam, characterized in that: including structure roof (1), structure roof (1) disconnection forms induced seam (2), structure roof (1) bottom surface has set firmly and is induced seam (2) end opening confined seal structure (3), induced seam (2) are gone up the flap and are equipped with prefabricated apron (4), be scribbled waterproof coating (5) in induced seam (2), be equipped with in induced seam (2) with drainage pipe (6) of outside intercommunication.
2. The subsurface structure inducing seam according to claim 1, wherein: the sealing structure (3) is of a reinforced concrete structure and is cast and molded together with the structural top plate (1).
3. The underground structure-inducing seam of claim 2, wherein: the sealing structure (3) is U-shaped, and two ends of the sealing structure are connected with the structural top plate (1).
4. The subsurface structure inducing seam according to claim 1, wherein: the induction seam (2) is characterized in that a bump (7) is fixedly arranged on the inner wall of the induction seam (2), the prefabricated cover plate (4) is arranged on the bump (7), and waterproof sealant (8) is filled in a gap between the prefabricated cover plate (4) and the structure top plate (1).
5. The underground structure-induced seam of claim 4, wherein: the lug (7) is of a reinforced concrete structure and is cast and molded together with the structural top plate (1).
6. The subsurface structure inducing seam according to claim 1, wherein: the drainage pipeline (6) is led out from the lower part of the induction seam (2) and led into the basement sump.
7. The subsurface structure inducing seam according to claim 1, wherein: and the drainage pipelines (6) are arranged at intervals along the length direction of the induction seam (2).
8. The subsurface structure inducing seam according to claim 1, wherein: the structure is characterized in that a waterproof layer (9), a protective layer (10) and a paving layer (11) are sequentially arranged on the structure top plate (1).
9. The underground structure-inducing seam of claim 8, wherein: the waterproof layer (9) comprises waterproof paint (5), a cement mortar leveling layer and a waterproof coiled material which are sequentially arranged from bottom to top.
10. The underground structure-inducing seam of claim 8, wherein: the protective layer (10) comprises a geotextile and a fine stone concrete layer which are sequentially arranged from bottom to top.
Priority Applications (1)
| Application Number | Priority Date | Filing Date | Title |
|---|---|---|---|
| CN202210673132.5A CN115012451A (en) | 2022-06-14 | 2022-06-14 | Underground structure induced joint |
Applications Claiming Priority (1)
| Application Number | Priority Date | Filing Date | Title |
|---|---|---|---|
| CN202210673132.5A CN115012451A (en) | 2022-06-14 | 2022-06-14 | Underground structure induced joint |
Publications (1)
| Publication Number | Publication Date |
|---|---|
| CN115012451A true CN115012451A (en) | 2022-09-06 |
Family
ID=83074175
Family Applications (1)
| Application Number | Title | Priority Date | Filing Date |
|---|---|---|---|
| CN202210673132.5A Pending CN115012451A (en) | 2022-06-14 | 2022-06-14 | Underground structure induced joint |
Country Status (1)
| Country | Link |
|---|---|
| CN (1) | CN115012451A (en) |
Cited By (1)
| Publication number | Priority date | Publication date | Assignee | Title |
|---|---|---|---|---|
| CN116146018A (en) * | 2023-04-20 | 2023-05-23 | 山西建筑工程集团有限公司 | Percolate collecting tank structure and construction method thereof |
Citations (8)
| Publication number | Priority date | Publication date | Assignee | Title |
|---|---|---|---|---|
| CN104032771A (en) * | 2014-06-20 | 2014-09-10 | 中建五局第三建设有限公司 | Anti-cracking construction method for additionally arranging induction joint on underground structure |
| CN204174641U (en) * | 2014-09-11 | 2015-02-25 | 苏州工业园区设计研究院股份有限公司 | The attractive joint structure of ultra-long concrete component |
| CN206706843U (en) * | 2016-12-19 | 2017-12-05 | 广州市城市规划勘测设计研究院 | A kind of basement induction crack structure with gutter |
| CN207714387U (en) * | 2018-01-09 | 2018-08-10 | 中铁十六局集团北京轨道交通工程建设有限公司 | Waterproof construction and water-proof top plate |
| CN211773932U (en) * | 2019-12-23 | 2020-10-27 | 北京维拓时代建筑设计股份有限公司 | Induced joint and waterproof structure for adapting to differential settlement of buildings in high fill area |
| CN212926181U (en) * | 2020-07-01 | 2021-04-09 | 江苏筑森建筑设计有限公司 | Basement roof antidetonation induced seam structure |
| CN216552098U (en) * | 2021-10-29 | 2022-05-17 | 珠海华发人居生活研究院有限公司 | U-shaped cover plate drainage-prevention combined seepage-prevention structure arranged at deformation joint of basement top plate |
| CN217679289U (en) * | 2022-06-14 | 2022-10-28 | 新城控股集团企业管理有限公司 | Underground structure induced seam system |
-
2022
- 2022-06-14 CN CN202210673132.5A patent/CN115012451A/en active Pending
Patent Citations (8)
| Publication number | Priority date | Publication date | Assignee | Title |
|---|---|---|---|---|
| CN104032771A (en) * | 2014-06-20 | 2014-09-10 | 中建五局第三建设有限公司 | Anti-cracking construction method for additionally arranging induction joint on underground structure |
| CN204174641U (en) * | 2014-09-11 | 2015-02-25 | 苏州工业园区设计研究院股份有限公司 | The attractive joint structure of ultra-long concrete component |
| CN206706843U (en) * | 2016-12-19 | 2017-12-05 | 广州市城市规划勘测设计研究院 | A kind of basement induction crack structure with gutter |
| CN207714387U (en) * | 2018-01-09 | 2018-08-10 | 中铁十六局集团北京轨道交通工程建设有限公司 | Waterproof construction and water-proof top plate |
| CN211773932U (en) * | 2019-12-23 | 2020-10-27 | 北京维拓时代建筑设计股份有限公司 | Induced joint and waterproof structure for adapting to differential settlement of buildings in high fill area |
| CN212926181U (en) * | 2020-07-01 | 2021-04-09 | 江苏筑森建筑设计有限公司 | Basement roof antidetonation induced seam structure |
| CN216552098U (en) * | 2021-10-29 | 2022-05-17 | 珠海华发人居生活研究院有限公司 | U-shaped cover plate drainage-prevention combined seepage-prevention structure arranged at deformation joint of basement top plate |
| CN217679289U (en) * | 2022-06-14 | 2022-10-28 | 新城控股集团企业管理有限公司 | Underground structure induced seam system |
Cited By (2)
| Publication number | Priority date | Publication date | Assignee | Title |
|---|---|---|---|---|
| CN116146018A (en) * | 2023-04-20 | 2023-05-23 | 山西建筑工程集团有限公司 | Percolate collecting tank structure and construction method thereof |
| CN116146018B (en) * | 2023-04-20 | 2023-06-27 | 山西建筑工程集团有限公司 | Percolate collecting tank structure and construction method thereof |
Similar Documents
| Publication | Publication Date | Title |
|---|---|---|
| CN206768880U (en) | A kind of waterproof construction for seashore pipe gallery | |
| CN204476470U (en) | A kind of waterproof and water drainage system of applicable tunnel project seam | |
| CN206545228U (en) | A kind of piping lane with waterproof construction | |
| CN202483588U (en) | Self water-proof drainage system of tunnel lining | |
| CN106640154A (en) | Treatment method and structure for water seepage of tunnel lining circular construction joint crack | |
| CN104846841B (en) | Anti-floating construction method for basements without uplift piles | |
| CN109488371B (en) | Waterproof system of full-enclosed waterproof station and dynamic setting and quantity-limiting drainage method | |
| CN201738479U (en) | Roof expansion joint integrated cover plate waterproof structure | |
| CN101881181A (en) | Mine goaf tailing-filled concrete enclosing wall | |
| CN112281924A (en) | Modular combined prefabricated electric working well and its construction method | |
| CN107859064A (en) | A kind of prefabricated piping lane is connected waterproof construction and construction method with cast-in-place piping lane | |
| CN115012452A (en) | Post-casting belt construction technology and basement drainage and pressure relief structure | |
| CN112900294A (en) | Lining structure for box culvert repair and construction method thereof | |
| CN217679289U (en) | Underground structure induced seam system | |
| CN115012451A (en) | Underground structure induced joint | |
| CN103031849B (en) | Method for construction of arranging dewatering well in foundation pit and flexibly closing dewatering well | |
| CN212479325U (en) | Drainage system for construction joint of underground excavation tunnel | |
| CN108777470A (en) | A kind of cable duct bank and its construction method | |
| CN219060257U (en) | Assembled escape canal structure | |
| CN110056071A (en) | A kind of municipal administration storm sewer assembling module and construction method | |
| CN110808564A (en) | Concrete cable trench construction technology | |
| CN114482223B (en) | Geopolymer rain sewage drainage system and construction method thereof | |
| CN215630142U (en) | Modular combined prefabricated electric working well | |
| CN117927275A (en) | Waterproof construction method for underground excavation channel of subway | |
| CN208690872U (en) | A kind of pre-fabricated electric cables comb |
Legal Events
| Date | Code | Title | Description |
|---|---|---|---|
| PB01 | Publication | ||
| PB01 | Publication | ||
| SE01 | Entry into force of request for substantive examination | ||
| SE01 | Entry into force of request for substantive examination | ||
| WD01 | Invention patent application deemed withdrawn after publication | ||
| WD01 | Invention patent application deemed withdrawn after publication |
Application publication date: 20220906 |