CN114179385A - A mask production system - Google Patents

A mask production system Download PDF

Info

Publication number
CN114179385A
CN114179385A CN202210038786.0A CN202210038786A CN114179385A CN 114179385 A CN114179385 A CN 114179385A CN 202210038786 A CN202210038786 A CN 202210038786A CN 114179385 A CN114179385 A CN 114179385A
Authority
CN
China
Prior art keywords
cutting
wire
mask
roller
nose
Prior art date
Legal status (The legal status is an assumption and is not a legal conclusion. Google has not performed a legal analysis and makes no representation as to the accuracy of the status listed.)
Pending
Application number
CN202210038786.0A
Other languages
Chinese (zh)
Inventor
黄雪仪
Current Assignee (The listed assignees may be inaccurate. Google has not performed a legal analysis and makes no representation or warranty as to the accuracy of the list.)
Spro Medical Products Xiamen Co ltd
Original Assignee
Spro Medical Products Xiamen Co ltd
Priority date (The priority date is an assumption and is not a legal conclusion. Google has not performed a legal analysis and makes no representation as to the accuracy of the date listed.)
Filing date
Publication date
Application filed by Spro Medical Products Xiamen Co ltd filed Critical Spro Medical Products Xiamen Co ltd
Priority to CN202210038786.0A priority Critical patent/CN114179385A/en
Publication of CN114179385A publication Critical patent/CN114179385A/en
Pending legal-status Critical Current

Links

Images

Classifications

    • BPERFORMING OPERATIONS; TRANSPORTING
    • B29WORKING OF PLASTICS; WORKING OF SUBSTANCES IN A PLASTIC STATE IN GENERAL
    • B29CSHAPING OR JOINING OF PLASTICS; SHAPING OF MATERIAL IN A PLASTIC STATE, NOT OTHERWISE PROVIDED FOR; AFTER-TREATMENT OF THE SHAPED PRODUCTS, e.g. REPAIRING
    • B29C65/00Joining or sealing of preformed parts, e.g. welding of plastics materials; Apparatus therefor
    • B29C65/74Joining or sealing of preformed parts, e.g. welding of plastics materials; Apparatus therefor by welding and severing, or by joining and severing, the severing being performed in the area to be joined, next to the area to be joined, in the joint area or next to the joint area
    • AHUMAN NECESSITIES
    • A41WEARING APPAREL
    • A41DOUTERWEAR; PROTECTIVE GARMENTS; ACCESSORIES
    • A41D13/00Professional, industrial or sporting protective garments, e.g. surgeons' gowns or garments protecting against blows or punches
    • A41D13/05Professional, industrial or sporting protective garments, e.g. surgeons' gowns or garments protecting against blows or punches protecting only a particular body part
    • A41D13/11Protective face masks, e.g. for surgical use, or for use in foul atmospheres
    • AHUMAN NECESSITIES
    • A41WEARING APPAREL
    • A41HAPPLIANCES OR METHODS FOR MAKING CLOTHES, e.g. FOR DRESS-MAKING OR FOR TAILORING, NOT OTHERWISE PROVIDED FOR
    • A41H43/00Other methods, machines or appliances
    • A41H43/04Joining garment parts or blanks by gluing or welding ; Gluing presses
    • BPERFORMING OPERATIONS; TRANSPORTING
    • B29WORKING OF PLASTICS; WORKING OF SUBSTANCES IN A PLASTIC STATE IN GENERAL
    • B29CSHAPING OR JOINING OF PLASTICS; SHAPING OF MATERIAL IN A PLASTIC STATE, NOT OTHERWISE PROVIDED FOR; AFTER-TREATMENT OF THE SHAPED PRODUCTS, e.g. REPAIRING
    • B29C65/00Joining or sealing of preformed parts, e.g. welding of plastics materials; Apparatus therefor
    • B29C65/02Joining or sealing of preformed parts, e.g. welding of plastics materials; Apparatus therefor by heating, with or without pressure
    • BPERFORMING OPERATIONS; TRANSPORTING
    • B29WORKING OF PLASTICS; WORKING OF SUBSTANCES IN A PLASTIC STATE IN GENERAL
    • B29CSHAPING OR JOINING OF PLASTICS; SHAPING OF MATERIAL IN A PLASTIC STATE, NOT OTHERWISE PROVIDED FOR; AFTER-TREATMENT OF THE SHAPED PRODUCTS, e.g. REPAIRING
    • B29C65/00Joining or sealing of preformed parts, e.g. welding of plastics materials; Apparatus therefor
    • B29C65/02Joining or sealing of preformed parts, e.g. welding of plastics materials; Apparatus therefor by heating, with or without pressure
    • B29C65/08Joining or sealing of preformed parts, e.g. welding of plastics materials; Apparatus therefor by heating, with or without pressure using ultrasonic vibrations
    • BPERFORMING OPERATIONS; TRANSPORTING
    • B29WORKING OF PLASTICS; WORKING OF SUBSTANCES IN A PLASTIC STATE IN GENERAL
    • B29CSHAPING OR JOINING OF PLASTICS; SHAPING OF MATERIAL IN A PLASTIC STATE, NOT OTHERWISE PROVIDED FOR; AFTER-TREATMENT OF THE SHAPED PRODUCTS, e.g. REPAIRING
    • B29C65/00Joining or sealing of preformed parts, e.g. welding of plastics materials; Apparatus therefor
    • B29C65/78Means for handling the parts to be joined, e.g. for making containers or hollow articles, e.g. means for handling sheets, plates, web-like materials, tubular articles, hollow articles or elements to be joined therewith; Means for discharging the joined articles from the joining apparatus
    • B29C65/7858Means for handling the parts to be joined, e.g. for making containers or hollow articles, e.g. means for handling sheets, plates, web-like materials, tubular articles, hollow articles or elements to be joined therewith; Means for discharging the joined articles from the joining apparatus characterised by the feeding movement of the parts to be joined
    • BPERFORMING OPERATIONS; TRANSPORTING
    • B29WORKING OF PLASTICS; WORKING OF SUBSTANCES IN A PLASTIC STATE IN GENERAL
    • B29CSHAPING OR JOINING OF PLASTICS; SHAPING OF MATERIAL IN A PLASTIC STATE, NOT OTHERWISE PROVIDED FOR; AFTER-TREATMENT OF THE SHAPED PRODUCTS, e.g. REPAIRING
    • B29C66/00General aspects of processes or apparatus for joining preformed parts
    • B29C66/80General aspects of machine operations or constructions and parts thereof
    • B29C66/87Auxiliary operations or devices
    • BPERFORMING OPERATIONS; TRANSPORTING
    • B29WORKING OF PLASTICS; WORKING OF SUBSTANCES IN A PLASTIC STATE IN GENERAL
    • B29LINDEXING SCHEME ASSOCIATED WITH SUBCLASS B29C, RELATING TO PARTICULAR ARTICLES
    • B29L2031/00Other particular articles
    • B29L2031/48Wearing apparel
    • B29L2031/4807Headwear
    • B29L2031/4835Masks

Landscapes

  • Engineering & Computer Science (AREA)
  • Mechanical Engineering (AREA)
  • Textile Engineering (AREA)
  • Health & Medical Sciences (AREA)
  • General Health & Medical Sciences (AREA)
  • Physical Education & Sports Medicine (AREA)
  • Respiratory Apparatuses And Protective Means (AREA)

Abstract

本发明公开了一种口罩生产系统,包括依次设置于工作台上的鼻线安装装置、辊压装置、耳带线安装装置、裁剪装置、摊平装置和包装装置;所述鼻线安装装置用于在口罩主体上安装鼻线;所述辊压装置用于辊压易折线和封装鼻线;所述耳带线安装装置用于分别在口罩主体两侧安装耳带线;所述裁剪装置用于从口罩主体上裁剪下各个口罩;所述摊平装置用于将各个口罩摊平并输送到包装装置上;所述包装装置用于排出气体并包覆口罩;该发明结构简单易操作,自动化程度较高,可进行连续化生产,生产效率高,可满足实际的生产加工需求。

Figure 202210038786

The invention discloses a mask production system, comprising a nose wire installation device, a rolling device, an ear strap wire installation device, a cutting device, a flattening device and a packaging device, which are sequentially arranged on a worktable; The nose line is installed on the main body of the mask; the rolling device is used to roll the easy-to-fold line and the sealing nose line; the ear strap line installation device is used to install the ear strap lines on both sides of the mask main body respectively; the cutting device is used for Each mask is cut from the main body of the mask; the flattening device is used to flatten each mask and transport it to the packaging device; the packaging device is used to discharge gas and wrap the mask; the structure of the invention is simple and easy to operate, and it is automated. It has a high degree of continuous production, high production efficiency, and can meet the actual production and processing needs.

Figure 202210038786

Description

Mask production system
Technical Field
The invention relates to the technical field of mask processing equipment, in particular to a mask production system.
Background
The mask is a sanitary article, is generally worn on the mouth and nose for filtering air entering the mouth and nose so as to achieve the effect of blocking harmful gas, smell, spray, virus and other substances, and is made of gauze, paper and other materials. The mask has a certain filtering function on air entering the lung, and has a very good effect when the mask is worn in the environment with epidemic respiratory infectious diseases or dust and other pollution. The existing mask production system is complex in structure, low in automation degree, poor in continuity, low in processing efficiency and high in production cost, and requires personnel to perform processing operation for a long time.
Disclosure of Invention
The invention aims to provide a mask production system which is simple in structure, easy to operate, high in automation degree, capable of carrying out continuous production, high in production efficiency and capable of meeting actual production and processing requirements.
In order to achieve the purpose, the invention adopts the following technical scheme:
a mask production system comprises a nose line installation device, a rolling device, an ear belt line installation device, a cutting device, a flattening device and a packaging device which are sequentially arranged on a workbench; the nose line mounting device is used for mounting a nose line on the mask main body; the rolling device is used for rolling the easy folding line and the packaging nose line; the ear belt line mounting devices are used for mounting ear belt lines on two sides of the mask body respectively; the cutting device is used for cutting off each mask from the mask main body; the flattening device is used for flattening each mask and conveying the masks to the packaging device; the packaging device is used for exhausting gas and covering the mask.
Further, the nose line installation device comprises a feeding assembly, a cutting assembly and a cladding assembly; the upper part and the lower part of the workbench are respectively provided with a surface layer material and a base layer material for preparing the mask main body in a penetrating way; the feeding assembly comprises a mounting shaft, a buffer piece, a plurality of guide wheels, a feeding motor and two feeding rollers which are arranged oppositely up and down; the mounting shaft is rotatably arranged at the upper end of the workbench, and the rolled nose line is mounted on the mounting shaft; the feeding roller and the guide wheel are respectively and rotatably arranged on the workbench; the buffer piece comprises a swing rod and a swing wheel; grooves are respectively arranged on the outer edges of the swinging wheel and the guide wheel; the free end of the nose line is sequentially wound around the guide wheel and then horizontally clamped between the two feeding rollers; the upper end of the swing rod is rotatably connected with the workbench, and the lower end of the swing rod is rotatably connected with the swinging wheel; the swinging wheel is pressed above a nose line between the mounting shaft and the first guide wheel; an output shaft of the feeding motor is fixedly connected with a feeding roller above the feeding motor, the cutting assembly is arranged at the discharge end of the feeding roller, and the cutting assembly is used for cutting off the nose line and then placing the nose line above the base material; the coating assembly is arranged on one side of the discharge end of the cutting assembly, and the nose line is coated between the surface layer material and the base layer material through the coating assembly.
Furthermore, the cutting assembly comprises a cutting plate, a cutter, a cutting spring, a cutting cylinder, a push plate and a pushing cylinder; the cutting plate is fixed on the workbench; a feeding hole is formed in one side of the cutting plate, and a discharging groove communicated with the feeding hole is formed in the cutting plate along the feeding direction of the mouth guard main body; the upper end of the cutting spring is fixedly connected with the cutter, and the lower end of the cutting spring is fixedly connected with the cutting plate; the lower end of the cutter penetrates through the discharge chute; the upper end of the cutting cylinder is fixedly connected with the workbench, and the cutting cylinder presses the cutter downwards to cut off the nose line tightly extending into the feeding hole; one end of the push plate is embedded into the discharge chute, and the other end of the push plate is connected with a telescopic rod of the pushing cylinder; the pushing cylinder is fixed on the workbench, and the cut nose line is pushed to the upper part of the base material through the pushing plate.
Further, the rolling device comprises a forming roller and a first ultrasonic welding machine; two ends of the forming roller are rotatably arranged on the workbench; a first welding die head of the first ultrasonic welding machine is fixed below the forming roller, and the forming roller is driven by a rolling motor to rotate the rolling mask main body; the outer wall of the forming roller is provided with nose lugs, cheek lugs and two cheekbone lugs which are arranged oppositely at intervals; the nose lug comprises a wire frame lug, a nose bridge lug and a nasal groove lug which is respectively arranged at two sides of the nose bridge lug, and the nose bridge easy folding line, the nasal groove easy folding line and the edge sealing frame of the nasal line are respectively rolled on the mask main body through the nose bridge lug, the nasal groove lug and the wire frame lug; the cheekbone bumps comprise zygomatic upper bumps and zygomatic lower bumps which are arranged at intervals, and zygomatic upper easy folding lines and zygomatic lower easy folding lines are respectively pressed on the mask body through the zygomatic upper bumps and the zygomatic lower bumps; the cheek lugs are arranged on the two outer sides and the upper part of the cheek lugs, and cheek easy folding lines are pressed on the mask main body through the cheek lugs; the two outer sides of the forming roller are provided with recovery convex blocks which are arranged at intervals, and the easy folding lines are recovered by the aid of the recovery convex blocks through rolling at the two side edges of the mask body.
Furthermore, the ear belt line mounting device comprises a bracket, a welding mechanism and two line moving mechanisms which are respectively arranged at two sides of the mask main body; the support is fixed above the workbench, and the mask body penetrates through the upper end face of the workbench; a lifting cylinder is fixed at the lower end of the bracket, and a telescopic rod of the lifting cylinder is fixedly connected with a lifting plate; the outer side of the wire moving mechanism is provided with an intercepting mechanism for intercepting a section of the ear belt wire, and the wire moving mechanism comprises two wire moving claws for grabbing the inner sides of two end parts of the ear belt wire; the lower end of the wire moving claw is bent towards the inner side of the mask body, and a wire clamping groove is formed in the inner side wall of the lower end part of the wire moving claw; a wire moving cylinder is fixed at the upper end of the wire clamping groove, a wire moving plate is fixed at the lower end of a telescopic rod of the wire moving cylinder, and the lug wire is clamped by pressing down the wire moving plate; the upper end of the wire moving claw is rotatably connected with the lifting plate; a rotating motor is fixed on the lifting plate; an output shaft of the rotating motor is connected with the wire moving claw, and the wire moving claw is driven by the rotating motor to move to the intercepting mechanism or the mask main body; the welding mechanism comprises a second ultrasonic welding machine and four pressing air cylinders; a second welding die head of the second ultrasonic welding machine is fixed below the mask main body; the pressing cylinder is fixed on the support, a pressing rod is fixed on a telescopic rod of the pressing cylinder, and the ear strip wire is welded on the mask main body by pressing the end part of the ear strip wire downwards through the pressing rod.
Furthermore, the intercepting mechanism comprises a wire inlet block, a wire cutter and a telescopic wire clamping head; the wire inlet block is provided with a wire inlet hole along the feeding direction of the mouth guard main body; the ear belt line penetrates through the wire inlet hole, and a section of ear belt line is pulled from the wire inlet block through the extension of the wire clamping head; the wire cutter is arranged on one side of the wire inlet block close to the wire clamping head, and the pulled ear belt wire is cut off by the wire cutter; the wire clamping head comprises a transverse moving mechanism, an L-shaped rod, a wire clamping cylinder and a wire clamping plate; the transverse moving mechanism is arranged on the outer side of the wire inlet block; the L-shaped rod is fixed on the inner side of the transverse moving mechanism; the clamping cylinder is fixed on the upper end of the L-shaped rod, a telescopic rod of the clamping cylinder is fixedly connected with the clamping plate, and the inner side of the end part of the clamping lug belt is pressed downwards through the clamping plate.
Furthermore, a folding device is arranged between the ear belt line installation device and the cutting device; the folding device comprises a pre-folding mechanism and two oppositely arranged rolling mechanisms; the pre-folding mechanism comprises a triangular plate, a telescopic piece and a mounting seat; the upper end of the telescopic piece is hinged with the lower end of the tip part of the triangular plate, and the lower end of the telescopic piece is hinged with the workbench; one end of the triangular plate, which is far away from the telescopic piece, is rotatably connected with the mounting seat; the rolling mechanism comprises a connecting block, a folding roller and a locking bolt; the lower end of the doubling roller is rotatably connected with the connecting block; the connecting block is provided with a position adjusting sliding groove, the locking bolt penetrates through the position adjusting sliding groove, the lower end of the locking bolt is in threaded connection with the workbench, and the mounting positions of the two folding rollers are adjusted through rotating or sliding the connecting block.
Further, the cutting device comprises a counter pressure roller, a cutting roller and an elastic cushion layer for pressing the mask main body; the pair of compression rollers and the cutting roller are oppositely arranged, two ends of the pair of compression rollers are rotatably connected with the workbench, and two ends of the cutting roller are respectively rotatably connected with the workbench; a plurality of cutting sheets for cutting the mask main body are fixed on the outer wall of the cutting roller at intervals along the circumferential direction; the elastic cushion layer is coated outside the cutting roller, and the cutting edge of the cutting sheet penetrates out of the elastic cushion layer and abuts against the outer wall of the counter-pressure roller; the gauze mask main part closely presss from both sides and locates between compression roller and the roller of tailorring, cuts out the piece rotation of cutting out on the motor drive roller of tailorring through one and tailors the gauze mask main part.
Further, the flattening device comprises a turnover mechanism and a conveying mechanism for conveying the mask in a vertical state; the turnover mechanism comprises an upper rotating shaft, a lower rotating shaft, a rear rotating shaft, a front rotating shaft, a first belt, a second belt and a turnover motor; the upper rotating shaft and the lower rotating shaft are respectively arranged above and below the workbench in a transverse rotating manner; the front rotating shaft is longitudinally locked at the front side of the workbench, and a front mounting roller is rotatably arranged on the front rotating shaft; the rear rotating shaft is longitudinally and rotatably arranged on the rear side of the workbench, and a rear mounting roller is fixedly sleeved on the rear rotating shaft; the first belt discharging end is sleeved on the upper rotating shaft, and the first belt feeding end is twisted by 90 degrees and then sleeved on the rear mounting roller; the second belt discharging end is sleeved on the lower rotating shaft, and the second belt feeding end is twisted by 90 degrees and then sleeved on the front mounting roller; the front mounting roller and the rear mounting roller are positioned at the discharge end of the conveying mechanism; output shaft and back pivot fixed connection of upset motor, the gauze mask closely presss from both sides and locates between first belt and the second belt, drives the gauze mask upset shakeouts vertical state of second belt synchronous drive through first belt.
Further, the packaging device comprises a wrapping mechanism, an exhaust mechanism and an edge sealing cutter which are sequentially arranged above the workbench; a flanging hopper is fixed at the feed end of the workbench, and two sides of a strip-shaped plastic film extending below the workbench are turned over to the upper inner side to wrap the mask through the flanging hopper; the edge covering mechanism is arranged at the discharge end of the edge covering hopper, and the two side edges of the plastic film are overlapped and sealed through the edge covering mechanism; the exhaust mechanism comprises an exhaust motor, a mounting frame, a driving wheel, a driven wheel, an exhaust belt, an adjusting bolt and an adjusting spring; the exhaust motor is fixed at the upper end of the workbench; the driving wheel and the driven wheel are respectively and rotatably arranged at the feeding end and the discharging end of the mounting frame, and the exhaust belt is sleeved on the driving wheel and the driven wheel; the driving wheel is fixedly connected with an output shaft of the exhaust motor, and is extruded and conveyed by the exhaust belt; the adjusting bolt is in threaded connection with the mounting frame, and the lower end of the adjusting bolt is abutted against the workbench; the upper end of the adjusting spring is fixedly connected with the mounting frame, and the lower end of the adjusting spring is fixedly connected with the workbench; and the edge sealing cutting machine seals and cuts off the end part of the plastic film at intervals.
After the technical scheme is adopted, the invention has the following beneficial effects:
1. the mask production system is simple in structure, easy to operate, high in automation degree, capable of carrying out continuous production, high in production efficiency and capable of meeting actual production and processing requirements.
2. According to the mask production system, the swinging wheel is arranged above the nose line between the mounting shaft and the first guide wheel in a pressing mode, when the nose line is pulled, the swinging wheel can swing upwards to continuously feed, when the nose line is stopped to be pulled, the swinging wheel swings downwards, excessive nose lines released due to inertia can be accommodated, the buffering effect is good, the processing is stable, and the nose line mounting precision can be improved; the feeding motor drives the feeding roller to rotate, when the nose line length that tightly stretches into the feed port reaches the requirement, through cutting the flexible drive cutter of cylinder with the nose line cut off, the flexible drive push pedal of rethread promotion cylinder will cut off the nose line push to basic unit's material top, the nose line is at the difficult position skew that takes place of cutting with the in-process of laying, is convenient for when later stage welding seals the frame, carries out the banding with the nose line, and nose line installation accuracy is high.
3. The mask production system can bend the mask along the easy folding line of the nose bridge, the easy folding line of the nasal cleft, the easy folding line of the upper cheeks, the easy folding line of the lower cheeks and the easy folding line of the cheeks, can effectively improve the attaching degree of the mask and the nose, the cheeks and the like, and is attractive and elegant and good in attaching performance.
4. According to the mask production system, after an intercepting mechanism draws a section of ear belt line from a line inlet block, a lifting cylinder drives a line moving claw to ascend, meanwhile, a rotating motor drives the line moving claw to rotate outwards, the line moving claw is located behind the outer side of the end portion of the ear belt line, the line moving claw descends and rotates inwards, after the ear belt line is located in a line clamping groove, a line moving cylinder drives a line moving plate to descend and clamp the inner side of the end portion of the ear belt line, at the moment, the ear belt line is cut off, then the line moving claw continues to rotate inwards until the end portion of the ear belt line is located at the corresponding mounting position of a mask main body, the line taking is convenient, and the mounting position of the ear belt line is accurate.
5. According to the mask production system, the elastic cushion layer can be made of foam, and has the characteristics of elasticity, light weight and rapid pressure-sensitive fixation.
6. According to the mask production system, the first belt and the second belt can be gradually changed from a vertical state to a horizontal state after being twisted by 90 degrees, and a mask tightly clamped between the first belt and the second belt can be neatly flattened under the driving of the turnover motor, so that subsequent automatic bagging is facilitated, and the using effect is good.
7. The invention relates to a mask production system, which comprises a flattening device, a flanging hopper, a mask conveying device and a mask conveying device, wherein the flattening device conveys masks to a plastic film at the upper end of the flanging hopper at intervals, and under the guiding action of the flanging hopper, two side edges of the plastic film are folded upwards and inwards to wrap the masks; then, the two side edge superposition parts of the plastic film penetrate between two pairs of opposite compression rollers of the edge covering mechanism, and can be oppositely compressed and sealed due to the heating action of the heating plate; then, the exhaust motor drives the exhaust belt to rotate, so that air in the plastic film can be extruded out to one side of the feeding end, and the plastic film for coating the mask is conveyed to the edge sealing cutting machine; finally, the end part of the plastic film is subjected to hot-pressing edge sealing and is cut off from the middle of the edge sealing part through the edge sealing cutting machine, the automation degree is high, air in the plastic film can be extruded and then subjected to edge sealing and packaging, and the using effect is good.
Drawings
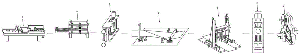
FIG. 1 is a schematic flow diagram of the present invention;
FIG. 2 is a schematic perspective view of the nose line attachment apparatus of the present invention;
FIG. 3 is a schematic side view of the cutting assembly, covering assembly, mask body and nose line of the present invention;
FIG. 4 is a perspective view of the cutting assembly of the present invention;
FIG. 5 is a schematic structural diagram of a plurality of mask nose bridge easy-folding lines, nose groove easy-folding lines, frame sealing lines, cheekbone upper easy-folding lines, cheekbone lower easy-folding lines, cheek easy-folding lines and recovery easy-folding lines which are continuously rolled on a mask main body by the forming roller;
FIG. 6 is a schematic front view of the rolling device according to the present invention;
FIG. 7 is a front view of a forming roll of the present invention;
FIG. 8 is a schematic side view of the rolling device of the present invention;
FIG. 9 is a schematic perspective view of an ear strap wire installation device of the present invention;
FIG. 10 is a perspective view of the intercepting mechanism of the present invention;
FIG. 11 is a schematic structural view of two thread shifting claws and an ear belt thread on the same side of the invention;
FIG. 12 is a schematic view of the welding mechanism of the present invention;
FIG. 13 is a schematic perspective view of the folding apparatus of the present invention;
FIG. 14 is a schematic perspective view of a cutting device according to the present invention;
FIG. 15 is a schematic view of the mask body sandwiched between the counter roll and the cutting roll according to the present invention;
fig. 16 is a schematic perspective view of the flattening apparatus according to the present invention;
FIG. 17 is a schematic view of a partial structure of the turnover mechanism and the conveying mechanism of the present invention;
fig. 18 is a perspective view of the packaging device of the present invention.
The reference numbers in the figures denote:
1. a work table; 10. turning over the side bucket; 2. a nose line mounting device; 20. a feed assembly; 200. installing a shaft; 201. a buffer member; 2010. a swing rod; 2011. a swinging wheel; 202. a guide wheel; 203. a feeding motor; 204. a feed roll; 21. a cutting assembly; 210. cutting the board; 2100. a feed port; 2101. a discharge chute; 211. a cutter; 212. cutting the spring; 213. cutting the air cylinder; 214. pushing the plate; 215. a push cylinder; 22. a sheathing assembly; 3. a rolling device; 30. a forming roller; 300. a nose bump; 3000. a wire frame bump; 3001. a nose ridge projection; 3002. a nasal sulcus projection; 301. a cheek bump; 302. a cheekbone projection; 3020. lug on cheeks; 3021. an under-cheekbone bump; 303. recovering the bumps; 31. a first ultrasonic welding machine; 310. a first welding die head; 32. rolling a motor; 4. an earband wire mounting device; 40. a support; 400. a lifting cylinder; 401. a lifting plate; 41. a welding mechanism; 410. a second ultrasonic welding machine; 4100. a second welding die head; 411. a pressing cylinder; 412. a pressing lever; 42. a wire moving mechanism; 420. a wire moving claw; 4200. a wire clamping groove; 4201. a wire moving cylinder; 4202. a wire-shifting board; 421. a rotating electric machine; 43. an intercepting mechanism; 430. a wire inlet block; 4300. a wire inlet hole; 431. a wire cutter; 432. a wire clamping head; 4320. a traversing mechanism; 4321. an "L" shaped rod; 4322. a wire clamping cylinder; 4323. a wire clamping plate; 5. a cutting device; 50. pressing rollers; 51. a cutting roller; 510. cutting the slices; 52. an elastic cushion layer; 53. cutting a motor; 6. a flattening device; 60. a turnover mechanism; 600. an upper rotating shaft; 601. a lower rotating shaft; 602. a rear rotating shaft; 6020. a rear mounting roller; 603. a front rotating shaft; 6030. a front mounting roller; 604. a first belt; 605. a second belt; 606. turning over a motor; 61. a conveying mechanism; 7. a packaging device; 70. a binding mechanism; 71. an exhaust mechanism; 710. an exhaust motor; 711. a mounting frame; 712. a driving wheel; 713. a driven wheel; 714. an exhaust belt; 715. adjusting the bolt; 716. adjusting the spring; 72. an edge sealing cutter; 8. a mask body; 80. a nose line; 81. an ear band wire; 82. surface layer material; 83. a base layer material; 84. the bridge of the nose is easy to fold; 85. the nasal sulcus is easy to fold; 86. sealing the frame; 87. easy folding lines on cheeks; 88. a line easy to fold under cheeks; 89. the cheek is easy to fold; 810. recovering the easy folding line; 811. a plastic film; 9. a folding device; 90. a pre-folding mechanism; 900. a set square; 901. a telescoping member; 902. a mounting seat; 91. a rolling mechanism; 910. connecting blocks; 9100. a positioning chute; 911. folding rollers; 912. and locking the bolt.
Detailed Description
In order to make the objects, technical solutions and advantages of the present invention more apparent, the present invention is described in further detail below with reference to the accompanying drawings and embodiments. It should be understood that the specific embodiments described herein are merely illustrative of the invention and are not intended to limit the invention.
Referring to fig. 1 to 18, a mask production system includes a nose line mounting device 2, a rolling device 3, an ear belt line mounting device 4, a cutting device 5, a flattening device 6 and a packing device 7, which are sequentially disposed on a workbench 1; the nose line installation device 2 is used for installing a nose line 80 on the mask main body 8; the rolling device 3 is used for rolling the easy folding line and the packaging nose line 80; the ear belt line mounting device 4 is used for mounting ear belt lines 81 on two sides of the mask main body 8 respectively; the cutting device 5 is used for cutting off each mask from the mask main body 8; the flattening device 6 is used for flattening each mask and conveying the mask to the packaging device 7; the packing device 7 is used for exhausting gas and covering the mask.
As shown in fig. 2, 3 and 4, the nose line installation apparatus 2 includes a feeding assembly 20, a cutting assembly 21 and a sheathing assembly 22; the upper part and the lower part of the workbench 1 are respectively provided with a surface material 82 and a base material 83 for preparing the mask main body 8 in a penetrating way; the feeding assembly 20 comprises a mounting shaft 200, a buffer member 201, a plurality of guide wheels 202, a feeding motor 203 and two feeding rollers 204 which are arranged oppositely up and down; the mounting shaft 200 is rotatably arranged at the upper end of the workbench 1, and the coiled nose line 80 is arranged on the mounting shaft 200; the feeding roller 204 and the guide wheel 202 are respectively and rotatably arranged on the workbench 1; the buffer 201 comprises a swing rod 2010 and a swing wheel 2011; grooves are respectively arranged at the outer edges of the oscillating wheel 2011 and the guide wheel 202; the free end of the nose line 80 is sequentially wound around the guide wheel 202 and then horizontally clamped between the two feed rollers 204; the upper end of the oscillating rod 2010 is rotatably connected with the workbench 1, and the lower end of the oscillating rod 2010 is rotatably connected with an oscillating wheel 2011; the swinging wheel 2011 is pressed above the nose line 80 between the mounting shaft 200 and the first guide wheel 202; an output shaft of the feeding motor 203 is fixedly connected with a feeding roller 204 above, the cutting assembly 21 is arranged at the discharge end of the feeding roller 204, and the nose line 80 is cut off by the cutting assembly 21 and then placed above the base material 83; the covering component 22 is arranged on one side of the discharge end of the cutting component 21, and the nose line 80 is covered between the surface material 82 and the base material 83 through the covering component 22.
As shown in fig. 2 to 4, the cutting assembly 21 includes a cutting plate 210, a cutting knife 211, a cutting spring 212, a cutting cylinder 213, a push plate 214, and a push cylinder 215; the cutting plate 210 is fixed on the workbench 1; a feeding hole 2100 is formed in one side of the cutting plate 210, and a discharging groove 2101 communicated with the feeding hole 2100 is formed in the cutting plate 210 along the feeding direction of the port cover main body 8; the upper end of the cutting spring 212 is fixedly connected with the cutter 211, and the lower end of the cutting spring 212 is fixedly connected with the cutting plate 210; the lower end of the cutter 211 penetrates through the discharge chute 2101; the upper end of the cutting cylinder 213 is fixedly connected with the workbench 1, and the cutting cylinder 213 presses the cutter 211 downwards to cut off the nose line 80 tightly extending into the feeding hole 2100; one end of the push plate 214 is embedded into the discharge chute 2101, and the other end of the push plate 214 is connected with an expansion link of the push cylinder 215; the pushing cylinder 215 is fixed on the worktable 1, and the cut nose line 80 is pushed above the base material 83 by the pushing plate 214.
As shown in fig. 5 to 8, the rolling device 3 includes a forming roller 30 and a first ultrasonic welding machine 31; two ends of the forming roller 30 are rotatably arranged on the workbench 1; the first welding die head 310 of the first ultrasonic welding machine 31 is fixed below the forming roller 30, and the forming roller 30 is driven by a rolling motor 32 to rotate the rolling mask main body 8; the outer wall of the forming roller 30 is provided with nose lugs 300, cheek lugs 301 and two cheekbone lugs 302 which are arranged oppositely and arranged at intervals; the nose bump 300 comprises a wire frame bump 3000, a nose bridge bump 3001 and nasal groove bumps 3002 respectively arranged at two sides of the nose bridge bump 3001, and the nose bridge easy folding line 84, the nasal groove easy folding line 85 and the edge sealing frame 86 of the nasal line 80 are respectively rolled on the mask main body 8 through the nose bridge bump 3001, the nasal groove bumps 3002 and the wire frame bump 3000; the cheekbone bumps 302 comprise cheekbone upper bumps 3020 and cheekbone lower bumps 3021 which are arranged at intervals, and the cheekbone upper easy folding line 87 and the cheekbone lower easy folding line 88 are respectively rolled on the mask body 8 through the cheekbone upper bumps 3020 and the cheekbone lower bumps 3021; the cheek lugs 301 are arranged at the two outer sides and the upper part of the cheek lug 302, and the cheek easy fold line 89 is rolled out on the mask main body 8 through the cheek lugs 301; the two outer sides of the forming roller 30 are provided with recovery lugs 303 which are arranged at intervals, and the recovery easy folding lines 810 are pressed out by the rollers at the two sides of the mask body 8 through the recovery lugs 303.
As shown in fig. 9 to 12, the ear band wire installation device 4 includes a bracket 40, a welding mechanism 41 and two wire moving mechanisms 42 respectively disposed at two sides of the mask body 8; the support 40 is fixed above the workbench 1, and the mask body 8 penetrates through the upper end face of the workbench 1; a lifting cylinder 400 is fixed at the lower end of the support 40, and a telescopic rod of the lifting cylinder 400 is fixedly connected with a lifting plate 401; the outer side of the wire moving mechanism 42 is provided with an intercepting mechanism 43 for intercepting a section of the ear belt wire 81, and the wire moving mechanism 42 comprises two wire moving claws 420 for grabbing the inner sides of two end parts of the ear belt wire 81; the lower end of the wire moving claw 420 is bent towards the inner side of the mask body 8, and a wire clamping groove 4200 is arranged on the inner side wall of the lower end part of the wire moving claw 420; a wire moving cylinder 4201 is fixed at the upper end of the wire clamping groove 4200, a wire moving plate 4202 is fixed at the lower end of a telescopic rod of the wire moving cylinder 4201, and the lug wire 81 is clamped by the wire moving plate 4202 in a downward pressing mode; the upper end of the wire moving claw 420 is rotatably connected with the lifting plate 401; a rotating motor 421 is fixed on the lifting plate 401; an output shaft of the rotating motor 421 is connected with the thread moving claw 420, and the thread moving claw 420 is driven by the rotating motor 421 to move towards the intercepting mechanism 43 or the mask body 8; the welding mechanism 41 includes a second ultrasonic welding machine 410 and four pressing cylinders 411; the second welding die 4100 of the second ultrasonic welding machine 410 is fixed below the mask body 8; the pressing cylinder 411 is fixed to the bracket 40, the pressing rod 412 is fixed to the extension rod of the pressing cylinder 411, and the ear strap 81 is welded to the mask body 8 by pressing the end of the ear strap 81 downward by the pressing rod 412.
As shown in fig. 9 to 12, the intercepting mechanism 43 includes a thread feeding block 430, a thread cutting knife 431 and a retractable thread clamping head 432; the wire inlet block 430 is provided with a wire inlet hole 4300 along the feeding direction of the mask main body 8; the ear belt line 81 is arranged in the wire inlet hole 4300 in a penetrating mode, and a section of the ear belt line 81 is pulled from the wire inlet block 430 through the extension and contraction of the wire clamping head 432; the wire cutter 431 is arranged on one side, close to the wire clamping head 432, of the wire inlet block 430, and the pulled ear belt wire 81 is cut off through the wire cutter 431; the thread clamping head 432 comprises a transverse moving mechanism 4320, an L-shaped rod 4321, a thread clamping cylinder 4322 and a thread clamping plate 4323; the transverse moving mechanism 4320 is arranged outside the wire inlet block 430; the L-shaped rod 4321 is fixed at the inner side of the transverse moving mechanism 4320; the wire clamping cylinder 4322 is fixed at the upper end of the L-shaped rod 4321, the telescopic rod of the wire clamping cylinder 4322 is fixedly connected with the wire clamping plate 4323, and the inner side of the end part of the lug wire 81 is pressed downwards through the wire clamping plate 4323.
As shown in fig. 13, a doubling device 9 is arranged between the ear belt line installation device 4 and the cutting device 5; the folding device 9 comprises a pre-folding mechanism 90 and two oppositely arranged rolling mechanisms 91; the pre-folding mechanism 90 comprises a triangular plate 900, a telescopic piece 901 and a mounting seat 902; the upper end of the telescopic piece 901 is hinged with the lower end of the tip end part of the triangular plate 900, and the lower end of the telescopic piece 901 is hinged with the workbench 1; one end of the triangle 900, which is far away from the telescopic part 901, is rotatably connected with a mounting seat 902; the rolling mechanism 91 comprises a connecting block 910, a doubling roller 911 and a locking bolt 912; the lower end of the folding roller 911 is rotatably connected with a connecting block 910; the connecting block 910 is provided with a positioning chute 9100, the locking bolt 912 passes through the positioning chute 9100 and the lower end of the locking bolt is in threaded connection with the workbench 1, and the mounting positions of the two folding rollers 911 are adjusted by rotating or sliding the connecting block 910.
As shown in fig. 14 and 15, the cutting device 5 includes a counter pressure roller 50, a cutting roller 51 and an elastic cushion 52 for pressing the mask body 8; the opposite compression roller 50 and the cutting roller 51 are oppositely arranged, two ends of the opposite compression roller 50 are rotatably connected with the workbench 1, and two ends of the cutting roller 51 are respectively rotatably connected with the workbench 1; a plurality of cutting pieces 510 for cutting the mask body 8 are fixed on the outer wall of the cutting roller 51 at intervals along the circumferential direction; the elastic cushion layer 52 is coated outside the cutting roller 51, and the cutting edge of the cutting sheet 510 penetrates out of the elastic cushion layer 52 and abuts against the outer wall of the counter-pressure roller 50; the mask body 8 is tightly clamped between the pressing roller 50 and the cutting roller 51, and the cutting motor 53 drives the cutting piece 510 on the cutting roller 51 to rotate to cut the mask body 8.
As shown in fig. 16 and 17, the flattening device 6 includes a turnover mechanism 60 and a conveying mechanism 61 for conveying the mask in a vertical state; the turnover mechanism 60 comprises an upper rotating shaft 600, a lower rotating shaft 601, a rear rotating shaft 602, a front rotating shaft 603, a first belt 604, a second belt 605 and a turnover motor 606; the upper rotating shaft 600 and the lower rotating shaft 601 are respectively and transversely arranged above and below the workbench 1 in a rotating manner; the front rotating shaft 603 is longitudinally locked at the front side of the workbench 1, and a front mounting roller 6030 is rotatably arranged on the front rotating shaft 603; the rear rotating shaft 602 is longitudinally and rotatably arranged at the rear side of the workbench 1, and a rear mounting roller 6020 is fixedly sleeved on the rear rotating shaft 602; the discharge end of the first belt 604 is sleeved on the upper rotating shaft 600, and the feed end of the first belt 604 is twisted by 90 degrees and then sleeved on the rear mounting roller 6020; the discharge end of the second belt 605 is sleeved on the lower rotating shaft 601, and the feed end of the second belt 605 is twisted by 90 degrees and then sleeved on the front mounting roller 6030; the front mounting roller 6030 and the rear mounting roller 6020 are positioned at the discharge end of the conveying mechanism 61; the output shaft of the turnover motor 606 is fixedly connected with the rear rotating shaft 602, the mask is tightly clamped between the first belt 604 and the second belt 605, and the second belt 605 is driven by the first belt 604 to synchronously transmit to turn and flatten the mask in a vertical state.
As shown in fig. 18, the packaging device 7 includes a taping mechanism 70, an air discharging mechanism 71 and an edge sealing cutter 72 which are sequentially arranged above the workbench 1; a flanging hopper 10 is fixed at the feed end of the workbench 1, and two sides of a strip-shaped plastic film 811 extending from the lower part of the workbench 1 are turned over to the upper inner side to cover the mask through the flanging hopper 10; the edge covering mechanism 70 is arranged at the discharge end of the edge covering hopper 10, and two side edges of the plastic film 811 are overlapped and sealed through the edge covering mechanism 70; the exhaust mechanism 71 comprises an exhaust motor 710, a mounting frame 711, a driving wheel 712, a driven wheel 713, an exhaust belt 714, an adjusting bolt 715 and an adjusting spring 716; the exhaust motor 710 is fixed at the upper end of the workbench 1; the driving wheel 712 and the driven wheel 713 are respectively and rotatably arranged at the feeding end and the discharging end of the mounting frame 711, and the exhaust belt 714 is sleeved on the driving wheel 712 and the driven wheel 713; the driving wheel 712 is fixedly connected with an output shaft of the exhaust motor 710, and is extruded and conveyed by an exhaust belt 714 to form a plastic film 811; the adjusting bolt 715 is in threaded connection with the mounting frame 711, and the lower end of the adjusting bolt abuts against the workbench 1; the upper end of the adjusting spring 716 is fixedly connected with the mounting frame 711, and the lower end of the adjusting spring 716 is fixedly connected with the workbench 1; the edge sealing cutter 72 seals and cuts the end of the plastic film 811 at intervals.
The above description is only for the preferred embodiment of the present invention, but the scope of the present invention is not limited thereto, and any changes or substitutions that can be easily conceived by those skilled in the art within the technical scope of the present invention are included in the scope of the present invention. Therefore, the protection scope of the present invention shall be subject to the protection scope of the claims.

Claims (10)

1.一种口罩生产系统,其特征在于:包括依次设置于工作台(1)上的鼻线安装装置(2)、辊压装置(3)、耳带线安装装置(4)、裁剪装置(5)、摊平装置(6)和包装装置(7);所述鼻线安装装置(2)用于在口罩主体(8)上安装鼻线(80);所述辊压装置(3)用于辊压易折线和封装鼻线(80);所述耳带线安装装置(4)用于分别在口罩主体(8)两侧安装耳带线(81);所述裁剪装置(5)用于从口罩主体(8)上裁剪下各个口罩;所述摊平装置(6)用于将各个口罩摊平并输送到包装装置(7)上;所述包装装置(7)用于排出气体并包覆口罩。1. a mask production system, is characterized in that: comprise the nose wire installation device (2), the roller pressing device (3), the ear strap wire installation device (4), the cutting device ( 5), a flattening device (6) and a packaging device (7); the nose wire installation device (2) is used to install the nose wire (80) on the mask body (8); the rolling device (3) is used for It is used for rolling easy folding lines and sealing nose lines (80); the ear strap wire installation device (4) is used to install ear strap wires (81) on both sides of the mask body (8) respectively; the cutting device (5) is used for Cut each mask from the mask main body (8); the flattening device (6) is used to flatten each mask and transport it to the packaging device (7); the packaging device (7) is used to discharge gas and Cover the mask. 2.如权利要求1所述的一种口罩生产系统,其特征在于:所述鼻线安装装置(2)包括进料组件(20)、切割组件(21)和包覆组件(22);所述工作台(1)上下部分别穿设有用于制备口罩主体(8)的表层料(82)和基层料(83);所述进料组件(20)包括安装轴(200)、缓冲件(201)、多个导向轮(202)、进料电机(203)和两个上下相对设置的进料辊(204);所述安装轴(200)转动设置于工作台(1)上端,卷状的鼻线(80)安装在安装轴(200)上;所述进料辊(204)和导向轮(202)分别转动设置于工作台(1)上;所述缓冲件(201)包括摆杆(2010)和摆动轮(2011);所述摆动轮(2011)和导向轮(202)外缘分别设置有凹槽;所述鼻线(80)的自由端依次绕设于导向轮(202)后水平夹设于两个进料辊(204)之间;所述摆杆(2010)上端与工作台(1)转动连接,摆杆(2010)下端与摆动轮(2011)转动连接;所述摆动轮(2011)压设于安装轴(200)和第一个导向轮(202)间的鼻线(80)上方;所述进料电机(203)的输出轴与上方的进料辊(204)固定连接,切割组件(21)设置于进料辊(204)出料端,通过切割组件(21)将鼻线(80)切断后安放在基层料(83)上方;所述包覆组件(22)设置于切割组件(21)出料端一侧,通过包覆组件(22)将鼻线(80)包覆在表层料(82)和基层料(83)之间。2. A mask production system according to claim 1, characterized in that: the nose wire installation device (2) comprises a feeding assembly (20), a cutting assembly (21) and a wrapping assembly (22); The upper and lower parts of the workbench (1) are respectively provided with a surface layer material (82) and a base layer material (83) for preparing the mask body (8); the feeding assembly (20) includes a mounting shaft (200), a buffer ( 201), a plurality of guide wheels (202), a feeding motor (203), and two feeding rollers (204) arranged up and down opposite to each other; the installation shaft (200) is rotatably arranged on the upper end of the worktable (1), and has a roll shape. The nose wire (80) is installed on the installation shaft (200); the feed roller (204) and the guide wheel (202) are respectively rotatably arranged on the worktable (1); the buffer member (201) includes a swing rod (2010) and a swinging wheel (2011); grooves are respectively provided on the outer edges of the swinging wheel (2011) and the guide wheel (202); the free ends of the nose wire (80) are sequentially wound around the guide wheel (202) The rear is horizontally sandwiched between two feeding rollers (204); the upper end of the swing rod (2010) is rotatably connected with the worktable (1), and the lower end of the swing rod (2010) is rotatably connected with the swing wheel (2011); the The swinging wheel (2011) is pressed and arranged above the nose line (80) between the installation shaft (200) and the first guide wheel (202); the output shaft of the feeding motor (203) is connected to the upper feeding roller (204) ) is fixedly connected, the cutting assembly (21) is arranged at the discharge end of the feeding roller (204), and the nose wire (80) is cut off by the cutting assembly (21) and placed above the base material (83); the covering assembly (204) 22) is arranged on one side of the discharge end of the cutting assembly (21), and the nose wire (80) is wrapped between the surface layer material (82) and the base layer material (83) through the wrapping assembly (22). 3.如权利要求2所述的一种口罩生产系统,其特征在于:所述切割组件(21)包括切割板(210)、切刀(211)、切割弹簧(212)、切割气缸(213)、推板(214)和推动气缸(215);所述切割板(210)固定于工作台(1)上;所述切割板(210)一侧设置有进料孔(2100),切割板(210)沿口罩主体(8)进料方向设置有与进料孔(2100)连通的出料槽(2101);所述切割弹簧(212)上端与切刀(211)固定连接,切割弹簧(212)下端与切割板(210)固定连接;所述切刀(211)下端穿设于出料槽(2101);所述切割气缸(213)上端与工作台(1)固定连接,通过切割气缸(213)下压切刀(211)将紧密伸入进料孔(2100)内的鼻线(80)切断;所述推板(214)一端嵌入出料槽(2101)内,推板(214)另一端与推动气缸(215)的伸缩杆连接;所述推动气缸(215)固定于工作台(1)上,通过推板(214)将切断后的鼻线(80)推向基层料(83)上方。3. A mask production system according to claim 2, characterized in that: the cutting assembly (21) comprises a cutting plate (210), a cutting knife (211), a cutting spring (212), a cutting cylinder (213) , a push plate (214) and a push cylinder (215); the cutting plate (210) is fixed on the workbench (1); a feeding hole (2100) is provided on one side of the cutting plate (210), and the cutting plate ( 210) along the feeding direction of the mask body (8), a discharge chute (2101) communicating with the feeding hole (2100) is provided; the upper end of the cutting spring (212) is fixedly connected with the cutting knife (211), and the cutting spring (212) ) lower end is fixedly connected with the cutting plate (210); the lower end of the cutter (211) is penetrated through the discharge chute (2101); the upper end of the cutting cylinder (213) is fixedly connected with the worktable (1), 213) Press down the cutter (211) to cut off the nose line (80) that is tightly protruding into the feed hole (2100); one end of the push plate (214) is embedded in the discharge chute (2101), and the push plate (214) The other end is connected with the telescopic rod of the push cylinder (215); the push cylinder (215) is fixed on the worktable (1), and the cut nose line (80) is pushed toward the base material (83) through the push plate (214). ) above. 4.如权利要求1所述的一种口罩生产系统,其特征在于:所述辊压装置(3)包括成型辊(30)和第一超声波焊接机(31);所述成型辊(30)两端转动设置于工作台(1)上;所述第一超声波焊接机(31)的第一焊模头(310)固定于成型辊(30)下方,通过一辊压电机(32)驱动成型辊(30)转动辊压口罩主体(8);所述成型辊(30)外壁设置有间隔排列的鼻部凸块(300)、脸颊凸块(301)和两个相对设置的颧部凸块(302);所述鼻部凸块(300)包括线框凸块(3000)、鼻梁凸块(3001)和分别设置于所述鼻梁凸块(3001)两侧的鼻沟凸块(3002),通过鼻梁凸块(3001)、鼻沟凸块(3002)和线框凸块(3000)分别在口罩主体(8)上辊压出鼻梁易折线(84)、鼻沟易折线(85)和鼻线(80)的封边框(86);所述颧部凸块(302)包括间隔设置的颧上凸块(3020)和颧下凸块(3021),通过颧上凸块(3020)和颧下凸块(3021)分别在口罩主体(8)上辊压出颧上易折线(87)和颧下易折线(88);所述脸颊凸块(301)设置于颧部凸块(302)两外侧及上方,通过脸颊凸块(301)在口罩主体(8)上辊压出脸颊易折线(89);所述成型辊(30)两外侧设置有间隔排列的回收凸块(303),通过回收凸块(303)在口罩主体(8)两侧边辊压出回收易折线(810)。4. A mask production system as claimed in claim 1, characterized in that: the rolling device (3) comprises a forming roller (30) and a first ultrasonic welding machine (31); the forming roller (30) The two ends are rotatably arranged on the worktable (1); the first welding die head (310) of the first ultrasonic welding machine (31) is fixed under the forming roller (30) and is driven by a rolling motor (32). The forming roller (30) rotates the rolling mask body (8); the outer wall of the forming roller (30) is provided with nose bumps (300), cheek bumps (301) and two oppositely arranged cheek bumps (300) Block (302); the nose bump (300) includes a wire frame bump (3000), a nose bridge bump (3001) and nasal groove bumps (3002) respectively disposed on both sides of the nose bridge bump (3001) ), through the nose bridge bump (3001), the nose groove bump (3002) and the wire frame bump (3000), respectively roll out the nose bridge easy folding line (84) and the nose groove easy folding line (85) on the mask body (8) and the sealing border (86) of the nose line (80); the zygomatic bumps (302) include the upper and lower zygomatic bumps (3020) and the lower zygomatic bumps (3021) arranged at intervals, through the upper zygomatic bumps (3020) and the lower cheek bumps (3021), respectively, on the mask body (8) to roll out the upper cheek fold line (87) and the lower cheek fold line (88); the cheek bulge (301) is arranged on the cheek bulge (8). 302) On both outer sides and above, roll out cheek fold lines (89) on the mask body (8) through the cheek bumps (301); the outer sides of the forming roller (30) are provided with spaced recovery bumps (303) ), and roll out recovery easy-fold lines (810) on both sides of the mask body (8) through the recovery bumps (303). 5.如权利要求1所述的一种口罩生产系统,其特征在于:所述耳带线安装装置(4)包括支架(40)、焊接机构(41)和两个分别设置于口罩主体(8)两侧的移线机构(42);所述支架(40)固定于工作台(1)上方,口罩主体(8)穿设于工作台(1)上端面;所述支架(40)下端固定有升降气缸(400),升降气缸(400)的伸缩杆与一升降板(401)固定连接;所述移线机构(42)外侧设置有用于截取一段耳带线(81)的截取机构(43),移线机构(42)包括两个用于抓取耳带线(81)两端部内侧的移线爪(420);所述移线爪(420)下端向口罩主体(8)内侧弯曲,移线爪(420)下端部内侧壁设置有夹线槽(4200);所述夹线槽(4200)上端固定有移线气缸(4201),移线气缸(4201)的伸缩杆下端固定有移线板(4202),通过移线板(4202)下压夹持耳带线(81);所述移线爪(420)上端与升降板(401)转动连接;所述升降板(401)上固定有旋转电机(421);所述旋转电机(421)的输出轴与移线爪(420)连接,通过旋转电机(421)带动移线爪(420)移向截取机构(43)或口罩主体(8);所述焊接机构(41)包括第二超声波焊接机(410)和四个按压气缸(411);所述第二超声波焊接机(410)的第二焊模头(4100)固定于口罩主体(8)下方;所述按压气缸(411)固定于支架(40)上,按压气缸(411)的伸缩杆固定有按压杆(412),通过按压杆(412)下压耳带线(81)端部将耳带线(81)焊接在口罩主体(8)上。5. a kind of mask production system as claimed in claim 1, is characterized in that: described ear strap wire installation device (4) comprises bracket (40), welding mechanism (41) and two are respectively arranged on mask main body (8) ) wire shifting mechanism (42) on both sides; the bracket (40) is fixed above the workbench (1), and the mask body (8) is worn on the upper end face of the workbench (1); the lower end of the bracket (40) is fixed There is a lifting cylinder (400), and the telescopic rod of the lifting cylinder (400) is fixedly connected with a lifting plate (401); the outer side of the wire shifting mechanism (42) is provided with an intercepting mechanism (43) for intercepting a section of the ear strap wire (81). ), the thread shifting mechanism (42) includes two thread shifting claws (420) for grabbing the inner side of both ends of the ear strap line (81); the lower end of the thread shifting claws (420) is bent to the inside of the mask body (8) , the lower end of the thread shifting claw (420) is provided with a thread clamping groove (4200); the upper end of the thread clamping groove (4200) is fixed with a thread shifting cylinder (4201), and the lower end of the telescopic rod of the thread shifting cylinder (4201) is fixed with The wire transfer plate (4202) is used to press down and hold the ear strap wire (81) through the wire transfer plate (4202); the upper end of the wire transfer claw (420) is rotatably connected to the lifting plate (401); the lifting plate (401) A rotary motor (421) is fixed thereon; the output shaft of the rotary motor (421) is connected with the thread shifting claw (420), and the thread shifting claw (420) is driven by the rotating motor (421) to move toward the intercepting mechanism (43) or the mask The main body (8); the welding mechanism (41) includes a second ultrasonic welding machine (410) and four pressing cylinders (411); the second welding die head (4100) of the second ultrasonic welding machine (410) is fixed Below the mask body (8); the pressing cylinder (411) is fixed on the bracket (40), the telescopic rod of the pressing cylinder (411) is fixed with a pressing rod (412), and the ear strap line is pressed down by the pressing rod (412) (81) Weld the ear strap wire (81) on the mask body (8) at the end. 6.如权利要求5所述的一种口罩生产系统,其特征在于:所述截取机构(43)包括进线块(430)、断线刀(431)和可伸缩的夹线头(432);所述进线块(430)沿口罩主体(8)的进料方向设置有进线孔(4300);所述耳带线(81)穿设于进线孔(4300),通过夹线头(432)伸缩从进线块(430)拉取一段耳带线(81);所述断线刀(431)设置于进线块(430)靠近夹线头(432)一侧,通过断线刀(431)将拉取的耳带线(81)剪断;所述夹线头(432)包括横移机构(4320)、“L”型杆(4321)、夹线气缸(4322)和夹线板(4323);所述横移机构(4320)设置于进线块(430)外侧;所述“L”型杆(4321)固定于横移机构(4320)内侧;所述夹线气缸(4322)固定于“L”型杆(4321)上端,夹线气缸(4322)的伸缩杆与夹线板(4323)固定连接,通过夹线板(4323)下压夹持耳带线(81)端部内侧。6. A mask production system as claimed in claim 5, characterized in that: the intercepting mechanism (43) comprises a wire feed block (430), a wire breaking knife (431) and a retractable wire clamping head (432); The wire feeding block (430) is provided with wire feeding holes (4300) along the feeding direction of the mask body (8); ) telescopically pull a piece of ear strap wire (81) from the wire feed block (430); the wire breaker (431) is arranged on the wire feed block (430) near the thread clamp (432) side, and the wire breaker (431) ) to cut the pulled ear strap wire (81); the wire clamping head (432) includes a traverse mechanism (4320), an "L"-shaped rod (4321), a wire clamping cylinder (4322) and a wire clamping plate (4323) ; the traverse mechanism (4320) is arranged on the outside of the wire feed block (430); the "L"-shaped rod (4321) is fixed on the inner side of the traverse mechanism (4320); the wire clamping cylinder (4322) is fixed on the " The upper end of the L"-shaped rod (4321), the telescopic rod of the wire clamping cylinder (4322) is fixedly connected to the wire clamping plate (4323), and the inner side of the end of the ear strap wire (81) is pressed down by the wire clamping plate (4323). 7.如权利要求1所述的一种口罩生产系统,其特征在于:所述耳带线安装装置(4)和裁剪装置(5)间设置有对折装置(9);所述对折装置(9)包括预折机构(90)和两个相对设置的辊压机构(91);所述预折机构(90)包括三角板(900)、伸缩件(901)和安装座(902);所述伸缩件(901)上端与三角板(900)尖端部下端铰接,伸缩件(901)下端与工作台(1)铰接;所述三角板(900)远离伸缩件(901)一端与安装座(902)转动连接;所述辊压机构(91)包括连接块(910)、对折辊(911)和锁紧螺栓(912);所述对折辊(911)下端与连接块(910)转动连接;所述连接块(910)上设置有调位滑槽(9100),锁紧螺栓(912)穿过调位滑槽(9100)且其下端与工作台(1)螺纹连接,通过旋转或滑动连接块(910)调节两个对折辊(911)的安装位置。7. A kind of mask production system as claimed in claim 1, is characterized in that: between described ear strap line installation device (4) and cutting device (5) is provided with double folding device (9); ) includes a pre-folding mechanism (90) and two oppositely arranged rolling mechanisms (91); the pre-folding mechanism (90) includes a triangular plate (900), a telescopic piece (901) and a mounting seat (902); the telescopic The upper end of the piece (901) is hinged with the lower end of the tip of the triangular plate (900), and the lower end of the telescopic piece (901) is hinged with the table (1); the end of the triangular board (900) away from the telescopic piece (901) is rotatably connected with the mounting seat (902). ; The rolling mechanism (91) includes a connecting block (910), a half-folding roller (911) and a locking bolt (912); the lower end of the half-folding roller (911) is rotatably connected with the connecting block (910); the connecting block (910) is provided with a position adjustment chute (9100), the locking bolt (912) passes through the position adjustment chute (9100) and its lower end is threadedly connected with the worktable (1), by rotating or sliding the connecting block (910) Adjust the installation positions of the two half-folding rollers (911). 8.如权利要求1所述的一种口罩生产系统,其特征在于:所述裁剪装置(5)包括对压辊(50)、裁剪辊(51)和用于按压口罩主体(8)的弹性垫层(52);所述对压辊(50)与裁剪辊(51)相对设置,对压辊(50)两端与工作台(1)转动连接,裁剪辊(51)两端分别与工作台(1)转动连接;所述裁剪辊(51)外壁沿周向间隔固定有多个用于裁剪口罩主体(8)的裁剪片(510);所述弹性垫层(52)包覆于裁剪辊(51)外部,裁剪片(510)的刀刃从弹性垫层(52)向外穿出并抵靠在对压辊(50)外壁;所述口罩主体(8)紧密夹设于对压辊(50)和裁剪辊(51)之间,通过一裁剪电机(53)驱动裁剪辊(51)上的裁剪片(510)转动对口罩主体(8)进行裁剪。8. A mask production system as claimed in claim 1, characterized in that: the cutting device (5) comprises a pair of pressing rollers (50), a cutting roller (51) and an elastic force for pressing the mask body (8) The cushion layer (52); the opposing pressure roller (50) is arranged opposite to the cutting roller (51), the two ends of the opposing pressure roller (50) are rotatably connected to the worktable (1), and the two ends of the cutting roller (51) are respectively connected to the work table (1). The table (1) is connected in rotation; the outer wall of the cutting roller (51) is fixed with a plurality of cutting sheets (510) for cutting the mask body (8) at intervals along the circumferential direction; the elastic cushion layer (52) is wrapped around the cutting Outside the roller (51), the cutting edge of the cutting sheet (510) passes out from the elastic cushion (52) and abuts against the outer wall of the opposing roller (50); the mask body (8) is tightly clamped on the opposing roller. Between (50) and the cutting roll (51), a cutting motor (53) drives the cutting piece (510) on the cutting roll (51) to rotate to cut the mask body (8). 9.如权利要求1所述的一种口罩生产系统,其特征在于:所述摊平装置(6)包括翻转机构(60)和用于输送竖直状态口罩的输送机构(61);所述翻转机构(60)包括上转轴(600)、下转轴(601)、后转轴(602)、前转轴(603)、第一皮带(604)、第二皮带(605)和翻转电机(606);所述上转轴(600)和下转轴(601)分别横向转动设置于工作台(1)上下方;所述前转轴(603)纵向锁紧于工作台(1)前侧,且前转轴(603)上转动设置有前安装辊(6030);所述后转轴(602)纵向转动设置于工作台(1)后侧,且后转轴(602)上套接固定有后安装辊(6020);所述第一皮带(604)出料端套设于上转轴(600),第一皮带(604)进料端扭转90°后套设于后安装辊(6020)上;所述第二皮带(605)出料端套设于下转轴(601),第二皮带(605)进料端扭转90°后套设于前安装辊(6030)上;所述前安装辊(6030)和后安装辊(6020)位于输送机构(61)的出料端;所述翻转电机(606)的输出轴与后转轴(602)固定连接,口罩紧密夹设于第一皮带(604)和第二皮带(605)之间,通过第一皮带(604)带动第二皮带(605)同步传动将竖直状态的口罩翻转摊平。9. A mask production system according to claim 1, characterized in that: the flattening device (6) comprises a turning mechanism (60) and a conveying mechanism (61) for conveying a mask in a vertical state; the The turning mechanism (60) includes an upper rotating shaft (600), a lower rotating shaft (601), a rear rotating shaft (602), a front rotating shaft (603), a first belt (604), a second belt (605) and a turning motor (606); The upper rotating shaft (600) and the lower rotating shaft (601) are respectively arranged on the upper and lower sides of the workbench (1) for lateral rotation; the front rotating shaft (603) is longitudinally locked on the front side of the workbench (1), and the front rotating shaft (603) A front mounting roller (6030) is rotatably arranged on the ); the rear rotating shaft (602) is longitudinally rotated and arranged on the rear side of the worktable (1), and a rear mounting roller (6020) is sleeved and fixed on the rear rotating shaft (602); The discharge end of the first belt (604) is sleeved on the upper rotating shaft (600), and the feed end of the first belt (604) is sleeved on the rear installation roller (6020) after being twisted by 90°; the second belt (605) ) The discharge end is sleeved on the lower shaft (601), and the feed end of the second belt (605) is sleeved on the front installation roller (6030) after being twisted by 90°; the front installation roller (6030) and the rear installation roller ( 6020) is located at the discharge end of the conveying mechanism (61); the output shaft of the turning motor (606) is fixedly connected to the rear rotating shaft (602), and the mask is tightly clamped on the first belt (604) and the second belt (605) In between, the first belt (604) drives the second belt (605) synchronously to drive the mask in the vertical state over and flatten it. 10.如权利要求1所述的一种口罩生产系统,其特征在于:所述包装装置(7)包括依次设置于工作台(1)上方的包边机构(70)、排气机构(71)和封边切割机(72);所述工作台(1)的进料端固定有翻边斗(10),通过翻边斗(10)将工作台(1)下方伸出带状的塑料膜(811)两侧边向上方内侧翻折包覆口罩;所述包边机构(70)设置于翻边斗(10)的出料端,通过包边机构(70)将塑料膜(811)两侧边叠合密封;所述排气机构(71)包括排气电机(710)、安装架(711)、主动轮(712)、从动轮(713)、排气皮带(714)、调节螺栓(715)和调节弹簧(716);所述排气电机(710)固定于工作台(1)上端;所述主动轮(712)和从动轮(713)分别转动设置于安装架(711)的进料端和出料端,排气皮带(714)套设于主动轮(712)和从动轮(713)上;所述主动轮(712)与排气电机(710)的输出轴固定连接,通过排气皮带(714)挤压并输送塑料膜(811);所述调节螺栓(715)与安装架(711)螺纹连接且其下端抵靠在工作台(1)上;所述调节弹簧(716)上端与安装架(711)固定连接,调节弹簧(716)下端与工作台(1)固定连接;所述封边切割机(72)间隔将塑料膜(811)端部密封并切断。10. A mask production system according to claim 1, characterized in that: the packaging device (7) comprises a hemming mechanism (70) and an exhaust mechanism (71) that are sequentially arranged above the workbench (1) and an edge banding and cutting machine (72); a flanging bucket (10) is fixed at the feeding end of the worktable (1), and a belt-shaped plastic film protrudes from the bottom of the worktable (1) through the flanging bucket (10). (811) Folding and wrapping the mask upward and inward from both sides; the hemming mechanism (70) is arranged at the discharge end of the hemming bucket (10), and the plastic film (811) is folded by the hemming mechanism (70). The sides are overlapped and sealed; the exhaust mechanism (71) includes an exhaust motor (710), a mounting bracket (711), a driving wheel (712), a driven wheel (713), an exhaust belt (714), and an adjustment bolt ( 715) and an adjusting spring (716); the exhaust motor (710) is fixed on the upper end of the workbench (1); the driving wheel (712) and the driven wheel (713) are respectively rotatably arranged on the inlet of the mounting frame (711). At the material end and the discharge end, the exhaust belt (714) is sleeved on the driving wheel (712) and the driven wheel (713); the driving wheel (712) is fixedly connected with the output shaft of the exhaust motor (710), The exhaust belt (714) squeezes and conveys the plastic film (811); the adjusting bolt (715) is threadedly connected with the mounting frame (711) and its lower end abuts on the workbench (1); the adjusting spring (716) ) The upper end is fixedly connected with the mounting frame (711), and the lower end of the adjusting spring (716) is fixedly connected with the worktable (1); the edge sealing and cutting machine (72) seals and cuts off the ends of the plastic film (811) at intervals.
CN202210038786.0A 2022-01-13 2022-01-13 A mask production system Pending CN114179385A (en)

Priority Applications (1)

Application Number Priority Date Filing Date Title
CN202210038786.0A CN114179385A (en) 2022-01-13 2022-01-13 A mask production system

Applications Claiming Priority (1)

Application Number Priority Date Filing Date Title
CN202210038786.0A CN114179385A (en) 2022-01-13 2022-01-13 A mask production system

Publications (1)

Publication Number Publication Date
CN114179385A true CN114179385A (en) 2022-03-15

Family

ID=80545655

Family Applications (1)

Application Number Title Priority Date Filing Date
CN202210038786.0A Pending CN114179385A (en) 2022-01-13 2022-01-13 A mask production system

Country Status (1)

Country Link
CN (1) CN114179385A (en)

Cited By (4)

* Cited by examiner, † Cited by third party
Publication number Priority date Publication date Assignee Title
CN114211766A (en) * 2022-01-13 2022-03-22 弓立(厦门)医疗用品有限公司 A kind of mask nose wire installation equipment
CN114228162A (en) * 2022-01-13 2022-03-25 弓立(厦门)医疗用品有限公司 Mask ear belt line installation equipment
CN114849055A (en) * 2022-04-29 2022-08-05 泉州湖南大学工业设计与机器智能创新研究院 Protective clothing gas transmission pipe quick connection device and gas transmission pipe quick connection method
US20240269782A1 (en) * 2023-02-15 2024-08-15 Stern Brands, Inc. Ultrasonic welding system

Citations (23)

* Cited by examiner, † Cited by third party
Publication number Priority date Publication date Assignee Title
CN208086174U (en) * 2018-02-28 2018-11-13 汕头市泰恩康医用器材厂有限公司 The sealing device of automatic mask packing machine
CN111216952A (en) * 2020-03-12 2020-06-02 东莞市金太阳精密技术有限责任公司 Full-automatic mask manufacturing and packaging production line
CN111469413A (en) * 2020-05-28 2020-07-31 东莞快裕达自动化设备有限公司 Superspeed mask forming machine
CN111645326A (en) * 2020-06-10 2020-09-11 广东造裕力讯智能科技有限公司 Semi-automatic sheet making machine for folding mask
CN111761825A (en) * 2020-07-10 2020-10-13 巨轮智能装备股份有限公司 Semi-automatic N95 gauze mask production line
CN111846454A (en) * 2020-07-28 2020-10-30 绍兴联德机械设备有限公司 Independent packaging equipment for medical surgical mask
CN212603521U (en) * 2020-05-28 2021-02-26 东莞快裕达自动化设备有限公司 Mask nose line assembly device
CN213082331U (en) * 2020-07-07 2021-04-30 苏州金福莱纺织科技有限公司 Gauze mask machine convenient to folding gauze mask
CN213074627U (en) * 2020-07-07 2021-04-30 苏州金福莱纺织科技有限公司 Automatic gauze mask machine of installation nose bridge line
CN213168706U (en) * 2020-08-18 2021-05-11 浙江浩通机械有限公司 Gauze mask packagine machine
CN213321761U (en) * 2020-07-30 2021-06-01 佛山市瑞普华机械设备有限公司 Foldable gauze mask ear area line welding set
CN213441193U (en) * 2020-06-19 2021-06-15 佛山市佛大华康科技有限公司 Be applied to forming mechanism of gauze mask production
CN213733451U (en) * 2020-10-14 2021-07-20 宁波金格奥电器股份有限公司 A flat mask earband welding machine
CN214452390U (en) * 2020-10-16 2021-10-22 杭州精川科技有限公司 A mask plastic sealing device
CN214452396U (en) * 2021-03-26 2021-10-22 佛山市金禹智能机械有限公司 Gauze mask packagine machine that circles round
CN214690443U (en) * 2021-03-05 2021-11-12 浙江精功机器人智能装备有限公司 A discharge mechanism for turning masks 90°
CN114211766A (en) * 2022-01-13 2022-03-22 弓立(厦门)医疗用品有限公司 A kind of mask nose wire installation equipment
CN114228162A (en) * 2022-01-13 2022-03-25 弓立(厦门)医疗用品有限公司 Mask ear belt line installation equipment
CN216514816U (en) * 2022-01-13 2022-05-13 弓立(厦门)医疗用品有限公司 Device is tailor to gauze mask
CN216683397U (en) * 2022-01-13 2022-06-07 弓立(厦门)医疗用品有限公司 Mask ear belt line installation equipment
CN216683423U (en) * 2022-01-13 2022-06-07 弓立(厦门)医疗用品有限公司 Mask production system
CN217226721U (en) * 2022-01-13 2022-08-19 弓立(厦门)医疗用品有限公司 Mask easy-to-break line rolling forming device
CN217258536U (en) * 2022-01-13 2022-08-23 弓立(厦门)医疗用品有限公司 Mask nose line installation equipment

Patent Citations (23)

* Cited by examiner, † Cited by third party
Publication number Priority date Publication date Assignee Title
CN208086174U (en) * 2018-02-28 2018-11-13 汕头市泰恩康医用器材厂有限公司 The sealing device of automatic mask packing machine
CN111216952A (en) * 2020-03-12 2020-06-02 东莞市金太阳精密技术有限责任公司 Full-automatic mask manufacturing and packaging production line
CN111469413A (en) * 2020-05-28 2020-07-31 东莞快裕达自动化设备有限公司 Superspeed mask forming machine
CN212603521U (en) * 2020-05-28 2021-02-26 东莞快裕达自动化设备有限公司 Mask nose line assembly device
CN111645326A (en) * 2020-06-10 2020-09-11 广东造裕力讯智能科技有限公司 Semi-automatic sheet making machine for folding mask
CN213441193U (en) * 2020-06-19 2021-06-15 佛山市佛大华康科技有限公司 Be applied to forming mechanism of gauze mask production
CN213082331U (en) * 2020-07-07 2021-04-30 苏州金福莱纺织科技有限公司 Gauze mask machine convenient to folding gauze mask
CN213074627U (en) * 2020-07-07 2021-04-30 苏州金福莱纺织科技有限公司 Automatic gauze mask machine of installation nose bridge line
CN111761825A (en) * 2020-07-10 2020-10-13 巨轮智能装备股份有限公司 Semi-automatic N95 gauze mask production line
CN111846454A (en) * 2020-07-28 2020-10-30 绍兴联德机械设备有限公司 Independent packaging equipment for medical surgical mask
CN213321761U (en) * 2020-07-30 2021-06-01 佛山市瑞普华机械设备有限公司 Foldable gauze mask ear area line welding set
CN213168706U (en) * 2020-08-18 2021-05-11 浙江浩通机械有限公司 Gauze mask packagine machine
CN213733451U (en) * 2020-10-14 2021-07-20 宁波金格奥电器股份有限公司 A flat mask earband welding machine
CN214452390U (en) * 2020-10-16 2021-10-22 杭州精川科技有限公司 A mask plastic sealing device
CN214690443U (en) * 2021-03-05 2021-11-12 浙江精功机器人智能装备有限公司 A discharge mechanism for turning masks 90°
CN214452396U (en) * 2021-03-26 2021-10-22 佛山市金禹智能机械有限公司 Gauze mask packagine machine that circles round
CN114211766A (en) * 2022-01-13 2022-03-22 弓立(厦门)医疗用品有限公司 A kind of mask nose wire installation equipment
CN114228162A (en) * 2022-01-13 2022-03-25 弓立(厦门)医疗用品有限公司 Mask ear belt line installation equipment
CN216514816U (en) * 2022-01-13 2022-05-13 弓立(厦门)医疗用品有限公司 Device is tailor to gauze mask
CN216683397U (en) * 2022-01-13 2022-06-07 弓立(厦门)医疗用品有限公司 Mask ear belt line installation equipment
CN216683423U (en) * 2022-01-13 2022-06-07 弓立(厦门)医疗用品有限公司 Mask production system
CN217226721U (en) * 2022-01-13 2022-08-19 弓立(厦门)医疗用品有限公司 Mask easy-to-break line rolling forming device
CN217258536U (en) * 2022-01-13 2022-08-23 弓立(厦门)医疗用品有限公司 Mask nose line installation equipment

Cited By (5)

* Cited by examiner, † Cited by third party
Publication number Priority date Publication date Assignee Title
CN114211766A (en) * 2022-01-13 2022-03-22 弓立(厦门)医疗用品有限公司 A kind of mask nose wire installation equipment
CN114228162A (en) * 2022-01-13 2022-03-25 弓立(厦门)医疗用品有限公司 Mask ear belt line installation equipment
CN114849055A (en) * 2022-04-29 2022-08-05 泉州湖南大学工业设计与机器智能创新研究院 Protective clothing gas transmission pipe quick connection device and gas transmission pipe quick connection method
US20240269782A1 (en) * 2023-02-15 2024-08-15 Stern Brands, Inc. Ultrasonic welding system
US12383991B2 (en) * 2023-02-15 2025-08-12 Stern Brands, Inc. Ultrasonic welding system

Similar Documents

Publication Publication Date Title
CN114179385A (en) A mask production system
CN216683423U (en) Mask production system
CN109043698B (en) High-speed folding mask machine
CN111493433B (en) Mask production line
CN212288821U (en) A fully automatic mask machine
CN111184303A (en) Elastic ear band mask production line and production process thereof
CN111232275A (en) a film wrapping machine
CN109980267A (en) A kind of battery film-making cutting integration machine
CN110481875A (en) A kind of printed matter automatic packaging device
CN112056658A (en) Mask manufacturing method and mask machine
CN109516282A (en) A kind of mechanical device pasting glass adhesive tape
CN104760730B (en) Sack sewing machine
CN111497250B (en) Mask folding ear belt production line based on one-to-two mask machine
CN214432011U (en) High-speed shaping piece formula gauze mask machine
CN112726040A (en) Automatic bed cover rubber band wrapping machine
CN111728307A (en) Full-size full-automatic one-to-one double-ear mask machine
CN206437265U (en) A kind of medical gloves liner paper wrapper paper folder
CN107718710A (en) A kind of suction nozzle bag making machine and its bag-making method
CN218401248U (en) Core mechanism
CN216543597U (en) Clamping and shearing device for mask earphone
WO2006032175A1 (en) Adhesive tape dispenser
CN212333173U (en) Sanitary towel equipment for packing of adjustable gluing orientation
CN215246028U (en) A heat sealing and cutting tape device for packaging bag production
CN2493517Y (en) Band adhering device for box closing machine
CN212233299U (en) Wire bonding device of mask folding ear belt based on one-to-two mask machine

Legal Events

Date Code Title Description
PB01 Publication
PB01 Publication
SE01 Entry into force of request for substantive examination
SE01 Entry into force of request for substantive examination
RJ01 Rejection of invention patent application after publication

Application publication date: 20220315

RJ01 Rejection of invention patent application after publication