CN114040733A - 具有骨保护特征部的整形外科植入物系统 - Google Patents
具有骨保护特征部的整形外科植入物系统 Download PDFInfo
- Publication number
- CN114040733A CN114040733A CN202080048809.5A CN202080048809A CN114040733A CN 114040733 A CN114040733 A CN 114040733A CN 202080048809 A CN202080048809 A CN 202080048809A CN 114040733 A CN114040733 A CN 114040733A
- Authority
- CN
- China
- Prior art keywords
- tibial insert
- articular surface
- tibial
- protrusion
- unicompartmental
- Prior art date
- Legal status (The legal status is an assumption and is not a legal conclusion. Google has not performed a legal analysis and makes no representation as to the accuracy of the status listed.)
- Pending
Links
Images
Classifications
-
- A—HUMAN NECESSITIES
- A61—MEDICAL OR VETERINARY SCIENCE; HYGIENE
- A61F—FILTERS IMPLANTABLE INTO BLOOD VESSELS; PROSTHESES; DEVICES PROVIDING PATENCY TO, OR PREVENTING COLLAPSING OF, TUBULAR STRUCTURES OF THE BODY, e.g. STENTS; ORTHOPAEDIC, NURSING OR CONTRACEPTIVE DEVICES; FOMENTATION; TREATMENT OR PROTECTION OF EYES OR EARS; BANDAGES, DRESSINGS OR ABSORBENT PADS; FIRST-AID KITS
- A61F2/00—Filters implantable into blood vessels; Prostheses, i.e. artificial substitutes or replacements for parts of the body; Appliances for connecting them with the body; Devices providing patency to, or preventing collapsing of, tubular structures of the body, e.g. stents
- A61F2/02—Prostheses implantable into the body
- A61F2/30—Joints
- A61F2/38—Joints for elbows or knees
- A61F2/389—Tibial components
-
- A—HUMAN NECESSITIES
- A61—MEDICAL OR VETERINARY SCIENCE; HYGIENE
- A61F—FILTERS IMPLANTABLE INTO BLOOD VESSELS; PROSTHESES; DEVICES PROVIDING PATENCY TO, OR PREVENTING COLLAPSING OF, TUBULAR STRUCTURES OF THE BODY, e.g. STENTS; ORTHOPAEDIC, NURSING OR CONTRACEPTIVE DEVICES; FOMENTATION; TREATMENT OR PROTECTION OF EYES OR EARS; BANDAGES, DRESSINGS OR ABSORBENT PADS; FIRST-AID KITS
- A61F2/00—Filters implantable into blood vessels; Prostheses, i.e. artificial substitutes or replacements for parts of the body; Appliances for connecting them with the body; Devices providing patency to, or preventing collapsing of, tubular structures of the body, e.g. stents
- A61F2/02—Prostheses implantable into the body
- A61F2/30—Joints
- A61F2/30767—Special external or bone-contacting surface, e.g. coating for improving bone ingrowth
-
- A—HUMAN NECESSITIES
- A61—MEDICAL OR VETERINARY SCIENCE; HYGIENE
- A61F—FILTERS IMPLANTABLE INTO BLOOD VESSELS; PROSTHESES; DEVICES PROVIDING PATENCY TO, OR PREVENTING COLLAPSING OF, TUBULAR STRUCTURES OF THE BODY, e.g. STENTS; ORTHOPAEDIC, NURSING OR CONTRACEPTIVE DEVICES; FOMENTATION; TREATMENT OR PROTECTION OF EYES OR EARS; BANDAGES, DRESSINGS OR ABSORBENT PADS; FIRST-AID KITS
- A61F2/00—Filters implantable into blood vessels; Prostheses, i.e. artificial substitutes or replacements for parts of the body; Appliances for connecting them with the body; Devices providing patency to, or preventing collapsing of, tubular structures of the body, e.g. stents
- A61F2/02—Prostheses implantable into the body
- A61F2/30—Joints
- A61F2002/30001—Additional features of subject-matter classified in A61F2/28, A61F2/30 and subgroups thereof
- A61F2002/30108—Shapes
- A61F2002/3011—Cross-sections or two-dimensional shapes
- A61F2002/30138—Convex polygonal shapes
- A61F2002/30143—Convex polygonal shapes hexagonal
-
- A—HUMAN NECESSITIES
- A61—MEDICAL OR VETERINARY SCIENCE; HYGIENE
- A61F—FILTERS IMPLANTABLE INTO BLOOD VESSELS; PROSTHESES; DEVICES PROVIDING PATENCY TO, OR PREVENTING COLLAPSING OF, TUBULAR STRUCTURES OF THE BODY, e.g. STENTS; ORTHOPAEDIC, NURSING OR CONTRACEPTIVE DEVICES; FOMENTATION; TREATMENT OR PROTECTION OF EYES OR EARS; BANDAGES, DRESSINGS OR ABSORBENT PADS; FIRST-AID KITS
- A61F2/00—Filters implantable into blood vessels; Prostheses, i.e. artificial substitutes or replacements for parts of the body; Appliances for connecting them with the body; Devices providing patency to, or preventing collapsing of, tubular structures of the body, e.g. stents
- A61F2/02—Prostheses implantable into the body
- A61F2/30—Joints
- A61F2002/30001—Additional features of subject-matter classified in A61F2/28, A61F2/30 and subgroups thereof
- A61F2002/30108—Shapes
- A61F2002/3011—Cross-sections or two-dimensional shapes
- A61F2002/30182—Other shapes
- A61F2002/30187—D-shaped or half-disc-shaped
-
- A—HUMAN NECESSITIES
- A61—MEDICAL OR VETERINARY SCIENCE; HYGIENE
- A61F—FILTERS IMPLANTABLE INTO BLOOD VESSELS; PROSTHESES; DEVICES PROVIDING PATENCY TO, OR PREVENTING COLLAPSING OF, TUBULAR STRUCTURES OF THE BODY, e.g. STENTS; ORTHOPAEDIC, NURSING OR CONTRACEPTIVE DEVICES; FOMENTATION; TREATMENT OR PROTECTION OF EYES OR EARS; BANDAGES, DRESSINGS OR ABSORBENT PADS; FIRST-AID KITS
- A61F2/00—Filters implantable into blood vessels; Prostheses, i.e. artificial substitutes or replacements for parts of the body; Appliances for connecting them with the body; Devices providing patency to, or preventing collapsing of, tubular structures of the body, e.g. stents
- A61F2/02—Prostheses implantable into the body
- A61F2/30—Joints
- A61F2002/30001—Additional features of subject-matter classified in A61F2/28, A61F2/30 and subgroups thereof
- A61F2002/30108—Shapes
- A61F2002/30199—Three-dimensional shapes
- A61F2002/30242—Three-dimensional shapes spherical
- A61F2002/30245—Partial spheres
-
- A—HUMAN NECESSITIES
- A61—MEDICAL OR VETERINARY SCIENCE; HYGIENE
- A61F—FILTERS IMPLANTABLE INTO BLOOD VESSELS; PROSTHESES; DEVICES PROVIDING PATENCY TO, OR PREVENTING COLLAPSING OF, TUBULAR STRUCTURES OF THE BODY, e.g. STENTS; ORTHOPAEDIC, NURSING OR CONTRACEPTIVE DEVICES; FOMENTATION; TREATMENT OR PROTECTION OF EYES OR EARS; BANDAGES, DRESSINGS OR ABSORBENT PADS; FIRST-AID KITS
- A61F2/00—Filters implantable into blood vessels; Prostheses, i.e. artificial substitutes or replacements for parts of the body; Appliances for connecting them with the body; Devices providing patency to, or preventing collapsing of, tubular structures of the body, e.g. stents
- A61F2/02—Prostheses implantable into the body
- A61F2/30—Joints
- A61F2/30767—Special external or bone-contacting surface, e.g. coating for improving bone ingrowth
- A61F2/30771—Special external or bone-contacting surface, e.g. coating for improving bone ingrowth applied in original prostheses, e.g. holes or grooves
- A61F2002/30878—Special external or bone-contacting surface, e.g. coating for improving bone ingrowth applied in original prostheses, e.g. holes or grooves with non-sharp protrusions, for instance contacting the bone for anchoring, e.g. keels, pegs, pins, posts, shanks, stems, struts
-
- A—HUMAN NECESSITIES
- A61—MEDICAL OR VETERINARY SCIENCE; HYGIENE
- A61F—FILTERS IMPLANTABLE INTO BLOOD VESSELS; PROSTHESES; DEVICES PROVIDING PATENCY TO, OR PREVENTING COLLAPSING OF, TUBULAR STRUCTURES OF THE BODY, e.g. STENTS; ORTHOPAEDIC, NURSING OR CONTRACEPTIVE DEVICES; FOMENTATION; TREATMENT OR PROTECTION OF EYES OR EARS; BANDAGES, DRESSINGS OR ABSORBENT PADS; FIRST-AID KITS
- A61F2/00—Filters implantable into blood vessels; Prostheses, i.e. artificial substitutes or replacements for parts of the body; Appliances for connecting them with the body; Devices providing patency to, or preventing collapsing of, tubular structures of the body, e.g. stents
- A61F2/02—Prostheses implantable into the body
- A61F2/30—Joints
- A61F2/30767—Special external or bone-contacting surface, e.g. coating for improving bone ingrowth
- A61F2/30771—Special external or bone-contacting surface, e.g. coating for improving bone ingrowth applied in original prostheses, e.g. holes or grooves
- A61F2002/30878—Special external or bone-contacting surface, e.g. coating for improving bone ingrowth applied in original prostheses, e.g. holes or grooves with non-sharp protrusions, for instance contacting the bone for anchoring, e.g. keels, pegs, pins, posts, shanks, stems, struts
- A61F2002/30891—Plurality of protrusions
-
- A—HUMAN NECESSITIES
- A61—MEDICAL OR VETERINARY SCIENCE; HYGIENE
- A61F—FILTERS IMPLANTABLE INTO BLOOD VESSELS; PROSTHESES; DEVICES PROVIDING PATENCY TO, OR PREVENTING COLLAPSING OF, TUBULAR STRUCTURES OF THE BODY, e.g. STENTS; ORTHOPAEDIC, NURSING OR CONTRACEPTIVE DEVICES; FOMENTATION; TREATMENT OR PROTECTION OF EYES OR EARS; BANDAGES, DRESSINGS OR ABSORBENT PADS; FIRST-AID KITS
- A61F2/00—Filters implantable into blood vessels; Prostheses, i.e. artificial substitutes or replacements for parts of the body; Appliances for connecting them with the body; Devices providing patency to, or preventing collapsing of, tubular structures of the body, e.g. stents
- A61F2/02—Prostheses implantable into the body
- A61F2/30—Joints
- A61F2/30767—Special external or bone-contacting surface, e.g. coating for improving bone ingrowth
- A61F2002/3092—Special external or bone-contacting surface, e.g. coating for improving bone ingrowth having an open-celled or open-pored structure
-
- A—HUMAN NECESSITIES
- A61—MEDICAL OR VETERINARY SCIENCE; HYGIENE
- A61F—FILTERS IMPLANTABLE INTO BLOOD VESSELS; PROSTHESES; DEVICES PROVIDING PATENCY TO, OR PREVENTING COLLAPSING OF, TUBULAR STRUCTURES OF THE BODY, e.g. STENTS; ORTHOPAEDIC, NURSING OR CONTRACEPTIVE DEVICES; FOMENTATION; TREATMENT OR PROTECTION OF EYES OR EARS; BANDAGES, DRESSINGS OR ABSORBENT PADS; FIRST-AID KITS
- A61F2/00—Filters implantable into blood vessels; Prostheses, i.e. artificial substitutes or replacements for parts of the body; Appliances for connecting them with the body; Devices providing patency to, or preventing collapsing of, tubular structures of the body, e.g. stents
- A61F2/02—Prostheses implantable into the body
- A61F2/30—Joints
- A61F2/38—Joints for elbows or knees
- A61F2002/3895—Joints for elbows or knees unicompartimental
-
- A—HUMAN NECESSITIES
- A61—MEDICAL OR VETERINARY SCIENCE; HYGIENE
- A61F—FILTERS IMPLANTABLE INTO BLOOD VESSELS; PROSTHESES; DEVICES PROVIDING PATENCY TO, OR PREVENTING COLLAPSING OF, TUBULAR STRUCTURES OF THE BODY, e.g. STENTS; ORTHOPAEDIC, NURSING OR CONTRACEPTIVE DEVICES; FOMENTATION; TREATMENT OR PROTECTION OF EYES OR EARS; BANDAGES, DRESSINGS OR ABSORBENT PADS; FIRST-AID KITS
- A61F2310/00—Prostheses classified in A61F2/28 or A61F2/30 - A61F2/44 being constructed from or coated with a particular material
- A61F2310/00005—The prosthesis being constructed from a particular material
- A61F2310/00011—Metals or alloys
- A61F2310/00023—Titanium or titanium-based alloys, e.g. Ti-Ni alloys
-
- A—HUMAN NECESSITIES
- A61—MEDICAL OR VETERINARY SCIENCE; HYGIENE
- A61F—FILTERS IMPLANTABLE INTO BLOOD VESSELS; PROSTHESES; DEVICES PROVIDING PATENCY TO, OR PREVENTING COLLAPSING OF, TUBULAR STRUCTURES OF THE BODY, e.g. STENTS; ORTHOPAEDIC, NURSING OR CONTRACEPTIVE DEVICES; FOMENTATION; TREATMENT OR PROTECTION OF EYES OR EARS; BANDAGES, DRESSINGS OR ABSORBENT PADS; FIRST-AID KITS
- A61F2310/00—Prostheses classified in A61F2/28 or A61F2/30 - A61F2/44 being constructed from or coated with a particular material
- A61F2310/00005—The prosthesis being constructed from a particular material
- A61F2310/00011—Metals or alloys
- A61F2310/00029—Cobalt-based alloys, e.g. Co-Cr alloys or Vitallium
-
- A—HUMAN NECESSITIES
- A61—MEDICAL OR VETERINARY SCIENCE; HYGIENE
- A61F—FILTERS IMPLANTABLE INTO BLOOD VESSELS; PROSTHESES; DEVICES PROVIDING PATENCY TO, OR PREVENTING COLLAPSING OF, TUBULAR STRUCTURES OF THE BODY, e.g. STENTS; ORTHOPAEDIC, NURSING OR CONTRACEPTIVE DEVICES; FOMENTATION; TREATMENT OR PROTECTION OF EYES OR EARS; BANDAGES, DRESSINGS OR ABSORBENT PADS; FIRST-AID KITS
- A61F2310/00—Prostheses classified in A61F2/28 or A61F2/30 - A61F2/44 being constructed from or coated with a particular material
- A61F2310/00005—The prosthesis being constructed from a particular material
- A61F2310/00011—Metals or alloys
- A61F2310/00035—Other metals or alloys
- A61F2310/00059—Chromium or Cr-based alloys
Landscapes
- Health & Medical Sciences (AREA)
- Orthopedic Medicine & Surgery (AREA)
- Physical Education & Sports Medicine (AREA)
- Cardiology (AREA)
- Oral & Maxillofacial Surgery (AREA)
- Transplantation (AREA)
- Engineering & Computer Science (AREA)
- Biomedical Technology (AREA)
- Heart & Thoracic Surgery (AREA)
- Vascular Medicine (AREA)
- Life Sciences & Earth Sciences (AREA)
- Animal Behavior & Ethology (AREA)
- General Health & Medical Sciences (AREA)
- Public Health (AREA)
- Veterinary Medicine (AREA)
- Prostheses (AREA)
Abstract
本发明公开了一种胫骨插入物,该胫骨插入物包括关节面和与该关节面相反的底部表面。该底部表面包括一个或多个骨保护特征部。在一些实施方案中,底部表面可为弯曲的以匹配关节面的曲率,使得胫骨插入物的厚度为相对恒定的。在其他实施方案中,底部表面可为相对平面的,但包括从平面基部表面延伸的突出部以保持胫骨插入物的最小厚度。所描述的特征部可结合到单间室胫骨假体、双间室胫骨假体或全膝关节假体中。
Description
相关申请的交叉引用
本专利申请要求2019年5月2日提交的,名称为“ORTHOPAEDIC IMPLANT SYSTEMWITH BONE CONSERVING FEATURES”的美国临时专利申请序列号62/842,178的优先权和权益,该专利申请全文通过引用明确地并入本专利申请中。
技术领域
本发明涉及整形外科系统,并且更具体地讲,涉及用于执行膝关节置换外科手术的整形外科系统。
背景技术
关节成形术是一种熟知的外科手术,可通过关节成形术来用假体关节置换患病和/或损坏的自然关节。典型的膝关节假体包括胫骨托、股骨部件和定位在胫骨托和股骨部件之间的聚合物插入物或支承件。根据患者关节损坏的严重程度,可以使用活动性不同的整形外科假体。例如,在希望限制膝关节假体的运动的情况下,诸如当存在显著的软组织损坏或损掉时,膝关节假体可包括“固定的”胫骨插入物。另选地,在需要更大运动自由度的情况下,膝关节假体可包括“活动”胫骨插入物。
用于置换患者自然膝关节的整形外科膝关节假体的类型还可取决于患者的后交叉韧带在外科手术期间是保留还是牺牲(即,移除)。例如,如果患者的后交叉韧带在外科手术期间受损、患病和/或以其他方式移除,则可使用后稳定的膝关节假体来以稍后的屈曲度提供额外的支撑和/或控制。另选地,如果后交叉韧带完整,则可使用保留交叉韧带的膝关节假体。
另外,根据患者膝关节的状况,整形外科膝关节假体可为被设计成置换患者股骨的两个髁的股骨-胫骨界面的全膝关节假体或为被设计成置换患者股骨的单个髁的股骨-胫骨界面的单间室(或单髁)膝关节假体。全膝关节置换术或关节成形术可涉及置换股骨的中轴部分、股骨近端、股骨远端和/或全股骨,以及胫骨近端。单间室膝关节置换术或关节成形术涉及单髁表面置换。单间室膝关节成形术为全膝关节成形术提供了替代形式,以用于在由于创伤或疾病(诸如非炎性退行性关节疾病)或其骨关节炎或创伤后关节炎的综合诊断而导致的仅一个髁已受损时修复膝关节。在一些情况下,整形外科膝关节假体可为由两个单间室膝关节假体形成的双间室膝关节假体,这两个单间室膝关节假体置换患者的胫骨内侧髁和胫骨外侧髁中的每一者。在这种情况下,单个全股骨部件或两个部分股骨部件可用于与两个单间室插入物配合。
发明内容
根据本公开的一个方面,一种单间室胫骨插入物包括前端、后端、关节面和底部表面,其中关节面从前端延伸到后端,底部表面与关节面相反并且从前端延伸到后端。关节面被构造成与自然或假体股骨的对应髁进行关节运动。底部表面被构造成与单间室胫骨托联接并且是非平面的。
在一些实施方案中,当在矢状平面中观察时,关节面具有凹形形状,并且当在矢状平面中观察时,底部表面具有凸形形状。附加地或另选地,当在冠状平面中观察时,关节面可具有凹形形状,并且当在冠状平面中观察时,底部表面可具有凸形形状。
关节面与底部表面之间的垂直距离可限定胫骨插入物的厚度。在一些实施方案中,胫骨插入物的厚度在前端和后端之间是恒定的。例如,胫骨插入物的厚度为约六毫米。另外,在一些实施方案中,其中关节面的曲率匹配底部表面的曲率。
根据本公开的另一方面,一种单间室胫骨插入物包括前端、后端、关节面和底部表面,其中关节面从前端延伸到后端,底部表面与关节面相反并且从前端延伸到后端。关节面被构造成与自然或假体股骨的对应髁进行关节运动。底部表面被构造成与单间室胫骨托联接并且是非平面的。关节面与底部表面之间的垂直距离可限定胫骨插入物的厚度,该厚度在前端和后端之间是恒定的。
根据本公开的另外的方面,一种单间室胫骨插入物可包括前端、后端、关节面和底部表面,其中关节面从前端延伸到后端,底部表面与关节面相反并且从前端延伸到后端。关节面被构造成与自然或假体股骨的对应髁进行关节运动。底部表面被构造成与单间室胫骨托联接,并且包括平面基部表面和从平面基部表面延伸的突出部。突出部具有弯曲外表面。
在一些实施方案中,当在矢状平面中观察时,关节面可具有凹形形状,并且当在矢状平面中观察时,底部表面的突出部可具有凸形形状。附加地或另选地,当在冠状平面中观察时,关节面可具有凹形形状,并且当在冠状平面中观察时,底部表面的突出部可具有凸形形状。
关节面与底部表面之间的垂直距离可限定胫骨插入物的厚度。在此类实施方案中,胫骨插入物的厚度在前端和后端之间可为恒定的。例如,胫骨插入物的厚度为约六毫米。
在一些实施方案中,关节面与底部表面的平面基部表面之间的第一垂直距离限定第一厚度,并且关节面与突出部的弯曲外表面之间的第二垂直距离限定第二垂直距离。第二垂直距离可等于第一垂直距离。
另外,在一些实施方案中,关节面与底部表面的突出部的弯曲外表面之间的垂直距离可限定突出部的厚度。在一些实施方案中,突出部的厚度可为恒定的。例如,突出部的厚度可为约六毫米。另外,在一些实施方案中,底部表面的突出部的形状可为半椭圆形。另外,在一些实施方案中,底部表面的突出部从胫骨插入物的内侧到外侧轴线朝向胫骨插入物的后端偏移。
根据本公开的又一方面,一种胫骨膝关节假体可包括前侧、后侧、内侧关节面、外侧关节面和底部表面,其中内侧关节面从前侧延伸到后侧,外侧关节面从前侧延伸到后侧,底部表面与内侧关节面和外侧关节面相反并且从前侧延伸到后侧。内侧关节面可被构造成与自然或假体股骨的内侧髁进行关节运动。相似地,外侧关节面可被构造成与自然或假体股骨的外侧髁进行关节运动。底部表面包括平面基部表面和从该平面基部表面延伸到内侧关节面或外侧表面下方的突出部。突出部可具有弯曲外表面。
在一些实施方案中,胫骨插入物可进一步包括从底部表面的突出部延伸的栓。另外,在一些实施方案中,当在矢状平面中观察时,内侧关节面和外侧关节面中的每一者可具有凹形形状。在此类实施方案中,当在矢状平面中观察时,底部表面的突出部可具有凸形形状。
在一些实施方案中,内侧关节面与突出部的弯曲外表面之间或外侧关节面与突出部的弯曲外表面之间的垂直距离限定突出部的厚度。在此类实施方案中,突出部的厚度可为恒定的并且为约六毫米。
在一些实施方案中,胫骨插入物可体现为单件式假体并且包括附接到金属平台的聚合物支承件。在此类实施方案中,聚合物支承件包括内侧关节面和外侧关节面,并且金属平台包括具有平面基部表面和从平面基部表面延伸到内侧关节面或外侧关节面下方的突出部的底部表面。
附图说明
具体实施方式具体是指以下附图,其中:
图1为用于植入患者的胫骨的典型整形外科膝关节假体系统的实施方案的分解透视图;
图2为全膝关节假体切除之后的图1的胫骨的透视图;
图3为单间室膝关节假体切除之后的图2的胫骨的透视图;
图4为典型胫骨插入物的内侧至外侧剖视图,该胫骨插入物可形成图1的典型整形外科膝关节假体系统的部件;
图5为具有骨保护特征部的单间室胫骨插入物的实施方案的上透视图;
图6为图5的单间室胫骨插入物的上平面图;
图7为图5的单间室胫骨插入物的下平面图;
图8为图5的单间室胫骨插入物的内侧正视图;
图9为图5的单间室胫骨插入物的后正视图;
图10为图5的单间室胫骨插入物的前至后剖视图;
图11为类似于图4的典型胫骨插入物的前至后剖视图;
图12为图5的单间室胫骨插入物的内侧至外侧剖视图;
图13为图11的典型胫骨插入物的内侧至外侧剖视图;
图14为单间室胫骨插入物切除之后准备植入图5的单间室胫骨插入物的患者的胫骨的透视图;
图15为在植入包括图5的单间室胫骨插入物的单间室膝关节假体之后图14的患者的胫骨的横截面评估图;
图16为具有骨保护特征部的单间室胫骨插入物的另一个实施方案的下透视图;
图17为图16的单间室胫骨插入物的上平面图;
图18为图16的单间室胫骨插入物的下平面图;
图19为图16的单间室胫骨插入物的内侧正视图;
图20为图16的单间室胫骨插入物的后正视图;
图21为图16的单间室胫骨插入物的前至后剖视图;
图22为类似于图10的典型胫骨插入物的前至后剖视图;
图23为图16的单间室胫骨插入物的内侧至外侧剖视图;
图24为图22的典型胫骨插入物的内侧至外侧剖视图;
图25为具有骨保护特征部的胫骨全膝关节假体的下透视图;
图26为图25的胫骨全膝关节假体的下平面图;
图27为图25的胫骨全膝关节假体的上平面图;
图28为图25的胫骨全膝关节假体的后正视图;
图29为图25的胫骨全膝关节假体的前正视图;
图30为图25的胫骨全膝关节假体的侧正视图;并且
图31为图25的胫骨全膝关节假体的另一侧正视图。
具体实施方式
虽然本公开的概念易于具有各种修改形式和替代形式,但其具体示例性实施方案已在附图中以举例的方式示出,并且将在本文中进行详细描述。然而应当理解,无意将本公开的概念限制为所公开的特定形式,而是相反,意图在于涵盖所附权利要求限定的本发明的实质和范围内的所有修改型式、等同型式和替代型式。
在整篇说明书中,当涉及整形外科植入物和本文所述外科手术器械以及患者自然解剖结构时,可能会用到表示解剖学参考的术语,例如前、后、内侧、外侧、上、下等。这些术语在解剖学研究和矫形外科领域都具有公知的含义。除非另外说明,否则在书面具体实施方式和权利要求中使用的这些解剖参考术语旨在与其熟知的含义一致。
现在参见图1,示例性整形外科全膝关节假体系统100包括典型的“活动”或“旋转”整形外科膝关节假体102和典型的“固定”整形外科膝关节假体104。整形外科膝关节假体102和整形外科膝关节假体104中的每一者被构造成被固定到患者的胫骨106的外科准备的近侧端部,如下文更详细地讨论。
示例性“活动”整形外科膝关节假体102包括胫骨插入物110和胫骨托112。胫骨插入物110通常由聚合物材料诸如超高分子量聚乙烯(UHMWPE)形成,而胫骨托112由金属材料诸如钴铬或钛形成。
胫骨插入物110被构造成与胫骨托112联接并且包括具有上支承表面122和底部表面124的平台120。为了便于胫骨插入物110和胫骨托112的联接,胫骨插入物110还包括从平台120的底部表面124向下延伸的杆状物126。杆状物126被构造成被接纳在胫骨托112的孔138中。在使用中,胫骨插入物110被构造成围绕由杆状物126限定的轴线相对于胫骨托112旋转。
如下文结合图2所述,胫骨托112被构造成被固定到患者的胫骨106的外科准备的近侧端部。胫骨托112可经由使用骨粘合剂或其他附接装置固定到患者的胫骨。胫骨托112包括具有顶部表面132和底部表面134的平台130。胫骨托112还包括从平台130的底部表面134向下延伸的杆状物136。孔138限定在平台130的顶部表面132中并且向下延伸到杆状物126中。
示例性“固定”整形外科膝关节假体104包括附接到胫骨平台或基部142的胫骨插入物或支承件140。胫骨插入物140通常由聚合物材料诸如超高分子量聚乙烯(UHMWPE)形成,而胫骨平台142由金属材料诸如钴铬或钛形成。整形外科膝关节假体104还可包括从胫骨平台142的底部表面152向下延伸的一个或多个栓或龙骨150,以便于固定到患者的胫骨106。
胫骨插入物140和胫骨平台142可为模块化的设计(例如,胫骨插入物140和胫骨平台142可为单独的部件)或一体的设计。例如,在一些实施方案中,胫骨插入物140可永久性地附接(例如,模制到)胫骨平台142。无论如何,类似于胫骨托112,胫骨平台142被构造成被固定到患者的胫骨106的外科准备的近侧端部。
如上所述,整形外科膝关节假体102或整形外科膝关节假体104中的任一者可用于全膝关节成形术(TKA)以置换患者的胫骨106的近侧端部。为此,患者的胫骨106经由横跨胫骨平台的平面切割来切除,以在患者的胫骨106的近侧端部处产生平面切除表面200,如图2所示。平面切除表面200提供了基部,胫骨托112的平台130的底部表面134支承在该基部上,或者胫骨平台142的底部表面152支承在该基部上,这取决于使用了哪个整形外科膝关节假体102、104。在任一种情况下,胫骨插入物110、140提供患者的自然或假体股骨可在其上进行关节运动的人造胫骨关节面。当然,可能需要另外的外科手术(例如,胫骨106的钻孔)来完全植入整形外科膝关节假体102、104。
在一些情况下,全膝关节成形术可能不是必需的,因为患者胫骨和/或股骨的仅一个髁可能患病或受损。在此类情况下,整形外科单间室膝关节假体可用于置换患者的胫骨106和/或股骨的自然髁。典型的单间室膝关节假体类似于全膝关节假体的一半,但被构造成置换单个髁或关节面。因此,典型的单间室胫骨假体包括具有单个关节面的胫骨插入物和被构造成固定到患者的胫骨106的胫骨托。单间室膝关节成形术(UKA)外科手术可用于植入典型的单间室胫骨假体。为此,患者的胫骨106的关节面中的一个关节面经由横跨胫骨平台的平面切割来切除,以在患者胫骨106的近侧端部处的内侧或外侧上产生平面切除表面300,如图3所示。与上面关于图2讨论的平面切除表面200类似,平面切除表面300提供了基部,典型的单间室胫骨假体的平台的底部表面支承在该基部上。当然,如果使用双间室膝关节假体,则可切除患者的胫骨106的近侧端部的内侧和外侧两者。
整形外科胫骨假体中通常推荐和遵守的一个标准是胫骨插入物的关节面与胫骨托的顶部表面之间的最小距离。如上所述,胫骨插入物通常由聚合物材料形成,而胫骨托为金属。因此,应保持聚合物胫骨插入物的最小厚度以确保胫骨插入物在使用期间不破裂或过度磨损。例如,如图4所示,可遵守胫骨插入物140的关节面与胫骨平台142的顶部表面之间的六毫米至八毫米的最小距离400(即,胫骨插入物的厚度)。然而,保持最小胫骨插入物厚度,尤其是在胫骨插入物的关节面的停留点处保持最小胫骨插入物厚度,可导致需要从患者胫骨移除多余的骨。即,由于典型胫骨插入物的关节面的曲率,患者的胫骨106必须被切除的距离等于超过关节面的停留点的最小距离(例如,6毫米至8毫米),这可导致在关节面的停留点的前面和后面的那些区域中切除多余的骨,在这些区域处关节面不如停留点那么深。
另外,在一些情况下,患者的胫骨106的平面切除可导致胫骨膝关节假体的“跷跷板”负载效应,其中胫骨膝关节假体的一侧上的压缩负载可导致相反侧的抬起。另外,人工膝关节的屈曲和伸展可在人工膝关节的整形外科假体的整个关节面上传递剪切力。因为平面表面对剪切力的抵抗力减小,所以整形外科胫骨假体上可能需要栓或龙骨来抵抗需要额外骨移除的此类剪切力。
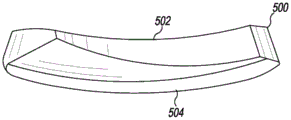
现在参见图5至图9,示例性单间室胫骨插入物500包括骨保护特征部,以减少胫骨插入物500植入患者的胫骨期间移除的骨量。当在如图6和图7所示的平面图中观察时,单间室胫骨插入物500通常为“D形”,并且包括关节面502和与关节面502相反的底部表面504。从胫骨插入物500的前端506延伸到后端508的关节面502是弯曲的并且被构造成与患者的股骨的对应的自然或假体髁进行关节运动。另外,与典型的单间室胫骨插入物不同,底部表面504也是弯曲的并且从胫骨插入物500的前端506延伸到后端508。
例示性地,关节面502具有凹曲率,并且底部表面504具有凸曲率,使得底部表面504与关节面502的曲率成镜像。例如,如图8所示,当在矢状平面中观察时,关节面502在前-后方向上为凹形,并且当在矢状平面中观察时,底部表面504在前-后方向上为凸形。相似地,如图9所示,当在冠状平面中观察时,关节面502在内侧-外侧方向上为凹形,并且当在冠状平面中观察时,底部表面504在内侧-外侧方向上为凸形。
现在参见图10至图13,在一些实施方案中,底部表面504的曲率匹配关节面502的曲率,使得单间室胫骨插入物500的厚度在制造公差内是恒定的。例如,在示例性实施方案中,限定在关节面502和底部表面504之间的垂直距离1000限定单间室胫骨插入物500的厚度,该厚度在如图10所示的前-后方向以及如图12所示的内侧-外侧方向上是恒定的。
如图10和图12所示,垂直距离1000由假想线(距离1000)的长度限定,该假想线垂直于与关节面502相切的假想切线503并且垂直于与底部表面504相切的假想切线505。例如,垂直距离1000可被测量为假想切线503与关节面502的接触点和假想切线505与底部表面504的接触点之间的距离。
反之,如图11和图12所示,典型的单间室胫骨插入物1100具有平坦的底部表面1102,这使得典型的单间室胫骨插入物1100的厚度在如图11所示的前-后方向以及如图13所示的内侧-外侧方向两者上变化。因此,典型的单间室胫骨插入物1100需要在周边前、后、内侧和外侧区域(即,远离停留点的区域)中移除患者胫骨的额外骨。
现在参见图14和图15,应当理解,单间室胫骨插入物500可包括单间室胫骨托1500或以其他方式被构造成与该单间室胫骨托配合,以形成单间室胫骨假体1550。在一些实施方案中,单间室胫骨托1500可包括胫骨平台1502,该胫骨平台具有弯曲顶部表面1504和底部表面1506,该弯曲顶部表面被形成为与单间室胫骨插入物500联接,该底部表面类似于单间室胫骨插入物500的底部表面504弯曲或以其他方式匹配该单间室胫骨插入物的该底部表面的曲率,以减少植入期间移除的骨量。因此,如图14所示,单间室胫骨假体1550可植入到在患者胫骨1400的近侧端部钻出或以其他方式形成的圆形或半椭圆形凹陷部1402中,而无需如图所示对患者胫骨1400进行平面切割。由于弯曲底部表面504、1506,凹陷部1402可形成为具有确保单间室胫骨插入物500的关节面502与胫骨托1500的顶部表面1504之间的最小距离所需的最小深度。这样,患者的胫骨1400的骨相对于患者的胫骨的平面切除得到了保护。另外,应当理解,凹陷部1402的椭圆形形状可提供改善的抗剪切力性,这可减少或消除对胫骨托1500上的栓或龙骨的需求,并进一步保护患者胫骨1400的骨。
现在参见图16至图20,另一个示例性单间室胫骨插入物1600包括骨保护特征部,以减少胫骨插入物1600植入患者的胫骨期间移除的骨量。单间室胫骨插入物1600类似于上述单间室胫骨插入物500,并且当在如图17和图18所示的平面图中观察时通常为“D形”。单间室胫骨插入物1600包括关节面1602和与关节面1602相反的底部表面1604。类似于单间室胫骨插入物500,从胫骨插入物1600的前端1606延伸到后端1608的关节面1602是弯曲的并且被构造成与患者的股骨的对应的自然或假体髁进行关节运动。然而,单间室胫骨插入物1600的底部表面1604具有平面基部表面1610和远离平面基部表面1610延伸(例如,向下)的突出部1620。
突出部1620具有弯曲外表面,该弯曲外表面具有凸曲率,该凸曲率与突出部1620的区域中的关节面1602的凹曲率成镜像。例如,如图19所示,当在矢状平面中观察时,关节面1602在前-后方向上为凹形的,并且当在矢状平面中观察时,突出部1620的弯曲外表面在前-后方向上为凸形的。相似地,如图20所示,当在冠状平面中观察时,关节面1602在内侧-外侧方向上为凹形的,并且当在冠状平面中观察时,突出部1620的弯曲外表面在内侧-外侧方向上为凸形的。
突出部1620示例性地为半椭圆形形状,但在其他实施方案中可具有不同的形状。突出部1620位于平面基部表面1610上,以便与关节面1602的停留点对准,使得单间室胫骨插入物1600的厚度满足最小厚度(例如,6毫米至8毫米)。例如,如图18所示,因为关节面1602的停留点朝向单间室胫骨插入物1600的后端1608定位,所以突出部1620同样相对于单间室胫骨插入物1600的内侧-外侧轴线1630朝向后端1608偏移。
现在参见图21至图24,在一些实施方案中,突出部1620的弯曲外表面的曲率与关节面1602的曲率匹配,使得突出部1620的区域中的单间室胫骨插入物1600的厚度在制造公差内是恒定的。例如,在示例性实施方案中,关节面1602与突出部1620的弯曲外表面之间的垂直距离2100限定突出部1620的厚度,该厚度在如图21所示的前-后方向以及如图23所示的内侧-外侧方向上为恒定的。
如图21和图23所示,垂直距离2100由假想线(距离2100)的长度限定,该假想线垂直于与关节面1602相切的假想切线1603并且垂直于与突出部1620的弯曲外表面相切的假想切线1605。例如,垂直距离2100可被测量为假想切线1603与关节面1602的接触点和假想切线1604与突出部1620的弯曲外表面的接触点之间的距离。
反之,如图22和图24所示,典型的单间室胫骨插入物1100具有平坦的底部表面1102,这使得典型的单间室胫骨插入物1100的厚度在如图22所示的前-后方向以及如图24所示的内侧-外侧方向两者上变化。
例示性地,单间室胫骨插入物1600的总体厚度在突出部1620和平面基部表面1610之间变化。例如,如图21所示,关节面1602与平面基部表面1610之间的垂直距离2102限定单间室胫骨插入物1600的厚度,该厚度不同于上述突出部1620的厚度。然而,在实施方案中,单间室胫骨插入物1600的总体厚度可能不是很厚,并且可等于突出部1620的厚度(即,垂直距离2100)。
胫骨插入物500、1600已被示出并描述为用于置换患者的胫骨的单个髁的单间室胫骨插入物。然而,应当理解,在一些实施方案中,内侧单间室胫骨插入物500和外侧单间室胫骨插入物1600可用于形成双间室胫骨插入物以置换患者的胫骨的两个髁。
现在参见图25至图31,示例性胫骨膝关节假体2500包括骨保护特征部,以减少胫骨膝关节假体2500植入患者的胫骨期间移除的骨量。胫骨膝关节假体2500体现为被构造成置换患者的胫骨的近侧端部的全膝关节假体。因此,胫骨膝关节假体2500包括内侧关节面2502、外侧关节面2522以及与内侧关节面2502和外侧关节面2522相反的底部表面2504。从胫骨膝关节假体2500的前端2506延伸到后端2508的内侧关节面2502是弯曲的,并且被构造成与患者的股骨的对应的自然或假体内侧髁进行关节运动。相似地,从胫骨膝关节假体2500的前端2506延伸到后端2508的外侧关节面2522是弯曲的,并且被构造成与患者的股骨的对应自然或假体外侧髁进行关节运动。然而,底部表面2504具有平面基部表面2510和远离平面基部表面2510(例如,向下)延伸的一对突出部2550、2552。
胫骨膝关节假体2500的突出部2550、2552中的每一者可基本上类似于上述突出部1620。例如,每个突出部2550、2552具有弯曲外表面,该弯曲外表面具有凸曲率,该凸曲率与对应突出部2550、2552的区域中的对应内侧关节面2502或外侧关节面2522的凹曲率成镜像。例如,如图28和图29最佳地示出,当在矢状平面中观察时,内侧关节面2502在前-后方向上为凹形的,并且当在矢状平面中观察时,突出部2550的弯曲外表面在前-后方向上为凸形的。相似地,当在矢状平面中观察时,外侧关节面2522在前-后方向上为凹形的,并且当在矢状平面中观察时,突出部2552的弯曲外表面在前-后方向上为凸形的。另外,如图30和图31最佳地示出,当在冠状平面中观察时,内侧关节面2502在内侧-外侧方向上为凹形的,并且当在冠状平面中观察时,突出部2550的弯曲外表面在内侧-外侧方向上为凸形的。相似地,当在冠状平面中观察时,外侧关节面2522在内侧-外侧方向上为凹形的,并且当在冠状平面中观察时,突出部2552的弯曲外表面在内侧-外侧方向上为凸形的。
突出部2550、2552中的每一者各自示例性地为半椭圆形形状,但在其他实施方案中可具有不同的形状。另外,尽管在示例性实施方案中胫骨膝关节假体2500包括两个突出部2550、2552,但在其他实施方案中胫骨膝关节假体2500可包括另外的或更少的突出部2550、2552。突出部2550、2552中的每一者与对应的内侧关节面2502/外侧关节面2522的停留点对准,使得每个突出部2550、2552的厚度(即,每个突出部2550、2552的外表面与对应的内侧/外侧关节面2502、2522之间的垂直距离)满足最小厚度(例如,6毫米至8毫米)。如上所述,因为关节面2502、2522的停留点朝向后端2508定位,所以每个突出部2550、2552同样朝向后端2508偏移。另外,在示例性实施方案中,每个突出部2550、2552分别包括从对应突出部2550、2552的弯曲外表面延伸的栓2560、2562。
应当理解,胫骨膝关节假体2500可为模块化的或一体的设计。例如,在一些实施方案中,胫骨膝关节假体2500包括胫骨插入物,该胫骨插入物包括关节面2502、2522和胫骨托。在此类实施方案中,胫骨插入物可以可移除地附接到胫骨托以形成胫骨膝关节假体2500。在其他实施方案中,胫骨膝关节假体2500的胫骨插入物附接(例如,模制)到胫骨膝关节假体2500的胫骨托。例如,胫骨托可具有多孔涂层或外表面以便于胫骨插入物的附接。此类设计通常被称为“整体式”胫骨假体。
虽然在附图和前述描述中已经详细地举例说明和描述了本公开,但此类举例说明和描述在特征上应被视为是例示性的而不是限制性的,应当理解,仅示出和描述了例示性的实施方案,并且本公开的实质内进行的所有改变和变型都应受到保护。
本文所述方法、设备和系统的多个特征使本公开具有多个优点。应当注意的是,本公开的方法、设备和系统的另选的实施方案可以不包括所有所述特征,但仍然可以受益于此类特征的优点中的至少一些。对于上述方法、设备和系统,本领域的普通技术人员可容易地设想出其自己的实施方式,该实施方式可结合本发明特征中的一个或多个特征,并且落在由所附权利要求限定的本公开的实质和范围内。
Claims (20)
1.一种单间室胫骨插入物,包括:
前端和后端;
关节面,所述关节面从所述前端延伸到所述后端并且构造成与自然或假体股骨的对应髁进行关节运动;和
底部表面,所述底部表面与所述关节面相反,从所述前端延伸到所述后端并且构造成与单间室胫骨托联接,其中所述底部表面为非平面的,
其中所述关节面与所述底部表面之间的垂直距离限定所述胫骨插入物的厚度,并且其中所述胫骨插入物的所述厚度在所述前端和所述后端之间是恒定的。
2.根据权利要求1所述的单间室胫骨插入物,其中当在矢状平面中观察时,所述关节面具有凹形形状,并且
其中当在所述矢状平面中观察时,所述底部表面具有凸形形状。
3.根据权利要求2所述的单间室胫骨插入物,其中当在冠状平面中观察时,所述关节面具有凹形形状,并且
其中当在所述冠状平面中观察时,所述底部表面具有凸形形状。
4.根据权利要求1所述的单间室胫骨插入物,其中所述关节面的曲率匹配所述底部表面的曲率。
5.根据权利要求1所述的单间室胫骨插入物,其中所述胫骨插入物的所述厚度为约六毫米。
6.一种单间室胫骨插入物,包括:
前端和后端;
关节面,所述关节面从所述前端延伸到所述后端并且构造成与自然或假体股骨的对应髁进行关节运动;和
底部表面,所述底部表面与所述关节面相反,从所述前端延伸到所述后端并且构造成与单间室胫骨托联接,其中所述底部表面包括平面基部表面和从所述平面基部表面延伸的突出部,其中所述突出部具有弯曲外表面。
7.根据权利要求6所述的单间室胫骨插入物,其中当在矢状平面中观察时,所述关节面具有凹形形状,并且
其中当在所述矢状平面中观察时,所述底部表面的所述突出部具有凸形形状。
8.根据权利要求7所述的单间室胫骨插入物,其中当在冠状平面中观察时,所述关节面具有凹形形状,并且
其中当在所述冠状平面中观察时,所述底部表面的所述突出部具有凸形形状。
9.根据权利要求6所述的单间室胫骨插入物,其中所述关节面与所述底部表面之间的垂直距离限定所述胫骨插入物的厚度,并且其中所述胫骨插入物的所述厚度在所述前端和所述后端之间是恒定的。
10.根据权利要求9所述的单间室胫骨插入物,其中所述胫骨插入物的所述厚度为约六毫米。
11.根据权利要求6所述的单间室胫骨插入物,其中所述关节面与所述底部表面的所述平面基部表面之间的第一垂直距离限定第一厚度,并且所述关节面与所述突出部的所述弯曲外表面之间的第二垂直距离限定等于所述第一垂直距离的第二垂直距离。
12.根据权利要求6所述的单间室胫骨插入物,其中所述关节面与所述底部表面的所述突出部的所述弯曲外表面之间的垂直距离限定所述突出部的厚度,并且其中所述突出部的所述厚度为恒定的。
13.根据权利要求12所述的单间室胫骨插入物,其中所述突出部的所述厚度为约六毫米。
14.根据权利要求6所述的单间室胫骨插入物,其中所述底部表面的所述突出部为半椭圆形形状。
15.根据权利要求6所述的单间室胫骨插入物,其中所述底部表面的所述突出部从所述胫骨插入物的内侧-外侧轴线朝向所述胫骨插入物的所述后端偏移。
16.一种胫骨膝关节假体,包括:
前侧和后侧;
内侧关节面,所述内侧关节面从所述前侧延伸到所述后侧并且构造成与自然或假体股骨的内侧髁进行关节运动;
外侧关节面,所述外侧关节面从所述前侧延伸到所述后侧并且构造成与所述自然或假体股骨的外侧髁进行关节运动;和
底部表面,所述底部表面与所述内侧关节面和所述外侧关节面相反,从所述前侧延伸到所述后侧,其中所述底部表面包括平面基部表面和从所述平面基部表面延伸于所述内侧关节面或外侧表面下方的突出部,其中所述突出部具有弯曲外表面。
17. 根据权利要求16所述的胫骨膝关节假体,还包括从所述底部表面的所述突出部延伸的栓。
18.根据权利要求16所述的胫骨膝关节假体,其中当在矢状平面中观察时,所述内侧关节面和所述外侧关节面中的每一者具有凹形形状,并且
其中当在所述矢状平面中观察时,所述底部表面的所述突出部具有凸形形状。
19.根据权利要求16所述的胫骨膝关节假体,其中所述内侧关节面与所述突出部的所述弯曲外表面之间或所述外侧关节面与所述突出部的所述弯曲外表面之间的垂直距离限定所述突出部的厚度,并且其中所述突出部的所述厚度为恒定的并且为约六毫米。
20.根据权利要求16所述的胫骨膝关节假体,其中胫骨插入物包括附接到金属平台的聚合物插入物,其中所述聚合物插入物包括所述内侧关节面和所述外侧关节面,并且所述金属平台包括底部表面,所述底部表面具有所述平面基部表面和从所述平面基部表面延伸于所述内侧关节面或所述外侧关节面下方的所述突出部。
Applications Claiming Priority (3)
| Application Number | Priority Date | Filing Date | Title |
|---|---|---|---|
| US201962842178P | 2019-05-02 | 2019-05-02 | |
| US62/842178 | 2019-05-02 | ||
| PCT/IB2020/054100 WO2020222167A1 (en) | 2019-05-02 | 2020-04-30 | Orthopaedic implant system with bone conserving features |
Publications (1)
| Publication Number | Publication Date |
|---|---|
| CN114040733A true CN114040733A (zh) | 2022-02-11 |
Family
ID=73017813
Family Applications (1)
| Application Number | Title | Priority Date | Filing Date |
|---|---|---|---|
| CN202080048809.5A Pending CN114040733A (zh) | 2019-05-02 | 2020-04-30 | 具有骨保护特征部的整形外科植入物系统 |
Country Status (6)
| Country | Link |
|---|---|
| US (1) | US12496194B2 (zh) |
| EP (1) | EP3962418A4 (zh) |
| JP (1) | JP7618583B2 (zh) |
| CN (1) | CN114040733A (zh) |
| AU (1) | AU2020267056A1 (zh) |
| WO (1) | WO2020222167A1 (zh) |
Citations (7)
| Publication number | Priority date | Publication date | Assignee | Title |
|---|---|---|---|---|
| US4808185A (en) * | 1986-02-07 | 1989-02-28 | Penenberg Brad L | Tibial prosthesis, template and reamer |
| US5176710A (en) * | 1991-01-23 | 1993-01-05 | Orthopaedic Research Institute | Prosthesis with low stiffness factor |
| US20060004461A1 (en) * | 2003-12-30 | 2006-01-05 | Medicinelodge, Inc. | Methods for mounting a tibial condylar implant |
| US20060009854A1 (en) * | 2004-07-09 | 2006-01-12 | Medicinelodge, Inc. | Guide templates for surgical implants and related methods |
| US20110029091A1 (en) * | 2009-02-25 | 2011-02-03 | Conformis, Inc. | Patient-Adapted and Improved Orthopedic Implants, Designs, and Related Tools |
| US20110218635A1 (en) * | 2008-07-10 | 2011-09-08 | Andrew Arthur Amis | Modular knee implants |
| US20150032215A1 (en) * | 2012-03-02 | 2015-01-29 | Conformis, Inc. | Patient-Adapted Posterior Stabilized Knee Implants, Designs and Related Methods and Tools |
Family Cites Families (17)
| Publication number | Priority date | Publication date | Assignee | Title |
|---|---|---|---|---|
| US8480754B2 (en) * | 2001-05-25 | 2013-07-09 | Conformis, Inc. | Patient-adapted and improved articular implants, designs and related guide tools |
| US6206927B1 (en) | 1999-04-02 | 2001-03-27 | Barry M. Fell | Surgically implantable knee prothesis |
| US7297161B2 (en) | 1999-05-10 | 2007-11-20 | Fell Barry M | Surgically implantable knee prosthesis |
| US7591854B2 (en) * | 2002-09-30 | 2009-09-22 | Depuy Products, Inc. | Apparatus, system and method for intraoperative performance analysis during joint arthroplasty |
| US20070055269A1 (en) | 2005-08-16 | 2007-03-08 | Iannarone Ronald C | Implants, instruments and procedure for a unicompartmental knee replacement |
| WO2007041375A2 (en) | 2005-09-30 | 2007-04-12 | Conformis, Inc. | Joint arthroplasty devices |
| US20080058945A1 (en) | 2006-03-13 | 2008-03-06 | Mako Surgical Corp. | Prosthetic device and system and method for implanting prosthetic device |
| US8142510B2 (en) | 2007-03-30 | 2012-03-27 | Depuy Products, Inc. | Mobile bearing assembly having a non-planar interface |
| AU2009265656B2 (en) | 2008-07-04 | 2014-01-23 | Dr. H.C. Robert Mathys Stiftung | Implant device |
| US7981159B2 (en) * | 2008-07-16 | 2011-07-19 | Depuy Products, Inc. | Antero-posterior placement of axis of rotation for a rotating platform |
| US9462964B2 (en) * | 2011-09-23 | 2016-10-11 | Orthosensor Inc | Small form factor muscular-skeletal parameter measurement system |
| US8747479B2 (en) | 2011-04-26 | 2014-06-10 | Michael A. McShane | Tibial component |
| US9861372B2 (en) | 2011-05-27 | 2018-01-09 | Howmedica Osteonics Corp. | Prosthetic implant and associated instruments |
| US9381085B2 (en) * | 2011-06-23 | 2016-07-05 | Stryker Corporation | Prosthetic implant and method of implantation |
| EP2744453A4 (en) | 2011-08-15 | 2015-10-28 | Conformis Inc | REVISION SYSTEMS, TOOLS AND METHOD FOR THE REVIEW OF ARTHROPLASTIC IMPLANTS |
| CA3066766C (en) | 2015-01-21 | 2021-09-14 | Active Implants LLC | Partial unicompartmental system for partial knee replacement |
| US11491017B2 (en) | 2017-07-28 | 2022-11-08 | Active Implants LLC | Floating joint replacement device with supportive sidewall |
-
2020
- 2020-04-30 AU AU2020267056A patent/AU2020267056A1/en active Pending
- 2020-04-30 EP EP20798480.8A patent/EP3962418A4/en not_active Withdrawn
- 2020-04-30 US US16/863,128 patent/US12496194B2/en active Active
- 2020-04-30 JP JP2021564777A patent/JP7618583B2/ja active Active
- 2020-04-30 WO PCT/IB2020/054100 patent/WO2020222167A1/en not_active Ceased
- 2020-04-30 CN CN202080048809.5A patent/CN114040733A/zh active Pending
Patent Citations (7)
| Publication number | Priority date | Publication date | Assignee | Title |
|---|---|---|---|---|
| US4808185A (en) * | 1986-02-07 | 1989-02-28 | Penenberg Brad L | Tibial prosthesis, template and reamer |
| US5176710A (en) * | 1991-01-23 | 1993-01-05 | Orthopaedic Research Institute | Prosthesis with low stiffness factor |
| US20060004461A1 (en) * | 2003-12-30 | 2006-01-05 | Medicinelodge, Inc. | Methods for mounting a tibial condylar implant |
| US20060009854A1 (en) * | 2004-07-09 | 2006-01-12 | Medicinelodge, Inc. | Guide templates for surgical implants and related methods |
| US20110218635A1 (en) * | 2008-07-10 | 2011-09-08 | Andrew Arthur Amis | Modular knee implants |
| US20110029091A1 (en) * | 2009-02-25 | 2011-02-03 | Conformis, Inc. | Patient-Adapted and Improved Orthopedic Implants, Designs, and Related Tools |
| US20150032215A1 (en) * | 2012-03-02 | 2015-01-29 | Conformis, Inc. | Patient-Adapted Posterior Stabilized Knee Implants, Designs and Related Methods and Tools |
Also Published As
| Publication number | Publication date |
|---|---|
| JP2022531321A (ja) | 2022-07-06 |
| US20200345502A1 (en) | 2020-11-05 |
| EP3962418A4 (en) | 2022-12-21 |
| AU2020267056A1 (en) | 2021-12-02 |
| US12496194B2 (en) | 2025-12-16 |
| EP3962418A1 (en) | 2022-03-09 |
| JP7618583B2 (ja) | 2025-01-21 |
| WO2020222167A1 (en) | 2020-11-05 |
Similar Documents
| Publication | Publication Date | Title |
|---|---|---|
| US11730602B2 (en) | Orthopaedic knee prosthesis having controlled condylar curvature | |
| US8206451B2 (en) | Posterior stabilized orthopaedic prosthesis | |
| EP1684672B1 (en) | High flexion articular insert | |
| US12115080B2 (en) | Total knee implant prosthesis assembly and method | |
| US20180064543A1 (en) | Knee prosthesis assembly having proportional trochlear groove geometry | |
| EP2140838B1 (en) | Tibial bearing for a knee joint prosthesis | |
| EP3143964B1 (en) | Implant for restoring normal range of flexion and kinematics of the knee | |
| EP1421920B1 (en) | Femoral prosthesis | |
| EP2143403A1 (en) | Knee Prosthesis | |
| EP2726021B1 (en) | Posterior stabilized orthopaedic prosthesis assembly | |
| US9119723B2 (en) | Posterior stabilized orthopaedic prosthesis assembly | |
| CA2924694C (en) | Reverse knee prosthesis | |
| JP7618583B2 (ja) | 骨保存機能を有する整形外科用インプラントシステム | |
| CN113710208A (zh) | 具有内侧枢转股骨部件和插入物的整形外科系统 | |
| AU2011221425A1 (en) | High flexion articular insert |
Legal Events
| Date | Code | Title | Description |
|---|---|---|---|
| PB01 | Publication | ||
| PB01 | Publication | ||
| SE01 | Entry into force of request for substantive examination | ||
| SE01 | Entry into force of request for substantive examination | ||
| WD01 | Invention patent application deemed withdrawn after publication | ||
| WD01 | Invention patent application deemed withdrawn after publication |
Application publication date: 20220211 |