CN113481869A - Method for assembling and disassembling capping beam platform - Google Patents
Method for assembling and disassembling capping beam platform Download PDFInfo
- Publication number
- CN113481869A CN113481869A CN202110902134.2A CN202110902134A CN113481869A CN 113481869 A CN113481869 A CN 113481869A CN 202110902134 A CN202110902134 A CN 202110902134A CN 113481869 A CN113481869 A CN 113481869A
- Authority
- CN
- China
- Prior art keywords
- cross arm
- platform
- main bearing
- bent cap
- bearing beam
- Prior art date
- Legal status (The legal status is an assumption and is not a legal conclusion. Google has not performed a legal analysis and makes no representation as to the accuracy of the status listed.)
- Pending
Links
- 238000000034 method Methods 0.000 title claims abstract description 25
- 238000010276 construction Methods 0.000 claims abstract description 17
- 229910000831 Steel Inorganic materials 0.000 claims description 12
- 239000010959 steel Substances 0.000 claims description 12
- 238000006243 chemical reaction Methods 0.000 description 4
- 238000010586 diagram Methods 0.000 description 2
- 230000004048 modification Effects 0.000 description 2
- 238000012986 modification Methods 0.000 description 2
- 230000008569 process Effects 0.000 description 2
- 239000004576 sand Substances 0.000 description 2
- 238000006748 scratching Methods 0.000 description 2
- 230000002393 scratching effect Effects 0.000 description 2
- 235000017166 Bambusa arundinacea Nutrition 0.000 description 1
- 235000017491 Bambusa tulda Nutrition 0.000 description 1
- 241001330002 Bambuseae Species 0.000 description 1
- 235000015334 Phyllostachys viridis Nutrition 0.000 description 1
- 239000011425 bamboo Substances 0.000 description 1
- 230000009286 beneficial effect Effects 0.000 description 1
- 230000008901 benefit Effects 0.000 description 1
- 239000004035 construction material Substances 0.000 description 1
- 230000000694 effects Effects 0.000 description 1
- 230000006872 improvement Effects 0.000 description 1
- 238000011065 in-situ storage Methods 0.000 description 1
- 238000009434 installation Methods 0.000 description 1
- 230000003993 interaction Effects 0.000 description 1
- 238000004519 manufacturing process Methods 0.000 description 1
- 239000000463 material Substances 0.000 description 1
- 239000011120 plywood Substances 0.000 description 1
- 230000007306 turnover Effects 0.000 description 1
- 238000003466 welding Methods 0.000 description 1
Images
Classifications
-
- E—FIXED CONSTRUCTIONS
- E01—CONSTRUCTION OF ROADS, RAILWAYS, OR BRIDGES
- E01D—CONSTRUCTION OF BRIDGES, ELEVATED ROADWAYS OR VIADUCTS; ASSEMBLY OF BRIDGES
- E01D21/00—Methods or apparatus specially adapted for erecting or assembling bridges
Landscapes
- Engineering & Computer Science (AREA)
- Architecture (AREA)
- Civil Engineering (AREA)
- Structural Engineering (AREA)
- Bridges Or Land Bridges (AREA)
Abstract
The invention belongs to the technical field of disassembly of a bent cap platform and discloses a method for assembling and disassembling the bent cap platform, which comprises the steps of firstly installing a main bearing beam on a pier, and building the bent cap platform on the main bearing beam to finish the pouring operation of the bent cap; after the construction of the cover beam is finished, mounting a positioning frame above the cover beam, arranging a cross arm below the main bearing beam, and hanging the cross arm to the bottom of the main bearing beam; secondly, disassembling a connecting member between the main bearing beam and the pier; and finally, lowering the cross arm, and lowering the cover beam platform to the ground along with the cross arm. The method for assembling and disassembling the bent cap platform changes the high-altitude disassembling operation of the bent cap platform into the ground disassembling operation, ensures the operation safety of constructors, improves the construction efficiency, greatly reduces the safety risk of disassembling the bent cap platform and saves the construction cost.
Description
Technical Field
The invention relates to the technical field of cover beam platform dismounting, in particular to a cover beam platform mounting and dismounting method.
Background
The geological conditions in China are complex and various, and with the rapid construction of high-speed and municipal engineering in recent years, the bridge engineering is increased day by day, and the capping beam construction cannot be avoided in the bridge construction. However, in the construction process of the bent cap, the detachment of the bent cap platform does not always have a safe and efficient method, safety accidents are frequent due to high-altitude operation of personnel, construction materials are unloaded in a free-falling mode, the material loss and deformation are large, the turnover use is not facilitated, the construction site is disordered, and the safe production and the benefit of projects are not facilitated. Therefore, a safe and efficient method for loading and unloading the cover beam platform is found, and is an important task for constructing the lower cover beam.
Disclosure of Invention
The invention aims to provide a method for assembling and disassembling a bent cap platform, which ensures the operation safety of constructors, improves the construction efficiency and saves the construction cost.
In order to achieve the purpose, the invention adopts the following technical scheme:
a method for loading and unloading a bent cap platform comprises the following steps:
s1, mounting a main bearing beam on the bridge pier, and building a bent cap platform on the main bearing beam to complete the pouring operation of the bent cap;
step S2, after the construction of the bent cap is finished, installing a positioning frame above the bent cap, arranging a cross arm below the main bearing beam, and hanging the cross arm to the bottom of the main bearing beam;
step S3, disassembling a connecting member between the main bearing beam and the pier;
and S4, lowering the cross arm, wherein the cover beam platform is lowered to the ground along with the cross arm.
As a preferred technical solution of the present invention, step S1 further includes installing a hanging basket on the main bearing beam.
As a preferred embodiment of the present invention, in step S2, two cross arms are provided below the main girder, steel cables are fixedly connected to both ends of each cross arm, and the cross arms are hung to the bottom of the main girder by a crane.
As a preferable technical solution of the present invention, in step S3, the method further includes, after the crane hangs the cross arm to the bottom of the main girder, withdrawing the crane and hanging the cross arm by using a chain block.
As a preferred technical solution of the present invention, when the crane hangs the cross arm, the wire rope is hooked at an outer hanging point of the cross arm; when the chain block is hung on the cross arm, the steel wire rope is hooked on the inner side hanging point of the cross arm.
As a preferable embodiment of the present invention, in step S3, the connection member between the main girder and the pier is removed by the crane.
In a preferred embodiment of the present invention, in step S4, after the connecting member is removed, the cross arm is re-suspended by the crane, and the cross arm and the cap platform thereon are lowered to the ground.
As a preferable technical solution of the present invention, in step S3, two chain blocks are provided, and one cross arm is correspondingly lifted by one chain block.
As a preferable embodiment of the present invention, in step S3, the connecting member includes a hoop.
As a preferred technical solution of the present invention, in step S4, the method further includes disassembling the platform of the canopy beam placed on the ground.
The invention has the beneficial effects that: the method for assembling and disassembling the bent cap platform changes the high-altitude disassembling operation of the bent cap platform into the ground disassembling operation, ensures the operation safety of constructors, improves the construction efficiency, greatly reduces the safety risk of disassembling the bent cap platform and saves the construction cost.
Drawings
FIG. 1 is a schematic diagram of the cover beam in the step S1 of the present invention in situ when the cover beam is completely poured;
FIG. 2 is a schematic diagram of the hanging cross arm at step S2 according to the present invention;
FIG. 3 is a schematic view of the site for hanging the cross arm by the chain block;
FIG. 4 is a schematic view of the site where the cross arm is lowered using the crane;
FIG. 5 is a top view of the positioning frame mounted;
FIG. 6 is a top view of the cross arm suspended by the chain block;
fig. 7 is a front view of the cross arm structure.
In the figure:
1. a main spandrel girder; 2. a positioning frame; 3. a cross arm; 31. an outer hoisting point; 32. an inner side hoisting point; 4. hanging a hanging basket; 5. a chain block; 6. a wire rope; 100. a bridge pier; 200. a capping beam; 300. a crane.
Detailed Description
Reference will now be made in detail to the embodiments of the present invention, examples of which are illustrated in the accompanying drawings, wherein like or similar reference numerals refer to the same or similar parts throughout or parts having the same or similar functions. The embodiments described below with reference to the drawings are illustrative and intended to be illustrative of the invention and are not to be construed as limiting the invention.
In the description of the present invention, unless otherwise expressly specified or limited, the terms "connected," "connected," and "fixed" are to be construed broadly, e.g., as meaning a fixed connection, a removable connection, a mechanical connection, an electrical connection, a direct connection, an indirect connection via an intermediary, a connection between two elements, or an interaction between two elements. The specific meanings of the above terms in the present invention can be understood by those skilled in the art according to specific situations.
In the description of the present invention, unless otherwise expressly specified or limited, the first feature "on" or "under" the second feature may include the first feature and the second feature being in direct contact, or may include the first feature and the second feature being in contact not directly but with another feature therebetween. Also, the first feature being "on," "above" and "over" the second feature includes the first feature being directly on and obliquely above the second feature, or merely indicating that the first feature is at a higher level than the second feature. A first feature being "under," "below," and "beneath" a second feature includes the first feature being directly under and obliquely below the second feature, or simply meaning that the first feature is at a lesser elevation than the second feature.
In the description of the present embodiment, the terms "upper", "lower", "right", etc. are used in an orientation or positional relationship based on that shown in the drawings only for convenience of description and simplicity of operation, and do not indicate or imply that the device or element referred to must have a particular orientation, be constructed and operated in a particular orientation, and thus, should not be construed as limiting the present invention. Furthermore, the terms "first" and "second" are used only for descriptive purposes and are not intended to have a special meaning.
The technical scheme of the invention is further explained by the specific implementation mode in combination with the attached drawings.
As shown in fig. 1-7, the present invention provides a method for handling a capping platform, comprising the steps of:
and step S1, installing the main bearing beam 1 on the pier 100, and building a bent cap platform on the main bearing beam 1 to complete the pouring operation of the bent cap 200.
In the step, as shown in fig. 1, a main bearing beam 1 is fixedly installed on a pier 100, after the main bearing beam 1 is installed, a hanging basket 4 is installed on the main bearing beam 1, the length, the width and the height of the hanging basket 4 are all 1.2m, the bearing part of the hanging basket 4 is welded by using L63 x 4mm angle steel, a bottom plate is formed by combining and splicing P42 x 3mm steel pipes with the distance of 20cm and 1cm bamboo plywood, and the periphery of the bottom plate is welded by using round steel with the diameter of 10mm and the distance of 20 cm. The hanging basket 4 provides a foothold for the constructors. After the bent cap 200 is poured, a constructor stands in the hanging basket 4 to reduce the height of the sand cylinder by 2cm, the sand cylinder temporarily supports the bent cap 200, and the bent cap 200 is a common device in the field, and the concrete structure and the effect thereof are not described in detail in the embodiment, so that the bent cap 200 is installed.
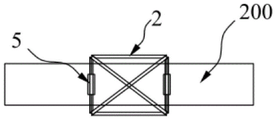
Step S2, after the construction of the bent cap 200 is completed, the positioning frame 2 is installed above the bent cap 200, the cross arm 3 is arranged below the main bearing beam 1, and the cross arm 3 is hung at the bottom of the main bearing beam 1.
In this step, as shown in fig. 2, a crane 300 and a wire rope 6 are selected to hang the cross arm 3, two cross arms 3 are arranged below the main bearing beam 1, the wire rope 6 is fixedly connected to both ends of the cross arm 3, and the cross arm 3 is lifted by the crane 300 to make the cross arm 3 tightly attached to the bottom of the main bearing beam 1. The specific structure and the installation position of the positioning frame 2 are shown in fig. 5, the positioning frame 2 is a square frame structure, is formed by welding double-spliced I14a I-shaped steel, and is placed at the top of the capping beam 200, so that the steel wire rope 6 can be supported to prevent the cross arm 3 from displacing, and the steel wire rope 6 can be prevented from scratching and breaking wires or scratching the capping beam 200 to damage the appearance of the capping beam 200.
And step S3, disassembling a connecting member between the main bearing beam 1 and the pier 100.
In this embodiment, since the crane 300 is in a hoisting operation state, the hoisting is unstable, and the capping beam platform is too high from the ground, there is a safety risk, and the constructor cannot directly detach the connecting member under the hoisting operation condition of the crane 300, so that a system conversion is required. Specifically, as shown in fig. 3, after the crane 300 hangs the cross arm 3 to the bottom of the main bearing beam 1, the crane 300 is removed, and the cross arm 3 is hung by using the chain block 5. The arrangement of chain blocks 5 is as shown in fig. 6, in this embodiment, two chain blocks 5 are provided, two chain blocks 5 are disposed above the positioning frame 2, one chain block 5 correspondingly lifts one cross arm 3, and the chain blocks 5 are connected with the cross arm 3 through a steel wire rope 6. As shown in fig. 7, the cross arm 3 has a specific structure in which a pair of outer hanging points 31 and inner hanging points 32 are provided at both ends of the cross arm 3, and the wire rope 6 is hooked to the outer hanging points 31 of the cross arm 3 when the cross arm 3 is hung by a crane 300; when the hand chain block 5 is used for hanging the cross arm 3, the steel wire rope 6 is hooked on the inner side hanging point 32 of the cross arm 3. After the crane 300 is converted to the chain block 5 to hoist the cross arm 3, a constructor can disassemble a connecting member between the main bearing beam 1 and the pier 100, wherein the connecting member comprises a hoop, a pin rod and other support systems. In addition, the crane 300 can be used for assisting in removing the supporting systems such as the hoops and the pins, the removing efficiency of the connecting members is improved, and the cover beam platform falls on the cross arm 3.
And S4, lowering the cross arm 3, and lowering the cover beam platform to the ground along with the cross arm 3.
In this step, as shown in fig. 4, after the connecting members are removed, the cross arm 3 is re-hung by using the crane 300, and the cross arm 3 and the upper bent cap platform thereof are lowered to the ground, so that the constructor can further disassemble and disassemble the bent cap platform on the ground, and the detachment of the bent cap platform is completed.
It should be noted that the hoisting mode of the main bearing beam 1 can be selected according to the height of the bent cap platform from the ground, such as: the low pier capping beam construction platform with the height of less than 10m can be directly disassembled by the chain block 5, only the chain block 5 is used in the whole disassembling process, and system conversion and the participation of a crane 300 are not needed; the construction platform for disassembling the 20m-40m middle and high pier capping beam is directly disassembled by a crane 300 without system conversion and the participation of a chain block 5; when the high pier capping beam platform with the height of more than 40m is disassembled, the chain block 5 is adopted to be matched with a tower crane for system conversion and disassembly. The selection is specifically based on the actual working conditions, and is not limited to the embodiment.
It should be understood that the above-described embodiments of the present invention are merely examples for clearly illustrating the present invention, and are not intended to limit the embodiments of the present invention. Other variations and modifications will be apparent to persons skilled in the art in light of the above description. And are neither required nor exhaustive of all embodiments. Any modification, equivalent replacement, and improvement made within the spirit and principle of the present invention should be included in the protection scope of the claims of the present invention.
Claims (10)
1. A method for loading and unloading a bent cap platform is characterized by comprising the following steps:
s1, mounting a main bearing beam (1) on a pier (100), and building a bent cap platform on the main bearing beam (1) to complete the pouring operation of the bent cap (200);
step S2, after the construction of the bent cap (200) is completed, installing a positioning frame (2) above the bent cap (200), arranging a cross arm (3) below the main bearing beam (1), and hanging the cross arm (3) to the bottom of the main bearing beam (1);
step S3, disassembling a connecting member between the main bearing beam (1) and the pier (100);
and S4, lowering the cross arm (3), and lowering the cover beam platform to the ground along with the cross arm (3).
2. Method according to claim 1, further comprising mounting a hanging gondola (4) on the main girder (1) in step S1.
3. The method for loading and unloading the cover beam platform according to claim 1, wherein in step S2, two cross arms (3) are arranged below the main bearing beam (1), steel wire ropes (6) are fixedly connected to both ends of each cross arm (3), and the cross arms (3) are hung to the bottom of the main bearing beam (1) through cranes (300).
4. The capping platform loading and unloading method according to claim 3, further comprising, in step S3, withdrawing the crane (300) after the crane (300) has hung the cross arm (3) to the bottom of the main bearing beam (1), and hanging the cross arm (3) by using a chain block (5).
5. A method according to claim 4, characterized in that the wire ropes (6) are hooked to the outer hoisting points (31) of the cross-arm (3) when the crane (300) is hanging the cross-arm (3); when the chain block (5) is hung on the cross arm (3), the steel wire rope (6) is hooked on the inner side hoisting point (32) of the cross arm (3).
6. The capping platform loading and unloading method according to claim 4, wherein the connection member between the main girder (1) and the pier (100) is removed by the crane (300) at step S3.
7. A method according to claim 6, characterized in that after the attachment elements have been removed, the cross arm (3) is rewound by the crane (300) and the cross arm (3) and the cap platform above it are lowered to the ground in step S4.
8. A method according to claim 4, characterized in that in step S3, said chain blocks (5) are provided in two, one (5) lifting one said cross arm (3) correspondingly.
9. The method of capping platform loading and unloading according to any of the claims 1-8, wherein in step S3 the attachment means comprises a hoop.
10. The method of handling a capping platform of any one of claims 1 to 8 further comprising disassembling the capping platform that is placed on the ground in step S4.
Priority Applications (1)
| Application Number | Priority Date | Filing Date | Title |
|---|---|---|---|
| CN202110902134.2A CN113481869A (en) | 2021-08-06 | 2021-08-06 | Method for assembling and disassembling capping beam platform |
Applications Claiming Priority (1)
| Application Number | Priority Date | Filing Date | Title |
|---|---|---|---|
| CN202110902134.2A CN113481869A (en) | 2021-08-06 | 2021-08-06 | Method for assembling and disassembling capping beam platform |
Publications (1)
| Publication Number | Publication Date |
|---|---|
| CN113481869A true CN113481869A (en) | 2021-10-08 |
Family
ID=77944571
Family Applications (1)
| Application Number | Title | Priority Date | Filing Date |
|---|---|---|---|
| CN202110902134.2A Pending CN113481869A (en) | 2021-08-06 | 2021-08-06 | Method for assembling and disassembling capping beam platform |
Country Status (1)
| Country | Link |
|---|---|
| CN (1) | CN113481869A (en) |
Cited By (3)
| Publication number | Priority date | Publication date | Assignee | Title |
|---|---|---|---|---|
| CN113981825A (en) * | 2021-10-19 | 2022-01-28 | 中铁十六局集团第四工程有限公司 | An integrally removable cover beam construction platform |
| CN114606870A (en) * | 2022-04-02 | 2022-06-10 | 中铁六局集团有限公司 | Integral dismantling method for hoop-method bent cap supporting system |
| CN115418965A (en) * | 2022-09-27 | 2022-12-02 | 中交第三航务工程局有限公司 | A hanger construction method for removing bottom formwork |
Citations (6)
| Publication number | Priority date | Publication date | Assignee | Title |
|---|---|---|---|---|
| CN205329547U (en) * | 2015-11-25 | 2016-06-22 | 中交路桥北方工程有限公司 | Lid corbel frame dismounting device |
| CN108930228A (en) * | 2018-08-06 | 2018-12-04 | 广州市第三市政工程有限公司 | The construction method of bent cap hoop bracket overall pulling down |
| CN110629674A (en) * | 2019-06-30 | 2019-12-31 | 中国一冶集团有限公司 | Method for dismantling integral falling frame of cast-in-place box girder bailey bracket system in highway construction process |
| CN111827116A (en) * | 2019-04-15 | 2020-10-27 | 中交路桥建设有限公司 | A combined high pier cover beam construction support |
| CN212404859U (en) * | 2020-05-21 | 2021-01-26 | 中交二公局第三工程有限公司 | Auxiliary device for falling of bottom die of bent cap |
| CN212983645U (en) * | 2020-07-27 | 2021-04-16 | 中交路桥建设有限公司 | Integral dismantling device for bent cap construction platform |
-
2021
- 2021-08-06 CN CN202110902134.2A patent/CN113481869A/en active Pending
Patent Citations (6)
| Publication number | Priority date | Publication date | Assignee | Title |
|---|---|---|---|---|
| CN205329547U (en) * | 2015-11-25 | 2016-06-22 | 中交路桥北方工程有限公司 | Lid corbel frame dismounting device |
| CN108930228A (en) * | 2018-08-06 | 2018-12-04 | 广州市第三市政工程有限公司 | The construction method of bent cap hoop bracket overall pulling down |
| CN111827116A (en) * | 2019-04-15 | 2020-10-27 | 中交路桥建设有限公司 | A combined high pier cover beam construction support |
| CN110629674A (en) * | 2019-06-30 | 2019-12-31 | 中国一冶集团有限公司 | Method for dismantling integral falling frame of cast-in-place box girder bailey bracket system in highway construction process |
| CN212404859U (en) * | 2020-05-21 | 2021-01-26 | 中交二公局第三工程有限公司 | Auxiliary device for falling of bottom die of bent cap |
| CN212983645U (en) * | 2020-07-27 | 2021-04-16 | 中交路桥建设有限公司 | Integral dismantling device for bent cap construction platform |
Cited By (3)
| Publication number | Priority date | Publication date | Assignee | Title |
|---|---|---|---|---|
| CN113981825A (en) * | 2021-10-19 | 2022-01-28 | 中铁十六局集团第四工程有限公司 | An integrally removable cover beam construction platform |
| CN114606870A (en) * | 2022-04-02 | 2022-06-10 | 中铁六局集团有限公司 | Integral dismantling method for hoop-method bent cap supporting system |
| CN115418965A (en) * | 2022-09-27 | 2022-12-02 | 中交第三航务工程局有限公司 | A hanger construction method for removing bottom formwork |
Similar Documents
| Publication | Publication Date | Title |
|---|---|---|
| CN106276631B (en) | A kind of roof hanging device and dismantling method of crane and boom | |
| CN113481869A (en) | Method for assembling and disassembling capping beam platform | |
| CN109231023B (en) | Method for installing jib system of portal crane | |
| CN106012852B (en) | Support integrally falls frame construction method | |
| CN109081247A (en) | A kind of hanging method of vestibule large-span steel girder | |
| CN219507440U (en) | Steel shell lifting appliance capable of being vertically adjusted | |
| CN103452043B (en) | Maintenance system of cable-stayed bridge solid pylon and application of maintenance system | |
| CN203255914U (en) | Unit-typed curtain wall lifting device | |
| CN110924723A (en) | Construction method and hoisting device for earth-covered oil tank and using method | |
| CN110374006B (en) | Construction method for dismantling space anisotropic large-tonnage steel beam bracket | |
| CN217053072U (en) | Multifunctional steel cable tower cap and stay cable installation device | |
| CN115852843A (en) | Construction method of cable crane main tower cable saddle of long-span railway suspension bridge | |
| CN116411517A (en) | Concrete beam bracket-free integral lifting construction method | |
| CN1868855A (en) | Air turnover system of large bridge steel structural unit and air turnover method | |
| CN211971577U (en) | Tower crane system | |
| CN204999517U (en) | Coal transporting trestle steel truss hoist device in power plant's chimney | |
| CN109132880B (en) | Method for disassembling portal crane | |
| CN216515179U (en) | Movable trolley for mounting and dismounting bridge guardrail template | |
| CN213294488U (en) | Movable hoisting device used on bridge | |
| CN110205939A (en) | Trolley and method for mobile dismounting formwork of bridge rail | |
| CN112758803B (en) | Method for hanging prefabricated box girder and changing hooks in air | |
| CN116621023A (en) | A cantilever hanging device for hanging cooling bed waste heat recovery heat collector and its application | |
| CN210560547U (en) | Blast furnace surrounding pipe hoisting structure | |
| CN116084302A (en) | A Construction Method for Construction of Concrete Box Girder Sections of Cable-Stayed Bridges Using Pull Cables and Hanging Baskets | |
| CN110293341B (en) | Eccentric arc-shaped ring gallery section high-altitude lifting tool and lifting method thereof |
Legal Events
| Date | Code | Title | Description |
|---|---|---|---|
| PB01 | Publication | ||
| PB01 | Publication | ||
| SE01 | Entry into force of request for substantive examination | ||
| SE01 | Entry into force of request for substantive examination | ||
| RJ01 | Rejection of invention patent application after publication | ||
| RJ01 | Rejection of invention patent application after publication |
Application publication date: 20211008 |