CN113081432A - Humpback corrector - Google Patents

Humpback corrector Download PDF

Info

Publication number
CN113081432A
CN113081432A CN202110463514.0A CN202110463514A CN113081432A CN 113081432 A CN113081432 A CN 113081432A CN 202110463514 A CN202110463514 A CN 202110463514A CN 113081432 A CN113081432 A CN 113081432A
Authority
CN
China
Prior art keywords
connecting piece
hunchback
trachea
vertical fixing
rod
Prior art date
Legal status (The legal status is an assumption and is not a legal conclusion. Google has not performed a legal analysis and makes no representation as to the accuracy of the status listed.)
Pending
Application number
CN202110463514.0A
Other languages
Chinese (zh)
Inventor
艾斯卡尔江·麦木提明
Current Assignee (The listed assignees may be inaccurate. Google has not performed a legal analysis and makes no representation or warranty as to the accuracy of the list.)
Individual
Original Assignee
Individual
Priority date (The priority date is an assumption and is not a legal conclusion. Google has not performed a legal analysis and makes no representation as to the accuracy of the date listed.)
Filing date
Publication date
Application filed by Individual filed Critical Individual
Priority to CN202110463514.0A priority Critical patent/CN113081432A/en
Publication of CN113081432A publication Critical patent/CN113081432A/en
Pending legal-status Critical Current

Links

Images

Classifications

    • AHUMAN NECESSITIES
    • A61MEDICAL OR VETERINARY SCIENCE; HYGIENE
    • A61FFILTERS IMPLANTABLE INTO BLOOD VESSELS; PROSTHESES; DEVICES PROVIDING PATENCY TO, OR PREVENTING COLLAPSING OF, TUBULAR STRUCTURES OF THE BODY, e.g. STENTS; ORTHOPAEDIC, NURSING OR CONTRACEPTIVE DEVICES; FOMENTATION; TREATMENT OR PROTECTION OF EYES OR EARS; BANDAGES, DRESSINGS OR ABSORBENT PADS; FIRST-AID KITS
    • A61F5/00Orthopaedic methods or devices for non-surgical treatment of bones or joints; Nursing devices ; Anti-rape devices
    • A61F5/01Orthopaedic devices, e.g. long-term immobilising or pressure directing devices for treating broken or deformed bones such as splints, casts or braces
    • A61F5/02Orthopaedic corsets
    • A61F5/026Back straightening devices with shoulder braces to force back the shoulder to obtain a correct curvature of the spine
    • AHUMAN NECESSITIES
    • A61MEDICAL OR VETERINARY SCIENCE; HYGIENE
    • A61FFILTERS IMPLANTABLE INTO BLOOD VESSELS; PROSTHESES; DEVICES PROVIDING PATENCY TO, OR PREVENTING COLLAPSING OF, TUBULAR STRUCTURES OF THE BODY, e.g. STENTS; ORTHOPAEDIC, NURSING OR CONTRACEPTIVE DEVICES; FOMENTATION; TREATMENT OR PROTECTION OF EYES OR EARS; BANDAGES, DRESSINGS OR ABSORBENT PADS; FIRST-AID KITS
    • A61F5/00Orthopaedic methods or devices for non-surgical treatment of bones or joints; Nursing devices ; Anti-rape devices
    • A61F5/01Orthopaedic devices, e.g. long-term immobilising or pressure directing devices for treating broken or deformed bones such as splints, casts or braces
    • A61F5/02Orthopaedic corsets
    • A61F5/028Braces for providing support to the lower back, e.g. lumbo sacral supports

Landscapes

  • Health & Medical Sciences (AREA)
  • Nursing (AREA)
  • Orthopedic Medicine & Surgery (AREA)
  • Engineering & Computer Science (AREA)
  • Biomedical Technology (AREA)
  • Heart & Thoracic Surgery (AREA)
  • Vascular Medicine (AREA)
  • Life Sciences & Earth Sciences (AREA)
  • Animal Behavior & Ethology (AREA)
  • General Health & Medical Sciences (AREA)
  • Public Health (AREA)
  • Veterinary Medicine (AREA)
  • Orthopedics, Nursing, And Contraception (AREA)

Abstract

本申请提供一种驼背矫正器,包括胸架,安装在所述胸架上的可调背带,安装在所述胸架下方两侧的伸缩杆,以及安装在两个所述伸缩杆底部之间的腰部固定带;可调背带上安装有拉紧器;伸缩杆与胸架间安装有角度调节器。本申请提供的一种驼背矫正器,便于穿戴,可减少运动过程与肢体产生干涉。

Figure 202110463514

The present application provides a hunchback corrector, comprising a chest frame, an adjustable strap installed on the chest frame, telescopic rods installed on both sides of the lower part of the chest frame, and installed between the bottoms of the two telescopic rods The waist fixing belt is installed on the adjustable strap; a tensioner is installed on the adjustable strap; an angle adjuster is installed between the telescopic rod and the chest frame. The hunchback corrector provided by the present application is easy to wear and can reduce interference with limbs during exercise.

Figure 202110463514

Description

Humpback corrector
Technical Field
The utility model discloses the technical field of general medical care equipment, in particular to a humpback corrector.
Background
At present, people are particularly easy to cause health hazards such as cervical spondylosis, scapulohumeral periarthritis, humpback and the like when people face computers and work at desk for a long time due to poor sitting posture and standing posture, so that the people need to be prevented in advance.
The humpback corrector can be directed against and carry out the posture correction in all kinds of crowds, however at the in-process that uses, it has inconvenient wearing, and the wearing back travelling comfort is relatively poor, and the corrector easily produces with the human body and interferes, has influenced user's experience.
Disclosure of Invention
In view of the above-mentioned defects or shortcomings in the prior art, it is desirable to provide a kyphosis corrector which is convenient to wear, reduces interference between the exercise process and limbs, and has good experience.
The application provides a humpback corrector, which comprises a chest frame, adjustable straps arranged on the chest frame, telescopic rods arranged on two sides below the chest frame, and a waist fixing belt arranged between the bottoms of the two telescopic rods;
a tensioner is arranged on the adjustable back strap;
an angle adjuster is arranged between the telescopic rod and the chest frame.
According to the technical scheme provided by the embodiment of the application, the angle adjuster comprises a first connecting piece, a second connecting piece, a first screw rod, a nut and a spring;
the first connecting piece and the second connecting piece are both of a circular structure and are arranged along the vertical direction, a plurality of convex blocks are arranged on one side of the first connecting piece, which is close to the second connecting piece, along the radial direction, and a plurality of grooves are arranged on the second connecting piece, which correspond to the convex blocks;
the first connecting piece is provided with a first mounting hole, the second connecting piece is provided with a second mounting hole, and the first screw penetrates through the first mounting hole and the second mounting hole to be in threaded connection with the nut; the spring is arranged on the first screw and positioned between the nut and the second connecting piece;
the top of the first connecting piece is provided with a first connecting rod which is fixedly connected with the vertical fixing rod, and the bottom of the second connecting piece is provided with a second connecting rod which is hinged with the top of the telescopic rod.
According to the technical scheme that this application embodiment provided, the telescopic link is kept away from the pothook is installed to second connection piece one end, waist fixed band both sides are installed and are adjusted the knot, adjust buckle be equipped with be used for with pothook joint complex draw-in groove.
According to the technical scheme provided by the embodiment of the application, the vertical fixing rod is provided with threads, the vertical fixing rod is provided with the lifting adjusting assembly, and the lifting adjusting assembly is movably connected with the adjustable straps.
According to the technical scheme provided by the embodiment of the application, an adjustable neck strap is installed between the two vertical fixing rods.
According to the technical scheme that this application embodiment provided, install the gasbag on the horizontal beam, the gasbag intercommunication has the trachea, the trachea is kept away from the one end of gasbag is equipped with the emulsion ball.
According to the technical scheme provided by the embodiment of the application, the horizontal beam and the vertical fixing rods are hollow and communicated with each other, the side walls of the two vertical fixing rods are provided with first through holes, and one side of the horizontal beam, which is close to the air bag, is provided with a second through hole;
the air pipe comprises a first air pipe and a second air pipe; one ends of the first air pipe and the second air pipe are respectively inserted into the horizontal cross beam through the two first through holes and are communicated with the air bag through the second through holes; the latex ball is installed at the other end of each of the first air pipe and the second air pipe.
According to the technical scheme provided by the embodiment of the application, one side, far away from the air bag, of the horizontal cross beam is provided with a plurality of visual through holes.
According to the technical scheme provided by the embodiment of the application, the flexible sleeve is sleeved outside the telescopic rod.
The beneficial effect of this application lies in: in the use process, the length of the adjustable back belt is adjusted through the tensioner, so that the chest frame is placed at the chest position of a user, and the waist fixing belt is tied at the waist position; because chest frame below is equipped with the telescopic link, simultaneously the telescopic link with still install angle regulator between the chest frame, make adjustably the chest frame with the deflection angle and the length of telescopic link have reduced the interference between device and human body, and it is comparatively comfortable to dress.
Drawings
Other features, objects and advantages of the present application will become more apparent upon reading of the following detailed description of non-limiting embodiments thereof, made with reference to the accompanying drawings in which:
fig. 1 is a schematic structural diagram of a kyphosis corrector provided in the present application;
FIG. 2 is a schematic view of the mounting structure of the adjustable back strap 2 shown in FIG. 1;
fig. 3 is a front view of the angle adjuster 6 shown in fig. 1;
FIG. 4 is a schematic view of the adjustable neck strap 9 mounted between the vertical fixing rods 8 shown in FIG. 2;
fig. 5 is a schematic structural view of the air tube 20 shown in fig. 1 installed in the vertical fixing rod 8.
Reference numbers in the figures:
1. a chest frame; 2. adjustable braces; 3. a telescopic rod; 4. waist fixing belts; 5. a tensioner; 6. an angle adjuster; 7. a horizontal cross beam; 8. a vertical fixing rod; 9. an adjustable neck strap; 10. a first connecting piece; 11. a second connecting sheet; 12. a first screw; 13. a spring; 14. a nut; 15. a first connecting member; 16. a second connecting member; 17. a hook; 18. adjusting buckles; 19. an air bag; 20. an air tube; 21. latex balls; 22. a first through hole; 23. a second through hole; 24. a first air pipe; 25. a second air pipe; 26. a visible through hole; 27. a first threaded portion; 28. a second threaded portion; 29. a snap ring; 30. a first fastening nut; 31. connecting sheets; 32. a second fastening nut; 33. mounting holes; 34. buckling; 35. a snap ring; 36. and (4) a hinge.
Detailed Description
The present application will be described in further detail with reference to the following drawings and examples. It is to be understood that the specific embodiments described herein are merely illustrative of the relevant invention and not restrictive of the invention. It should be noted that, for convenience of description, only the portions related to the present invention are shown in the drawings.
It should be noted that the embodiments and features of the embodiments in the present application may be combined with each other without conflict. The present application will be described in detail below with reference to the embodiments with reference to the attached drawings.
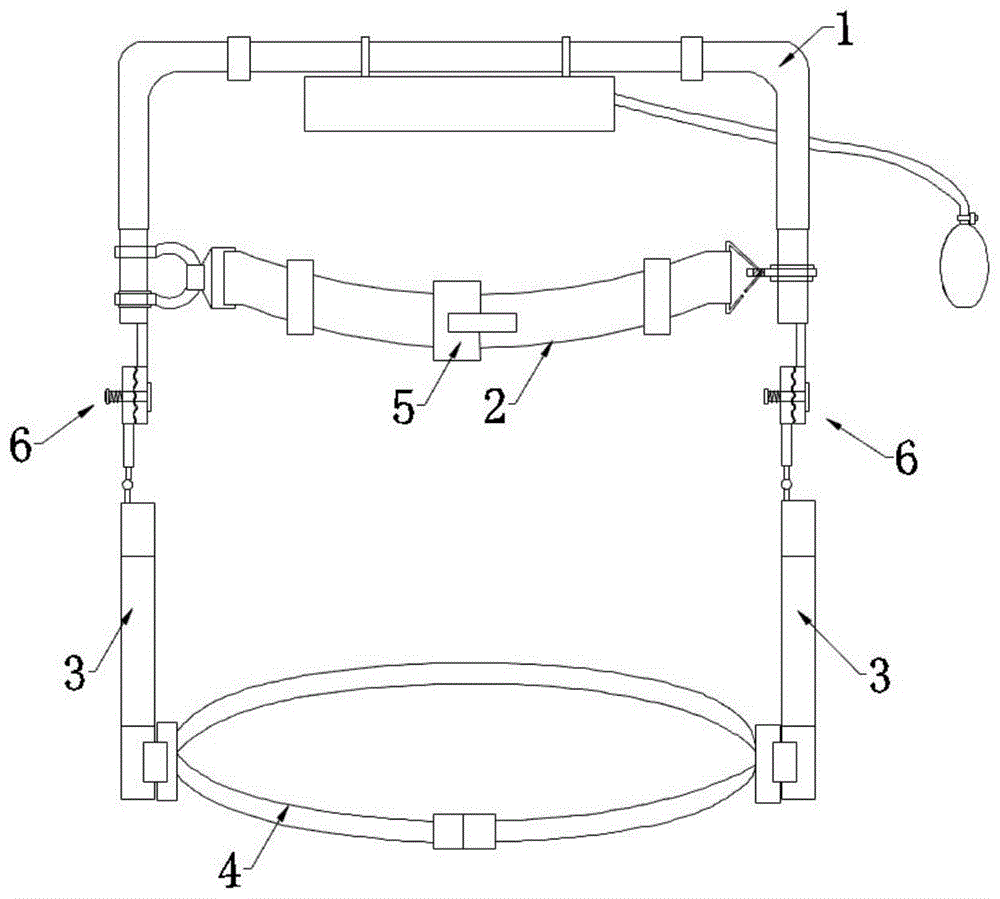
Please refer to fig. 1, which illustrates a kyphosis corrector provided by the present application, comprising a chest frame 1, adjustable straps 2 installed on the chest frame 1, telescopic rods 3 installed at two sides below the chest frame 1, and a waist fixing strap 4 installed between the bottoms of the two telescopic rods 3;
a tensioner 5 is arranged on the adjustable back strap 2;
an angle adjuster 6 is arranged between the telescopic rod 3 and the chest frame 1.
The working principle is as follows: in the using process, the length of the adjustable back belt 2 is adjusted through the tensioner 5, so that the chest frame 1 is placed at the chest position of a user, and meanwhile, the waist fixing belt 4 is tied at the waist position, and the tensioner 5 is arranged on the adjustable back belt 2, so that the adjustable back belt 2 can be conveniently tensioned and is convenient to wear; simultaneously because chest frame 1 below is equipped with telescopic link 3, telescopic link 3 with still install angle modulation ware 6 between chest frame 1, make adjustably chest frame 1 with the deflection angle and the length of telescopic link 3 have reduced the interference between device and human body, and is comparatively comfortable after the dress.
In the preferred embodiment of the breast frame 1, the breast frame 1 comprises a horizontal beam 7 and vertical fixing rods 8 located at two sides below the horizontal beam 7.
Specifically, the chest frame 1 is of a U-shaped structure with a downward opening, and the horizontal cross beam 7 and the vertical fixing rod 8 are of an integrated structure.
In a preferred embodiment of the angle adjuster 6, as shown in fig. 3, the angle adjuster 6 includes a first connecting piece 10, a second connecting piece 11, a first screw 12, a nut 14, and a spring 13;
the first connecting piece 10 and the second connecting piece 11 are both of a circular structure and are arranged along the vertical direction, a plurality of convex blocks 12 are arranged on one side of the first connecting piece 10 close to the second connecting piece 11 along the radial direction, and a plurality of grooves 13 are arranged on the second connecting piece 11 corresponding to the convex blocks 12;
a first mounting hole is formed in the first connecting piece 10, a second mounting hole is formed in the second connecting piece 11, and the first screw 12 penetrates through the first mounting hole and the second mounting hole to be in threaded connection with the nut 14; the spring 13 is mounted on the first screw 12 and is located between the nut 14 and the second connecting piece 11;
the top of the first connecting piece 10 is provided with a first connecting rod 15 fixedly connected with the vertical fixing rod 8, and the bottom of the second connecting piece 11 is provided with a second connecting rod 16 hinged with the top of the telescopic rod 3.
Specifically, the second connecting rod 16 is hinged to the telescopic rod 3 through a hinge 36, and a rotating shaft of the hinge 36 is parallel to the first connecting plate 10, so that the telescopic rod 3 can rotate forwards or backwards.
Specifically, through the above structure, the chest frame 1 and the telescopic rod 3 can be adjusted to the adaptive position: that is, in the process of adjusting the first connecting rod 15 and the second connecting rod 16 to the adaptive angle, the first connecting piece 10 and the second connecting piece 11 can be driven to rotate relatively, because the first connecting piece 10 is provided with a plurality of projections 12 along the radial direction, and the second connecting piece 11 is correspondingly provided with a plurality of grooves 13 along the radial direction for accommodating the projections 12, when the first connecting piece 10 rotates relative to the second connecting piece 11, the projections 12 press the side walls of the corresponding grooves 13, the springs 13 are compressed under the action of force, when the projections 12 enter the other grooves 13, the springs 13 recover to the initial state under the action of the elastic force, and after the adjustment is completed, the nuts 14 can be screwed and fixed. Through the structure, the angle adjustment of the chest frame 1 and the telescopic rod 3 can be carried out according to the actual requirements of different crowds.
Meanwhile, because the second connecting rod 16 with the telescopic rod 3 is hinged, in the movement process, the chest frame 1 and the left and right deflection angles of the telescopic rod 3 can be automatically adjusted, so that the interference between the device and a human body is reduced, and the comfort of the user in movement after wearing is guaranteed.
In an embodiment of the telescopic rod 3, the telescopic rod 3 is far away from one end of the second connecting piece 11, a hook 17 is installed on one end of the second connecting piece, adjusting buckles 18 are installed on two sides of the waist fixing band 4, and a clamping groove used for being clamped and matched with the hook 17 is formed in each adjusting buckle 18.
Specifically, the adjusting buckle 18 is used for adjusting the length of the belt 4 to be fixed, and the waist fixing belt 4 is conveniently connected with the telescopic rod 3 by arranging a groove on the adjusting buckle 18.
Preferably, the hook 17 is provided with a mounting belt, and the mounting belt is fixedly mounted at one end of the telescopic rod 3 far away from the second connecting sheet 11 through a fastener.
In an embodiment of the vertical fixing rod 8, the vertical fixing rod 8 is provided with threads, and the vertical fixing rod 8 is provided with a lifting adjusting assembly movably connected with the adjustable back belt 2.
Specifically, a first threaded part 27 is arranged on the vertical fixing rod 8 at one side below the horizontal cross beam 7, and a second threaded part 28 is arranged on the vertical fixing rod 8 at the other side below the horizontal cross beam 7; the lifting adjusting assembly comprises a clamping ring 29 arranged on the first thread part 27, first fastening nuts 30 positioned on two sides of the clamping ring 29, a connecting piece 31 arranged on the second thread part 28 and second fastening nuts 32 positioned on two sides of the connecting piece 31;
as shown in fig. 2, a first insertion hole for inserting into the first threaded portion 27 is formed at an end portion of the snap ring 29, the first fastening nut 30 is screwed with the first threaded portion 27, and the two first fastening nuts 30 are respectively disposed at two sides of the first insertion hole;
the snap ring 29 is of a U-shaped structure, two ends of the snap ring 29 are inserted into the first thread portions 27, and after the snap ring is adjusted to be suitable for the lifting position, the snap ring 29 is fastened and fixed through two first fastening nuts 30 located on two sides of the snap ring.
As shown in fig. 2, the connecting piece 31 is provided with a mounting hole 33 and a second insertion hole for inserting into the second threaded portion 28, the second fastening nut 32 is in threaded connection with the second threaded portion 28, and the two second fastening nuts 32 are respectively disposed on two sides of the second insertion hole.
One end of the adjustable back strap 2 is provided with a buckle 34 which is used for being matched with the snap ring 29 in a clamping way; the other end of the adjustable back strap 2 is provided with a clamping ring 35 which is inserted into the mounting hole 33. Preferably, the snap ring 35 is a triangular structure, and a notch for inserting into the mounting hole 33 is formed in the snap ring 35.
Through the structure, the adjustable connecting piece 31 and the lifting position of the snap ring 29 are enabled to be adjusted, so that the adjustable back belt 2 can be suitable for different people, the applicability is increased, and meanwhile, the wearing comfort level is also improved.
Wherein, in the preferred embodiment of the vertical fixing rods 8, an adjustable neck strap 9 is installed between the two vertical fixing rods 8.
Preferably, as shown in fig. 5, one end of the adjustable neck strap 9 is movably connected with the snap ring 29, and the other end of the adjustable neck strap 9 is movably connected with the mounting hole 33.
Specifically, the adjustable neck strap 9 is provided with an adjusting buckle so as to adjust the length. Through setting up adjustable napestrap 9 for can share the support atress of waist and back, make more comfortable after the dress.
In a preferred embodiment of the horizontal beam 7, an air bag 19 is installed on the horizontal beam 7, the air bag 19 is communicated with an air tube 20, and an end of the air tube 20 away from the air bag 19 is provided with a latex ball 21.
Specifically, the horizontal cross beam 7 is provided with an installation frame which is a rectangular iron sheet; the mounting frame is provided with a chest frame cushion, and the air bag 19 is arranged on the chest frame cushion. The air bag 19 and the chest frame pad can be fixed into a whole by sewing and the like.
Preferably, the horizontal cross beam 7 and the vertical fixing rod 8 are sleeved with rubber sleeves; the air pipe 20 is installed between the rubber sleeve and the chest frame 1.
Specifically, when the chest frame 1 is used, the chest position of a user is adjusted, the latex ball 21 inflates the air bag 19, and one side, away from the horizontal cross beam 7, of the air bag 19 is in contact with the chest of the human body; the air bag 19 can provide correction supporting force for the chest position of a user, improves comfort, and has better wearing experience.
In a preferred embodiment of the horizontal beam 7, as shown in fig. 5, the horizontal beam 7 and the vertical fixing rods 8 are hollow and communicated with each other, the side walls of the two vertical fixing rods 8 are both provided with a first through hole 22, and one side of the horizontal beam 7 close to the airbag 19 is provided with a second through hole 23;
the air pipe 20 comprises a first air pipe 24 and a second air pipe 25; one ends of the first air pipe 24 and the second air pipe 25 are respectively inserted into the horizontal cross beam 7 through the two first through holes 22, and are communicated with the air bag 19 through the second through hole 23; the latex ball 21 is mounted at the other end of each of the first air pipe 24 and the second air pipe 25.
Specifically, by arranging the first air pipe 24 and the second air pipe 25 with the latex ball 21, a user can conveniently inflate the air bag 19 in the using process, the inflation efficiency is improved, and the inflation process is more convenient. Meanwhile, the horizontal cross beam 7 and the vertical fixing rods 8 are hollow, so that the first air pipe 24 and the second air pipe 25 can respectively penetrate through the two vertical fixing rods 8 to enter the horizontal cross beam 7 and are communicated with the air bag 19 through the second through holes 23 on the horizontal cross beam. In the above structure, on one hand, the horizontal cross beam 7 and the vertical fixing rod 8 can protect the first air pipe 24 and the second air pipe 25; on the other hand, the horizontal cross beam 7 and the vertical fixing rod 8 also provide limiting supports for the first air pipe 24 and the second air pipe 25, so that the first air pipe 24, the second air pipe 25 and the air bag 19 are prevented from interfering with a human body in the wearing and moving process of a user; meanwhile, with the structure, the communication structure on the air bag for communicating with the first air pipe 24 and the second air pipe 25 can be inserted into the second through hole 23, so that the structure is more compact.
In a preferred embodiment of the horizontal beam 7, a plurality of visible through holes 26 are formed on the side of the horizontal beam 7 away from the airbag 19. By arranging a plurality of the visual through holes, the first air pipe 24 and the second air pipe 25 can be conveniently and fixedly communicated with the air bag 19.
In a preferred embodiment of the telescopic rod 3, a flexible sleeve is sleeved outside the telescopic rod 3. Through setting up the flexible cover makes and avoids the flexible in-process of telescopic link 3 presss from both sides wounded skin, has all played the guard action to user and telescopic link 3 itself.
The above description is only a preferred embodiment of the application and is illustrative of the principles of the technology employed. It will be appreciated by a person skilled in the art that the scope of the invention as referred to in the present application is not limited to the embodiments with a specific combination of the above-mentioned features, but also covers other embodiments with any combination of the above-mentioned features or their equivalents without departing from the inventive concept. For example, the above features may be replaced with (but not limited to) features having similar functions disclosed in the present application.

Claims (9)

1.一种驼背矫正器,其特征在于:包括胸架(1),安装在所述胸架(1)上的可调背带(2),安装在所述胸架(1)下方两侧的伸缩杆(3),以及安装在两个所述伸缩杆(3)底部之间的腰部固定带(4);1. A hunchback corrector is characterized in that: comprise a chest frame (1), an adjustable strap (2) installed on the chest frame (1), and a pair of straps installed on both sides below the chest frame (1). a telescopic rod (3), and a waist fixing belt (4) installed between the bottoms of the two telescopic rods (3); 所述可调背带(2)上安装有拉紧器(5);A tensioner (5) is installed on the adjustable strap (2); 所述伸缩杆(3)与所述胸架(1)间安装有角度调节器(6)。An angle adjuster (6) is installed between the telescopic rod (3) and the chest frame (1). 2.根据权利要求1所述的一种驼背矫正器,其特征在于:所述胸架(1)包括水平横梁(7)以及位于所述水平横梁(7)下方两侧的竖直固定杆(8)。2. A hunchback corrector according to claim 1, characterized in that: the chest frame (1) comprises a horizontal beam (7) and vertical fixing rods ( 8). 3.根据权利要求2所述的一种驼背矫正器,其特征在于:所述角度调节器(6)包括第一连接片(10)、第二连接片(11)、第一螺杆(12)、螺母(14)以及弹簧(13);3. The hunchback corrector according to claim 2, wherein the angle adjuster (6) comprises a first connecting piece (10), a second connecting piece (11), and a first screw (12) , nut (14) and spring (13); 所述第一连接片(10)、第二连接片(11)均为圆形结构且沿竖直方向设置,所述第一连接片(10)靠近所述第二连接片(11)一侧沿径向方向设有多个凸块(12),所述第二连接片(11)对应所述凸块(12)设有多个凹槽(13);The first connecting piece (10) and the second connecting piece (11) are both circular in structure and arranged in a vertical direction, and the first connecting piece (10) is close to the side of the second connecting piece (11). A plurality of protrusions (12) are provided along the radial direction, and the second connecting piece (11) is provided with a plurality of grooves (13) corresponding to the protrusions (12); 所述第一连接片(10)上开设有第一安装孔,所述第二连接片(11)上开设有第二安装孔,所述第一螺杆(12)穿过所述第一安装孔以及第二安装孔与所述螺母(14)螺纹连接;所述弹簧(13)安装在所述第一螺杆(12)上且位于所述螺母(14)与所述第二连接片(11)之间;The first connecting piece (10) is provided with a first mounting hole, the second connecting piece (11) is provided with a second mounting hole, and the first screw (12) passes through the first mounting hole and the second mounting hole is threadedly connected with the nut (14); the spring (13) is mounted on the first screw (12) and located between the nut (14) and the second connecting piece (11) between; 所述第一连接片(10)顶部安装有用于与所述竖直固定杆(8)固定连接的第一连接杆(15),所述第二连接片(11)底部安装有用于与所述伸缩杆(3)顶部铰接的第二连接杆(16)。A first connecting rod (15) for fixedly connecting with the vertical fixing rod (8) is installed on the top of the first connecting piece (10), and a bottom connecting piece (11) is installed on the bottom for connecting with the vertical fixing rod (8). A second connecting rod (16) hinged at the top of the telescopic rod (3). 4.根据权利要求3所述的一种驼背矫正器,其特征在于:所述伸缩杆(3)远离所述第二连接片(11)一端安装有卡钩(17),所述腰部固定带(4)两侧安装有调节扣(18),所述调节扣(18)上设有用于与所述卡钩(17)卡接配合的卡槽。The hunchback corrector according to claim 3, characterized in that: a hook (17) is installed at one end of the telescopic rod (3) away from the second connecting piece (11), and the waist fixing belt is provided with a hook (17). (4) Adjustment buckles (18) are installed on both sides, and the adjustment buckles (18) are provided with card slots for engaging and engaging with the hooks (17). 5.根据权利要求2所述的一种驼背矫正器,其特征在于:所述竖直固定杆(8)上设有螺纹,所述竖直固定杆(8)上安装有升降调节组件,所述升降调节组件与所述可调背带(2)活动连接。5. A hunchback corrector according to claim 2, characterized in that: the vertical fixing rod (8) is provided with a thread, and the vertical fixing rod (8) is provided with a lifting adjustment assembly, so The lift adjustment assembly is movably connected with the adjustable strap (2). 6.根据权利要求2所述的一种驼背矫正器,其特征在于:两个所述竖直固定杆(8)间安装有可调颈带(9)。6 . The hunchback corrector according to claim 2 , wherein an adjustable neck strap ( 9 ) is installed between the two vertical fixing rods ( 8 ). 7 . 7.根据权利要求2所述的一种驼背矫正器,其特征在于:所述水平横梁(7)上安装有气囊(19),所述气囊(19)连通有气管(20),所述气管(20)远离所述气囊(19)的一端设有乳胶球(21)。7. A hunchback corrector according to claim 2, characterized in that: an air bag (19) is installed on the horizontal beam (7), the air bag (19) is connected with a trachea (20), and the trachea (20) is connected to the air bag (19). (20) A latex ball (21) is provided at one end away from the airbag (19). 8.根据权利要求7所述的一种驼背矫正器,其特征在于:所述水平横梁(7)与所述竖直固定杆(8)内部中空且互相连通,两个所述竖直固定杆(8)侧壁上均开设有第一通孔(22),所述水平横梁(7)靠近所述气囊(19)一侧开设有第二通孔(23);8 . The hunchback corrector according to claim 7 , wherein the horizontal beam ( 7 ) and the vertical fixing rod ( 8 ) are hollow inside and communicate with each other, and the two vertical fixing rods (8) First through holes (22) are opened on the side walls, and second through holes (23) are opened on the side of the horizontal beam (7) close to the airbag (19); 所述气管(20)包括第一气管(24)、第二气管(25);所述第一气管(24)、第二气管(25)的一端分别通过两个所述第一通孔(22)插入至所述水平横梁(7)内,并通过所述第二通孔(23)与所述气囊(19)连通;所述第一气管(24)、第二气管(25)的另一端均安装有所述乳胶球(21)。The trachea (20) includes a first trachea (24) and a second trachea (25); one end of the first trachea (24) and the second trachea (25) respectively pass through the two first through holes (22) ) is inserted into the horizontal beam (7), and communicated with the air bag (19) through the second through hole (23); the other ends of the first trachea (24) and the second trachea (25) Both are installed with the latex balls (21). 9.根据权利要求8所述的一种驼背矫正器,其特征在于:所述水平横梁(7)远离所述气囊(19)一侧开设有多个可视通孔(26)。9 . The hunchback corrector according to claim 8 , wherein a plurality of visible through holes ( 26 ) are formed on the side of the horizontal beam ( 7 ) away from the air bag ( 19 ). 10 .
CN202110463514.0A 2021-04-26 2021-04-26 Humpback corrector Pending CN113081432A (en)

Priority Applications (1)

Application Number Priority Date Filing Date Title
CN202110463514.0A CN113081432A (en) 2021-04-26 2021-04-26 Humpback corrector

Applications Claiming Priority (1)

Application Number Priority Date Filing Date Title
CN202110463514.0A CN113081432A (en) 2021-04-26 2021-04-26 Humpback corrector

Publications (1)

Publication Number Publication Date
CN113081432A true CN113081432A (en) 2021-07-09

Family

ID=76680364

Family Applications (1)

Application Number Title Priority Date Filing Date
CN202110463514.0A Pending CN113081432A (en) 2021-04-26 2021-04-26 Humpback corrector

Country Status (1)

Country Link
CN (1) CN113081432A (en)

Cited By (1)

* Cited by examiner, † Cited by third party
Publication number Priority date Publication date Assignee Title
US20250107901A1 (en) * 2023-09-29 2025-04-03 Jafar Vossoughi Method and apparatus to maintain distance between bones of a back for pain relief

Citations (8)

* Cited by examiner, † Cited by third party
Publication number Priority date Publication date Assignee Title
TWM277857U (en) * 2005-05-11 2005-10-11 Harvest Excel Internat Pte Ltd Screen support frame
CN207429236U (en) * 2017-03-07 2018-06-01 艾斯卡尔江·麦木提明 Humpback corrector
CN207634943U (en) * 2017-11-06 2018-07-20 盐城工业职业技术学院 A kind of municipal administration computer height of display adjusting device
CN208011422U (en) * 2018-02-07 2018-10-26 中山市优晶照明有限公司 A LED flood light with convenient angle adjustment
CN111195005A (en) * 2018-11-18 2020-05-26 王玲 Backpack type correcting device
CN211300542U (en) * 2019-08-05 2020-08-21 艾斯卡尔江·麦木提明 Humpback corrector
CN212066041U (en) * 2020-04-24 2020-12-04 冯秋娟 Textbook support frame is used in teaching
CN212107656U (en) * 2020-05-12 2020-12-08 浙江中宏检测技术有限公司 Measuring apparatu fixed knot constructs for house design

Patent Citations (8)

* Cited by examiner, † Cited by third party
Publication number Priority date Publication date Assignee Title
TWM277857U (en) * 2005-05-11 2005-10-11 Harvest Excel Internat Pte Ltd Screen support frame
CN207429236U (en) * 2017-03-07 2018-06-01 艾斯卡尔江·麦木提明 Humpback corrector
CN207634943U (en) * 2017-11-06 2018-07-20 盐城工业职业技术学院 A kind of municipal administration computer height of display adjusting device
CN208011422U (en) * 2018-02-07 2018-10-26 中山市优晶照明有限公司 A LED flood light with convenient angle adjustment
CN111195005A (en) * 2018-11-18 2020-05-26 王玲 Backpack type correcting device
CN211300542U (en) * 2019-08-05 2020-08-21 艾斯卡尔江·麦木提明 Humpback corrector
CN212066041U (en) * 2020-04-24 2020-12-04 冯秋娟 Textbook support frame is used in teaching
CN212107656U (en) * 2020-05-12 2020-12-08 浙江中宏检测技术有限公司 Measuring apparatu fixed knot constructs for house design

Cited By (1)

* Cited by examiner, † Cited by third party
Publication number Priority date Publication date Assignee Title
US20250107901A1 (en) * 2023-09-29 2025-04-03 Jafar Vossoughi Method and apparatus to maintain distance between bones of a back for pain relief

Similar Documents

Publication Publication Date Title
US7140691B2 (en) Chair with torso support system
US5158510A (en) Exercise belt and tether
CN106535705B (en) carrying strap
US5509869A (en) Isotonic cervical exercise device
JP6678109B2 (en) Wearable support structure
EP3545917B1 (en) Device for assisting human body bending/stretching using elastic body
CN104144660B (en) KAFO and be used for wearing orthotic method
US9987159B2 (en) Back supporter
JPH07111001B2 (en) Upper body clothes
CN106109067B (en) Lumbar supporting device
US4583533A (en) Orthopedic lumbar apparatus
JP2023169116A (en) Spine relaxation medical equipment
CN113081432A (en) Humpback corrector
US10213331B1 (en) Posture enhancement device
US20070156074A1 (en) Dynamic, adjustable orthopedic device
JP2596048Y2 (en) Posture correction band
CN208710440U (en) Composite pressure relief structure
CN213852961U (en) Trunk support structure for gait rehabilitation machine and trunk support device having the same
CN208770104U (en) The adjustable massage supporting waist support band of three-stage
CN221106160U (en) Light suspension device for fixing upper part of sitting lumbar vertebra
JP2022182257A (en) Work support suit and traction device used therefor
CN222367849U (en) Lumbar vertebra traction belt upward movement prevention mechanism and vertical lumbar vertebra traction belt
CN206434452U (en) Rectify appearance elastic force gymnastics band in adjustable back
CN219782871U (en) Restraint structure of cervical vertebra tractor
CN220197700U (en) A kind of flexible exoskeleton auxiliary clothing

Legal Events

Date Code Title Description
PB01 Publication
PB01 Publication
SE01 Entry into force of request for substantive examination
SE01 Entry into force of request for substantive examination
RJ01 Rejection of invention patent application after publication

Application publication date: 20210709

RJ01 Rejection of invention patent application after publication