CN112484487A - Melting system and method of molten pool furnace - Google Patents

Melting system and method of molten pool furnace Download PDF

Info

Publication number
CN112484487A
CN112484487A CN202011119166.7A CN202011119166A CN112484487A CN 112484487 A CN112484487 A CN 112484487A CN 202011119166 A CN202011119166 A CN 202011119166A CN 112484487 A CN112484487 A CN 112484487A
Authority
CN
China
Prior art keywords
dust
furnace
pipe
smoke
heat exchange
Prior art date
Legal status (The legal status is an assumption and is not a legal conclusion. Google has not performed a legal analysis and makes no representation as to the accuracy of the status listed.)
Granted
Application number
CN202011119166.7A
Other languages
Chinese (zh)
Other versions
CN112484487B (en
Inventor
费洪福
Current Assignee (The listed assignees may be inaccurate. Google has not performed a legal analysis and makes no representation or warranty as to the accuracy of the list.)
Xiajiang Ansheng Nickel Industry Co ltd
Original Assignee
Xiajiang Ansheng Nickel Industry Co ltd
Priority date (The priority date is an assumption and is not a legal conclusion. Google has not performed a legal analysis and makes no representation as to the accuracy of the date listed.)
Filing date
Publication date
Application filed by Xiajiang Ansheng Nickel Industry Co ltd filed Critical Xiajiang Ansheng Nickel Industry Co ltd
Priority to CN202011119166.7A priority Critical patent/CN112484487B/en
Publication of CN112484487A publication Critical patent/CN112484487A/en
Application granted granted Critical
Publication of CN112484487B publication Critical patent/CN112484487B/en
Expired - Fee Related legal-status Critical Current
Anticipated expiration legal-status Critical

Links

Images

Classifications

    • FMECHANICAL ENGINEERING; LIGHTING; HEATING; WEAPONS; BLASTING
    • F27FURNACES; KILNS; OVENS; RETORTS
    • F27BFURNACES, KILNS, OVENS OR RETORTS IN GENERAL; OPEN SINTERING OR LIKE APPARATUS
    • F27B14/00Crucible or pot furnaces
    • BPERFORMING OPERATIONS; TRANSPORTING
    • B01PHYSICAL OR CHEMICAL PROCESSES OR APPARATUS IN GENERAL
    • B01DSEPARATION
    • B01D46/00Filters or filtering processes specially modified for separating dispersed particles from gases or vapours
    • B01D46/02Particle separators, e.g. dust precipitators, having hollow filters made of flexible material
    • BPERFORMING OPERATIONS; TRANSPORTING
    • B01PHYSICAL OR CHEMICAL PROCESSES OR APPARATUS IN GENERAL
    • B01DSEPARATION
    • B01D46/00Filters or filtering processes specially modified for separating dispersed particles from gases or vapours
    • B01D46/02Particle separators, e.g. dust precipitators, having hollow filters made of flexible material
    • B01D46/04Cleaning filters
    • FMECHANICAL ENGINEERING; LIGHTING; HEATING; WEAPONS; BLASTING
    • F27FURNACES; KILNS; OVENS; RETORTS
    • F27BFURNACES, KILNS, OVENS OR RETORTS IN GENERAL; OPEN SINTERING OR LIKE APPARATUS
    • F27B14/00Crucible or pot furnaces
    • F27B14/08Details specially adapted for crucible or pot furnaces
    • FMECHANICAL ENGINEERING; LIGHTING; HEATING; WEAPONS; BLASTING
    • F27FURNACES; KILNS; OVENS; RETORTS
    • F27BFURNACES, KILNS, OVENS OR RETORTS IN GENERAL; OPEN SINTERING OR LIKE APPARATUS
    • F27B14/00Crucible or pot furnaces
    • F27B14/08Details specially adapted for crucible or pot furnaces
    • F27B14/0806Charging or discharging devices
    • FMECHANICAL ENGINEERING; LIGHTING; HEATING; WEAPONS; BLASTING
    • F27FURNACES; KILNS; OVENS; RETORTS
    • F27DDETAILS OR ACCESSORIES OF FURNACES, KILNS, OVENS OR RETORTS, IN SO FAR AS THEY ARE OF KINDS OCCURRING IN MORE THAN ONE KIND OF FURNACE
    • F27D13/00Apparatus for preheating charges; Arrangements for preheating charges
    • FMECHANICAL ENGINEERING; LIGHTING; HEATING; WEAPONS; BLASTING
    • F27FURNACES; KILNS; OVENS; RETORTS
    • F27DDETAILS OR ACCESSORIES OF FURNACES, KILNS, OVENS OR RETORTS, IN SO FAR AS THEY ARE OF KINDS OCCURRING IN MORE THAN ONE KIND OF FURNACE
    • F27D17/00Arrangements for using waste heat; Arrangements for using, or disposing of, waste gases
    • F27D17/10Arrangements for using waste heat
    • FMECHANICAL ENGINEERING; LIGHTING; HEATING; WEAPONS; BLASTING
    • F27FURNACES; KILNS; OVENS; RETORTS
    • F27DDETAILS OR ACCESSORIES OF FURNACES, KILNS, OVENS OR RETORTS, IN SO FAR AS THEY ARE OF KINDS OCCURRING IN MORE THAN ONE KIND OF FURNACE
    • F27D17/00Arrangements for using waste heat; Arrangements for using, or disposing of, waste gases
    • F27D17/20Arrangements for treatment or cleaning of waste gases
    • FMECHANICAL ENGINEERING; LIGHTING; HEATING; WEAPONS; BLASTING
    • F27FURNACES; KILNS; OVENS; RETORTS
    • F27BFURNACES, KILNS, OVENS OR RETORTS IN GENERAL; OPEN SINTERING OR LIKE APPARATUS
    • F27B14/00Crucible or pot furnaces
    • F27B2014/002Smelting process, e.g. sequences to melt a specific material
    • F27B2014/004Process involving a smelting step, e.g. vaporisation
    • FMECHANICAL ENGINEERING; LIGHTING; HEATING; WEAPONS; BLASTING
    • F27FURNACES; KILNS; OVENS; RETORTS
    • F27BFURNACES, KILNS, OVENS OR RETORTS IN GENERAL; OPEN SINTERING OR LIKE APPARATUS
    • F27B14/00Crucible or pot furnaces
    • F27B14/08Details specially adapted for crucible or pot furnaces
    • F27B14/0806Charging or discharging devices
    • F27B2014/0812Continuously charging
    • FMECHANICAL ENGINEERING; LIGHTING; HEATING; WEAPONS; BLASTING
    • F27FURNACES; KILNS; OVENS; RETORTS
    • F27MINDEXING SCHEME RELATING TO ASPECTS OF THE CHARGES OR FURNACES, KILNS, OVENS OR RETORTS
    • F27M2003/00Type of treatment of the charge
    • F27M2003/13Smelting
    • YGENERAL TAGGING OF NEW TECHNOLOGICAL DEVELOPMENTS; GENERAL TAGGING OF CROSS-SECTIONAL TECHNOLOGIES SPANNING OVER SEVERAL SECTIONS OF THE IPC; TECHNICAL SUBJECTS COVERED BY FORMER USPC CROSS-REFERENCE ART COLLECTIONS [XRACs] AND DIGESTS
    • Y02TECHNOLOGIES OR APPLICATIONS FOR MITIGATION OR ADAPTATION AGAINST CLIMATE CHANGE
    • Y02ATECHNOLOGIES FOR ADAPTATION TO CLIMATE CHANGE
    • Y02A50/00TECHNOLOGIES FOR ADAPTATION TO CLIMATE CHANGE in human health protection, e.g. against extreme weather
    • Y02A50/20Air quality improvement or preservation, e.g. vehicle emission control or emission reduction by using catalytic converters
    • Y02A50/2351Atmospheric particulate matter [PM], e.g. carbon smoke microparticles, smog, aerosol particles, dust

Landscapes

  • Engineering & Computer Science (AREA)
  • Mechanical Engineering (AREA)
  • General Engineering & Computer Science (AREA)
  • Environmental & Geological Engineering (AREA)
  • Chemical & Material Sciences (AREA)
  • Chemical Kinetics & Catalysis (AREA)
  • Waste-Gas Treatment And Other Accessory Devices For Furnaces (AREA)
  • Manufacture And Refinement Of Metals (AREA)

Abstract

本发明公开了一种熔池炉熔炼系统及方法,旨在解决现有的熔池炉排放的烟气余热利用率低,烟气中参杂较多的灰尘,对环境造成较大的污染的不足。该发明包括熔池炉、收尘桶、烘干板、收尘房、脱硫池,熔池炉上设有出烟管、送风管、出渣口、金属液出口,出烟管连接到收尘桶,烘干板下方安装换热烟管,换热烟管一端连通到收尘桶,另一端连通到收尘房,收尘房和脱硫池连通,出渣口位置布设收渣池,金属液出口位置布设载液炉,收尘房内安装除尘布袋,换热烟管和除尘布袋之间连通收尘烟管。熔池炉排放的烟气余热利用率高,排放到大气中的烟气不会参杂灰尘,避免灰尘对环境造成污染。

Figure 202011119166

The invention discloses a melting pool furnace smelting system and method, aiming at solving the problems of low utilization rate of waste heat of flue gas discharged from the existing melting pool furnace, more dust mixed in the flue gas, and greater pollution to the environment. insufficient. The invention includes a molten pool furnace, a dust collection barrel, a drying plate, a dust collection room, and a desulfurization pool. The molten pool furnace is provided with a smoke outlet pipe, an air supply pipe, a slag outlet, and a metal liquid outlet, and the smoke outlet pipe is connected to the receiver. Dust bucket, heat exchange flue pipe is installed under the drying plate, one end of the heat exchange flue pipe is connected to the dust collection bucket, and the other end is connected to the dust collection room. The dust collection room is connected to the desulfurization tank. A liquid carrier furnace is arranged at the liquid outlet, and a dust collection bag is installed in the dust collection room. The waste heat utilization rate of the flue gas discharged from the melting pool furnace is high, and the flue gas discharged into the atmosphere will not be mixed with dust, so as to avoid the pollution of dust to the environment.

Figure 202011119166

Description

Melting system and method of molten pool furnace
Technical Field
The invention relates to a smelting technology, in particular to a smelting system and a smelting method of a molten pool furnace.
Background
Smelting, namely a pyrometallurgical process in which metal materials and other auxiliary materials are put into a heating furnace to be melted and tempered, and the materials of furnace materials in the high-temperature furnace are subjected to certain physical and chemical changes to produce crude metal or metal concentrates and furnace slag. Fuel is added into the furnace of the molten pool for combustion, and air or oxygen-enriched air is fed into the furnace. The crude metal or metal concentrate is separated due to its low miscibility with molten slag and density differential into two layers. The flue gas discharged by the smelting furnace is not only doped with more impurities and dust, but also has high temperature, so that the flue gas can be discharged outwards after being treated, but the flue gas temperature of a plurality of existing smelting furnace grates in the atmosphere is high, the doped dust is more, waste of waste heat is caused, and the environment can be polluted.
Disclosure of Invention
The invention overcomes the defects that the utilization rate of the waste heat of the flue gas discharged by the existing molten pool furnace is low, and the flue gas contains more dust, which causes great pollution to the environment, and provides the molten pool furnace smelting system and the method.
In order to solve the technical problems, the invention adopts the following technical scheme: the utility model provides a molten bath furnace system of smelting, including the molten bath furnace, collect the dirt bucket, the drying plate, the room that gathers dust, the desulfurization pond, be equipped with out the tobacco pipe on the molten bath furnace, the blast pipe, the slag notch, the metal liquid export, it connects to receive the dirt bucket to go out the tobacco pipe, heat transfer tobacco pipe is installed to drying plate below, heat transfer tobacco pipe one end communicates to collect the dirt bucket, the other end communicates the room that gathers dust, room and desulfurization pond intercommunication gather dust, the slag notch position is laid and is received the pond, the carrier liquid stove is laid to the metal liquid exit position, installation dust removal sack in the room that gathers dust, the tobacco pipe that gathers dust is communicated between heat transfer tobacco.
The flue gas that produces in the molten bath furnace working process is carried to the dust collecting barrel through a smoke outlet pipe, and heavier granule in the flue gas falls to the dust collecting barrel bottom, and the dust collecting barrel can filter out the heavier granule in the flue gas, and then the flue gas is carried to the heat transfer tobacco pipe, and the high temperature flue gas in the heat transfer tobacco pipe heats the stoving board, stacks smelting raw materials and fuel mixture on the stoving board and dries, and the smelting raw materials and fuel mixture after the stoving constantly add in the smelting furnace. The waste heat in the flue gas is fully utilized. Then the flue gas enters a dust collection cloth bag in the dust collection room to filter dust, and the temperature of the flue gas entering the dust collection cloth bag is not particularly high due to the heat exchange of the flue gas in the heat exchange smoke pipe, so that the damage to the dust collection cloth bag caused by overhigh temperature is avoided. Conveying the flue gas in the dust collection room to a desulfurization tank, desulfurizing and then discharging the flue gas outwards; the discharged flue gas does not pollute the environment and meets the national emission standard. The utilization rate of the waste heat of the flue gas discharged by the smelting furnace is high, and the flue gas discharged to the atmosphere is not mixed with dust, so that the pollution of the dust to the environment is avoided.
Preferably, the heat exchange smoke pipe is embedded underground, and the heat exchange water jacket is sleeved outside the heat exchange smoke pipe. Because the flue gas temperature in the heat exchange tobacco pipe is higher, consequently cool down the heat exchange tobacco pipe through the heat transfer water jacket to reduce the flue gas temperature. And the heat transfer tobacco pipe is pre-buried in the underground, avoids the heat transfer tobacco pipe of high temperature to expose and brings the potential safety hazard outward.
Preferably, the underground heat exchange air box is embedded below the drying plate, the heat exchange smoke tube is installed in the heat exchange air box, the heat exchange air box is connected with the fan, and the air supply pipes are communicated with the heat exchange air box. The fan blows air into the heat exchange air box, the heat exchange smoke tube heats the air, and the hot air is sent into the molten pool furnace through the blast pipe to support combustion, so that the waste heat is further utilized.
Preferably, a transition smoke pipe is communicated between the heat exchange smoke pipe and the dust collection barrel, the smoke outlet pipe and the transition smoke pipe are both connected to the upper end of the dust collection barrel, and the smoke outlet pipe extends downwards into the dust collection barrel. This arrangement facilitates the collection of larger particulate dust in the flue gas.
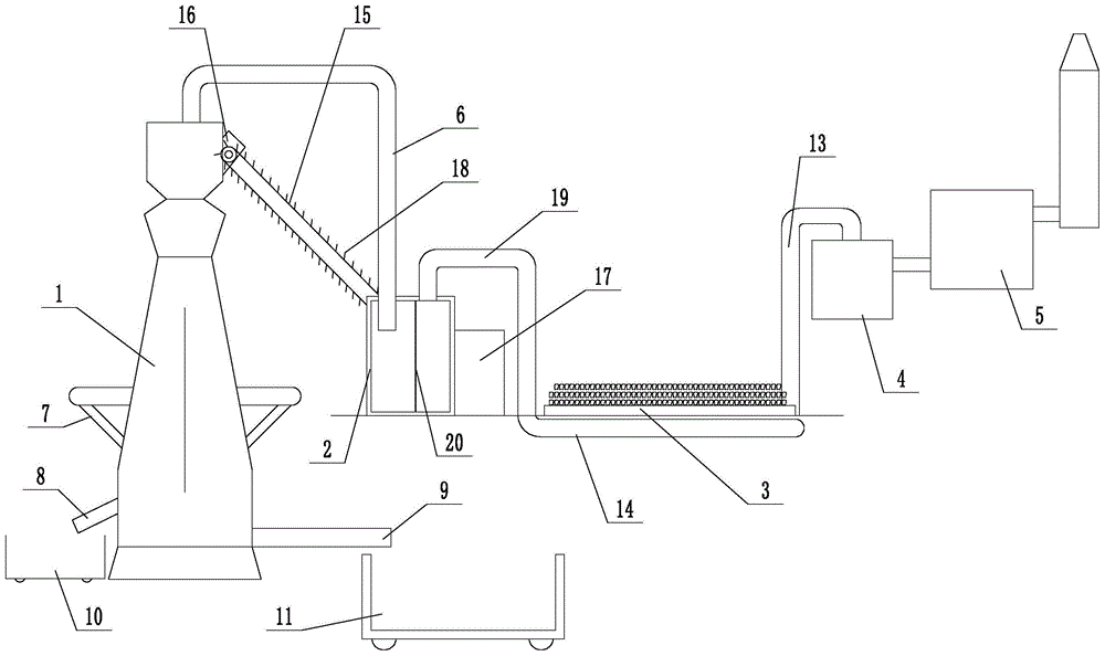
Preferably, the feeding mechanism is arranged outside the molten pool furnace, the feeding mechanism comprises a conveying belt which is obliquely arranged, a feeding hole is formed in the outer wall of the upper portion of the molten pool furnace, the upper end of the conveying belt is arranged at the position of the feeding hole, a loading box is arranged at the lower end of the conveying belt, and a plurality of loading hoppers are arranged on the outer surface of the conveying belt at intervals. The feeding mechanism has the advantages of automatic feeding and convenient operation.
Preferably, an upper partition plate and a lower partition plate are installed in a dust collection room, a smoke inlet cavity is arranged above the upper partition plate in the dust collection room, a dust carrying cavity is arranged below the lower partition plate in the dust collection room, a plurality of smoke inlet holes are uniformly distributed in the upper partition plate, a plurality of lifting seats capable of lifting are arranged in the dust collection room and in one-to-one correspondence with the smoke inlet holes, the lifting seats are arranged between the upper partition plate and the lower partition plate, dust falling holes are formed in the lifting seats, a dust collection cloth bag is connected between the smoke inlet holes and the dust falling holes, dust blocking plates are installed in the dust falling holes, a plurality of dust falling holes are arranged in the lower partition plate and in one-to-one correspondence with the dust falling holes, a flexible and telescopic dust falling bag is connected between the dust falling holes, a rotating shaft is installed on the upper partition plate, a cover plate is connected to the rotating; when the cover plate covers the smoke inlet hole, the lifting seat corresponding to the smoke inlet hole is lifted, the lifting seat is lifted to extrude the dust removal cloth bag, the dust blocking plate is opened in the descending process of the lifting seat, dust falls to the dust carrying cavity from the dust falling hole through the dust falling bag and the dust falling hole, and the dust blocking plate returns to close the dust falling hole after the lifting seat descends to the bottom.
The flue gas in the dust collecting flue pipe enters the flue gas inlet cavity and enters the dust removing cloth bag through the flue gas inlet hole, the dust removing cloth bag removes dust from the flue gas, and the flue gas after dust removal is discharged into a cavity between the upper partition plate and the lower partition plate in the dust collecting room and is discharged to the desulfurization tank. And the dust remains in the dust removal cloth bag. The rotating shaft rotates for an angle at regular intervals, the cover plate moves from the upper end of one smoke inlet hole to the upper end of the other smoke inlet hole and seals the smoke inlet hole, then the cover plate is lifted by the lifting seat corresponding to the smoke inlet hole, the lifting seat is lifted to extrude the dust removal cloth bag, smoke in the dust removal cloth bag is discharged, and dust remained on the inner wall of the dust removal cloth bag drops, the dust blocking plate is opened in the descending process of the lifting seat, the dust falls to the dust carrying cavity from the dust falling hole through the dust falling bag and the dust falling hole, and the dust blocking plate returns to close the dust falling hole after the lifting seat descends to the bottom. Through the structure, dust in the dust removal cloth bag can be automatically cleaned at regular intervals, shutdown cleaning is avoided, and working efficiency is greatly improved. The automatic deashing of dust removal sack does not need artifical periodic cleaning, avoids dust removal sack to appear blocking phenomenon, is favorable to reducing intensity of labour, improves work efficiency.
Preferably, a transversely arranged sliding groove is formed in the lifting seat, a return spring is installed between the dust guard plate and the lifting seat, the dust guard plate and the return spring are installed in the sliding groove, the lifting seat is hinged with a connecting rod, a long strip-shaped pushing groove is formed in one end of the connecting rod, a pin shaft is connected between the pushing groove and the dust guard plate, a guide surface which is obliquely arranged is arranged at the other end of the connecting rod, an installation cylinder is installed in the dust collection room and corresponds to the connecting rod, a pushing pin and the return spring are installed in the installation cylinder, the pushing pin extends out of the installation cylinder, and a pushing surface which is obliquely arranged from bottom to top; the guide surface can be attached to the pushing surface in the ascending process of the lifting seat and pushes the pushing pin towards the direction of the return spring; in the descending process of the lifting seat, the end part of the connecting rod is abutted to the pushing pin to enable the connecting rod to rotate, and the dust blocking plate is pulled to move to enable the dust falling hole to be opened.
In the ascending process of the lifting seat, the guide surface at one end of the connecting rod can be attached to the pushing surface and pushes the pushing pin towards the direction of the reset spring, the connecting rod cannot rotate at the moment, and the dust blocking plate always closes the dust falling hole. In the descending process of the lifting seat, the end part of the connecting rod is abutted to the pushing pin to enable the connecting rod to rotate, the connecting rod pulls the dust blocking plate to move through the pushing groove and the pin to enable the dust falling hole to be opened, and dust in the dust removing cloth bag falls to the dust carrying cavity from the dust falling hole through the dust falling bag and the dust falling hole under the action of gravity. After the lifting seat descends to the bottom, the end part of the connecting rod slides away from the pushing pin, the dust baffle plate returns to close the dust falling hole under the action of the return spring, and meanwhile, the connecting rod rotates reversely to return. The dust removal and dust cleaning are facilitated by this structural arrangement.
Preferably, a lifting piston cylinder is correspondingly arranged on the lower partition plate and corresponds to the lifting seat, a shaking spring is connected between a telescopic rod of the lifting piston cylinder and the lifting seat, a shaking cylinder is arranged on the lifting seat, a buffering column and a buffering spring are arranged in the shaking cylinder, a plurality of shaking convex rings are arranged on the inner wall of the dust collection room, guide sections which are obliquely arranged are arranged between the inner wall of the shaking convex ring and the upper edge and between the inner wall of the shaking convex ring and the lower edge, and the buffering column can be abutted against the inner wall of the shaking convex ring and can slide through the inner wall of.
The lifting piston cylinder works to drive the lifting seat to lift, the lifting piston cylinder pushes the lifting seat to ascend, when the buffer column passes through the inner wall of the shaking convex ring, the lifting seat is blocked, the shaking spring is compressed at the moment, the buffer column slides away from the shaking convex ring along with the extension rod of the lifting piston cylinder, so that the lifting seat can shake, and dust on the inner wall of the dust removing cloth bag can drop off more easily.
A melting method of a molten pool furnace utilizes a melting system of the molten pool furnace to carry out melting, and comprises the following steps: a. placing the smelting raw materials and the fuel on a drying plate for drying, and then loading the raw materials and the fuel into a molten pool furnace; b. igniting in the molten pool furnace, and supplying air to the molten pool furnace through an air supply pipe to assist combustion; c. the method comprises the following steps that smoke exhausted from a smelting tank furnace is conveyed into a dust collection barrel through a smoke outlet pipe, heavier particles in the smoke fall to the bottom of the dust collection barrel, then the smoke is conveyed into a heat exchange smoke pipe, high-temperature smoke in the heat exchange smoke pipe heats a drying plate, a smelting raw material and fuel mixture is stacked on the drying plate to be dried, the dried smelting raw material and fuel mixture is continuously added into the smelting furnace, then the smoke enters a dust collection cloth bag in a dust collection room to filter dust, and the smoke in the dust collection room is conveyed to a desulfurization tank to be desulfurized and then is discharged outwards; d. discharging slag in the molten pool furnace into a slag collecting pool from a slag outlet, and enabling molten metal in the molten pool furnace to flow into the liquid carrying furnace from a molten metal outlet; e. sampling the metal liquid in the liquid carrying furnace, detecting the content of each component, calculating the mass of each metal to be added according to the content of each detected component and the component content requirement of the alloy product to be prepared, adding the metal to be added into the liquid carrying furnace, and heating the liquid carrying furnace to completely melt and uniformly mix the metal in the liquid carrying furnace; f. and pouring the molten metal in the liquid-carrying furnace into a forming die for cooling and forming.
The smelting raw materials and the fuel are dried by fully utilizing the waste heat in the flue gas in the working process of the smelting tank furnace, and the flue gas is discharged outwards after a plurality of dedusting processes and desulfurization treatment, so that the environment is not polluted, and the national emission standard is met. The method comprises the steps of directly detecting the content of each component of the molten metal flowing out of the molten pool furnace, calculating the mass of each metal required to be added in an alloy product according to a detection result, adding the metal required to be added into the liquid carrying furnace, heating the liquid carrying furnace to completely melt and uniformly mix the metal in the liquid carrying furnace, and pouring the molten metal in the liquid carrying furnace into a forming die to be cooled and formed to form the product. The alloy product is directly formed after smelting, so that the energy consumption is greatly reduced.
Preferably, in step a, the smelting raw materials and the fuel are charged into a pig iron and the pig iron is compacted, and then the pig iron is charged into the molten bath furnace.
The smelting raw materials and the fuel are filled into the iron tank, particularly the small-particle smelting raw materials and the small-particle fuel are filled into the iron tank and then are put into the molten pool furnace for smelting, so that the smelting raw materials can be smelted more fully, the yield is improved, and the particle smelting raw materials, particularly the powder smelting raw materials, are prevented from being discharged along with the smoke.
Compared with the prior art, the invention has the beneficial effects that: (1) the utilization rate of the waste heat of the flue gas discharged by the smelting furnace is high, and the flue gas discharged into the atmosphere is not mixed with dust, so that the pollution of the dust to the environment is avoided; (2) the alloy product is directly formed after smelting, so that the energy consumption is greatly reduced; (3) the dust removal sack can automatic deashing, does not need artifical periodic cleaning, avoids the dust removal sack to appear blocking phenomenon, is favorable to reducing intensity of labour, improves work efficiency.
Drawings
FIG. 1 is a schematic diagram of an embodiment of the present invention;
fig. 2 is a schematic view of a connection structure of a heat exchange smoke pipe according to embodiment 1 of the present invention;
fig. 3 is a schematic view of a connection structure of a heat exchange smoke pipe according to embodiment 2 of the present invention;
FIG. 4 is a schematic view of a dust collecting room according to embodiment 3 of the present invention;
FIG. 5 is an enlarged partial schematic view of FIG. 4 of the present invention;
in the figure: 1. the device comprises a smelting tank furnace, 2, a dust collecting barrel, 3, a drying plate, 4, a dust collecting room, 5, a desulfurization tank, 6, a smoke outlet pipe, 7, an air supply pipe, 8, a slag outlet, 9, a molten metal outlet, 10, a slag collecting tank, 11, a liquid carrying furnace, 12, a dust collecting cloth bag, 13, a dust collecting smoke pipe, 14, a heat exchange smoke pipe, 15, a conveying belt, 16, a feed inlet, 17, a charging box, 18, a carrying hopper, 19, a transition smoke pipe, 20, a separating net, 21, a heat exchange water jacket, 22, a heat exchange air box, 23, an upper partition plate, 24, a lower partition plate, 25, a smoke inlet cavity, 26, a dust carrying cavity, 27, a smoke inlet hole, 28, a lifting seat, 29, a dust falling hole, 30, a dust blocking plate, 31, a dust falling hole, 32, a dust falling bag, 33, a rotating shaft, 34, a cover plate, 35, a sliding groove, 36, a return spring, 37, a connecting rod, 38, a pushing groove, 39, a pin shaft, 40, a mounting cylinder, a, The device comprises a return spring, 44, a pushing surface, 45, a lifting piston cylinder, 46, a shaking spring, 47, a shaking cylinder, 48, a buffer column, 49, a buffer spring, 50, a shaking convex ring, 51, a guide section, 52, a positioning guide rod, 53, a connecting column, 54 and a dust cleaning opening.
Detailed Description
The technical scheme of the invention is further described in detail by the following specific embodiments in combination with the attached drawings:
example 1: the utility model provides a molten bath furnace system of smelting (see attached figure 1, attached figure 2), including molten bath furnace 1, the bucket 2 that gathers dust, stoving board 3, the room 4 that gathers dust, desulfurization pond 5, be equipped with out the tobacco pipe 6 on the molten bath furnace, blast pipe 7, the slag notch 8, the metal liquid export 9, it connects to the bucket that gathers dust to go out the tobacco pipe, heat transfer tobacco pipe 14 is installed to stoving board below, heat transfer tobacco pipe one end communicates to the bucket that gathers dust, the other end communicates the room that gathers dust, room and desulfurization pond intercommunication gather dust, slag notch position is laid and is received the pond 10, carrier liquid stove 11 is laid to the metal liquid export position, installation dust removal sack 12 in the room that gathers dust, it gathers dust tobacco pipe 13 to communicate between heat transfer tobacco. The rear end of the desulfurization tank is connected with a chimney, and the treated flue gas is discharged outwards through the chimney.
The blast pipe is tangentially connected to the molten pool furnace and is arranged obliquely downwards. The inclination angle of the blast pipe and the horizontal plane is 45 degrees. A feeding mechanism is arranged outside the molten pool furnace, the feeding mechanism comprises a conveying belt 15 which is obliquely arranged, a feeding hole 16 is arranged on the outer wall of the upper part of the molten pool furnace, the upper end of the conveying belt is arranged at the position of the feeding hole, a charging box 17 is arranged at the lower end of the conveying belt, and a plurality of loading hoppers 18 are arranged on the outer surface of the conveying belt at intervals. The heat exchange smoke tube and the dust collection barrel are communicated with a transition smoke tube 19, the smoke outlet tube and the transition smoke tube are both connected to the upper end of the dust collection barrel, and the smoke outlet tube extends downwards into the dust collection barrel. A vertically-arranged separation net 20 is arranged in the dust collection barrel, the dust collection barrel is separated into two cavities by the separation net, the smoke outlet pipe is communicated with one cavity, and the heat exchange smoke pipe is communicated with the other cavity.
The heat exchange smoke tube is pre-buried underground, and the heat exchange water jacket 21 is sleeved outside the heat exchange smoke tube. Cooling water is introduced into the heat exchange water jacket to cool the flue gas, the drying plate is placed on the ground, the smelting raw materials and the fuel are stacked on the drying plate to be dried, the dried smelting raw materials and the fuel are mixed in proportion and then are loaded into a charging box below a conveying belt, and the mixture is conveyed into a molten pool furnace through a loading hopper on the conveying belt. A plurality of cleaning windows are distributed on the heat exchange smoke pipe, cleaning pipelines are closely connected to the cleaning windows, and the cleaning pipelines penetrate through the heat exchange water jacket and are in sealed connection with the heat exchange water jacket.
A dust absorption fan is arranged around the molten pool furnace in the workshop, and air blown out from an air outlet of the dust absorption fan is directly sent into the air supply pipe to form a dust-free smelting workshop which is clean and tidy.
A melting method of a molten pool furnace utilizes a melting system of the molten pool furnace to carry out melting, and comprises the following steps: a. placing the smelting raw materials and the fuel on a drying plate for drying, and then loading the raw materials and the fuel into a molten pool furnace; b. igniting in the molten pool furnace, and supplying air to the molten pool furnace through an air supply pipe to assist combustion; c. the method comprises the following steps that smoke exhausted from a smelting tank furnace is conveyed into a dust collection barrel through a smoke outlet pipe, heavier particles in the smoke fall to the bottom of the dust collection barrel, then the smoke is conveyed into a heat exchange smoke pipe, high-temperature smoke in the heat exchange smoke pipe heats a drying plate, a smelting raw material and fuel mixture is stacked on the drying plate to be dried, the dried smelting raw material and fuel mixture is continuously added into the smelting furnace, then the smoke enters a dust collection cloth bag in a dust collection room to filter dust, and the smoke in the dust collection room is conveyed to a desulfurization tank to be desulfurized and then is discharged outwards; d. discharging slag in the molten pool furnace into a slag collecting pool from a slag outlet, and enabling molten metal in the molten pool furnace to flow into the liquid carrying furnace from a molten metal outlet; e. sampling the metal liquid in the liquid carrying furnace, detecting the content of each component, calculating the mass of each metal to be added according to the content of each detected component and the component content requirement of the alloy product to be prepared, adding the metal to be added into the liquid carrying furnace, and heating the liquid carrying furnace to completely melt and uniformly mix the metal in the liquid carrying furnace; f. and pouring the molten metal in the liquid-carrying furnace into a forming die for cooling and forming. In the step a, the smelting raw materials and the fuel are filled into the iron tank and the iron tank is compacted, and then the iron tank is filled into the molten bath furnace. The smelting raw materials and the fuel are filled into the iron tank, particularly the small-particle smelting raw materials and the small-particle fuel are filled into the iron tank and then are put into the molten pool furnace for smelting, so that the smelting raw materials can be smelted more fully, the yield is improved, and the particle smelting raw materials, particularly the powder smelting raw materials, are prevented from being discharged along with the smoke.
The raw materials and fuels for smelting can be selected according to the requirements, such as nickel-copper leftover materials and nickel-copper slag ash balls are adopted as the raw materials for smelting, and phosphorus iron or coke is adopted as the fuel. And e, adding ferrophosphorus into the liquid bearing furnace to heat the liquid bearing furnace.
Example 2: the utility model provides a molten bath furnace system of smelting (see attached 3), its structure is similar with embodiment 1, and the main difference lies in this embodiment, the pre-buried heat transfer bellows 22 in underground of stoving board below, and the heat transfer tobacco pipe is installed in the heat transfer bellows, and the fan is connected to the heat transfer bellows, and the blast pipe all communicates with the heat transfer bellows. The other structure is the same as embodiment 1.
Example 3: a melting furnace smelting system (see attached figures 4 and 5) is similar to that of embodiment 1, and mainly differs in that in the embodiment, an upper partition plate 23 and a lower partition plate 24 are installed in a dust collection room, a smoke inlet cavity 25 is arranged above the upper partition plate in the dust collection room, a dust carrying cavity 26 is arranged below the lower partition plate in the dust collection room, a plurality of smoke inlet holes 27 are uniformly distributed on the upper partition plate, a plurality of liftable lifting seats 28 are arranged in the dust collection room and the smoke inlet holes in a one-to-one correspondence mode, the lifting seats are arranged between the upper partition plate and the lower partition plate, dust falling holes 29 are formed in the lifting seats, a dust collection cloth bag is connected between the smoke inlet holes and the dust falling holes, dust blocking plates 30 are installed in the dust falling holes, a plurality of dust falling holes 31 are arranged on the lower partition plate and in the one-to-one correspondence mode, flexible dust falling bags 32 are connected between the dust outlet holes, a rotating shaft 33 is installed on the upper partition plate, a cover plate 34, the dust collecting smoke pipe is communicated with the smoke inlet cavity; when the cover plate covers the smoke inlet hole, the lifting seat corresponding to the smoke inlet hole is lifted, the lifting seat is lifted to extrude the dust removal cloth bag, the dust blocking plate is opened in the descending process of the lifting seat, dust falls to the dust carrying cavity from the dust falling hole through the dust falling bag and the dust falling hole, and the dust blocking plate returns to close the dust falling hole after the lifting seat descends to the bottom.
A sliding groove 35 which is transversely arranged is formed in the lifting seat, a return spring 36 is arranged between the dust guard plate and the lifting seat, the dust guard plate and the return spring are arranged in the sliding groove, the lifting seat is hinged with a connecting rod 37, a long strip-shaped pushing groove 38 is formed in one end of the connecting rod, a pin shaft 39 is connected between the pushing groove and the dust guard plate, a guide surface 40 which is obliquely arranged is arranged at the other end of the connecting rod, an installation cylinder 41 is correspondingly arranged in the dust collection room and the connecting rod, a pushing pin 42 and a return spring 43 are arranged in the installation cylinder, the pushing pin extends out of the installation cylinder, and a pushing surface 44 which is obliquely arranged outwards; the guide surface can be attached to the pushing surface in the ascending process of the lifting seat and pushes the pushing pin towards the direction of the return spring; in the descending process of the lifting seat, the end part of the connecting rod is abutted to the pushing pin to enable the connecting rod to rotate, and the dust blocking plate is pulled to move to enable the dust falling hole to be opened.
The lower partition plate is correspondingly provided with a lifting piston cylinder 45 with a lifting seat, a shaking spring 46 is connected between a telescopic rod of the lifting piston cylinder and the lifting seat, a shaking cylinder 47 is arranged on the lifting seat, a buffering column 48 and a buffering spring 49 are arranged in the shaking cylinder, a plurality of shaking convex rings 50 are arranged on the inner wall of the dust collection room, guide sections 51 which are obliquely arranged are arranged between the inner wall of the shaking convex ring and the upper edge and the lower edge, and the buffering column can abut against the inner wall of the shaking convex ring and slide through the inner wall of the shaking convex ring. A positioning guide rod 52 is arranged between the upper partition plate and the lower partition plate, and the lifting seat is slidably sleeved on the positioning guide rod; a connecting column 53 is connected between the middle part of the upper partition plate and the middle part of the lower partition plate, and the mounting cylinder is tightly mounted on the connecting column; the dust carrying cavity is of a conical structure with a large upper part and a small lower part, the lower part of the dust carrying cavity is provided with an ash cleaning port 54, and an ash cleaning valve is arranged at the ash cleaning port. The upper end of the dust collection room is provided with a driving motor, a gear is arranged on the rotating shaft, the driving motor drives the gear to rotate, and the lifting piston cylinder is an electric cylinder. The other structure is the same as embodiment 1.
The flue gas in the dust collecting flue pipe enters the flue gas inlet cavity and enters the dust removing cloth bag through the flue gas inlet hole, the dust removing cloth bag removes dust from the flue gas, and the flue gas after dust removal is discharged into a cavity between the upper partition plate and the lower partition plate in the dust collecting room and is discharged to the desulfurization tank. And the dust remains in the dust removal cloth bag. The rotating shaft rotates for an angle at regular intervals, the cover plate moves from the upper end of one smoke inlet hole to the upper end of the other smoke inlet hole and seals the smoke inlet hole, then the cover plate is lifted by the lifting seat corresponding to the smoke inlet hole, the lifting seat is lifted to extrude the dust removal cloth bag, smoke in the dust removal cloth bag is discharged, and dust remained on the inner wall of the dust removal cloth bag drops, the dust blocking plate is opened in the descending process of the lifting seat, the dust falls to the dust carrying cavity from the dust falling hole through the dust falling bag and the dust falling hole, and the dust blocking plate returns to close the dust falling hole after the lifting seat descends to the bottom. Through the structure, dust in the dust removal cloth bag can be automatically cleaned at regular intervals, shutdown cleaning is avoided, and working efficiency is greatly improved. The automatic deashing of dust removal sack does not need artifical periodic cleaning, avoids dust removal sack to appear blocking phenomenon, is favorable to reducing intensity of labour, improves work efficiency.
The above-described embodiments are merely preferred embodiments of the present invention, which is not intended to be limiting in any way, and other variations and modifications are possible without departing from the scope of the invention as set forth in the appended claims.

Claims (10)

1.一种熔池炉熔炼系统,其特征是,包括熔池炉、收尘桶、烘干板、收尘房、脱硫池,熔池炉上设有出烟管、送风管、出渣口、金属液出口,出烟管连接到收尘桶,烘干板下方安装换热烟管,换热烟管一端连通到收尘桶,另一端连通到收尘房,收尘房和脱硫池连通,出渣口位置布设收渣池,金属液出口位置布设载液炉,收尘房内安装除尘布袋,换热烟管和除尘布袋之间连通收尘烟管。1. a molten pool furnace smelting system, is characterized in that, comprises molten pool furnace, dust collecting bucket, drying plate, dust collecting room, desulfurization pool, and the molten pool furnace is provided with smoke outlet pipe, air supply pipe, slag outlet The outlet, the metal liquid outlet, the exhaust pipe is connected to the dust collection barrel, the heat exchange smoke pipe is installed under the drying plate, one end of the heat exchange smoke pipe is connected to the dust collection barrel, and the other end is connected to the dust collection room, the dust collection room and the desulfurization tank A slag collection tank is arranged at the slag outlet, a liquid carrier furnace is arranged at the metal liquid outlet, a dust collection bag is installed in the dust collection room, and a dust collection smoke pipe is connected between the heat exchange smoke pipe and the dust removal bag. 2.根据权利要求1所述的一种熔池炉熔炼系统,其特征是,换热烟管预埋在地下,换热烟管外套装换热水套。2 . The melting system of a molten pool furnace according to claim 1 , wherein the heat exchange flue pipe is pre-buried underground, and the heat exchange flue pipe is covered with a hot water exchange jacket. 3 . 3.根据权利要求1所述的一种熔池炉熔炼系统,其特征是,烘干板下方的地下预埋换热风箱,换热烟管安装在换热风箱内,换热风箱连接风机,送风管均与换热风箱连通。3. A kind of molten pool furnace smelting system according to claim 1, is characterized in that, the underground pre-buried heat exchange air box under the drying plate, the heat exchange smoke pipe is installed in the heat exchange air box, and the heat exchange air box is connected to the fan, The air supply pipes are all communicated with the heat exchange air box. 4.根据权利要求1所述的一种熔池炉熔炼系统,其特征是,换热烟管和收尘桶之间连通过渡烟管,出烟管和过渡烟管均连接在收尘桶上端,出烟管向下延伸到收尘桶内。4. A kind of melting pool furnace smelting system according to claim 1, is characterized in that, the transition smoke pipe is communicated between the heat exchange smoke pipe and the dust collecting barrel, and the smoke outlet pipe and the transition smoke pipe are both connected to the upper end of the dust collecting barrel , the smoke outlet pipe extends downward into the dust collecting bucket. 5.根据权利要求1所述的一种熔池炉熔炼系统,其特征是,熔池炉外布设上料机构,上料机构包括倾斜设置在输送带,熔池炉上部外壁上设有进料口,输送带上端置于进料口位置,输送带下端位置布设装料箱,输送带外表面上间隔安装若干载料斗。5. A kind of melting pool furnace smelting system according to claim 1 is characterized in that, a feeding mechanism is arranged outside the melting pool furnace, and the feeding mechanism comprises an inclined conveyor belt, and a feeding material is provided on the upper outer wall of the melting pool furnace The upper end of the conveyor belt is placed at the feeding port, the lower end of the conveyor belt is arranged with a material box, and several hoppers are installed on the outer surface of the conveyor belt at intervals. 6.根据权利要求1至5任意一项所述的一种熔池炉熔炼系统,其特征是,收尘房内安装上隔板、下隔板,收尘房内上隔板上方为进烟腔,收尘房内下隔板下方为载尘腔,上隔板上均布设置若干进烟孔,收尘房内和进烟孔一一对应设有若干可升降的升降座,升降座设置在上隔板和下隔板之间,升降座上设有落尘孔,进烟孔和落尘孔之间连接除尘布袋,落尘孔内安装挡尘板,下隔板上和落尘孔一一对应设有若干下尘孔,下尘孔和落尘孔之间连接柔性可伸缩的落尘袋,上隔板上安装转轴,转轴上连接盖板,盖板随转轴转动可盖合一进烟孔,收尘烟管与进烟腔连通;当盖板盖合进烟孔后,与该进烟孔对应的升降座进行升降,升降座升起对除尘布袋进行挤压,升降座下降过程中挡尘板开启,灰尘从落尘孔经落尘袋、下尘孔下落到载尘腔,升降座下降到底后挡尘板回位闭合落尘孔。6. A molten pool furnace smelting system according to any one of claims 1 to 5, wherein an upper clapboard and a lower clapboard are installed in the dust collection room, and the upper part of the upper clapboard in the dust collection room is a smoke inlet The lower part of the dust-collecting room is the dust-carrying cavity, and the upper partition is evenly equipped with a number of smoke inlet holes. There are several lifting seats in the dust-collecting room corresponding to the smoke inlet holes, and the lifting seats are provided with Between the upper clapboard and the lower clapboard, the lifting seat is provided with a dust hole, a dust filter bag is connected between the smoke inlet hole and the dust hole, a dust baffle is installed in the dust hole, and the lower clapboard and the dust hole correspond to each other one by one. There are several dust holes. A flexible and retractable dust bag is connected between the dust holes and the dust holes. A rotating shaft is installed on the upper partition, and a cover plate is connected to the rotating shaft. The cover plate rotates with the rotating shaft and can cover the smoke inlet hole. The pipe is communicated with the smoke inlet chamber; when the cover plate is closed into the smoke hole, the lift seat corresponding to the smoke inlet hole is lifted and lowered, the lift seat is lifted up to squeeze the dust removal bag, and the dust baffle plate is opened during the descent of the lift seat. The dust falls from the dust hole through the dust bag and the dust hole to the dust-carrying cavity. After the lift seat is lowered to the bottom, the dust baffle returns to close the dust hole. 7.根据权利要求6所述的一种熔池炉熔炼系统,其特征是,升降座上设有横向设置的滑槽,挡尘板和升降座之间安装回位弹簧,挡尘板和回位弹簧安装在滑槽中,升降座上铰接连杆,连杆一端设有长条形的推动槽,推动槽和挡尘板之间连接销轴,连杆另一端设有倾斜设置的导向面,收尘房内和连杆对应安装有安装筒,安装筒内安装推动销和复位弹簧,推动销延伸出安装筒,推动销端部设有从下往上朝外倾斜设置的推动面;升降座上升过程中导向面可贴合到推动面上并将推动销向复位弹簧方向推动;升降座下降过程中,连杆端部抵接到推动销上使连杆转动,拉动挡尘板移动使落尘孔开启。7. A melting pool furnace smelting system according to claim 6, wherein the lifting seat is provided with a horizontally arranged chute, a return spring is installed between the dust baffle and the lifting seat, and the dust baffle and the return spring are installed. The position spring is installed in the chute, the lift seat is hinged with the connecting rod, one end of the connecting rod is provided with a long push groove, the push groove and the dust shield are connected with the pin shaft, and the other end of the connecting rod is provided with an inclined guide surface , A mounting cylinder is installed in the dust collection chamber and the connecting rod, a push pin and a return spring are installed in the mounting cylinder, the push pin extends out of the mounting cylinder, and the end of the push pin is provided with a push surface inclined from bottom to top; During the lifting process of the seat, the guide surface can fit on the pushing surface and push the push pin towards the return spring; during the lowering process of the lift seat, the end of the connecting rod abuts on the pushing pin to make the connecting rod rotate, and the dust baffle plate is pulled to move. The dust hole is open. 8.根据权利要求6所述的一种熔池炉熔炼系统,其特征是,下隔板上与升降座对应安装有升降活塞缸,升降活塞缸伸缩杆和升降座之间连接抖动弹簧,升降座上安装抖动筒,抖动筒内安装缓冲柱和缓冲弹簧,收尘房内壁上安装若干条抖动凸环,抖动凸环内壁与上边缘和下边缘之间均设有倾斜设置的导向段,缓冲柱可与抖动凸环内壁抵接并滑过抖动凸环内壁。8. A molten pool furnace smelting system according to claim 6, characterized in that, a lift piston cylinder is installed on the lower baffle corresponding to the lift seat, and a shaking spring is connected between the lift piston cylinder telescopic rod and the lift seat, and the lift is lifted. A shaking cylinder is installed on the seat, a buffer column and a buffer spring are installed in the shaking cylinder, and several shaking convex rings are installed on the inner wall of the dust collection room. The post can abut against the inner wall of the shaking convex ring and slide over the inner wall of the shaking convex ring. 9.一种熔池炉熔炼方法,其特征是,利用权利要求1至8任意一项所述的熔池炉熔炼系统进行熔炼,包括以下步骤:a、将熔炼原料和燃料放置在烘干板上进行烘干,之后装入熔池炉中;b、熔池炉内点火,并通过送风管向熔池炉内送风助燃;c、熔池炉排出的烟气通过出烟管输送到收尘桶中,烟气中较重的颗粒下落到收尘桶底部,然后烟气输送到换热烟管中,换热烟管中的高温烟气对烘干板进行加热,烘干板上堆放熔炼原料和燃料混合物进行烘干,烘干后的熔炼原料和燃料混合物不断加入熔炼炉中,之后烟气进入收尘房内的除尘布袋过滤灰尘,收尘房内的烟气输送到脱硫池经脱硫后向外排放;d、熔池炉内的炉渣从出渣口排放到收渣池中,熔池炉内的金属液从金属液出口向外流入载液炉中;e、对载液炉中的金属液进行取样,检测各个成分的含量,根据需要制得的合金产品的成分含量要求,再根据检测到的各个成分的含量计算需要添加的各种金属的质量,并将需要添加的金属加入载液炉中,并对载液炉加热,使载液炉中的金属完全熔化并均匀混合;f、将载液炉中的金属液倒入成型模进行冷却成型。9. a molten pool furnace smelting method, is characterized in that, utilizes the molten pool furnace smelting system described in any one of claim 1 to 8 to carry out smelting, comprises the following steps: a, smelting raw material and fuel are placed on drying plate B. The furnace is ignited, and air is supplied to the furnace for combustion through the air supply pipe; c. The flue gas discharged from the furnace is transported to the furnace through the exhaust pipe. In the dust collecting bucket, the heavier particles in the flue gas fall to the bottom of the dust collecting bucket, and then the flue gas is transported to the heat exchange flue gas, and the high temperature flue gas in the heat exchange flue gas heats the drying plate, and the drying plate The smelting raw materials and fuel mixtures are stacked and dried. The dried smelting raw materials and fuel mixtures are continuously added to the smelting furnace. After that, the flue gas enters the dust collection bag in the dust collection room to filter the dust, and the flue gas in the dust collection room is transported to the desulfurization tank. After desulfurization, it is discharged to the outside; d. The slag in the molten pool furnace is discharged from the slag outlet to the slag collecting pool, and the molten metal in the molten pool furnace flows into the liquid carrier furnace from the molten metal outlet; e. The molten metal in the furnace is sampled, and the content of each component is detected. According to the component content requirements of the alloy product to be prepared, the quality of various metals to be added is calculated according to the detected content of each component, and the The metal is added into the liquid-carrying furnace, and the liquid-carrying furnace is heated, so that the metal in the liquid-carrying furnace is completely melted and uniformly mixed; f. Pour the metal liquid in the liquid-carrying furnace into the forming mold for cooling and forming. 10.根据权利要求9所述的一种熔池炉熔炼方法,其特征是,步骤a中将熔炼原料和燃料装入铁罐中并压紧铁罐,然后将铁罐装入熔池炉中。10. a kind of molten pool furnace smelting method according to claim 9 is characterized in that, in step a, smelting raw material and fuel are loaded in iron cans and compacted iron cans, then iron cans are loaded in molten pool furnace .
CN202011119166.7A 2020-10-19 2020-10-19 A molten pool furnace smelting system and method Expired - Fee Related CN112484487B (en)

Priority Applications (1)

Application Number Priority Date Filing Date Title
CN202011119166.7A CN112484487B (en) 2020-10-19 2020-10-19 A molten pool furnace smelting system and method

Applications Claiming Priority (1)

Application Number Priority Date Filing Date Title
CN202011119166.7A CN112484487B (en) 2020-10-19 2020-10-19 A molten pool furnace smelting system and method

Publications (2)

Publication Number Publication Date
CN112484487A true CN112484487A (en) 2021-03-12
CN112484487B CN112484487B (en) 2022-07-22

Family

ID=74926710

Family Applications (1)

Application Number Title Priority Date Filing Date
CN202011119166.7A Expired - Fee Related CN112484487B (en) 2020-10-19 2020-10-19 A molten pool furnace smelting system and method

Country Status (1)

Country Link
CN (1) CN112484487B (en)

Citations (17)

* Cited by examiner, † Cited by third party
Publication number Priority date Publication date Assignee Title
US4021192A (en) * 1975-12-22 1977-05-03 Reynolds Metals Company Furnace system for and method of melting and preheating metal
AU2004201657A1 (en) * 2004-04-20 2005-11-03 Heritage Environmental Services, Llc Dual use of an induction furnace to produce hot metal or pig iron while processing iron and volatile metal containing materials
CN201819570U (en) * 2010-09-20 2011-05-04 横店集团东磁股份有限公司 Device for drying iron phosphorus in ferrite raw material through utilizing residual heat of rotary kiln
CN204438827U (en) * 2015-02-04 2015-07-01 茂名粤桥集团矿业有限公司 A kind of rotary kiln exhaust gas treating apparatus
CN105222585A (en) * 2015-10-12 2016-01-06 广东工业大学 The combustion-supporting energy-saving aluminium-melting furnace of small-sized flue gas
CN206257980U (en) * 2016-11-30 2017-06-16 山东华顺环保科技股份有限公司 A kind of gas melting furnace flue afterheat utilizing system
CN106882817A (en) * 2015-12-15 2017-06-23 重庆庆龙精细锶盐化工有限公司 A kind of rotary kiln waste-heat recovery device
CN107131764A (en) * 2016-02-26 2017-09-05 泰州市兴华齿轮制造有限公司 A kind of smelting furnace with dust arrester installation
CN206469712U (en) * 2016-12-22 2017-09-05 江西省瑞金化工机械有限责任公司 A kind of energy-conservation smoke evacuation system of mineral hot furnace
KR20170117677A (en) * 2016-04-14 2017-10-24 주식회사 태성엔지니어링 Integral system for melting and refining of copper
CN206601043U (en) * 2016-11-30 2017-10-31 山东华顺环保科技股份有限公司 A kind of gas melting furnace flue waste heat recovery device
CN107419108A (en) * 2017-07-31 2017-12-01 宝武集团环境资源科技有限公司 A kind of method dried using rotary hearth furnace waste heat from tail gas
CN207113584U (en) * 2017-07-10 2018-03-16 天津丰通铝合金科技有限公司 A kind of aluminum melting smelting furnace with pre-heating system
CN209623390U (en) * 2019-02-27 2019-11-12 察右前旗裕兴炭素有限责任公司 A kind of mineral hot furnace cigarette outlet device of energy saving and environment friendly silicomangan processing
CN110822923A (en) * 2019-09-30 2020-02-21 江苏华洋新思路能源装备股份有限公司 Waste heat recovery system of petrochemical heating furnace
CN112316573A (en) * 2020-10-14 2021-02-05 涂永永 Full-automatic boiler dust collecting device
CN213841800U (en) * 2020-10-19 2021-07-30 峡江县安盛镍业有限公司 Melting system of molten pool furnace

Patent Citations (17)

* Cited by examiner, † Cited by third party
Publication number Priority date Publication date Assignee Title
US4021192A (en) * 1975-12-22 1977-05-03 Reynolds Metals Company Furnace system for and method of melting and preheating metal
AU2004201657A1 (en) * 2004-04-20 2005-11-03 Heritage Environmental Services, Llc Dual use of an induction furnace to produce hot metal or pig iron while processing iron and volatile metal containing materials
CN201819570U (en) * 2010-09-20 2011-05-04 横店集团东磁股份有限公司 Device for drying iron phosphorus in ferrite raw material through utilizing residual heat of rotary kiln
CN204438827U (en) * 2015-02-04 2015-07-01 茂名粤桥集团矿业有限公司 A kind of rotary kiln exhaust gas treating apparatus
CN105222585A (en) * 2015-10-12 2016-01-06 广东工业大学 The combustion-supporting energy-saving aluminium-melting furnace of small-sized flue gas
CN106882817A (en) * 2015-12-15 2017-06-23 重庆庆龙精细锶盐化工有限公司 A kind of rotary kiln waste-heat recovery device
CN107131764A (en) * 2016-02-26 2017-09-05 泰州市兴华齿轮制造有限公司 A kind of smelting furnace with dust arrester installation
KR20170117677A (en) * 2016-04-14 2017-10-24 주식회사 태성엔지니어링 Integral system for melting and refining of copper
CN206601043U (en) * 2016-11-30 2017-10-31 山东华顺环保科技股份有限公司 A kind of gas melting furnace flue waste heat recovery device
CN206257980U (en) * 2016-11-30 2017-06-16 山东华顺环保科技股份有限公司 A kind of gas melting furnace flue afterheat utilizing system
CN206469712U (en) * 2016-12-22 2017-09-05 江西省瑞金化工机械有限责任公司 A kind of energy-conservation smoke evacuation system of mineral hot furnace
CN207113584U (en) * 2017-07-10 2018-03-16 天津丰通铝合金科技有限公司 A kind of aluminum melting smelting furnace with pre-heating system
CN107419108A (en) * 2017-07-31 2017-12-01 宝武集团环境资源科技有限公司 A kind of method dried using rotary hearth furnace waste heat from tail gas
CN209623390U (en) * 2019-02-27 2019-11-12 察右前旗裕兴炭素有限责任公司 A kind of mineral hot furnace cigarette outlet device of energy saving and environment friendly silicomangan processing
CN110822923A (en) * 2019-09-30 2020-02-21 江苏华洋新思路能源装备股份有限公司 Waste heat recovery system of petrochemical heating furnace
CN112316573A (en) * 2020-10-14 2021-02-05 涂永永 Full-automatic boiler dust collecting device
CN213841800U (en) * 2020-10-19 2021-07-30 峡江县安盛镍业有限公司 Melting system of molten pool furnace

Also Published As

Publication number Publication date
CN112484487B (en) 2022-07-22

Similar Documents

Publication Publication Date Title
CN105180175B (en) A kind of fluidized bed refuse incinerator dreg removing system and Slagoff method
CN108342581B (en) System and method for separating and melting waste lead grids in recovery of waste lead acid storage battery
CN104138797B (en) A kind of multistage combined dry coal preparation system and method
CN201678713U (en) Lower zinc oxide collection device for rotary kiln head
CN102134626B (en) Converter flue gas waste heat recovering device and method for recovering flue gas waste heat by utilizing same
CN108267013A (en) A kind of sinter cooling and afterheat utilizing system and hypoxemia complete alternation cooling means
CN206959601U (en) A kind of sintering deposit cooling and afterheat utilizing system
CN211412744U (en) Grading device suitable for recycling metals in iron-making blast furnace flue gas dust removal ash
CN108296007A (en) Fluidized bed drying selects machine and matched complete set of equipments
CN213841800U (en) Melting system of molten pool furnace
CN112484487A (en) Melting system and method of molten pool furnace
CN105066709B (en) Electric furnace adds dispensing and smoke abatement and dust control emission reduction integral system automatically
CN203972105U (en) A kind of multistage combined dry coal preparation system
CN101816861A (en) Dust removal process for iron ore arc furnace and draught and dust removal device thereof
CN110715300B (en) Solid waste treatment device for recycling scrap iron
CN216192610U (en) High-efficient intensification aluminium sediment splitter
CN101979944A (en) Volatile metal roasting and recycling device
CN107246799B (en) A feeding and dust removal system for RKEF nickel alloy submerged thermal electric furnace
CN213930936U (en) Dangerous waste melting and solidifying treatment system
CN110893369B (en) Screening and grinding production line system for copper slag materials
CN113897497A (en) High-efficient intensification aluminium sediment splitter
CN104609890A (en) Processing system for perlite
CN114623446B (en) Dangerous waste melting solidification treatment system
CN101775503A (en) Method for directly recovering coke from kiln slag of rotary kiln and device
US2966350A (en) Reverberatory furnace and method for reclaiming lead from storage batteries

Legal Events

Date Code Title Description
PB01 Publication
PB01 Publication
SE01 Entry into force of request for substantive examination
SE01 Entry into force of request for substantive examination
GR01 Patent grant
GR01 Patent grant
CF01 Termination of patent right due to non-payment of annual fee
CF01 Termination of patent right due to non-payment of annual fee

Granted publication date: 20220722