CN111962605A - Sponge urban house rainwater collection device - Google Patents
Sponge urban house rainwater collection device Download PDFInfo
- Publication number
- CN111962605A CN111962605A CN202010711642.8A CN202010711642A CN111962605A CN 111962605 A CN111962605 A CN 111962605A CN 202010711642 A CN202010711642 A CN 202010711642A CN 111962605 A CN111962605 A CN 111962605A
- Authority
- CN
- China
- Prior art keywords
- connecting plate
- drainage pipe
- fixedly connected
- driving
- collection device
- Prior art date
- Legal status (The legal status is an assumption and is not a legal conclusion. Google has not performed a legal analysis and makes no representation as to the accuracy of the status listed.)
- Granted
Links
Images
Classifications
-
- E—FIXED CONSTRUCTIONS
- E03—WATER SUPPLY; SEWERAGE
- E03B—INSTALLATIONS OR METHODS FOR OBTAINING, COLLECTING, OR DISTRIBUTING WATER
- E03B3/00—Methods or installations for obtaining or collecting drinking water or tap water
- E03B3/02—Methods or installations for obtaining or collecting drinking water or tap water from rain-water
-
- E—FIXED CONSTRUCTIONS
- E03—WATER SUPPLY; SEWERAGE
- E03F—SEWERS; CESSPOOLS
- E03F5/00—Sewerage structures
- E03F5/14—Devices for separating liquid or solid substances from sewage, e.g. sand or sludge traps, rakes or grates
-
- E—FIXED CONSTRUCTIONS
- E04—BUILDING
- E04D—ROOF COVERINGS; SKY-LIGHTS; GUTTERS; ROOF-WORKING TOOLS
- E04D13/00—Special arrangements or devices in connection with roof coverings; Protection against birds; Roof drainage ; Sky-lights
- E04D13/04—Roof drainage; Drainage fittings in flat roofs, balconies or the like
-
- E—FIXED CONSTRUCTIONS
- E04—BUILDING
- E04D—ROOF COVERINGS; SKY-LIGHTS; GUTTERS; ROOF-WORKING TOOLS
- E04D13/00—Special arrangements or devices in connection with roof coverings; Protection against birds; Roof drainage ; Sky-lights
- E04D13/04—Roof drainage; Drainage fittings in flat roofs, balconies or the like
- E04D13/0404—Drainage on the roof surface
-
- Y—GENERAL TAGGING OF NEW TECHNOLOGICAL DEVELOPMENTS; GENERAL TAGGING OF CROSS-SECTIONAL TECHNOLOGIES SPANNING OVER SEVERAL SECTIONS OF THE IPC; TECHNICAL SUBJECTS COVERED BY FORMER USPC CROSS-REFERENCE ART COLLECTIONS [XRACs] AND DIGESTS
- Y02—TECHNOLOGIES OR APPLICATIONS FOR MITIGATION OR ADAPTATION AGAINST CLIMATE CHANGE
- Y02A—TECHNOLOGIES FOR ADAPTATION TO CLIMATE CHANGE
- Y02A20/00—Water conservation; Efficient water supply; Efficient water use
- Y02A20/108—Rainwater harvesting
Landscapes
- Engineering & Computer Science (AREA)
- Health & Medical Sciences (AREA)
- Life Sciences & Earth Sciences (AREA)
- Hydrology & Water Resources (AREA)
- Public Health (AREA)
- Water Supply & Treatment (AREA)
- Architecture (AREA)
- Civil Engineering (AREA)
- Structural Engineering (AREA)
- Environmental & Geological Engineering (AREA)
- Sewage (AREA)
Abstract
本申请涉及一种海绵城市房屋雨水收集装置,其包括开设于房屋顶面的汇水槽、引流管,汇水槽的底面倾斜设置,引流管沿竖直方向设置,汇水槽中转动连接有转轴,转轴沿汇水槽的长度方向设置,转轴上固定连接有滤网一,引流管的管壁上开设有安装槽,安装槽贯通引流管的内腔引流管的外管壁上转动连接有若干转动杆,转动杆上固定连接有V型隔离板,引流管上设置有用于驱动转动杆转动的驱动装置。本申请具有提高对于环境的维护,提高雨水收集装置的环保性能。
The present application relates to a rainwater collection device for a sponge city house, which comprises a catchment groove and a drainage pipe opened on the roof surface of the house. The bottom surface of the catchment groove is inclined and arranged, and the drainage pipe is arranged in a vertical direction. It is arranged along the length direction of the catchment tank, the rotating shaft is fixedly connected with a filter screen 1, the pipe wall of the drainage pipe is provided with an installation groove, and the installation groove passes through the inner cavity of the drainage pipe. A V-shaped isolation plate is fixedly connected to the rotating rod, and a driving device for driving the rotating rod to rotate is arranged on the drainage pipe. The present application has the advantages of improving the maintenance of the environment and improving the environmental protection performance of the rainwater collection device.
Description
技术领域technical field
本申请涉及城市雨水收集利用的领域,尤其是涉及一种海绵城市房屋雨水收集装置。The present application relates to the field of urban rainwater collection and utilization, in particular to a rainwater collection device for sponge city houses.
背景技术Background technique
在城市化建设中,现代化城市的地表逐渐被建筑物和混凝土等阻水材料硬化覆盖,形成了生态学上的“人造沙漠”,便捷的交通设施,铺设平整的道路在给人们的出行带来方便的同时,这些不透水的路面也给城市的生态环境带来极大的负面影响,城市“雨水病”的日益加剧。每当雨季来临,大量的雨水得不到及时的排放,造成城市内涝,而且大量的雨水得不到合理的利用十分的可惜。In the process of urbanization, the surface of modern cities is gradually hardened and covered with water-blocking materials such as buildings and concrete, forming an ecological "artificial desert". At the same time, these impervious pavements also have a great negative impact on the urban ecological environment, and the urban "rainwater disease" is increasingly aggravated. Whenever the rainy season comes, a large amount of rainwater cannot be discharged in time, causing urban waterlogging, and it is a pity that a large amount of rainwater cannot be used reasonably.
现有的,公告号为CN105887969A的中国专利公开了一种海绵城市房屋雨水收集装置,包括导流槽和收集桶,导流槽为半圆形导槽结构,半圆形导槽与连接管直径相等,导流槽沿着屋顶一侧边缘搭建以确保雨水都能流到导流槽中,导流槽设有出水口并通过连接管与收集桶进水管连接;收集桶为圆形密封容器,收集桶设置于屋檐下50mm处,收集桶顶部设有带有过滤网的进水口、侧面设有溢流口和出水口,收集桶进水管的雨水通过带有过滤网的进水口进入收集桶,溢流口通过管道与软管连接,出水口通过管道与软管连接并设有控制阀。The existing Chinese patent with the publication number CN105887969A discloses a rainwater collection device for sponge city houses, including a diversion groove and a collection bucket, the diversion groove is a semicircular guide groove structure, and the semicircular guide groove and the connecting pipe diameter Equally, the diversion trough is built along the edge of one side of the roof to ensure that rainwater can flow into the diversion trough. The collection bucket is set at 50mm under the eaves. The top of the collection bucket is provided with a water inlet with a filter screen, and the side is provided with an overflow port and a water outlet. The rainwater from the water inlet pipe of the collection bucket enters the collection bucket through the water inlet with a filter screen. The overflow port is connected with the hose through the pipe, and the water outlet is connected with the hose through the pipe and is provided with a control valve.
上述雨水收集装置虽然可以对屋顶上的雨水进行一定程度的收集,但是导流槽在对雨水进行引流的过程中,雨水中往往会携带屋顶的垃圾、泥土进入导流槽中,虽然这些泥土可以被滤网部分拦截,但是这些被拦截的垃圾并不能被及时地清理,日积月累会导致导流槽被堵塞,最终影响导流槽的正常导流,影响整个雨水收集装置的正常使用,而且导流槽被堵塞不仅会影响屋顶雨水的正常排放,同时堵塞在导流槽中的垃圾会随着雨水的长期浸泡腐烂,甚至散发恶臭味,造成二次污染,因此上述雨水收集装置不利于环境的维护,环保性能较差。Although the above-mentioned rainwater collection device can collect the rainwater on the roof to a certain extent, in the process of diverting the rainwater, the rainwater often carries garbage and soil from the roof into the diversion trough. Partially intercepted by the filter screen, but these intercepted garbage cannot be cleaned up in time. Over time, the diversion groove will be blocked, which will eventually affect the normal diversion of the diversion groove and the normal use of the entire rainwater collection device. The blockage of the trough will not only affect the normal discharge of roof rainwater, but also the garbage blocked in the diversion trough will rot with the long-term soaking of the rainwater, and even emit a foul odor, causing secondary pollution. Therefore, the above rainwater collection device is not conducive to the environment. Maintenance, environmental performance is poor.
发明内容SUMMARY OF THE INVENTION
为了提高对于环境的维护,提高雨水收集装置的环保性能,本申请提供一种海绵城市房屋雨水收集装置。In order to improve the maintenance of the environment and improve the environmental protection performance of the rainwater collection device, the present application provides a rainwater collection device for sponge city houses.
本申请提供的一种海绵城市房屋雨水收集装置,采用如下的技术方案:A rainwater collection device for sponge city houses provided by the application adopts the following technical scheme:
一种海绵城市房屋雨水收集装置,包括开设于房屋顶面的汇水槽、固定连接于房屋墙面上与汇水槽贯通的引流管,所述汇水槽的底面倾斜设置,所述引流管沿竖直方向设置,所述引流管的横切面呈矩形设置,所述引流管靠近汇水槽一端开口的所在高度低于汇水槽底面的所在高度,所述汇水槽中转动连接有转轴,所述转轴沿汇水槽的长度方向设置,所述转轴上固定连接有滤网一,所述滤网一呈弧面状设置,所述汇水槽中设置有用于驱动转轴转动的驱动电机一,所述引流管的管壁上开设有安装槽,所述安装槽贯通引流管的内腔,所述安装槽沿竖直方向呈直线排列,所述引流管的外管壁上转动连接有若干转动杆,所述转动杆位于安装槽内腔的下方,所述转动杆沿水平方向设置,所述转动杆上固定连接有V型隔离板,所述V型隔离板包括连接板一、连接板二,所述连接板一与连接板二之间的夹角呈锐角设置,所述连接板二可转动至引流管的内腔,所述连接板一可转动遮挡于安装槽的槽口,所述引流管上设置有用于驱动转动杆转动的驱动装置。A rainwater collection device for a sponge city house, comprising a water trough opened on the roof surface of the house, a drainage pipe fixedly connected to the house wall and passing through the water trough, the bottom surface of the water trough is inclined and the drainage pipe is vertically arranged. The cross-section of the drainage pipe is rectangular, the height of the drainage pipe close to the opening at one end of the catchment tank is lower than the height of the bottom surface of the catchment tank, and a rotating shaft is rotatably connected in the catchment tank, and the rotating shaft runs along the sink. The length direction of the water tank is arranged, the first filter screen is fixedly connected to the rotating shaft, and the first filter screen is arranged in a cambered surface. There are installation grooves on the wall, the installation grooves pass through the inner cavity of the drainage pipe, the installation grooves are arranged in a straight line along the vertical direction, and a number of rotating rods are rotatably connected to the outer pipe wall of the drainage pipe, and the rotating rods It is located below the inner cavity of the installation slot, the rotating rod is arranged in the horizontal direction, and a V-shaped isolation plate is fixedly connected to the rotating rod. The included angle between the second connecting plate and the second connecting plate is set at an acute angle, the second connecting plate can be rotated to the inner cavity of the drainage pipe, the first connecting plate A drive device that drives the rotation of the rotating rod.
通过采用上述技术方案,房屋顶面的雨水流淌至汇水槽中,并在重力作用下流淌至引流管中,在此过程中,雨水携带的垃圾杂物会被滤网一拦截,并在转轴的带动下,滤网一可以翻动将其中的杂物清理,当雨水进入引流管中时,会先流动至V型隔离板中,随着V型隔离板中的雨水量不断增多,雨水可以溢出V型隔离板流出,雨水中携带的垃圾、杂物会被V型隔离板拦截,当V型隔离板中的杂物积攒到一定量时,通过驱动装置对转动杆进行转动,在转动杆的带动下,转动杆可以带动V型隔离板转动,使连接板二转动移出引流管中,随着V型隔离板的转动,V型隔离板中的垃圾便可以倾倒出,倾倒完成后再次通过驱动装置使连接板一转动遮挡于安装槽的槽口,使连接板二重新对引流管中的水进行过滤,这种设置可以避免在对雨水进行收集的过程中垃圾杂物堵塞在引流管中,能够及时对引流管中雨水进行及时过滤、清理,解决了垃圾堵塞在引流管中被雨水长期浸泡而腐烂、散发恶臭味的问题,有利于提高雨水收集装置在对雨水进行收集过程中对于环境的维护,有利于提高雨水收集装置的环保性能。By adopting the above technical solution, the rainwater on the roof surface of the house flows into the sink, and then flows into the drainage pipe under the action of gravity. Driven, the filter screen can be turned over to clean up the sundries in it. When the rainwater enters the drainage pipe, it will first flow into the V-shaped isolation plate. With the increasing amount of rainwater in the V-shaped isolation plate, the rainwater can overflow V The V-shaped isolation plate flows out, and the garbage and debris carried in the rainwater will be intercepted by the V-shaped isolation plate. When the debris in the V-shaped isolation plate accumulates to a certain amount, the rotating rod is rotated by the driving device, and the rotating rod is driven by the rotating rod. The rotating rod can drive the V-shaped isolation plate to rotate, so that the second connecting plate rotates and moves out of the drainage pipe. With the rotation of the V-shaped isolation plate, the garbage in the V-shaped isolation plate can be dumped out. After the dumping is completed, it passes through the driving device again. The first rotation of the connecting plate covers the notch of the installation groove, so that the second connecting plate filters the water in the drainage pipe again. The rainwater in the drainage pipe is filtered and cleaned in time, which solves the problem that the garbage is blocked in the drainage pipe and is soaked by rainwater for a long time and rots and emits foul odor, which is beneficial to improve the environmental protection of the rainwater collection device in the process of collecting rainwater. Maintenance is conducive to improving the environmental performance of rainwater collection devices.
优选的,所述驱动装置包括固定连接于转动杆上的从动链轮、转动连接于引流管外侧壁上的主动链轮、转动啮合于从动链轮、主动链轮上的链条,所述从动链轮、主动链轮均沿垂直于转动杆的杆身方向设置,不同转动杆上的链轮轮面共面,所述引流管的外侧壁上固定连接有用于驱动主动链轮转动的驱动电机二。Preferably, the driving device comprises a driven sprocket fixedly connected to the rotating rod, a driving sprocket rotatably connected to the outer side wall of the drainage tube, a chain rotatably engaged with the driven sprocket and the driving sprocket, the Both the driven sprocket and the driving sprocket are arranged in the direction perpendicular to the shaft of the rotating rod, and the surfaces of the sprockets on different rotating rods are coplanar. Drive motor two.
通过采用上述技术方案,当需要对转动杆进行转动时,启动驱动电机二,驱动电机二带动主动链轮转动,主动链轮转动时通过链轮带动从动链轮转动,从而带动转动杆转动,转动杆转动时可以带动V型隔离板进行转动。By adopting the above technical solution, when the rotating rod needs to be rotated, the second driving motor is activated, and the second driving motor drives the driving sprocket to rotate. When the rotating rod rotates, the V-shaped isolation plate can be driven to rotate.
优选的,所述驱动装置包括固定连接于转动杆上的锥齿轮一、转动连接于引流管外侧壁上的驱动杆、若干固定连接于驱动杆上与锥齿轮一转动啮合的锥齿轮二,所述驱动杆沿竖直方向设置,所述引流管上固定连接有用于驱动驱动杆转动的驱动电机三。Preferably, the driving device includes a
通过采用上述技术方案,当需要对V型隔离板进行转动时,启动驱动电机三,驱动电机三带动驱动杆转动,驱动杆转动时,通过锥齿轮一与锥齿轮二的转动配合从而使转动杆进行转动,转动杆转动时可以带动V型隔离板转动。By adopting the above technical solution, when the V-shaped isolation plate needs to be rotated, the driving
优选的,所述连接板一远离连接板二的侧壁上固定连接有承接板,所述承接板沿平行于连接板一的板面的方向设置,所述承接板可与引流管的管壁转动贴合。Preferably, a receiving plate is fixedly connected to the side wall of the connecting
通过采用上述技术方案,承接板可以对连接板一与安装槽一之间的间隙进行封堵,有利于提高连接板一与安装槽内槽壁之间的密封性,减少从引流管管壁渗漏的雨水量。By adopting the above technical solution, the receiving plate can block the gap between the connecting
优选的,所述承接板的侧壁上固定连接有弹性垫,所述弹性垫环设于连接板一的外侧,所述弹性垫与安装槽的内槽壁挤压抵触。Preferably, an elastic pad is fixedly connected to the side wall of the receiving plate, the elastic pad ring is arranged on the outer side of the connecting
通过采用上述技术方案,弹性垫的设置可以进一步对连接板一与安装槽一之间的间隙进行封堵,有利于提高连接板一与安装槽内槽壁之间的密封性,减少从引流管管壁渗漏的雨水量。By adopting the above technical solution, the arrangement of the elastic pad can further seal the gap between the connecting
优选的,所述连接板二上开设有若干贯通连接板二板面的透水孔。Preferably, the second connecting plate is provided with a plurality of water permeable holes penetrating through the second plate surface of the connecting plate.
通过采用上述技术方案,透水孔的设置可以加快雨水在引流管中的流淌速度。By adopting the above technical solution, the arrangement of the permeable holes can speed up the flow speed of rainwater in the drainage pipe.
优选的,所述连接板二上固定连接有滤网二,所述滤网二沿平行于连接板二的板面方向设置,所述滤网二遮挡于透水孔。Preferably, a second filter screen is fixedly connected to the second connection plate, the second filter screen is arranged in a direction parallel to the board surface of the second connection plate, and the second filter screen is shielded from the permeable holes.
通过采用上述技术方案,滤网二的设置可以对雨水中的体积较小的垃圾进行拦截、过滤。By adopting the above technical solution, the setting of the second filter screen can intercept and filter small-sized garbage in the rainwater.
优选的,所述引流管的外侧壁上固定连接有用于承接V型隔离板中杂物的承接盒,所述承接盒的开口朝向连接板二。Preferably, a receiving box for receiving sundries in the V-shaped isolation plate is fixedly connected to the outer side wall of the drainage pipe, and the opening of the receiving box faces the second connecting plate.
通过采用上述技术方案,承接盒的设置可以对V型隔离板中的垃圾进行承接回收,使V型隔离板中的垃圾、杂物回收清理更方便。By adopting the above technical solution, the receiving box can be arranged to receive and recycle the garbage in the V-shaped isolation plate, so that the garbage and sundries in the V-shaped isolation plate can be recovered and cleaned more conveniently.
综上所述,本申请包括以下有益技术效果:To sum up, the present application includes the following beneficial technical effects:
1.通过对滤网一、V型隔离板、驱动装置的设置,可以起到提高雨水收集装置在对雨水进行收集过程中对于环境的维护、提高雨水收集装置的环保性能的效果;1. By setting the
2.通过承接盒的设置,可以起到使V型隔离板中的垃圾、杂物回收清理更方便的作用。2. Through the setting of the receiving box, it can play a role in making the recycling and cleaning of the garbage and sundries in the V-shaped isolation board more convenient.
附图说明Description of drawings
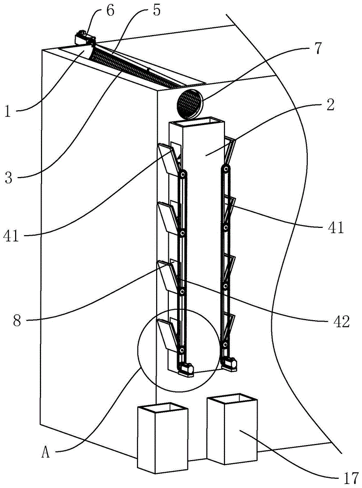
图1是实施例1中收集装置的整体结构的示意图。FIG. 1 is a schematic diagram of the overall structure of the collecting device in
图2是图1中A处放大图的示意图。FIG. 2 is a schematic diagram of an enlarged view at A in FIG. 1 .
图3是V型隔离板的剖面图示意图。3 is a schematic cross-sectional view of a V-shaped isolation plate.
图4是实施例2中驱动装置的结构示意图。FIG. 4 is a schematic structural diagram of the driving device in
附图标记说明:1、汇水槽;2、引流管;3、滤网一;4、V型隔离板;41、连接板一;42、连接板二;5、转轴;6、驱动电机一;7、出水通孔;8、安装槽;9、转动杆;10、驱动装置;101、从动链轮;102、主动链轮;103、链条;104、锥齿轮一;105、驱动杆;106、锥齿轮二;11、驱动电机二;12、弹性垫;13、承接板;14、透水孔;15、滤网二;16、驱动电机三;17、承接盒。Description of reference numerals: 1. Water sink; 2. Drainage pipe; 3.
具体实施方式Detailed ways
以下结合附图1-4对本申请作进一步详细说明。The present application will be further described in detail below in conjunction with accompanying drawings 1-4.
本申请实施例公开一种海绵城市房屋雨水收集装置。The embodiment of the present application discloses a rainwater collection device for a sponge city house.
实施例1Example 1
参照图1,海绵城市房屋雨水收集装置包括开设于房屋顶面的汇水槽1、固定连接于房屋墙面上与汇水槽1贯通的引流管2。其中,汇水槽1和引流管2中分别设置有用于清理雨水携带的垃圾、杂物的滤网一3和V型隔离板4。Referring to FIG. 1 , the rainwater collection device for a sponge city house includes a
参照图1,汇水槽1沿房屋顶面的长度方向设置且位于房屋顶面一侧,汇水槽1的底面倾斜设置。Referring to FIG. 1 , the
参照图1,汇水槽1沿竖直方向设置的侧壁上转动连接有转轴5,转轴5呈圆柱状设置且沿汇水槽1的长度方向倾斜设置。Referring to FIG. 1 , a
参照图1,滤网一3呈弧面状设置,滤网一3的一侧侧边与转轴5的轴身贴合固定,滤网一3可遮挡于汇水槽1底面的上方,滤网一3的网面可以与汇水槽1的底面抵触。房屋顶面的雨水在流动至汇水槽1中时,雨水所携带的垃圾会有一部分被滤网一3拦截。Referring to FIG. 1, the filter screen one 3 is arranged in an arc shape, one side of the filter screen one 3 is fitted and fixed with the shaft body of the
参照图1,汇水槽1中固定连接有用于驱动转轴5转动的驱动电机一6,驱动电机一6的输出轴通过联轴器固定连接于转轴5的端面。在转轴5的带动下,滤网一3可转动翻转出汇水槽1,通过滤网一3的转动可以将滤网一3上所拦截的垃圾清理出汇水槽1。Referring to FIG. 1 , a
参照图1,引流管2沿竖直方向设置,引流管2的横截面呈矩形设置。引流管2的顶部开口的所在高度低于汇水槽1底面的所在高度,汇水槽1底面靠近引流管2一端所在高度低于其远离引流管2一端所在高度。汇水槽1的槽壁上开设有出水通孔7,引流管2的顶部开口位于出水通孔7的下方,进入汇水槽1中的雨水在重力作用下可流淌至引流管2中。Referring to FIG. 1 , the
参照图1和图2,引流管2垂直于房屋墙面的两侧侧壁上均开设有若干安装槽8,安装槽8的内腔呈长方体设置,安装槽8贯通引流管2的内腔,位于同侧侧壁上的安装槽8沿竖直方向呈直线排列。1 and 2,
参照图1和图2,引流管2的外管壁上转动连接有若干转动杆9,转动杆9呈圆柱状设置且沿水平方向设置,转动杆9位于安装槽8内腔的下方,每个安装槽8对应一个转动杆9,转动杆9与安装槽8的底面平行设置。1 and 2, a number of
参照图1和图2,引流管2上设置有用于驱动转动杆9转动的驱动装置10,驱动装置10包括固定连接于转动杆9上的从动链轮101、转动连接于引流管2外侧壁上的主动链轮102、转动啮合于从动链轮101、主动链轮102上的链条103。1 and 2, the
其中,每个转动杆9上的从动链轮101设置有一个,从动链轮101、主动链轮102均沿垂直于转动杆9的杆身方向设置,不同转动杆9上的从动链轮101的轮面位于同一竖直面。引流管2的外侧壁上固定连接有用于驱动主动链轮102转动的驱动电机二11,驱动电机二11的输出轴通过联轴器固定连接于主动链轮103所在的轮轴上。Among them, there is one driven
参照图3,V型隔离板4包括连接板一41、连接板二42,连接板一41与连接板二42均呈长方体设置,连接板一41与连接板二42之间所形成的夹角为60度。连接板一41与连接板二42相互连接的一侧侧壁与转动杆9固定连接。Referring to FIG. 3 , the V-shaped
参照图3,在转动杆9,的带动下,连接板一41可转动遮挡于安装槽8的槽口,此时,连接板二42转动至引流管2的内腔中。当连接板一41转动遮挡于安装槽8的槽口时,连接板一41的侧壁与安装槽8的内槽壁贴合抵触。3, driven by the
参照图3,连接板一41的侧壁上固定连接有弹性垫12,当连接板一41转动至安装槽8中时,弹性垫12与安装槽8的内槽壁贴合抵触。Referring to FIG. 3 , an
参照图3,连接板一41背向连接板二42的侧壁上固定连接有承接板13,承接板13呈长方体设置,承接板13沿平行于连接板一41的板面的方向设置,当连接板一41转动遮挡于安装槽8的槽口时,承接板13与引流管2的管壁贴合抵触。Referring to FIG. 3 , a receiving
参照图3,连接板二42的板面上开设有若干透水孔14,透水孔14的内腔呈圆柱状设置,透水孔14均布于连接板二42的板面。Referring to FIG. 3 , a plurality of
参照图3,透水孔14的内腔中固定连接有滤网二15,滤网二15沿平行于连接板二42的板面方向设置,滤网二15遮挡于透水孔14的内腔。Referring to FIG. 3 , the inner cavity of the
参照图1和图2,引流管2的外侧壁上固定连接有用于承接V型隔离板4中杂物的承接盒17,承接盒17的内腔呈长方体设置,承接盒17的开口位于承接盒17的上表面且朝向连接板二42。1 and 2, the outer side wall of the
实施例1的实施原理为:房屋顶面的雨水流淌至汇水槽1中,并在重力作用下流淌至引流管2中,在此过程中,雨水携带的垃圾杂物会被滤网一3拦截,并在转轴5的带动下,滤网一3可以翻动将其中的杂物清理出汇水槽1,当雨水进入引流管2中时,雨水先流动至V型隔离板4中,随着V型隔离板4中的雨水量不断增多,雨水可以溢出V型隔离板4并从V型隔离板4中流出,雨水中携带的垃圾、杂物会被V型隔离板4拦截,当V型隔离板4中的杂物积攒到一定量时,通过主动链轮102、从动链轮101的转动配合使转动杆9转动,在转动杆9的带动下,转动杆9可以带动V型隔离板4转动,使连接板二42转动移出引流管2中,随着V型隔离板4的转动,V型隔离板4中的垃圾便可以倾倒出,倾倒完成后再次通过驱动装置10使连接板一41转动遮挡于安装槽8的槽口,使连接板二42重新对引流管2中的水进行过滤。The implementation principle of Example 1 is: the rainwater on the roof surface of the house flows into the
实施例2Example 2
参照图4,与实施例1的不同之处在于,驱动装置10包括固定连接于转动杆9上的锥齿轮一104、转动连接于引流管2外侧壁上的驱动杆105、若干固定连接于驱动杆105上与锥齿轮一104转动啮合的锥齿轮二106。4 , the difference from
其中,每根转动杆9上锥齿轮一104设置有一个,驱动杆105沿竖直方向设置,引流管2上固定连接有用于驱动驱动杆105转动的驱动电机三16,驱动电机三16通过联轴器固定连接于转动杆9的端部。Among them, there is one
实施例2的实施原理为:当需要对V型隔离板4进行转动时,启动驱动电机三16,驱动电机三16带动驱动杆105转动,驱动杆105转动时,通过锥齿轮一104与锥齿轮二106的转动配合从而使转动杆9进行转动,转动杆9转动时可以带动V型隔离板4转动。The implementation principle of the second embodiment is: when the V-shaped
以上均为本申请的较佳实施例,并非依此限制本申请的保护范围,故:凡依本申请的结构、形状、原理所做的等效变化,均应涵盖于本申请的保护范围之内。The above are all preferred embodiments of the present application, and are not intended to limit the protection scope of the present application. Therefore: all equivalent changes made according to the structure, shape and principle of the present application should be covered within the scope of the present application. Inside.
Claims (8)
Priority Applications (1)
| Application Number | Priority Date | Filing Date | Title |
|---|---|---|---|
| CN202010711642.8A CN111962605B (en) | 2020-07-22 | 2020-07-22 | Sponge urban house rainwater collection device |
Applications Claiming Priority (1)
| Application Number | Priority Date | Filing Date | Title |
|---|---|---|---|
| CN202010711642.8A CN111962605B (en) | 2020-07-22 | 2020-07-22 | Sponge urban house rainwater collection device |
Publications (2)
| Publication Number | Publication Date |
|---|---|
| CN111962605A true CN111962605A (en) | 2020-11-20 |
| CN111962605B CN111962605B (en) | 2021-06-08 |
Family
ID=73362611
Family Applications (1)
| Application Number | Title | Priority Date | Filing Date |
|---|---|---|---|
| CN202010711642.8A Active CN111962605B (en) | 2020-07-22 | 2020-07-22 | Sponge urban house rainwater collection device |
Country Status (1)
| Country | Link |
|---|---|
| CN (1) | CN111962605B (en) |
Cited By (3)
| Publication number | Priority date | Publication date | Assignee | Title |
|---|---|---|---|---|
| CN112962640A (en) * | 2021-01-23 | 2021-06-15 | 上海友海建设工程有限公司 | Waterproof drainage device for hydraulic engineering construction and use method thereof |
| CN113700230A (en) * | 2021-08-24 | 2021-11-26 | 中国五冶集团有限公司 | Ecological purification system for sponge city construction |
| CN113737938A (en) * | 2021-09-06 | 2021-12-03 | 德润建安工程集团有限公司 | Green house building |
Citations (11)
| Publication number | Priority date | Publication date | Assignee | Title |
|---|---|---|---|---|
| US4310940A (en) * | 1979-10-01 | 1982-01-19 | Moore Edward L | Gutter cleaner |
| JP2015021267A (en) * | 2013-07-18 | 2015-02-02 | 達雄 栗木 | Drainage structure of building |
| CN109235538A (en) * | 2018-09-07 | 2019-01-18 | 中国十七冶集团有限公司 | A kind of building environmental protection rainwater collection utilization unit |
| CN109629772A (en) * | 2018-12-22 | 2019-04-16 | 江苏华源建筑设计研究院股份有限公司 | A kind of roof discharge structure |
| CN109881851A (en) * | 2019-04-04 | 2019-06-14 | 易士贵 | A kind of low energy consumption green building |
| CN209323603U (en) * | 2019-01-08 | 2019-08-30 | 闫睿 | A kind of sponge city roof rainwater collecting device |
| WO2020093123A1 (en) * | 2018-11-08 | 2020-05-14 | Wadih Antonio Garios | Complete classification and filtration system for captured rainwater |
| CN210767551U (en) * | 2019-10-09 | 2020-06-16 | 李跃鹏 | Architectural design roof eaves mouth waterproof construction |
| CN210857765U (en) * | 2019-08-16 | 2020-06-26 | 重庆工商职业学院 | roof drainage system |
| CN211007358U (en) * | 2019-10-28 | 2020-07-14 | 广东中晋建设工程有限公司 | Drainage structure for house construction |
| CN211037588U (en) * | 2019-10-31 | 2020-07-17 | 南亚飞 | Architectural design roof eaves mouth waterproof construction |
-
2020
- 2020-07-22 CN CN202010711642.8A patent/CN111962605B/en active Active
Patent Citations (11)
| Publication number | Priority date | Publication date | Assignee | Title |
|---|---|---|---|---|
| US4310940A (en) * | 1979-10-01 | 1982-01-19 | Moore Edward L | Gutter cleaner |
| JP2015021267A (en) * | 2013-07-18 | 2015-02-02 | 達雄 栗木 | Drainage structure of building |
| CN109235538A (en) * | 2018-09-07 | 2019-01-18 | 中国十七冶集团有限公司 | A kind of building environmental protection rainwater collection utilization unit |
| WO2020093123A1 (en) * | 2018-11-08 | 2020-05-14 | Wadih Antonio Garios | Complete classification and filtration system for captured rainwater |
| CN109629772A (en) * | 2018-12-22 | 2019-04-16 | 江苏华源建筑设计研究院股份有限公司 | A kind of roof discharge structure |
| CN209323603U (en) * | 2019-01-08 | 2019-08-30 | 闫睿 | A kind of sponge city roof rainwater collecting device |
| CN109881851A (en) * | 2019-04-04 | 2019-06-14 | 易士贵 | A kind of low energy consumption green building |
| CN210857765U (en) * | 2019-08-16 | 2020-06-26 | 重庆工商职业学院 | roof drainage system |
| CN210767551U (en) * | 2019-10-09 | 2020-06-16 | 李跃鹏 | Architectural design roof eaves mouth waterproof construction |
| CN211007358U (en) * | 2019-10-28 | 2020-07-14 | 广东中晋建设工程有限公司 | Drainage structure for house construction |
| CN211037588U (en) * | 2019-10-31 | 2020-07-17 | 南亚飞 | Architectural design roof eaves mouth waterproof construction |
Cited By (4)
| Publication number | Priority date | Publication date | Assignee | Title |
|---|---|---|---|---|
| CN112962640A (en) * | 2021-01-23 | 2021-06-15 | 上海友海建设工程有限公司 | Waterproof drainage device for hydraulic engineering construction and use method thereof |
| CN112962640B (en) * | 2021-01-23 | 2022-04-12 | 上海友海建设工程有限公司 | Waterproof drainage device for hydraulic engineering construction and use method thereof |
| CN113700230A (en) * | 2021-08-24 | 2021-11-26 | 中国五冶集团有限公司 | Ecological purification system for sponge city construction |
| CN113737938A (en) * | 2021-09-06 | 2021-12-03 | 德润建安工程集团有限公司 | Green house building |
Also Published As
| Publication number | Publication date |
|---|---|
| CN111962605B (en) | 2021-06-08 |
Similar Documents
| Publication | Publication Date | Title |
|---|---|---|
| CN206299051U (en) | A kind of environmentally friendly construction rainwater recovery device | |
| CN111962605A (en) | Sponge urban house rainwater collection device | |
| CN111608229A (en) | A rainwater collection and reuse system for green buildings | |
| CN108625451B (en) | A rainwater infiltration and drainage structure and circulation device in a sponge city | |
| CN112962713A (en) | Rainwater collection mechanism for municipal garden landscape | |
| CN213477103U (en) | Integrated intelligent sewage intercepting well | |
| CN217949214U (en) | Roof rainwater collecting device | |
| CN219175369U (en) | Rainwater collecting and recycling device | |
| CN216617011U (en) | Movable toilet with internal circulation water purification system | |
| CN213805773U (en) | A water collection device for sponge facilities in residential areas | |
| CN210713571U (en) | Roof cleaning device of sunshine room | |
| CN115262869A (en) | Permeable water collecting system for building soil-covered roof | |
| CN219031800U (en) | A farmland non-point source pollution control device | |
| CN214657410U (en) | A rainwater recycling equipment used in gardens in a sponge city | |
| CN114482225A (en) | A device for ecological restoration and management of soil and water conservation | |
| CN110206048A (en) | Highway side slope greening system | |
| CN218779574U (en) | A rainfall drainage structure | |
| CN219196517U (en) | Rainwater collecting device for house rainwater pipe | |
| CN220504020U (en) | A rainwater collection, purification and reuse device | |
| CN112112205B (en) | Road drainage ditch cleaning device | |
| CN222196095U (en) | A water reuse system | |
| CN204865192U (en) | Raw water edulcoration device | |
| CN221920043U (en) | House roof waterproof construction | |
| CN222614384U (en) | A rainwater collector | |
| CN221399257U (en) | Sponge urban seepage and drainage system |
Legal Events
| Date | Code | Title | Description |
|---|---|---|---|
| PB01 | Publication | ||
| PB01 | Publication | ||
| SE01 | Entry into force of request for substantive examination | ||
| SE01 | Entry into force of request for substantive examination | ||
| GR01 | Patent grant | ||
| GR01 | Patent grant | ||
| TR01 | Transfer of patent right | ||
| TR01 | Transfer of patent right |
Effective date of registration: 20250421 Address after: Room 314, Building A, Zhenglu Business Building, No. 342 Pingshan Road, Fengze District, Quanzhou City, Fujian Province, 362000 Patentee after: Jingyou Information Technology (Quanzhou Fengze) Co.,Ltd. Country or region after: China Address before: 214000 No. 12 Qianqiao Qianluo Road, Huishan District, Wuxi City, Jiangsu Province Patentee before: Wuxi Xinxing Construction Engineering Co.,Ltd. Country or region before: China |
