CN111705903B - 一种市政园林用防堵塞的雨水篦子 - Google Patents

一种市政园林用防堵塞的雨水篦子 Download PDF

Info

Publication number
CN111705903B
CN111705903B CN202010633622.3A CN202010633622A CN111705903B CN 111705903 B CN111705903 B CN 111705903B CN 202010633622 A CN202010633622 A CN 202010633622A CN 111705903 B CN111705903 B CN 111705903B
Authority
CN
China
Prior art keywords
plate
collecting tank
water collecting
water
floating
Prior art date
Legal status (The legal status is an assumption and is not a legal conclusion. Google has not performed a legal analysis and makes no representation as to the accuracy of the status listed.)
Active
Application number
CN202010633622.3A
Other languages
English (en)
Other versions
CN111705903A (zh
Inventor
唐姗姗
Current Assignee (The listed assignees may be inaccurate. Google has not performed a legal analysis and makes no representation or warranty as to the accuracy of the list.)
SHANDONG AOXIANG CONSTRUCTION ENGINEERING Co.,Ltd.
Original Assignee
Shandong Aoxiang Construction Engineering Co ltd
Priority date (The priority date is an assumption and is not a legal conclusion. Google has not performed a legal analysis and makes no representation as to the accuracy of the date listed.)
Filing date
Publication date
Application filed by Shandong Aoxiang Construction Engineering Co ltd filed Critical Shandong Aoxiang Construction Engineering Co ltd
Priority to CN202010633622.3A priority Critical patent/CN111705903B/zh
Publication of CN111705903A publication Critical patent/CN111705903A/zh
Application granted granted Critical
Publication of CN111705903B publication Critical patent/CN111705903B/zh
Active legal-status Critical Current
Anticipated expiration legal-status Critical

Links

Images

Classifications

    • EFIXED CONSTRUCTIONS
    • E03WATER SUPPLY; SEWERAGE
    • E03FSEWERS; CESSPOOLS
    • E03F5/00Sewerage structures
    • E03F5/04Gullies inlets, road sinks, floor drains with or without odour seals or sediment traps
    • E03F5/06Gully gratings
    • BPERFORMING OPERATIONS; TRANSPORTING
    • B26HAND CUTTING TOOLS; CUTTING; SEVERING
    • B26DCUTTING; DETAILS COMMON TO MACHINES FOR PERFORATING, PUNCHING, CUTTING-OUT, STAMPING-OUT OR SEVERING
    • B26D1/00Cutting through work characterised by the nature or movement of the cutting member or particular materials not otherwise provided for; Apparatus or machines therefor; Cutting members therefor
    • B26D1/01Cutting through work characterised by the nature or movement of the cutting member or particular materials not otherwise provided for; Apparatus or machines therefor; Cutting members therefor involving a cutting member which does not travel with the work
    • B26D1/04Cutting through work characterised by the nature or movement of the cutting member or particular materials not otherwise provided for; Apparatus or machines therefor; Cutting members therefor involving a cutting member which does not travel with the work having a linearly-movable cutting member
    • B26D1/06Cutting through work characterised by the nature or movement of the cutting member or particular materials not otherwise provided for; Apparatus or machines therefor; Cutting members therefor involving a cutting member which does not travel with the work having a linearly-movable cutting member wherein the cutting member reciprocates
    • EFIXED CONSTRUCTIONS
    • E03WATER SUPPLY; SEWERAGE
    • E03FSEWERS; CESSPOOLS
    • E03F7/00Other installations or implements for operating sewer systems, e.g. for preventing or indicating stoppage; Emptying cesspools

Landscapes

  • Life Sciences & Earth Sciences (AREA)
  • Engineering & Computer Science (AREA)
  • Health & Medical Sciences (AREA)
  • Hydrology & Water Resources (AREA)
  • Public Health (AREA)
  • Water Supply & Treatment (AREA)
  • Forests & Forestry (AREA)
  • Mechanical Engineering (AREA)
  • Road Paving Structures (AREA)
  • Sewage (AREA)

Abstract

本发明属于市政设施领域,尤其是涉及一种市政园林用防堵塞的雨水篦子,包括支撑架,所述支撑架可拆卸连接有盖板,所述盖板水平滑动连接有多组隔板,相邻所述隔板之间均通过导杆转动连接有浮板,所述浮板配合连接有集水槽,所述集水槽和支撑架滑动连接,所述集水槽远离盖板的一端转动连接有触发件,所述触发件和浮板配合设置。本发明通过设置一种市政园林用防堵塞的雨水篦子,使得雨水篦子在进行排水工作中可以防止落叶等杂质堵塞雨水篦子的进水口,提高雨水的排出效率,保证交通秩序的正常运行。

Description

一种市政园林用防堵塞的雨水篦子
技术领域
本发明属于市政设施领域,尤其是涉及一种市政园林用防堵塞的雨水篦子。
背景技术
雨水篦子是由扁钢及扭绞方钢或扁钢和扁钢焊接而成。雨水篦子具有外形美观、最佳排水、高强度、规格多及成本低等优点,所以通常采用钢格板雨水篦子。随着市政建设的要求不断增加,雨水篦子在实际使用过程中存在的一些不足也急需去完善。
现有技术中,雨水篦子的设计结构较为简单,进水口的栅板固定不可调整,导致篦子在进行排水工作时,容易出现垃圾堵塞的状况,尤其是面对园林等落叶偏多的场地,会造成排水不及时,地面产生雨水堆积的状况发生,降低人群以及车辆的行进效率,影响交通秩序的正常运行。
为此,我们提出一种市政园林用防堵塞的雨水篦子来解决上述问题。
发明内容
本发明的目的是针对上述问题,提供的一种篦子进水口的栅板可活动调节进而防止篦子堵塞的市政园林用防堵塞的雨水篦子。
为达到上述目的,本发明采用了下列技术方案:
一种市政园林用防堵塞的雨水篦子,包括支撑架,所述支撑架可拆卸连接有盖板,所述盖板水平滑动连接有多组隔板,相邻所述隔板之间均通过导杆转动连接有浮板,所述浮板配合连接有集水槽,所述集水槽和支撑架滑动连接,所述集水槽远离盖板的一端转动连接有触发件,所述触发件和浮板配合设置。
在上述的一种市政园林用防堵塞的雨水篦子中,所述盖板设有滑轨,所述隔板通过滑杆和滑轨滑动连接,所述滑杆设有收放槽,所述收放槽通过弹簧滑动连接有导流板。
在上述的一种市政园林用防堵塞的雨水篦子中,所述滑杆的两侧均通过导杆和浮板转动连接,所述滑杆通过浮板实现相对运动,所述集水槽设有排水孔,所述浮板和排水孔配合设置。
在上述的一种市政园林用防堵塞的雨水篦子中,所述触发件包括顶杆和压板,所述顶杆和压板相互靠近的一端均和浮板活动连接,所述集水槽设有排水口,所述排水口设有固定座,所述压板远离顶杆的一端设有磁杆,所述磁杆和固定座配合连接。
在上述的一种市政园林用防堵塞的雨水篦子中,所述导流板远离滑杆的一端固定连接有切割刀片,所述滑杆设有刀槽,所述切割刀片和刀槽配合连接。
与现有的技术相比,本一种市政园林用防堵塞的雨水篦子的优点在于:
1、本发明通过对雨水篦子设置活动连接的导流板,使得装置在进行排水工作时,可以在一定程度上根据雨水的流入量使得导流板进行相对运动,进而预防落叶等垃圾对雨水篦子的进水口产生堵塞,提高雨水的排出效率,保证交通秩序正常运行。
2、本发明通过对滑杆设置可收放的导流板,使得导流板在进行调节过程中能够进行挤压收缩,有效增加导流板的运动幅度,提高装置的防堵塞性能,保证篦子的排水效果,增加装置的实用性。
3、本发明通过对集水槽设置排水孔配合浮板进行使用,使得雨水篦子能够在不同降雨量的天气下进行对应的排水工作,在小雨天气时进行正常排水,在暴雨天气时进行活动排水,增加装置的功能性,适合范围进行推广。
4、本发明通过对浮板设置触发件,使得雨水篦子在暴雨天气下能够通过触发件实现集水槽内水量的调整工作,进而使得浮板带动导流板进行往复性的滑动,有效增加装置的防堵塞性能,防止掺杂在雨水中的落叶等杂质在排水过程中堵塞篦子的进水口,提高装置的排水效率。
5、本发明通过对导流板设置切割刀片,使得导流板在进行往复性运动时,可以对掺杂在雨水中的落叶等杂质进行一定的切割工作,有效预防落叶堵塞进水口,增加装置的防堵塞性能,保证雨水篦子的排水效率。
附图说明
图1是本发明提供的一种市政园林用防堵塞的雨水篦子实施例1中的结构示意图;
图2是图1中A处放大示意图;
图3是本发明提供的一种市政园林用防堵塞的雨水篦子实施例1的另一种状态的结构示意图;
图4是图3中B处放大示意图;
图5是图1的俯视结构示意图;
图6是本发明提供的一种市政园林用防堵塞的雨水篦子实施例1中隔板的结构示意图;
图7是图6的截面剖视结构示意图;
图8是本发明提供的一种市政园林用防堵塞的雨水篦子实施例2的结构示意图。
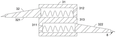
图中,1支撑架、11滑槽、2盖板、21滑轨、3隔板、31滑杆、311收放槽、312弹簧、313刀槽、32导流板、321第一横板、322第二横板、4导杆、5浮板、6集水槽、61排水孔、62排水口、63固定座、631第一磁性座、632第二磁性座、64滑块、65密封垫、7触发件、71顶杆、72压板、73磁杆、8切割刀片。
具体实施方式
以下实施例仅处于说明性目的,而不是想要限制本发明的范围。
实施例
如图1-7所示,一种市政园林用防堵塞的雨水篦子,包括支撑架1,支撑架1可拆卸连接有盖板2,需要说明的是,支撑架1和盖板2均采用矩形结构,装置使用时,支撑架1和下水道进口进行固定连接,支撑架1设有进水口,进水口倾斜设置,盖板2和进水口搭接设置,便于装置的放置工作。
盖板2水平滑动连接有多组隔板3,需要注意的是,盖板2设有滑轨21,隔板3通过滑杆31和滑轨21滑动连接,滑杆31采用矩形结构,滑杆31设有收放槽311,收放槽311通过弹簧312滑动连接有导流板32,导流板32采用梯形结构,导流板32包括第一横板321和第二横板322,第一横板321和第二横板322连接位置高低设置,相邻隔板3的导流板32之间交错设置,便于隔板3进行移动压缩工作。
相邻所述隔板3之间均通过导杆4转动连接有浮板5。
具体的,滑杆31的两侧均通过导杆4和浮板5转动连接,集水槽6设有排水孔61,浮板5和排水孔61配合设置,集水槽6设有限位槽,浮板5通过限位块和限位槽滑动连接,保证浮板5上下滑动过程中不会出现偏移。
更具体的,滑杆31的两端均通过转轴和导杆4转动连接,导杆4远离滑杆31的一端转动连接在浮板5上方,集水槽6的底部设有倾斜的导流层,排水孔61的孔径大小从下至上逐渐增大,使得雨水篦子能够在不同降雨量的天气下进行对应的排水工作,增加雨水篦子的资源利用,集水槽6靠近排水孔61的一端设有溢流口,便于超量雨水的流出工作。
集水槽6和支撑架1滑动连接,需要说明的是,支撑架1的进水口设有滑槽11,集水槽6对称设有滑块64,滑块64和滑槽11滑动连接,便于工作人员的安装工作。
集水槽6转动连接有触发件7,触发件7和浮板5配合连接。
具体的,触发件7包括顶杆71和压板72,顶杆71和压板72通过转动轴和集水槽6转动连接,顶杆71和压板72均倾斜设置,顶杆71和压板72以及浮板5的边缘均采用弧形结构,顶杆71和压板72相互靠近的一端均和浮板5活动连接,浮板5通过集水槽6内水量的高低实现对顶杆71和压板72的触发工作,压板72和集水槽6配合设置。
更具体的,集水槽6设有排水口62,排水口62设有固定座63,固定座63采用永磁性材料,固定座63包括第一磁性座631和第二磁性座632,第一磁性座631和第二磁性座632均设弧形槽,压板72远离顶杆71的一端设有磁杆73,磁杆73和弧形槽配合连接,用于对排水口62的开启和关闭工作,排水口62靠近压板72的一端设有密封垫65,提高压板72关闭时的密封性。
现对本发明的操作原理做如下描述:
本发明使用时,雨水篦子在降雨量较低的天气使用时,雨水直接通过导流板32的倾斜面流入到集水槽6内,通过集水槽6底部最小孔径的排水孔61流入到下水道内;雨水篦子在降雨量较大的天气使用时,雨水通过导流板32的倾斜面流入到集水槽6内,此时雨水篦子的进水量大于集水槽6底部最小孔径的排水孔61排水量,使得集水槽6内水位上涨,浮板5随着水位的上升进行上移动作,浮板5转动连接的导杆4带动滑杆31和盖板2的滑轨21进行滑动工作,使得导流板32相互靠近的一端进行压缩工作,导流板32相互远离的一端进行张开工作,提高篦子的引流量,预防导流板32之间被杂质堵塞,雨水进入集水槽6后通过较大孔径的排水孔61进行排出工作,提高雨水的排出效率,同时便于部分落叶等杂质通过导流板32的间隙进入装置内部;雨水篦子在暴雨天气使用时,雨水通过导流板32的倾斜面流入到集水槽6内,此时雨水篦子的进水量远大于集水槽6的排水孔61排水量,浮板5在水位的上涨下进行上升,使得导流板32之间的间隙达到最大,浮板5上升过程顶部触发倾斜的顶杆71,使得压板72的磁杆73脱离第一磁性座631和第二磁性座632进行磁吸固定,排水口62扩张到最大进行排水工作,此时,集水槽6的排水量大于篦子的引流量,集水槽6内的水位降低后浮板5进行下降,直至浮板5的底部和压板72进行触发,压板72在浮板5自身重力作用以及弹簧312的作用下和第二磁性座632进行脱离,进而和第一磁性座631进行磁吸固定,排水口62关闭,集水槽6进行积水工作,浮板5随着水位进行上升动作,通过对集水槽6的出水流量进行调节,使得集水槽6内的水位进行不断改变,进而使得导流板32通过滑杆31和滑轨21进行移动张合,有效防止雨水中的落叶等杂质在排水过程中堵塞导流板32之间的间隙,提高雨水篦子的排水效率。
实施例2
如图8所示,本实施例与实施例1的不同之处在于:
导流板32远离滑杆31的一端固定连接有切割刀片8,滑杆31设有刀槽313,切割刀片8和刀槽313配合连接,需要说明的是,相邻导流板32在浮板5的带动下进行活动张合过程中,切割刀片8能够对掺杂在雨水中的落叶等杂质进行一定的切割工作,有效防止杂质堵塞装置,提高雨水的排出效率,增加装置的实用性。
以上所述仅为本发明的较佳实施例,并不用以限制本发明,凡在本发明的精神和原则之内,所作的任何修改、等同替换、改进等,均应包含在本发明的保护范围之内。

Claims (1)

1.一种市政园林用防堵塞的雨水篦子,包括支撑架(1),其特征在于,所述支撑架(1)可拆卸连接有盖板(2),所述盖板(2)水平滑动连接有多组隔板(3),相邻所述隔板(3)之间均通过导杆(4)转动连接有浮板(5),所述浮板(5)配合连接有集水槽(6),所述集水槽(6)和支撑架(1)滑动连接,所述集水槽(6)远离盖板(2)的一端转动连接有触发件(7),所述触发件(7)和浮板(5)配合设置;
所述盖板(2)设有滑轨(21),所述隔板(3)通过滑杆(31)和滑轨(21)滑动连接,所述滑杆(31)设有收放槽(311),所述收放槽(311)通过弹簧(312)滑动连接有导流板(32);
所述滑杆(31)的两侧均通过导杆(4)和浮板(5)转动连接,所述滑杆(31)通过浮板(5)实现相对运动,所述集水槽(6)设有排水孔(61),所述浮板(5)和排水孔(61)配合设置;
所述触发件(7)包括顶杆(71)和压板(72),所述顶杆(71)和压板(72)相互靠近的一端均和浮板(5)活动连接,所述集水槽(6)设有排水口(62),所述排水口(62)设有固定座(63),所述压板(72)远离顶杆(71)的一端设有磁杆(73),所述磁杆(73)和固定座(63)配合连接;
所述导流板(32)远离滑杆(31)的一端固定连接有切割刀片(8),所述滑杆(31)设有刀槽(313),所述切割刀片(8)和刀槽(313)配合连接。
CN202010633622.3A 2020-07-02 2020-07-02 一种市政园林用防堵塞的雨水篦子 Active CN111705903B (zh)

Priority Applications (1)

Application Number Priority Date Filing Date Title
CN202010633622.3A CN111705903B (zh) 2020-07-02 2020-07-02 一种市政园林用防堵塞的雨水篦子

Applications Claiming Priority (1)

Application Number Priority Date Filing Date Title
CN202010633622.3A CN111705903B (zh) 2020-07-02 2020-07-02 一种市政园林用防堵塞的雨水篦子

Publications (2)

Publication Number Publication Date
CN111705903A CN111705903A (zh) 2020-09-25
CN111705903B true CN111705903B (zh) 2021-07-30

Family

ID=72545052

Family Applications (1)

Application Number Title Priority Date Filing Date
CN202010633622.3A Active CN111705903B (zh) 2020-07-02 2020-07-02 一种市政园林用防堵塞的雨水篦子

Country Status (1)

Country Link
CN (1) CN111705903B (zh)

Families Citing this family (3)

* Cited by examiner, † Cited by third party
Publication number Priority date Publication date Assignee Title
CN112431296A (zh) * 2020-11-27 2021-03-02 西京学院 一种市政下水道顶盖
CN112746663B (zh) * 2021-01-11 2024-10-01 张忠欣 一体化路面雨水排涝装置
CN113565195B (zh) * 2021-09-10 2023-03-21 江西电力职业技术学院 路面排水系统及其的控制方法

Citations (7)

* Cited by examiner, † Cited by third party
Publication number Priority date Publication date Assignee Title
CN204212254U (zh) * 2014-10-16 2015-03-18 杭州中艺园林工程有限公司 一种环保雨水口初级净化结构
KR20160116446A (ko) * 2015-03-30 2016-10-10 필립산업 (주) 배수용 그레이팅
CN106592745A (zh) * 2016-12-06 2017-04-26 福建江夏学院 井盖浮力式自启闭系统及其工作方法
CN107842098A (zh) * 2017-12-08 2018-03-27 毕铭桓 智能下水井盖装置
CN108018939A (zh) * 2017-12-28 2018-05-11 南京工程学院 可自动调节维护排水盖板
CN208633254U (zh) * 2018-07-31 2019-03-22 青岛黄海学院 一种基于雨水浮力的全自动防堵塞雨水篦子
CN110374184A (zh) * 2019-08-05 2019-10-25 河南新之源园林绿化设计有限公司 一种流量自调节型雨水篦子

Patent Citations (7)

* Cited by examiner, † Cited by third party
Publication number Priority date Publication date Assignee Title
CN204212254U (zh) * 2014-10-16 2015-03-18 杭州中艺园林工程有限公司 一种环保雨水口初级净化结构
KR20160116446A (ko) * 2015-03-30 2016-10-10 필립산업 (주) 배수용 그레이팅
CN106592745A (zh) * 2016-12-06 2017-04-26 福建江夏学院 井盖浮力式自启闭系统及其工作方法
CN107842098A (zh) * 2017-12-08 2018-03-27 毕铭桓 智能下水井盖装置
CN108018939A (zh) * 2017-12-28 2018-05-11 南京工程学院 可自动调节维护排水盖板
CN208633254U (zh) * 2018-07-31 2019-03-22 青岛黄海学院 一种基于雨水浮力的全自动防堵塞雨水篦子
CN110374184A (zh) * 2019-08-05 2019-10-25 河南新之源园林绿化设计有限公司 一种流量自调节型雨水篦子

Also Published As

Publication number Publication date
CN111705903A (zh) 2020-09-25

Similar Documents

Publication Publication Date Title
CN111705903B (zh) 一种市政园林用防堵塞的雨水篦子
CN111827451B (zh) 一种市政道路用防堵塞雨水篦子
CN211872910U (zh) 一种用于水利闸门的垃圾清理装置
CN212103905U (zh) 一种基于水利水电工程设计用堤坝护坡结构
CN221001325U (zh) 一种用于市政工程的雨水口收集装置
CN209760175U (zh) 河道水闸
CN209760184U (zh) 便于清理垃圾的水闸
CN217247372U (zh) 一种市政雨水收集装置
CN213174500U (zh) 一种绿色建筑的雨水收集装置
CN112695877A (zh) 一种道路井盖
CN116122403A (zh) 一种可实现城市内涝防洪自排功能的排水井盖及其方法
CN214833279U (zh) 一种园林排水装置
CN213375404U (zh) 一种水电站进水口固体垃圾过滤装置
CN217174567U (zh) 水体景观河道
CN120250778B (zh) 一种海绵城市生态绿化智能养护系统
CN114182804A (zh) 多功能智能分流井
CN222375553U (zh) 一种光伏板雨水收集装置
CN110476601A (zh) 一种河道水草收集机器人用分段切割装置
CN112962760A (zh) 一种带有植被种植层的市政排水沟
CN214363347U (zh) 一种水利工程用泄洪槽
CN213296274U (zh) 一种水利工程截水闸
CN222456004U (zh) 一种水利工程用防污栅的防污结构
CN217871442U (zh) 一种建筑屋顶檐口用排水管
CN222266335U (zh) 一种光伏电站水处理过滤防堵塞装置
CN222513159U (zh) 一种护坡排水结构

Legal Events

Date Code Title Description
PB01 Publication
PB01 Publication
SE01 Entry into force of request for substantive examination
SE01 Entry into force of request for substantive examination
TA01 Transfer of patent application right

Effective date of registration: 20210712

Address after: Room 612, 6 / F, building a, financial port, 55 Fuqian street, Dongying District, Dongying City, Shandong Province 257029

Applicant after: SHANDONG AOXIANG CONSTRUCTION ENGINEERING Co.,Ltd.

Address before: 225321 north side of Far East Avenue, Gaogang Port Industrial Park, Taizhou City, Jiangsu Province

Applicant before: Tang Panpan

TA01 Transfer of patent application right
GR01 Patent grant
GR01 Patent grant