CN111663285B - a washing machine - Google Patents
a washing machine Download PDFInfo
- Publication number
- CN111663285B CN111663285B CN201910173549.3A CN201910173549A CN111663285B CN 111663285 B CN111663285 B CN 111663285B CN 201910173549 A CN201910173549 A CN 201910173549A CN 111663285 B CN111663285 B CN 111663285B
- Authority
- CN
- China
- Prior art keywords
- output shaft
- engaging structure
- clamping
- washing machine
- pulsator
- Prior art date
- Legal status (The legal status is an assumption and is not a legal conclusion. Google has not performed a legal analysis and makes no representation as to the accuracy of the status listed.)
- Active
Links
Images
Classifications
-
- D—TEXTILES; PAPER
- D06—TREATMENT OF TEXTILES OR THE LIKE; LAUNDERING; FLEXIBLE MATERIALS NOT OTHERWISE PROVIDED FOR
- D06F—LAUNDERING, DRYING, IRONING, PRESSING OR FOLDING TEXTILE ARTICLES
- D06F17/00—Washing machines having receptacles, stationary for washing purposes, wherein the washing action is effected solely by circulation or agitation of the washing liquid
- D06F17/06—Washing machines having receptacles, stationary for washing purposes, wherein the washing action is effected solely by circulation or agitation of the washing liquid by rotary impellers
- D06F17/08—Driving arrangements for the impeller
-
- D—TEXTILES; PAPER
- D06—TREATMENT OF TEXTILES OR THE LIKE; LAUNDERING; FLEXIBLE MATERIALS NOT OTHERWISE PROVIDED FOR
- D06F—LAUNDERING, DRYING, IRONING, PRESSING OR FOLDING TEXTILE ARTICLES
- D06F37/00—Details specific to washing machines covered by groups D06F21/00 - D06F25/00
- D06F37/30—Driving arrangements
- D06F37/40—Driving arrangements for driving the receptacle and an agitator or impeller, e.g. alternatively
Landscapes
- Engineering & Computer Science (AREA)
- Textile Engineering (AREA)
- Structures Of Non-Positive Displacement Pumps (AREA)
Abstract
本发明提供了一种洗衣机,包括输出轴、以及与所述输出轴可拆卸连接的波轮组件,所述波轮组件具有波轮、以及用于所述波轮组件轴向卡合定位的卡合结构,在所述输出轴上开设有与所述卡合结构相匹配的至少一个卡槽,通过磁力来实现所述卡合结构与卡槽的脱离。通过磁力来实现所述卡合结构与卡槽的脱离,在需要拆卸波轮组件时,产生磁力吸引卡合结构,实现所述卡合结构与卡槽的脱离,使得拆卸操作简单;在波轮拆卸后将磁力撤销,使得卡合结构复位,再将波轮组件安装到位;通过磁力吸引或排斥实现拆卸,可以在不对波轮组件的任何部件进行拆卸的情况下,实现对于卡合结构施加力,实现卡合固定的脱离,使得卡合结构的结构设置简单,操作省力方便。
The invention provides a washing machine, comprising an output shaft and a pulsator assembly detachably connected to the output shaft, the pulsator assembly has a pulsator, and a card for axially engaging and positioning the pulsator assembly An engaging structure, at least one slot matching the engaging structure is provided on the output shaft, and the detachment of the engaging structure from the engaging slot is realized by magnetic force. The detachment of the engaging structure from the card slot is achieved by magnetic force, and when the pulsator assembly needs to be disassembled, a magnetic force is generated to attract the engaging structure to realize the detachment of the engaging structure from the card slot, making the disassembly operation simple; After disassembly, the magnetic force is cancelled, so that the engaging structure is reset, and then the pulsator assembly is installed in place; the disassembly is realized by magnetic attraction or repulsion, and it is possible to apply force to the engaging structure without disassembling any part of the pulsator assembly , to realize the disengagement of the clamping and fixing, so that the structural setting of the clamping structure is simple, and the operation is labor-saving and convenient.
Description
技术领域technical field
本发明属于洗衣机技术领域,具体涉及一种洗衣机。The invention belongs to the technical field of washing machines, and in particular relates to a washing machine.
背景技术Background technique
现有的洗衣机在使用一定的时间后,通常会在波轮下表面、内桶和外桶壁上的不可见位置留下一些污垢和细菌,不易清洗。长时间不清洗甚至会造成交叉感染、皮肤病等疾病。目前对于上述各部件的清洗,最可靠的办法是将各个部件拆卸下来后再进行清洗。但是由于现有的洗衣机的波轮和驱动部件的输出轴之间大都是通过螺栓固定连接的,波轮的拆卸和安装比较麻烦,不利于波轮的清洗;而且长期浸泡于水中的螺钉与波轮塑件结合粘结,也常会出现无法拆下来的问题。也有部分洗衣机的波轮采用可拆卸方式连接于输出轴,但是其可拆卸的结构过于复杂,依旧存在拆卸不便的问题。After the existing washing machine is used for a certain period of time, some dirt and bacteria will usually be left on the lower surface of the pulsator, the invisible positions on the walls of the inner tub and the outer tub, which is not easy to clean. If it is not cleaned for a long time, it may even cause cross-infection, skin diseases and other diseases. For the cleaning of above-mentioned each parts at present, the most reliable way is to clean after each part is disassembled. However, because the wave wheel of the existing washing machine and the output shaft of the driving part are mostly fixedly connected by bolts, the disassembly and installation of the wave wheel are troublesome, which is not conducive to the cleaning of the wave wheel; and the screws and wave wheels soaked in water for a long time Wheel-plastic parts are combined and bonded, and there are often problems that cannot be removed. There are also wave wheels of some washing machines that are detachably connected to the output shaft, but the detachable structure is too complicated, and there is still the problem of inconvenient disassembly.
发明内容Contents of the invention
本发明针对现有技术中存在的上述问题,提供一种洗衣机,以解决现有洗衣机存在着的波轮拆卸不便的问题,实现洗衣机波轮的快速拆卸与安装。Aiming at the above problems in the prior art, the present invention provides a washing machine to solve the problem of inconvenient disassembly of the pulsator existing in the existing washing machine, and realize quick disassembly and installation of the pulsator of the washing machine.
为达到上述技术目的,本发明采用以下技术方案实现:In order to achieve the above-mentioned technical purpose, the present invention adopts the following technical solutions to realize:
一种洗衣机,包括输出轴、以及与所述输出轴可拆卸连接的波轮组件,所述波轮组件具有波轮、以及用于所述波轮组件轴向卡合定位的卡合结构,在所述输出轴上开设有与所述卡合结构相匹配的至少一个卡槽,通过磁力来实现所述卡合结构与卡槽的脱离。A washing machine, comprising an output shaft, and a pulsator assembly detachably connected to the output shaft, the pulsator assembly has a pulsator, and an engaging structure for the axial engagement and positioning of the pulsator assembly. The output shaft is provided with at least one engaging slot matching the engaging structure, and the engaging structure is disengaged from the engaging slot through magnetic force.
进一步的,所述卡合结构与拆卸工具之间产出驱动所述卡合结构与所述卡槽脱离的磁力。Further, a magnetic force is generated between the engaging structure and the removal tool to drive the engaging structure to disengage from the slot.
进一步的,所述卡合结构包括与所述卡槽相匹配卡合的卡紧件、锁定所述卡紧件处于卡合状态的限定件,所述卡紧件相对于所述限定件可径向移动。Further, the engaging structure includes a clamping part that matches and engages with the clamping slot, and a limiting part that locks the clamping part in an engaged state, and the clamping part can be diametrically opposed to the limiting part. to move.
进一步的,所述限定件上开设有用于所述输出轴穿过的第一通孔。Further, a first through hole for the output shaft to pass through is opened on the limiting member.
进一步的,所述波轮组件还包括容纳所述卡紧件和限定件的定位腔,所述定位腔具有用于限定所述卡紧件径向位移的定位腔壁,所述卡紧件与所述定位腔壁接触,所述定位腔的底部开设有用于所述输出轴穿过的第二通孔。Further, the pulsator assembly also includes a positioning chamber for accommodating the clamping member and the limiting member, the positioning chamber has a positioning chamber wall for limiting the radial displacement of the clamping member, and the clamping member and the limiting member The walls of the positioning cavity are in contact, and the bottom of the positioning cavity is provided with a second through hole for the output shaft to pass through.
进一步的,所述定位腔壁在沿所述卡定结构脱离的方向上逐渐向外延伸,所述限定件位于所述卡紧件的上方。Further, the wall of the positioning cavity gradually extends outward along the direction of disengagement of the locking structure, and the limiting part is located above the clamping part.
进一步的,所述卡合结构还包括推动所述限定件、实现卡紧件与卡槽卡合安装的弹力件。Further, the engaging structure further includes an elastic member that pushes the limiting member to realize the engaging installation of the clamping member and the slot.
进一步的,所述定位腔还设有径向向外延伸设置的定位固定部,所述定位固定部与所述波轮固定连接,在所述第二通孔的边缘设有向下延伸设置的第二定位沿。Further, the positioning cavity is also provided with a positioning and fixing part extending radially outward, the positioning and fixing part is fixedly connected with the pulsator, and a downward extending The second positioning edge.
进一步的,所述波轮组件还包括与所述波轮固定设置的外盖,所述外盖包覆在所述定位腔的外侧,所述弹力件位于所述外盖和限定件之间。Further, the pulsator assembly further includes an outer cover fixedly arranged with the pulsator, the outer cover covers the outside of the positioning cavity, and the elastic member is located between the outer cover and the limiting member.
进一步的,在所述外盖上设有向下延伸的第四延伸沿,所述弹力件套装在所述第四延伸沿的外侧。Further, a fourth extending edge extending downward is provided on the outer cover, and the elastic member is sleeved on the outside of the fourth extending edge.
进一步的,所述限定件包括向上延伸的第一限位沿,所述输出轴穿过所述第一限位沿,所述弹力件套装在所述第一延伸沿的外侧。Further, the limiting member includes a first limiting edge extending upward, the output shaft passes through the first limiting edge, and the elastic member is sleeved on the outside of the first extending edge.
进一步的,所述限定件包括用于容纳所述卡紧件的容纳腔,所述容纳腔套装在所述输出轴的外侧,在所述容纳腔的腔壁上开设有用于所述卡紧件伸出的开口,所述卡紧件伸出所述开口并与所述容纳腔的腔壁接触。Further, the restricting member includes a housing cavity for housing the clamping component, the housing cavity is sleeved on the outside of the output shaft, and a cavity for the clamping component is opened on the wall of the housing cavity. The protruding opening, the clamping member protrudes from the opening and contacts the cavity wall of the accommodating cavity.
进一步的,当所述波轮组件与输出轴卡合固定后,所述卡槽部分或者全部位于所述容纳腔内。Further, after the pulsator assembly is engaged and fixed with the output shaft, part or all of the locking groove is located in the accommodating cavity.
进一步的,在所述输出轴的周向上开设有与所述卡紧件数量相同的所述卡槽。Further, the same number of locking slots as the number of the clamping parts are opened in the circumferential direction of the output shaft.
进一步的,在所述输出轴上设置缩颈形成所述卡槽。Further, a constriction is provided on the output shaft to form the locking groove.
进一步的,所述卡紧件为球形。Further, the clamping member is spherical.
进一步的,所述限定件和/或卡紧件采用可被磁体吸附的金属材料。Further, the restricting member and/or the clamping member is made of a metal material that can be attracted by a magnet.
进一步的,所述波轮组件还包括与套装在所述输出轴外侧的连接件,在所述连接件与输出轴之间设有防止二者相对旋转的锁定件,所述连接件位于所述波轮组件的下部。Further, the pulsator assembly also includes a connecting piece sleeved on the outside of the output shaft, a locking piece is provided between the connecting piece and the output shaft to prevent relative rotation between the two, and the connecting piece is located on the The lower part of the impeller assembly.
进一步的,所述输出轴包括同轴固定设置的第一输出轴和第二输出轴,所述第一输出轴的直径大于所述第二输出轴的直径,在所述连接件上开设有与所述第一输出轴和第二输出轴相匹配的台阶孔。Further, the output shaft includes a first output shaft and a second output shaft fixed coaxially, the diameter of the first output shaft is larger than the diameter of the second output shaft, and a The stepped holes of the first output shaft and the second output shaft match.
进一步的,所述拆卸工具包括磁体、用于固定所述磁体的磁体固定部、以及位于所述磁体固定部上部的手持部,所述手持部具有周向且向外伸出设置的多个手持筋。Further, the removal tool includes a magnet, a magnet fixing part for fixing the magnet, and a handle part located on the upper part of the magnet fixing part. ribs.
进一步的,在所述手持部的上端设有环形的拉手。Further, an annular handle is provided on the upper end of the handle.
本发明提供的洗衣机,通过设置卡合结构和卡槽卡合实现波轮组件的轴向固定,使得波轮组件的安装简单方便;并通过磁力来实现所述卡合结构与卡槽的脱离,在需要拆卸波轮组件时,产生磁力吸引卡合结构,实现所述卡合结构与卡槽的脱离,使得拆卸操作简单;在波轮拆卸后将磁力撤销,使得卡合结构复位,再将波轮组件安装到位;通过磁力吸引或排斥实现拆卸,由于磁力的穿透性,可以在不对波轮组件的任何部件进行拆卸的情况下,实现对于卡合结构施加力,实现卡合固定的脱离,使得卡合结构的结构设置简单,操作省力方便。In the washing machine provided by the present invention, the axial fixation of the pulsator assembly is realized by setting the engaging structure and the engagement of the card slot, so that the installation of the pulsator assembly is simple and convenient; and the detachment of the engaging structure and the card slot is realized by magnetic force, When the pulsator assembly needs to be disassembled, a magnetic force is generated to attract the engaging structure, and the detachment of the engaging structure from the card slot is realized, so that the disassembly operation is simple; The wheel assembly is installed in place; disassembly is achieved by magnetic attraction or repulsion. Due to the penetrability of the magnetic force, it is possible to apply force to the snap-fit structure without disassembling any part of the impeller assembly to realize the detachment of the snap-fit. The structural setting of the engaging structure is simple, and the operation is labor-saving and convenient.
结合附图阅读本发明的具体实施方式后,本发明的其他特点和优点将变得更加清楚。Other characteristics and advantages of the present invention will become clearer after reading the detailed description of the present invention in conjunction with the accompanying drawings.
附图说明Description of drawings
图1为本发明所提出的洗衣机的第一个实施例的结构示意图;Fig. 1 is the structural representation of the first embodiment of the washing machine proposed by the present invention;
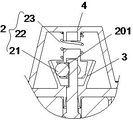
图2为图1中A-A向剖视放大结构示意图;Fig. 2 is a schematic diagram of the enlarged structure of the cross-sectional view of A-A in Fig. 1;
图3为图2中卡合结构处的放大结构示意图;Fig. 3 is a schematic diagram of an enlarged structure of the engaging structure in Fig. 2;
图4为图2中波轮组件拆卸后的部分结构放大示意图;Fig. 4 is an enlarged schematic diagram of part of the structure after disassembly of the pulsator assembly in Fig. 2;
图5为图2中输出轴的结构示意图;Fig. 5 is a schematic structural view of the output shaft in Fig. 2;
图6为图5中第二输出轴的放大结构示意图;Fig. 6 is a schematic diagram of the enlarged structure of the second output shaft in Fig. 5;
图7为图4中限定件的放大结构示意图;Fig. 7 is a schematic diagram of the enlarged structure of the limiting part in Fig. 4;
图8为图2中定位腔的放大结构示意图;Fig. 8 is a schematic diagram of an enlarged structure of the positioning cavity in Fig. 2;
图9为拆卸工具的结构示意图;Fig. 9 is a structural schematic diagram of a removal tool;
图10为图9的主视结构示意图;Fig. 10 is a schematic diagram of the front view of Fig. 9;
图11为图10的剖视结构示意图;Fig. 11 is a schematic cross-sectional structure diagram of Fig. 10;
图12为波轮组件的拆卸方法流程图;Fig. 12 is a flow chart of the dismounting method of the pulsator assembly;
图13为本发明所提出的洗衣机的第二个实施例的结构示意图;Fig. 13 is a schematic structural view of a second embodiment of the washing machine proposed by the present invention;
图14为图14中卡合结构处的放大结构示意图;Fig. 14 is a schematic diagram of an enlarged structure at the engaging structure in Fig. 14;
图15为图13中输出轴的结构示意图;Fig. 15 is a schematic structural view of the output shaft in Fig. 13;
图16为本发明所提出的洗衣机的第三个实施例的结构示意图;Fig. 16 is a schematic structural view of a third embodiment of the washing machine proposed by the present invention;
图17为图16中卡合结构处的放大结构示意图。FIG. 17 is an enlarged structural schematic diagram of the engaging structure in FIG. 16 .
具体实施方式Detailed ways
为使本发明实施例的目的、技术方案和优点更加清楚,下面将结合本发明实施例中的附图,对本发明实施例中的技术方案进行清楚、完整地描述。In order to make the purpose, technical solutions and advantages of the embodiments of the present invention more clear, the technical solutions in the embodiments of the present invention will be clearly and completely described below in conjunction with the drawings in the embodiments of the present invention.
在本发明的描述中,需要说明的是,术语 “内”、“上”、“下”、“左”、“右”等指示的方位或位置关系为基于附图所示的位置关系,以靠近波轮组件轴线的方向为“内”,波轮组件轴线的方向为 “外”。术语仅是为了便于描述本发明和简化描述,而不是指示或暗示所指的装置或元件必须具有特定的方位、以特定的方位构造和操作,因此不能理解为对本发明的限制。此外,术语“第一”、“第二”、“第三”仅用于描述目的,而不能理解为指示或暗示相对重要性;限定有“第一”、“第二”的特征可以明示或者隐含地包括一个或者更多个该特征。在本发明的描述中,“多个”的含义是两个或两个以上,除非另有明确具体的限定。In the description of the present invention, it should be noted that the orientation or positional relationship indicated by the terms "inner", "upper", "lower", "left", "right" etc. is based on the positional relationship shown in the drawings, and The direction close to the axis of the pulsator assembly is "inner", and the direction of the axis of the pulsator assembly is "outer". The terminology is only used to describe the present invention and simplify the description, but does not indicate or imply that the device or element referred to must have a specific orientation, be constructed and operated in a specific orientation, and thus should not be construed as limiting the present invention. In addition, the terms "first", "second", and "third" are used for descriptive purposes only, and cannot be interpreted as indicating or implying relative importance; features defined with "first" and "second" may express or One or more of these features are implicitly included. In the description of the present invention, "plurality" means two or more, unless otherwise specifically defined.
在本发明中,除非另有明确的规定和限定,术语“安装”、“相连”、“连接”、“固定”等术语应做广义理解,例如,可以是固定连接,也可以是可拆卸连接,或成一体;可以是机械连接,也可以是电连接;可以是直接相连,也可以通过中间媒介间接相连,可以是两个元件内部的连通或两个元件的相互作用关系。对于本领域的普通技术人员而言,可以根据具体情况理解上述术语在本发明中的具体含义。In the present invention, unless otherwise clearly specified and limited, terms such as "installation", "connection", "connection" and "fixation" should be understood in a broad sense, for example, it can be a fixed connection or a detachable connection , or integrated; it can be mechanically connected or electrically connected; it can be directly connected or indirectly connected through an intermediary, and it can be the internal communication of two components or the interaction relationship between two components. Those of ordinary skill in the art can understand the specific meanings of the above terms in the present invention according to specific situations.
参阅图1-图12,本发明所提出的洗衣机的第一个实施例,一种洗衣机包括与驱动电机连接的输出轴20、以及与输出轴20可拆卸连接的波轮组件10,波轮组件10可整体的与输出轴20卡合固定或者脱离分开,波轮组件10具有波轮1、以及用于波轮组件10轴向定位的卡合结构2,在输出轴20上开设有与卡合结构2相匹配的至少一个卡槽201,通过磁力来实现卡合结构2与卡槽201的脱离。通过设置卡合结构2和卡槽201卡合实现波轮组件10的轴向固定,使得波轮组件10的安装简单方便;在需要拆卸波轮组件10时,产生磁力吸引卡合结构2,实现卡合结构2与卡槽201的脱离,使得拆卸操作简单;在波轮1拆卸后将磁力撤销,使得卡合结构2复位,再将波轮组件安装到位;通过磁力吸引或排斥实现拆卸,由于磁力的穿透性,可以在不对波轮组件10的任何部件进行拆卸的情况下,实现对于卡合结构2施加力,实现卡合固定的脱离,使得卡合结构2的结构设置简单,操作省力方便。1-12, the first embodiment of the washing machine proposed by the present invention, a washing machine includes an
本实施例中,对于卡合结构2的拆卸需要拆卸工具30,拆卸工具30具有磁体301,磁体301为磁铁或电磁铁,优选设置为磁铁。在需要拆卸波轮组件10时,将拆卸工具30放置到波轮组件10的卡合结构2的上方,或者说是放置到卡合结构2脱离的运动方向上,拆卸工具30靠近卡合结构2后,拆卸工具30和卡合结构2之间产生相吸引的磁力,吸引卡合结构2向靠近拆卸工具30的方向移动,也就是向上移动,使得卡合结构2与卡槽201脱离,也就是波轮组件10与输出轴20之间的轴向锁定解除;之后将波轮组件10向上移动与输出轴20脱离,实现波轮组件10的拆卸;之后将拆卸工具30拿开,使得卡合结构2复位。在波轮组件10清理干净后,将波轮组件10安装到输出轴20上,并使卡合结构2与卡槽201卡合。In this embodiment, disassembly of the engaging
参见图3所示,卡合结构2包括与卡槽201相匹配卡合的卡紧件21、以及锁定卡紧件21处于卡合状态的限定件22,卡紧件21相对于限定件22可径向移动,限定件22上开设有用于输出轴20穿过的第一通孔221。限定件22限定卡紧件21在轴向的位置,卡紧件21相对于限定件22可径向移动,实现卡紧件21与卡槽201的卡合和脱离;在拆卸波轮组件10时,卡合结构2向靠近洗衣机衣服投入口方向的方向移动时,使得卡紧件21从卡槽201中退出,解除了卡合结构2与输出轴20之间的轴向卡合锁定。As shown in FIG. 3 , the engaging
波轮组件10还包括容纳卡紧件21和限定件22的定位腔3,定位腔3具有用于限定卡紧件21径向位移的定位腔壁31,卡紧件21与定位腔壁31接触,在定位腔3的底部开设有用于输出轴20伸入的第二通孔32,定位腔3的上端为敞口端。卡紧件21通过限定件22、定位腔壁31、以及卡槽201进行限位锁定,在波轮组件10拆卸时,通过限定件22的移动实现对于卡紧件21锁定的接除。卡紧件21在径向上内侧接触卡槽201的槽底、外侧接触定位腔壁31,通过设置定位腔壁31在靠近定位腔3敞口端的方向上逐渐向外延伸,也就是定位腔壁31向上且向外延伸;在波轮组件10安装固定后,定位腔壁31与卡槽201的槽底之间的距离在向上方向上逐渐增加,也就是径向的距离在向上方向上逐渐增加。在波轮组件10拆卸时,拆卸工具30吸引卡合结构2向上移动,使得卡紧件21和限定件22向上移动,使得卡紧件21在径向上具有了向外移动的空间;卡紧件21向上移动,在到达卡槽201的上端时,由于定位腔壁31的倾斜设置,在卡紧件21向上移动后,定位腔壁31不再挡紧卡紧件21,使得卡紧件21向外移动,脱离卡槽201;之后将波轮组件10向上提起就可,此时卡合锁定已经解除。The
在其他实施例中,定位腔3可以不设置上端的敞口,而是在定位腔3上端开设有稍大的开口就可。In other embodiments, the
卡合结构2还包括为限定件22提供推动力的弹力件23,卡合结构2与卡槽201卡合固定后,弹力件23给予限定件22向下的弹力,将卡紧件21限定在在卡槽201处,实现对于波轮组件2的卡合固定。在波轮组件2拆卸时,将拆卸工具30放置到卡合结构2的上方,使得拆卸工具30给予卡合结构2向上的吸引力,弹力件23给予卡合结构2向下的弹力,设置拆卸工具30给予卡合结构2的磁性吸引力大于弹力和卡合结构2的重力之和,可以使得卡合结构2向上移动,当然还需要克服摩擦力。The engaging
卡合结构2的卡紧件21和限定件22中至少一个为采用可被磁体301吸附的金属材料。当限定件22采用磁性金属材料、而卡紧件21不采用时,拆卸工具30给予限定件22向上的吸引力,在限定件22向上移动时,带动卡紧件21一起向上移动;在卡紧件21向上移动后就具有相对于限定件22可径向移动的空间;实现卡紧件21与卡槽201的卡合和脱离。At least one of the clamping
当卡紧件21采用磁性金属材料、而限定件22不采用时,拆卸工具30吸引卡紧件21向上移动,带动限定件22一起向上移动,之后卡紧件21具有了可径向移动的空间,在卡紧件21到达卡槽201的上端时,在径向向外移动,使得卡紧件21从卡槽201中退出,解除了卡合结构2与输出轴20之间的轴向卡合锁定。When the clamping
当卡紧件21和限定件22均采用磁性金属材料时,拆卸工具30吸引卡紧件21和限定件22均向上移动,由于还受到弹力件23给予限定件22向下的力,因而,卡紧件21和限定件22一起向上移动。When both the clamping
本实施例中,限定件22限定了卡紧件21在轴向的位置,卡紧件21可随限定件22在轴向上下移动;限定件22在卡合和脱离过程中,只具有轴向的上下移动,卡紧件21还需要具有径向的移动因而优选设置限定件22采用可被磁体301吸附的金属材料,卡紧件21采用不被磁体301吸附的材料。In this embodiment, the restricting
对于卡紧件21的结构设置,可以采用多中结构形式,球形、椭圆形、不规则形状;优选设置卡紧件21与定位腔壁31接触部采用弧面结构,有利于卡紧件21与定位腔壁31接触后的相对移动;更优选设置卡紧件21为球形,在卡紧件21安装时不用定位,并且由于移动、卡合、脱离卡槽时的移动平滑性。For the structural setting of the clamping
对于卡合结构2中卡紧件21的个数,可以设置一个或者多个;优选在容纳腔220内设置有三个卡紧件21,在输出轴20的周向上开设有三个卡槽201;通过设置三个轴向设置的卡紧件21,有利于增加波轮组件10卡合固定后的稳定性。As for the number of clamping
本实施例中,参见图7所示,限定件22包括用于容纳卡紧件21的容纳腔220,卡紧件21位于容纳腔220内,输出轴20穿过容纳腔220,容纳腔220和输出轴20共轴设置;在卡合结构2卡合在卡槽201后,卡槽201部分或全部位于容纳腔220内,,卡紧件21的内侧与卡槽201的底部接触。在容纳腔220的中心开设有第一通孔221。在容纳腔220的腔壁上开设有用于卡紧件21伸出的开口222,开口222的直径小于卡紧件21的直径,卡紧件21伸出开口222并与定位腔壁31接触。通过设置限定件22具有容纳腔220,容纳腔220套装在输出轴20的外侧,使得限定件22只可以在上下移动;在限定件22在上下移动时,可以带动卡紧件21同步移动,并且卡紧件21可以具有径向的移动,实现卡紧件21与卡槽201的卡合和脱离。限定件22还包括沿第一通孔221向上延伸的第一限位沿223,第一限位沿223套装在输出轴20的外侧,弹力件23的下端套装在第一延伸223沿的外侧;通过设置第一限位沿223,一方面有利于保证限定件22在输出轴20上可以上下平稳的移动,保证限定件22移动的稳定性;另一方面有利于弹力件23与第一限位沿223的配合,更好的将弹力传递到限定件22上。In this embodiment, as shown in FIG. 7 , the limiting
参见图3所示,波轮组件10还包括与波轮1固定设置的外盖4,弹力件23位于外盖4和限定件22之间,弹力件23的下端与限定件22接触、上端与外盖4接触。外盖4包覆在定位腔3的外侧,将定位腔3密封,避免洗涤水进入定位腔3内;外盖4具有下口的容纳部,定位腔3位于容纳部内。在外盖4上设有向下延伸的第四延伸沿41,弹力件23的上端套装在第四延伸沿41的外侧。3, the
参见图4和图8所示,对于定位腔3的结构设置,定位腔3为定位腔壁31延伸围绕形成的腔体,定位腔壁31为锥形面;为了实现定位腔3的固定,定位腔3还设有径向向外延伸设置的定位固定部33,定位固定部33与波轮1固定连接,在第二通孔32的边缘设有向下延伸设置的第二定位沿34,通过设置第二定位沿34有利于定位腔3安装定位,以及固定后的稳定性。Referring to Fig. 4 and shown in Fig. 8, for the structural arrangement of the
参见图4所示,波轮组件10还包括与套装在输出轴20外侧的连接件5,在连接件5与输出轴20之间设有防止二者相对旋转的锁定件,连接件5位于波轮组件10的下部。参见图5所示,输出轴20包括同轴固定设置的第一输出轴202和第二输出轴203,第一输出轴202的直径大于第二输出轴203的直径,在连接件5上开设有与第一输出轴202和第二输出轴203相匹配的台阶孔5;第二定位沿34位于台阶孔5内。Referring to Fig. 4, the
参见图9-图11所示,对于拆卸工具30的结构,可以采用单独的一个磁体,但为了操作方便,优选设置,拆卸工具30包括磁体301、用于固定磁体的磁体固定部302、以及位于磁体固定部302上部的手持部303,手持部303具有周向且向外伸出设置的多个手持筋。通过设置拆卸工具具有手持部303,有利于拿取拆卸工具方便,在将拆卸工具30放置到外盖4后,拆卸工具30与卡合结构2的限定件22之间具有较大的相互吸引力,在波轮组件10拆卸后,需要克服拆卸工具30与限定件22之间的磁性吸引力才能将拆卸工具30取走,因而设置手持部303,便于通过手部给予拆卸工具30较大的力。在手持部303的上端设有环形的拉手304,通过设置拉手304有利于对于拆卸工具30的取放。Referring to Figures 9-11, for the structure of the
参见图12所示,上述波轮组件10的拆卸方法,具有下述步骤:Referring to Fig. 12, the disassembly method of the above-mentioned
A、将拆卸工具30从洗衣机的衣物投入口伸入内桶、并靠近波轮组件10的中心;卡合结构2就设置在波轮组件10的中心处。A. Extend the
B0、在拆卸工具30靠近卡合结构2的过程中,当拆卸工具30与卡合结构2之间的距离等于或小于两者之间的磁力感应范围时,拆卸工具30与卡合结构2之间产生相互吸引的磁力,使得拆卸工具30与卡合结构2具有相互靠近的移动趋势。B0. When the
B、拆卸工具30与卡合结构2之间产生相互吸引的磁力,使得卡合结构2与卡槽201脱离。B. A magnetic force of mutual attraction is generated between the
具体的,在拆卸工具30在磁力的作用下到达波轮组件10的上端,拆卸工具30不能在继续向靠近卡合结构2的方向移动,卡合结构2在磁力的作用下向拆卸工具30的方向移动,使得卡合结构2与卡槽201之间的锁定解除。Specifically, when the
当拆卸工具30到达波轮组件10的上端时,拆卸工具30与卡合结构2之间产生的磁力大于弹力件23提供的推动力,使得卡合结构2向上移动。When the
C、将波轮组件30向所述衣物投入口方向移动、并拆卸。C. Move the
参阅图13-图15,本发明所提出的洗衣机的第二个实施例,本实施例与第一个实施例的主要区别在于:定位腔结构以及限定件结构不同,其他可以采用与第一个实施例相同的结构。Referring to Fig. 13-Fig. 15, the second embodiment of the washing machine proposed by the present invention, the main difference between this embodiment and the first embodiment is that the structure of the positioning cavity and the structure of the limiting member are different, and other Embodiment same structure.
一种洗衣机包括与驱动电机连接的输出轴20、以及与输出轴20可拆卸连接的波轮组件10,波轮组件10可整体的与输出轴卡合固定或者脱离分开,波轮组件10具有波轮1、以及用于波轮组件10轴向定位的卡合结构2,在输出轴20上开设有与卡合结构2相匹配的至少一个卡槽201,通过磁力来实现卡合结构2与卡槽201的脱离。通过设置卡合结构2和卡槽201卡合实现波轮组件10的轴向固定,使得波轮组件10的安装简单方便;在需要拆卸波轮组件10时,产生磁力吸引卡合结构2,实现卡合结构2与卡槽201的脱离,使得拆卸操作简单;在波轮1拆卸后将磁力撤销,使得卡合结构2复位,再将波轮组件安装到位;通过磁力吸引或排斥实现拆卸,由于磁力的穿透性,可以在不对波轮组件10的任何部件进行拆卸的情况下,实现对于卡合结构2施加力,实现卡合固定的脱离,使得卡合结构2的结构设置简单,操作省力方便。A washing machine includes an
本实施例中,卡合结构2包括与卡槽201相匹配卡合的卡紧件21、限定卡紧件21的限定件22,其中,限定件22具有平板状本体220、在平板状本体220上开设有第一通孔221、以及沿第一通孔221向上延伸的第一限位沿223,卡紧件21位于平板状本体220的下方;也就是限定件22对于限定卡紧件21在轴向能达到最高位置进行了限定,也就是卡紧件21紧邻接触限定件22,或者卡紧件21位于限定件22下方一段距离。In this embodiment, the engaging
当限定件22采用磁性金属材料、而卡紧件21不采用时,也就是限定件22向上移动时不能带卡紧件21一起,但限定件22限定了卡紧件21在轴向向上能达到的位置,卡紧件21相对于限定件22可径向移动、也可轴向移动。限定件22限定卡紧件21在轴向的最高位置,在限定件22向上移动后卡紧件21相对于限定件22可径向移动,实现卡紧件21与卡槽201的卡合和脱离;在拆卸波轮组件10时,卡紧件21向远离输出轴20的方向移动时,使得卡紧件21从卡槽201中退出,解除了卡合结构2与输出轴20之间的轴向卡合锁定。When the
当卡紧件21采用磁性金属材料、而限定件22不采用时,拆卸工具30吸引卡紧件21向上移动,此时,卡紧件21推动限定件22一起向上移动,之后卡紧件21具有了可径向移动的空间,在卡紧件21到达卡槽201的上端时,在径向向外移动,使得卡紧件21从卡槽201中退出,解除了卡合结构2与输出轴20之间的轴向卡合锁定。When the clamping
当卡紧件21和限定件22均采用磁性金属材料时,拆卸工具30吸引卡紧件21和限定件22均向上移动,由于还受到弹力件23给予限定件22向下的力,因而,卡紧件21和限定件22一起向上移动。When both the clamping
本实施例中,定位腔3为U形,定位腔壁31位于定位腔3的下部,卡紧件21被定位腔壁31、卡槽201、以及限定件22定位,限定件22给予卡紧件21向下的力,定位腔壁31给予卡紧件21向上且向内的力,卡槽201给予卡紧件21向外的力。卡紧件21和限定件22在磁力和弹力的作用下可以在定位腔3内上下移动,实现对于波轮组件10和输处轴20的固定和解除锁定。In this embodiment, the
本实施例中,卡槽201为输出轴20上设置缩颈形成的,也就是在卡槽201为与输出轴20同轴设置的环形结构;这样使得卡紧件21与卡槽201卡合安装时在周向上不用定位,有利于提高安装简单。In this embodiment, the clamping
第一个实施例中的波轮组件10的拆卸方法,对于本实施例同样适用。The disassembly method of the
参阅图16-图17,本发明所提出的洗衣机的第三个实施例,本实施例与第一个实施例的主要区别在于:输出轴向上不伸出限定件,其他可以采用与第一个实施例相同的结构。Referring to Fig. 16-Fig. 17, the third embodiment of the washing machine proposed by the present invention, the main difference between this embodiment and the first embodiment is that the output shaft does not protrude from the limiter, and other The same structure as the first embodiment.
一种洗衣机包括与驱动电机连接的输出轴20、以及与输出轴20可拆卸连接的波轮组件10,波轮组件10可整体的与输出轴20卡合固定或者脱离分开,波轮组件10具有波轮1、以及用于波轮组件10轴向定位的卡合结构2,在输出轴20上开设有与卡合结构2相匹配的至少一个卡槽201,通过磁力来实现卡合结构2与卡槽201的脱离。通过设置卡合结构2和卡槽201卡合实现波轮组件10的轴向固定,使得波轮组件10的安装简单方便;在需要拆卸波轮组件10时,产生磁力吸引卡合结构2,实现卡合结构2与卡槽201的脱离,使得拆卸操作简单;在波轮1拆卸后将磁力撤销,使得卡合结构2复位,再将波轮组件安装到位;通过磁力吸引或排斥实现拆卸,由于磁力的穿透性,可以在不对波轮组件10的任何部件进行拆卸的情况下,实现对于卡合结构2施加力,实现卡合固定的脱离,使得卡合结构2的结构设置简单,操作省力方便。A washing machine includes an
参见图7所示,卡合结构2包括与卡槽201相匹配卡合的卡紧件21、限定卡紧件21的限定件22;限定件22的结构与第一个实施例中的基本相同,区别在于输出轴20的上端位于容纳腔220内,因而在容纳腔220的顶部可以不开设通孔。Referring to Fig. 7, the engaging
具体的,限定件22包括用于容纳卡紧件21的容纳腔220,在卡合结构2卡合在卡槽201后,卡紧件21位于容纳腔220内,输出轴20的上端伸入容纳腔220内,优选设置容纳腔220和输出轴20共轴设置,卡紧件21的内侧与卡槽201的底部接触。通过设置限定件22具有容纳腔220,容纳腔220套装在输出轴20的外侧,使得限定件22只可以在上下移动;在限定件22在上下移动时,可以带动卡紧件21同步移动,并且卡紧件21可以具有径向的移动,实现卡紧件21与卡槽201的卡合和脱离。限定件22还包括沿沿容纳腔220上端向上延伸的第一限位沿223,第一限位沿223与输出轴20同轴设置,第一限位沿223套装在输出轴20的外侧,弹力件23的下端套装在第一延伸223沿的外侧;通过设置第一限位沿223,一方面有利于保证限定件22在输出轴20上可以上下平稳的移动,保证限定件22移动的稳定性;另一方面有利于弹力件23与第一限位沿223的配合,更好的将弹力传递到限定件22上。Specifically, the
以上所述,仅是本发明的较佳实施例而已,并非是对本发明作其它形式的限制,任何熟悉本专业的技术人员可能利用上述揭示的技术内容加以变更或改型为等同变化的等效实施例。但是凡是未脱离本发明技术方案内容,依据本发明的技术实质对以上实施例所作的任何简单修改、等同变化与改型,仍属于本发明技术方案的保护范围。The above is only a preferred embodiment of the present invention, and is not intended to limit the present invention to other forms. Any skilled person who is familiar with this profession may use the technical content disclosed above to change or modify the equivalent of equivalent changes. Example. However, any simple modifications, equivalent changes and modifications made to the above embodiments according to the technical essence of the present invention without departing from the content of the technical solution of the present invention still belong to the protection scope of the technical solution of the present invention.
Claims (10)
Priority Applications (1)
| Application Number | Priority Date | Filing Date | Title |
|---|---|---|---|
| CN201910173549.3A CN111663285B (en) | 2019-03-07 | 2019-03-07 | a washing machine |
Applications Claiming Priority (1)
| Application Number | Priority Date | Filing Date | Title |
|---|---|---|---|
| CN201910173549.3A CN111663285B (en) | 2019-03-07 | 2019-03-07 | a washing machine |
Publications (2)
| Publication Number | Publication Date |
|---|---|
| CN111663285A CN111663285A (en) | 2020-09-15 |
| CN111663285B true CN111663285B (en) | 2023-01-24 |
Family
ID=72381975
Family Applications (1)
| Application Number | Title | Priority Date | Filing Date |
|---|---|---|---|
| CN201910173549.3A Active CN111663285B (en) | 2019-03-07 | 2019-03-07 | a washing machine |
Country Status (1)
| Country | Link |
|---|---|
| CN (1) | CN111663285B (en) |
Citations (15)
| Publication number | Priority date | Publication date | Assignee | Title |
|---|---|---|---|---|
| US3971269A (en) * | 1972-11-17 | 1976-07-27 | I. D. Engineering, Inc. | Fastening clip and tool for releasing same |
| US4339853A (en) * | 1980-03-04 | 1982-07-20 | Permag Corporation | Magnetic decoupler |
| FR2947020A1 (en) * | 2009-06-17 | 2010-12-24 | Renault Sas | DEVICE FOR FIXING A MECHANICAL PIECE TO A SUPPORT, IN PARTICULAR A WINDOW WIPER MOTOR REAR TO THE BODYWORK OF A MOTOR VEHICLE AND FIXING ARRANGEMENT OBTAINED |
| CN103195783A (en) * | 2013-02-22 | 2013-07-10 | 利亚德光电股份有限公司 | Connecting device, fixing piece, LED display panel and LED display system |
| CN203114824U (en) * | 2013-02-22 | 2013-08-07 | 利亚德光电股份有限公司 | Connecting device, fixing piece, light-emitting diode (LED) display board and LED display system |
| CN103981673A (en) * | 2014-06-12 | 2014-08-13 | 康红宾 | Inner drum-detachable pulsator washing machine |
| CN104775272A (en) * | 2015-05-12 | 2015-07-15 | 康红宾 | Drum washing machine easy to clean |
| CN204780307U (en) * | 2015-05-27 | 2015-11-18 | Tcl智能科技(合肥)有限公司 | Washing machine |
| CN105133238A (en) * | 2015-05-27 | 2015-12-09 | Tcl智能科技(合肥)有限公司 | Impeller connecting assembly and washing machine |
| CN105274765A (en) * | 2015-05-27 | 2016-01-27 | Tcl智能科技(合肥)有限公司 | Washing machine and method for mounting impeller to washing machine |
| CN107513842A (en) * | 2017-09-13 | 2017-12-26 | 青岛海尔洗衣机有限公司 | The assembling structure and rotary drum washing machine of a kind of impeller and interior bucket |
| CN107604586A (en) * | 2017-09-13 | 2018-01-19 | 青岛海尔洗衣机有限公司 | A kind of rotary drum washing machine |
| CN107761302A (en) * | 2016-08-22 | 2018-03-06 | 青岛海尔洗衣机有限公司 | A kind of washing machine for conveniently dismantling impeller |
| CN107761305A (en) * | 2016-08-22 | 2018-03-06 | 青岛海尔洗衣机有限公司 | A kind of impeller and washing machine |
| CN107848469A (en) * | 2015-08-03 | 2018-03-27 | 标致雪铁龙汽车股份有限公司 | The detachable modification component of assembling on the rolling stock |
Family Cites Families (1)
| Publication number | Priority date | Publication date | Assignee | Title |
|---|---|---|---|---|
| US9850688B2 (en) * | 2013-01-30 | 2017-12-26 | Tyco Fire & Security Gmbh | Dynamic magnetic detacher |
-
2019
- 2019-03-07 CN CN201910173549.3A patent/CN111663285B/en active Active
Patent Citations (15)
| Publication number | Priority date | Publication date | Assignee | Title |
|---|---|---|---|---|
| US3971269A (en) * | 1972-11-17 | 1976-07-27 | I. D. Engineering, Inc. | Fastening clip and tool for releasing same |
| US4339853A (en) * | 1980-03-04 | 1982-07-20 | Permag Corporation | Magnetic decoupler |
| FR2947020A1 (en) * | 2009-06-17 | 2010-12-24 | Renault Sas | DEVICE FOR FIXING A MECHANICAL PIECE TO A SUPPORT, IN PARTICULAR A WINDOW WIPER MOTOR REAR TO THE BODYWORK OF A MOTOR VEHICLE AND FIXING ARRANGEMENT OBTAINED |
| CN103195783A (en) * | 2013-02-22 | 2013-07-10 | 利亚德光电股份有限公司 | Connecting device, fixing piece, LED display panel and LED display system |
| CN203114824U (en) * | 2013-02-22 | 2013-08-07 | 利亚德光电股份有限公司 | Connecting device, fixing piece, light-emitting diode (LED) display board and LED display system |
| CN103981673A (en) * | 2014-06-12 | 2014-08-13 | 康红宾 | Inner drum-detachable pulsator washing machine |
| CN104775272A (en) * | 2015-05-12 | 2015-07-15 | 康红宾 | Drum washing machine easy to clean |
| CN204780307U (en) * | 2015-05-27 | 2015-11-18 | Tcl智能科技(合肥)有限公司 | Washing machine |
| CN105133238A (en) * | 2015-05-27 | 2015-12-09 | Tcl智能科技(合肥)有限公司 | Impeller connecting assembly and washing machine |
| CN105274765A (en) * | 2015-05-27 | 2016-01-27 | Tcl智能科技(合肥)有限公司 | Washing machine and method for mounting impeller to washing machine |
| CN107848469A (en) * | 2015-08-03 | 2018-03-27 | 标致雪铁龙汽车股份有限公司 | The detachable modification component of assembling on the rolling stock |
| CN107761302A (en) * | 2016-08-22 | 2018-03-06 | 青岛海尔洗衣机有限公司 | A kind of washing machine for conveniently dismantling impeller |
| CN107761305A (en) * | 2016-08-22 | 2018-03-06 | 青岛海尔洗衣机有限公司 | A kind of impeller and washing machine |
| CN107513842A (en) * | 2017-09-13 | 2017-12-26 | 青岛海尔洗衣机有限公司 | The assembling structure and rotary drum washing machine of a kind of impeller and interior bucket |
| CN107604586A (en) * | 2017-09-13 | 2018-01-19 | 青岛海尔洗衣机有限公司 | A kind of rotary drum washing machine |
Also Published As
| Publication number | Publication date |
|---|---|
| CN111663285A (en) | 2020-09-15 |
Similar Documents
| Publication | Publication Date | Title |
|---|---|---|
| CN205094325U (en) | Cleaning device for a round brush subassembly and have it for cleaning device | |
| WO2018064882A1 (en) | Upper cover with stirring function and electric cooking appliance | |
| CN105133238B (en) | impeller connecting assembly and washing machine | |
| CN106012407A (en) | Impeller connecting assembly and washing machine | |
| WO2016180040A1 (en) | Easy-clean impeller washing machine | |
| CN111663285B (en) | a washing machine | |
| CN111663283B (en) | Disassembly method of washing machine pulsator assembly and washing machine | |
| CN204959357U (en) | Washing machine | |
| WO2016180043A1 (en) | Easy-clean drum washing machine | |
| CN105839349B (en) | Impeller connection component and rotary drum washing machine | |
| CN205697190U (en) | Electric pressure cooker | |
| CN107988755B (en) | washing machine | |
| CN209436883U (en) | A kind of agitating paddle installs sealed cooking machine | |
| CN217039719U (en) | Stirring assembly of cooking utensil and cooking utensil that has it | |
| CN207125642U (en) | Upper lid and cooking apparatus | |
| CN211772117U (en) | A pulsator washing machine | |
| CN112080893B (en) | A method for disassembling a washing machine and its impeller assembly | |
| CN204378875U (en) | For electric pressure cooking saucepan pot cover and there is its electric pressure cooking saucepan | |
| CN109778480A (en) | Wave-wheel assembly and washing machine | |
| CN112239930B (en) | Washing machine and loading and unloading method of pulsator assembly of washing machine | |
| CN112239929B (en) | Washing machine and loading and unloading method of pulsator assembly of washing machine | |
| CN211079674U (en) | A kind of washing machine impeller quick dismantling structure | |
| CN210493832U (en) | Fine grinding ware subassembly, fine grinding cup part and cooking machine | |
| CN107988754A (en) | Washing machine | |
| CN110863317B (en) | Detachable pulsator device and pulsator washing machine with same |
Legal Events
| Date | Code | Title | Description |
|---|---|---|---|
| PB01 | Publication | ||
| PB01 | Publication | ||
| SE01 | Entry into force of request for substantive examination | ||
| SE01 | Entry into force of request for substantive examination | ||
| CB02 | Change of applicant information |
Address after: 266101 Haier Road, Laoshan District, Qingdao, Qingdao, Shandong Province, No. 1 Applicant after: QINGDAO HAIER SMART TECHNOLOGY R&D Co.,Ltd. Applicant after: Haier Smart Home Co., Ltd. Address before: 266101 Haier Road, Laoshan District, Qingdao, Qingdao, Shandong Province, No. 1 Applicant before: QINGDAO HAIER SMART TECHNOLOGY R&D Co.,Ltd. Applicant before: QINGDAO HAIER JOINT STOCK Co.,Ltd. |
|
| CB02 | Change of applicant information | ||
| GR01 | Patent grant | ||
| GR01 | Patent grant | ||
| TR01 | Transfer of patent right |
Effective date of registration: 20250331 Address after: 266101 Haier Industrial Park, 1 Haier Road, Laoshan District, Shandong, Qingdao Patentee after: QINGDAO HAIER SMART TECHNOLOGY R&D Co.,Ltd. Country or region after: China Address before: 266101 Haier Road, Laoshan District, Qingdao, Qingdao, Shandong Province, No. 1 Patentee before: QINGDAO HAIER SMART TECHNOLOGY R&D Co.,Ltd. Country or region before: China Patentee before: Haier Smart Home Co., Ltd. |
|
| TR01 | Transfer of patent right |
