CN111600236B - Interphase insulation isolation device for distribution live-line work line and use method - Google Patents

Interphase insulation isolation device for distribution live-line work line and use method Download PDF

Info

Publication number
CN111600236B
CN111600236B CN202010403431.8A CN202010403431A CN111600236B CN 111600236 B CN111600236 B CN 111600236B CN 202010403431 A CN202010403431 A CN 202010403431A CN 111600236 B CN111600236 B CN 111600236B
Authority
CN
China
Prior art keywords
telescopic
telescopic mechanism
insulating
wire
rod
Prior art date
Legal status (The legal status is an assumption and is not a legal conclusion. Google has not performed a legal analysis and makes no representation as to the accuracy of the status listed.)
Active
Application number
CN202010403431.8A
Other languages
Chinese (zh)
Other versions
CN111600236A (en
Inventor
田明杰
吕平
王辉云
朱国军
陈元柏
张有为
金宝
张磊
Current Assignee (The listed assignees may be inaccurate. Google has not performed a legal analysis and makes no representation or warranty as to the accuracy of the list.)
Jinan Power Supply Co of State Grid Shandong Electric Power Co Ltd
State Grid Corp of China SGCC
Original Assignee
Jinan Power Supply Co of State Grid Shandong Electric Power Co Ltd
State Grid Corp of China SGCC
Priority date (The priority date is an assumption and is not a legal conclusion. Google has not performed a legal analysis and makes no representation as to the accuracy of the date listed.)
Filing date
Publication date
Application filed by Jinan Power Supply Co of State Grid Shandong Electric Power Co Ltd, State Grid Corp of China SGCC filed Critical Jinan Power Supply Co of State Grid Shandong Electric Power Co Ltd
Priority to CN202010403431.8A priority Critical patent/CN111600236B/en
Publication of CN111600236A publication Critical patent/CN111600236A/en
Application granted granted Critical
Publication of CN111600236B publication Critical patent/CN111600236B/en
Active legal-status Critical Current
Anticipated expiration legal-status Critical

Links

Images

Classifications

    • HELECTRICITY
    • H02GENERATION; CONVERSION OR DISTRIBUTION OF ELECTRIC POWER
    • H02GINSTALLATION OF ELECTRIC CABLES OR LINES, OR OF COMBINED OPTICAL AND ELECTRIC CABLES OR LINES
    • H02G1/00Methods or apparatus specially adapted for installing, maintaining, repairing or dismantling electric cables or lines
    • H02G1/02Methods or apparatus specially adapted for installing, maintaining, repairing or dismantling electric cables or lines for overhead lines or cables

Landscapes

  • Electric Cable Installation (AREA)

Abstract

本发明公开了一种配电带电作业线路相间绝缘隔离装置及使用方法,包括三个伸缩机构以及安装在伸缩机构两端的多个转轴,使用方法包括如下步骤:固定导线,将三根导线分别放入三个导线固定装置;将导线撑开,调节第一伸缩机构、第二伸缩机构、第三伸缩机构,将带电导线撑开;将绝缘绳绑在绝缘绳挂环上,工作人员根据需要对该装置进行调整,保证立、更换电杆的正常进行,待立、更换电杆完成,将该装置取下。本发明通过机械传动对绝缘杆进行实时伸缩调节,操作方便省力,可调性强;采用导线固定装置,可实现对三相导线的夹持固定;该装置可伸缩距离大,能够满足带电立、更换电杆的安全距离要求,保证了工作人员的人身安全,提高了工作效率。

Figure 202010403431

The invention discloses a phase-to-phase insulation isolation device for a power distribution live working line and a use method, comprising three telescopic mechanisms and a plurality of rotating shafts installed at both ends of the telescopic mechanism. Three wire fixing devices; spread the wire, adjust the first telescopic mechanism, the second telescopic mechanism, and the third telescopic mechanism to spread the live wire; tie the insulating rope to the insulating rope hanging ring, and the staff can fix the wire according to the needs. The device is adjusted to ensure the normal operation of erection and replacement of poles. When the erection and replacement of poles are completed, remove the device. The invention performs real-time telescopic adjustment of the insulating rod through mechanical transmission, which is convenient and labor-saving in operation, and has strong adjustability; the wire fixing device can realize the clamping and fixing of the three-phase wire; The safety distance requirement for replacing the poles ensures the personal safety of the staff and improves the work efficiency.

Figure 202010403431

Description

Interphase insulation isolation device for distribution live-line work line and use method
Technical Field
The invention belongs to the technical field of power supply, and particularly relates to an interphase insulation isolation device for a distribution live-wire work line and a use method.
Background
With the rapid development of the current economic society, the requirements of people on the power supply reliability are higher and higher; in order to ensure that a user is electrified normally, live working is popularized in the system greatly; at present, the number of operations related to live erection and pole replacement on a 10kV overhead line is increased year by year, in the process of live erection and pole replacement, an insulating cross arm is usually used for strutting and fixing two side phase conductors, a small boom of a bucket arm vehicle is used for assisting manpower to suspend the middle phase conductor to one side, and the operation is limited by the quality and the size of the insulating cross arm, so that the strutting distance of the two side phase conductors is limited, the safety distance requirements of live erection and pole replacement are difficult to meet, the stability of the added bucket arm vehicle for suspending the conductors is poor, the operation is difficult, the whole operation process wastes time and labor, and the potential safety hazard is large.
An insulating support rod is developed by retrieving a patent number 201520200764.5, a linear telescopic structure is adopted, only the expansion fixation of two side phase wires is involved, the middle phase wires are not fixed, and after the telescopic adjustment is performed manually, a telescopic rod is connected and fixed by a bolt, so that the adjustability is poor, and time and labor are wasted; patent No. 201720595977.1 develops a novel telescopic wire insulation support pole, adopts "T" shape structure of falling, and the steadiness is slightly poor, and the pole in-process is found, is changed in the area electricity, needs the artifical adjustment position of insulating operation movable rod on the insulating operation dead lever in interval between the wire, then through the butterfly screw with both fixed connection, the regulation nature is relatively poor, wastes time and energy.
Disclosure of Invention
The invention aims to overcome the defects in the prior art and provides an interphase insulating and isolating device for a power distribution live working line and a using method thereof, wherein an insulating rod is telescopically adjusted in real time through mechanical transmission, so that the device is convenient and labor-saving to operate and strong in adjustability; the lead fixing device is adopted, so that the three-phase lead can be clamped and fixed, and the personal safety of workers is ensured; the device is scalable apart from big, can satisfy electrified safe distance requirement of standing, changing the pole, has guaranteed staff's personal safety, has improved work efficiency.
In order to achieve the purpose, the invention adopts the technical scheme that:
the utility model provides an alternate insulating isolating device of distribution live working line, includes first telescopic machanism, second telescopic machanism and third telescopic machanism to and install a plurality of pivots at the telescopic machanism both ends, three telescopic machanism end to end forms the triangle-shaped structure, and wire fixing device is all installed to per two telescopic machanism's junction.
Preferably, install two insulating rope links on one of them telescopic machanism, two insulating rope links symmetry are installed at telescopic machanism's both ends, and are equipped with insulating rope on the insulating rope link, and the setting of insulating rope is convenient for the staff to adjust the device, has improved work efficiency greatly.
Preferably, the first telescopic mechanism comprises a first insulating rod, a second insulating rod and a limiting sleeve, a first installation cylinder is fixed at one end of the first insulating rod, the first installation cylinder is connected with one telescopic mechanism through a rotating shaft, a driving mechanism is installed at the other end of the first insulating rod, the driving mechanism comprises a protective cover, a lead screw, a worm wheel, a worm and a protrusion are arranged in the protective cover, the limiting sleeve is sleeved on the lead screw, is rotatably connected with the lead screw and is matched with the protective cover, one end of the lead screw is arranged in the protective cover, the other end of the lead screw is matched with the second insulating rod, the second installation cylinder is installed at one end of the second insulating rod, the second installation cylinder is connected with the other telescopic mechanism through a rotating shaft, the worm wheel is installed on the lead screw and is matched with the worm, a sliding chute is arranged at the bottom of the lead screw, the protrusion is installed at one side, close to the first insulating rod, in the protective cover, and with spout on the lead screw cooperatees, and telescopic machanism can adjust as required, has guaranteed the safe distance that electrified is found, is changed the pole, has guaranteed staff's personal safety greatly, improve and work efficiency.
Preferably, the second insulating rod is of a hollow structure and is matched with the screw rod, two ends of the worm extend to the outer side of the protective cover, and two hexagonal nuts are mounted at two ends of the worm; make things convenient for the lead screw to adjust, guaranteed the device's normal work, the setting of hexagonal nut is convenient for the staff and uses ratchet spanner or electric wrench to adjust the device, has reduced working strength, has improved work efficiency.
Preferably, wire fixing device includes the mounting bracket and installs the mounting panel on the mounting bracket, installs the limiting plate in the top of mounting bracket, installs two arc splint in the inboard of mounting bracket, and two arc splint are about mounting panel central symmetry, and are equipped with telescopic link and spring between arc splint and mounting bracket, the one end of telescopic link is fixed on the lateral wall of a mounting bracket, the other end is fixed in one side of arc splint, the spring housing still is equipped with the mounting hole in the bottom of mounting bracket on the telescopic link, the mounting hole cooperatees with the pivot, and wire fixing device can be fixed the wire, has guaranteed live working's safe distance, has guaranteed staff's safety, has improved work efficiency.
A use method of an interphase insulation isolation device of a distribution live-wire work line comprises the following steps:
fixing the conducting wires, and respectively placing the three conducting wires into the three conducting wire fixing devices;
the wire is stretched, and the first telescopic mechanism, the second telescopic mechanism and the third telescopic mechanism are adjusted to stretch the electrified wire by taking the first telescopic mechanism as a reference;
the adjustment is tied up insulating rope on insulating rope link, and the staff adjusts the device as required, guarantees to found, change the normal clear of pole, treats to stand, changes the pole and accomplishes, takes off the device.
The invention has the beneficial effects that:
1) the insulating rod is subjected to real-time telescopic adjustment through mechanical transmission, so that the operation is convenient and labor-saving, and the adjustability is strong; the wire fixing device is adopted, so that the clamping and fixing of the three-phase wire can be realized; the device is scalable apart from big, can satisfy electrified safe distance requirement of standing, changing the pole, has guaranteed staff's personal safety, has improved work efficiency.
2) According to the invention, two insulating rope hanging rings are arranged on one telescopic mechanism, the two insulating rope hanging rings are symmetrically arranged at two ends of the telescopic mechanism, and the insulating rope is arranged on the insulating rope hanging rings, so that the device can be conveniently adjusted by workers, and the working efficiency is greatly improved.
3) The telescopic mechanism can be adjusted according to the requirement, so that the safety distance of the electrified vertical and replacement pole is ensured, the personal safety of workers is greatly ensured, and the working efficiency is improved; the second insulating rod is of a hollow structure and is matched with the screw rod, two ends of the worm extend to the outer side of the protective cover, and two hexagonal nuts are mounted at two ends of the worm; make things convenient for the lead screw to adjust, guaranteed the device's normal work, the staff of being convenient for of hexagonal nut uses ratchet spanner or electric spanner to adjust the device in setting up, has reduced working strength, has improved work efficiency.
4) The wire fixing device comprises a mounting frame and a mounting plate mounted on the mounting frame, a limiting plate is mounted above the mounting frame, two arc-shaped clamping plates are mounted on the inner side of the mounting frame, the two arc-shaped clamping plates are symmetrical about the center of the mounting plate, a telescopic rod and a spring are arranged between the arc-shaped clamping plates and the mounting frame, one end of the telescopic rod is fixed to the side wall of one mounting frame, the other end of the telescopic rod is fixed to one side of the arc-shaped clamping plate, the spring is sleeved on the telescopic rod, a mounting hole is further formed in the bottom of the mounting frame and matched with a rotating shaft, the wire fixing device can fix a wire, the safety distance of live working is guaranteed, the safety of workers is guaranteed, and the working efficiency is improved.
Drawings
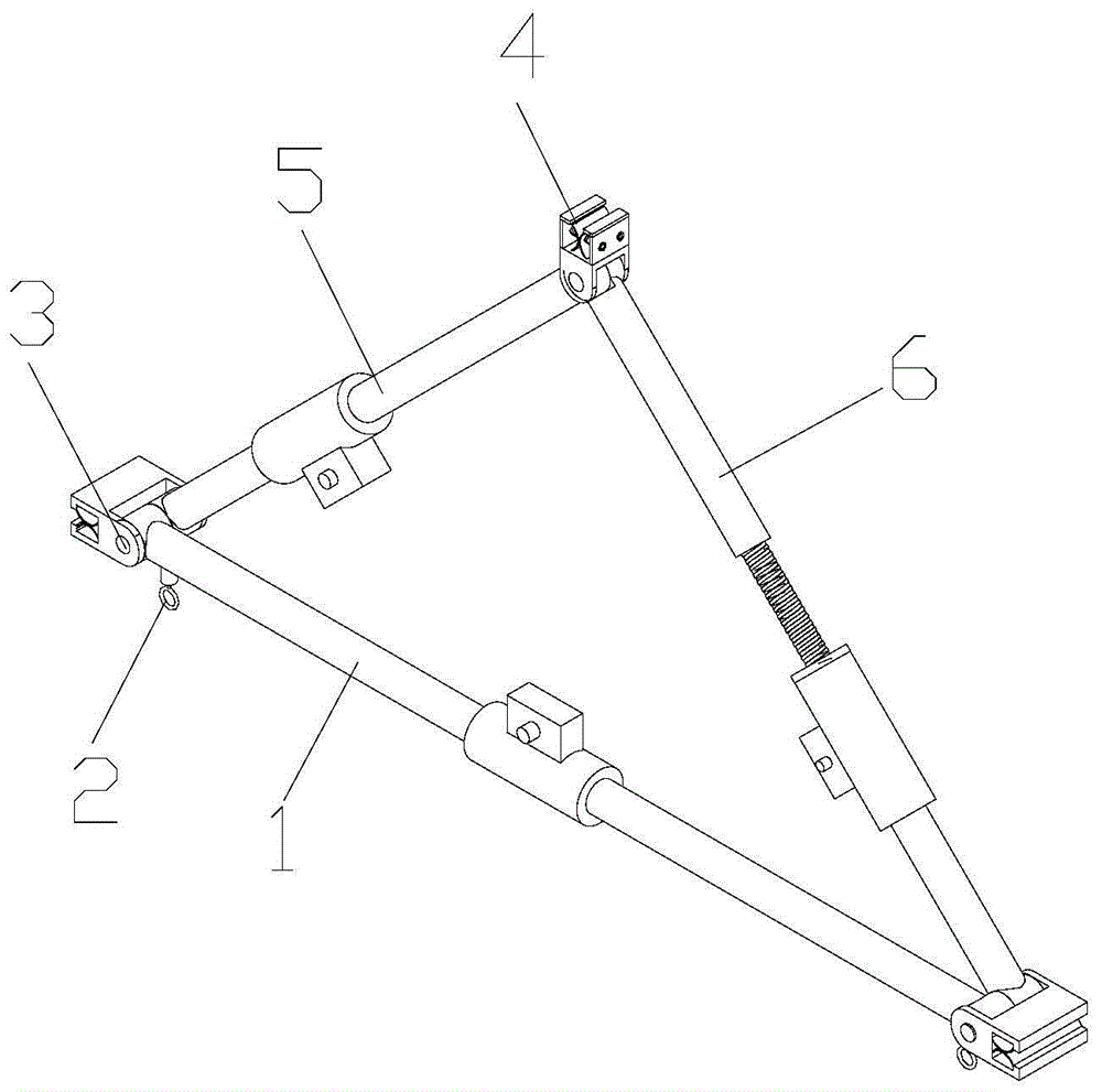
Fig. 1 is a schematic structural diagram of an interphase insulating and isolating device for a distribution live-wire work line.
Fig. 2 is an exploded view of a conductor fixing device of an interphase insulating and isolating device of a distribution live-wire work line.
Fig. 3 is an exploded view of a telescopic mechanism of an interphase insulating and isolating device of a distribution live-line working line.
FIG. 4 is an installation diagram of a worm gear of the interphase insulating and isolating device for the distribution live-wire work line.
Fig. 5 is a side view of a worm gear of the interphase insulating isolator for the distribution live working line of the invention.
Fig. 6 is an installation diagram of a lead screw of the interphase insulating and isolating device of the distribution live line. Side view.
In the figure: 1. a telescoping mechanism; 101. a second mounting cylinder; 102. a second insulating rod; 103. a lead screw; 1031. A chute; 104. a limiting sleeve; 105. a drive mechanism; 1051. a protective cover; 1052. a worm gear; 1053. a worm; 1054. a hexagonal nut; 1055. a protrusion; 106. a first insulating rod; 107. a first mounting cylinder; 2. An insulating rope suspension loop; 3. a rotating shaft; 4. a lead wire fixing device; 401. mounting holes; 402. mounting a plate; 403. A mounting frame; 404. a limiting plate; 405. a telescopic rod; 406. a spring; 407. an arc-shaped splint; 5. a second telescoping mechanism; 6. and a third telescoping mechanism.
Detailed Description
The technical solutions in the embodiments of the present invention are clearly and completely described below with reference to fig. 1 to 5, and it is obvious that the described embodiments are only a part of the embodiments of the present invention, and not all embodiments. All other embodiments, which can be derived by a person skilled in the art from the embodiments given herein without making any creative effort, shall fall within the protection scope of the present invention.
In the description of the present invention, it is to be understood that the terms "longitudinal", "lateral", "upper", "lower", "front", "rear", "left", "right", "vertical", "horizontal", "top", "bottom", "inner", "outer", and the like, indicate orientations or positional relationships based on those shown in the drawings, are merely for convenience of description of the present invention, and do not indicate or imply that the referenced devices or elements must have a particular orientation, be constructed and operated in a particular orientation, and thus, are not to be construed as limiting the present invention.
An interphase insulation isolation device for a distribution live working line comprises a first telescopic mechanism 1, a second telescopic mechanism 5, a third telescopic mechanism 6 and a plurality of rotating shafts 3 arranged at two ends of the telescopic mechanisms, wherein the three telescopic mechanisms 1 are connected end to form a triangular structure, and a lead fixing device 4 is arranged at the joint of every two telescopic mechanisms 1; the insulating rod is subjected to real-time telescopic adjustment through mechanical transmission, so that the operation is convenient and labor-saving, and the adjustability is strong; the lead fixing device 4 is adopted to realize the clamping and fixing of the three-phase lead; the device is scalable apart from big, can satisfy electrified safe distance requirement of standing, changing the pole, has guaranteed staff's personal safety, has improved work efficiency.
The first telescopic mechanism 1, the second telescopic mechanism 5 and the third telescopic mechanism 6 are identical in structure, wherein the first telescopic mechanism 1 is provided with two insulating rope hanging rings 2, the two insulating rope hanging rings 2 are symmetrically arranged at two ends of the telescopic mechanism 1, and insulating ropes are arranged on the insulating rope hanging rings 2; due to the arrangement of the insulating rope, the device is convenient for workers to adjust, and the working efficiency is greatly improved.
The first telescopic mechanism 1 comprises a first insulating rod 106, a second insulating rod 102 and a limit sleeve 104, a first installation cylinder 107 is fixed at one end of the first insulating rod 106, the first installation cylinder 107 is connected with one telescopic mechanism 1 through a rotating shaft 3, a driving mechanism 105 is installed at the other end of the first insulating rod 106, the driving mechanism 105 comprises a protective cover 1051, a lead screw 103, a worm wheel 1052, a worm 1053 and a bulge 1055 are arranged inside the protective cover 1051, the limit sleeve 104 is sleeved on the lead screw 103, is rotatably connected with the lead screw 103 and is matched with the protective cover 1051, one end of the lead screw 103 is arranged inside the protective cover 1051, the other end of the lead screw is matched with the second insulating rod 102, a second installation cylinder 101 is installed at one end of the second insulating rod 102, the second installation cylinder 101 is connected with the other telescopic mechanism 1 through the rotating shaft 3, and the worm wheel 1052 is installed on the lead screw 103, and cooperate with worm 1053, be equipped with spout 1031 in the bottom of lead screw 103, protruding 1055 is installed in the inside of safety cover 1051 and is close to one side of first insulating rod 106, and with spout 1031 on lead screw 103 cooperatees, and telescopic machanism 1 can be adjusted as required, has guaranteed the safe distance that electrified found, changed the pole, has guaranteed staff's personal safety greatly, improves and work efficiency.
The second insulating rod 102 is of a hollow structure and is matched with the screw 103, two ends of the worm 1053 extend to the outer side of the protective cover 1051, and two hexagonal nuts 1054 are mounted at two ends of the worm 1053; the convenient regulation to lead screw 103 has guaranteed the device's normal work, and hexagonal nut 1054's setting is convenient for the staff to use ratchet spanner or electric wrench to adjust the device, has reduced working strength, has improved work efficiency.
Wherein the total length of the first insulating rod 106 and the second insulating rod 102 of the first telescopic mechanism 1 is 1500mm, the screw 103 is 600mm, and the first telescopic mechanism is in a condensed state; the total length of the first insulating rod and the second insulating rod in the second telescopic mechanism 5 is 1026mm, wherein the lead screw is 600mm and is in a condensation state; the total length of first insulator spindle and second insulator spindle is 1026mm in the third telescopic machanism 6, and wherein the lead screw is 600mm, is in tensile state, and the during operation is adjusted 1 length of first telescopic machanism and is 2000mm, and 5 length of second telescopic machanism are 1565mm, and 6 length of third telescopic machanism are 922mm, can guarantee electrified safe distance that stands, change the pole, guarantee staff's personal safety, improve work efficiency.
Wire fixing device 4 includes mounting bracket 403 and installs mounting panel 402 on mounting bracket 403, installs limiting plate 404 in the top of mounting bracket 403, is equipped with two arc splint 407 in the inboard of mounting bracket 403, and two arc splint 407 are about mounting panel 402 centrosymmetric, and are equipped with telescopic link 405 and spring 406 between arc splint 407 and mounting bracket 403, the one end of telescopic link 405 is fixed on the lateral wall of a mounting bracket 403, the other end is fixed in one side of arc splint 407, spring 406 overlaps on telescopic link 405, still is equipped with mounting hole 401 in the bottom of mounting bracket 403, mounting hole 401 cooperatees with pivot 3, and wire fixing device 4 can be fixed the wire, has guaranteed live working's safe distance, has guaranteed staff's safety, has improved work efficiency.
A use method of an interphase insulation isolation device of a distribution live-wire work line comprises the following steps:
fixing the conducting wires, namely putting the three conducting wires on the three conducting wire fixing devices 4 respectively to fix the conducting wires;
the wire is stretched, and the first telescopic mechanism 1, the second telescopic mechanism 5 and the third telescopic mechanism 6 are adjusted to stretch the charged wire;
the adjustment is tied up insulating rope on insulating rope link 2, and the staff adjusts the device as required, guarantees to found, change the normal clear of pole, treats to stand, changes the pole and accomplishes, takes off the device.
The foregoing is merely exemplary and illustrative of the present invention and various modifications, additions and substitutions may be made by those skilled in the art to the specific embodiments described without departing from the scope of the present invention as defined in the accompanying claims.

Claims (3)

1.一种配电带电作业线路相间绝缘隔离装置,其特征在于,包括第一伸缩机构、第二伸缩机构、第三伸缩机构以及安装在伸缩机构两端的多个转轴,三个伸缩机构首尾相连形成三角形结构,每两个伸缩机构的连接处均安装有导线固定装置;1. A phase-to-phase insulation isolation device for power distribution live working lines, characterized in that it comprises a first telescopic mechanism, a second telescopic mechanism, a third telescopic mechanism and a plurality of rotating shafts installed at both ends of the telescopic mechanism, and the three telescopic mechanisms are connected end to end. A triangular structure is formed, and a wire fixing device is installed at the connection of each two telescopic mechanisms; 所述导线固定装置包括安装架及安装在安装架上的安装板,在安装架的上方安装有限位板,在安装架的内侧安装有两个弧形夹板,两个弧形夹板关于安装板中心对称,且在弧形夹板与安装架之间设有伸缩杆和弹簧,所述伸缩杆的一端固定在一个安装架的侧壁上、另一端固定在弧形夹板的一侧,所述弹簧套在伸缩杆上,在安装架的底部还设有安装孔,所述安装孔与转轴相配合;The wire fixing device includes an installation frame and an installation plate installed on the installation frame, a limit plate is installed above the installation frame, and two arc-shaped clamp plates are installed on the inner side of the installation frame, and the two arc-shaped clamp plates are about the center of the installation plate. Symmetrical, and a telescopic rod and a spring are arranged between the arc-shaped splint and the mounting frame, one end of the telescopic rod is fixed on the side wall of a mounting frame, and the other end is fixed on one side of the arc-shaped splint. On the telescopic rod, a mounting hole is also provided at the bottom of the mounting frame, and the mounting hole is matched with the rotating shaft; 所述第一伸缩机构、第二伸缩机构和第三伸缩机构的结构相同,在其中一个伸缩机构上安装有两个绝缘绳挂环,两个绝缘绳挂环对称安装在伸缩机构的两端,且在绝缘绳挂环上设有绝缘绳;The structures of the first telescopic mechanism, the second telescopic mechanism and the third telescopic mechanism are the same, and two insulating rope hanging rings are installed on one of the telescopic mechanisms, and the two insulating rope hanging rings are symmetrically installed at both ends of the telescopic mechanism, And there is an insulating rope on the insulating rope hanging ring; 所述第一伸缩机构包括第一绝缘杆、第二绝缘杆和限位套,所述第一绝缘杆的一端固定有第一安装筒,第一安装筒通过转轴与其中一个伸缩机构相连接,第一绝缘杆另一端安装有驱动机构,驱动机构包括保护罩,在保护罩的内部设有丝杠、蜗轮、蜗杆和凸起,所述限位套套在丝杠上,与丝杠转动连接,并与保护罩相配合,所述丝杠的一端设在保护罩的内部、另一端与第二绝缘杆相配合,所述第二绝缘杆的一端安装有第二安装筒,第二安装筒通过转轴与其中另一个伸缩机构相连接,所述蜗轮安装在丝杠上,并与蜗杆相配合,在丝杠的底部设有滑槽,所述凸起安装在保护罩的内部靠近第一绝缘杆的一侧,并与所述丝杠上的滑槽相配合。The first telescopic mechanism includes a first insulating rod, a second insulating rod and a limit sleeve, one end of the first insulating rod is fixed with a first installation cylinder, and the first installation cylinder is connected with one of the telescopic mechanisms through a rotating shaft, A drive mechanism is installed at the other end of the first insulating rod. The drive mechanism includes a protective cover. Inside the protective cover, a lead screw, a worm wheel, a worm and a protrusion are arranged. and matched with the protective cover, one end of the lead screw is arranged inside the protective cover, and the other end is matched with the second insulating rod, one end of the second insulating rod is installed with a second installation cylinder, and the second installation cylinder The rotating shaft is connected with the other telescopic mechanism, the worm wheel is installed on the lead screw and matched with the worm screw, a chute is arranged at the bottom of the lead screw, and the protrusion is installed inside the protective cover and close to the first insulating rod on one side and match with the chute on the lead screw. 2.根据权利要求1所述的一种配电带电作业线路相间绝缘隔离装置,其特征在于,所述第二绝缘杆采用中空结构,并与丝杠相配合,所述蜗杆的两端延伸到保护罩的外侧,且在蜗杆的两端安装有两个六棱螺母。2 . The phase-to-phase insulation isolation device for power distribution live working lines according to claim 1 , wherein the second insulating rod adopts a hollow structure and is matched with the lead screw, and the two ends of the worm extend to 2 . Two hexagonal nuts are installed on the outside of the protective cover and at both ends of the worm. 3.根据权利要求1-2任意一项所述的一种配电带电作业线路相间绝缘隔离装置的使用方法,其特征在于,包括如下步骤:3. A method of using the phase-to-phase insulation isolation device for a power distribution live working line according to any one of claims 1-2, wherein the method comprises the following steps: 固定导线,将三根导线分别放入三个导线固定装置;To fix the wires, put the three wires into the three wire fixing devices respectively; 将导线撑开,调节第一伸缩机构、第二伸缩机构、第三伸缩机构,将带电导线撑开;Spread the wire, adjust the first telescopic mechanism, the second telescopic mechanism and the third telescopic mechanism to spread the live wire; 将绝缘绳绑在绝缘绳挂环上,工作人员根据需要对该装置进行调整,保证立、更换电杆的正常进行,待立、更换电杆完成,将该装置取下。The insulating rope is tied to the insulating rope hanging ring, and the staff adjusts the device as needed to ensure the normal operation of erection and replacement of the pole. After the erection and replacement of the pole are completed, the device is removed.
CN202010403431.8A 2020-05-13 2020-05-13 Interphase insulation isolation device for distribution live-line work line and use method Active CN111600236B (en)

Priority Applications (1)

Application Number Priority Date Filing Date Title
CN202010403431.8A CN111600236B (en) 2020-05-13 2020-05-13 Interphase insulation isolation device for distribution live-line work line and use method

Applications Claiming Priority (1)

Application Number Priority Date Filing Date Title
CN202010403431.8A CN111600236B (en) 2020-05-13 2020-05-13 Interphase insulation isolation device for distribution live-line work line and use method

Publications (2)

Publication Number Publication Date
CN111600236A CN111600236A (en) 2020-08-28
CN111600236B true CN111600236B (en) 2022-06-24

Family

ID=72187245

Family Applications (1)

Application Number Title Priority Date Filing Date
CN202010403431.8A Active CN111600236B (en) 2020-05-13 2020-05-13 Interphase insulation isolation device for distribution live-line work line and use method

Country Status (1)

Country Link
CN (1) CN111600236B (en)

Families Citing this family (6)

* Cited by examiner, † Cited by third party
Publication number Priority date Publication date Assignee Title
CN112366598B (en) * 2020-11-25 2021-07-06 嘉兴晋胜机器人有限公司 Rail robot for intelligently inspecting cable and using method thereof
CN112421487B (en) * 2020-11-25 2025-01-24 国网湖北省电力有限公司宜昌供电公司 A telescopic insulating spacer
CN112952709A (en) * 2021-03-30 2021-06-11 国网安徽省电力有限公司亳州供电公司 Live working triangle spacer
CN112952708B (en) * 2021-03-30 2023-05-05 国网安徽省电力有限公司亳州供电公司 Triangle clamping plate type spacing rod for live working
CN113270812B (en) * 2021-05-08 2025-03-25 国网江苏省电力有限公司南京供电分公司 Components for constructing an insulating support device and an insulating support device
CN118508315B (en) * 2024-07-16 2024-10-25 国网山东省电力公司东营供电公司 Overhead conductor insulation support rod and use method

Citations (10)

* Cited by examiner, † Cited by third party
Publication number Priority date Publication date Assignee Title
CN201708480U (en) * 2010-06-28 2011-01-12 河南省电力公司平顶山供电公司 Three phase line distraction supporting pole used for operation of charged standing pole
CN202084889U (en) * 2011-06-23 2011-12-21 西安长明三立电力电气有限公司 Composite phase-to-phase spacer
CN204205397U (en) * 2014-11-19 2015-03-11 国家电网公司 A kind of adjustable Cable holder for distribution
CN205791238U (en) * 2016-07-13 2016-12-07 云南电网有限责任公司红河供电局 A kind of 10kV distribution line charged lifter of straightway three-phase conducting wire
CN205829027U (en) * 2016-06-29 2016-12-21 国网内蒙古东部电力有限公司呼伦贝尔供电公司 Novel electric power circuit cleaning plant
CN207251078U (en) * 2017-10-18 2018-04-17 广西电网有限责任公司南宁供电局 Power distribution live-wire circuit phase insulation isolating device
CN208078525U (en) * 2018-04-28 2018-11-09 国网福建省电力有限公司龙岩供电公司 Three-phase conducting wire for distribution network live line work upright bar struts insulating frame
CN208337016U (en) * 2018-03-26 2019-01-04 广东电网有限责任公司惠州供电局 A kind of flexible temporary cross arm device of 10kV distribution line livewire work novel hand-operated
CN208797466U (en) * 2018-09-19 2019-04-26 国网浙江省电力有限公司丽水供电公司 For increasing the triangle-pole of cable spacing
CN209981998U (en) * 2018-12-26 2020-01-21 国网福建省电力有限公司福清市供电公司 A telescopic insulating strut

Patent Citations (10)

* Cited by examiner, † Cited by third party
Publication number Priority date Publication date Assignee Title
CN201708480U (en) * 2010-06-28 2011-01-12 河南省电力公司平顶山供电公司 Three phase line distraction supporting pole used for operation of charged standing pole
CN202084889U (en) * 2011-06-23 2011-12-21 西安长明三立电力电气有限公司 Composite phase-to-phase spacer
CN204205397U (en) * 2014-11-19 2015-03-11 国家电网公司 A kind of adjustable Cable holder for distribution
CN205829027U (en) * 2016-06-29 2016-12-21 国网内蒙古东部电力有限公司呼伦贝尔供电公司 Novel electric power circuit cleaning plant
CN205791238U (en) * 2016-07-13 2016-12-07 云南电网有限责任公司红河供电局 A kind of 10kV distribution line charged lifter of straightway three-phase conducting wire
CN207251078U (en) * 2017-10-18 2018-04-17 广西电网有限责任公司南宁供电局 Power distribution live-wire circuit phase insulation isolating device
CN208337016U (en) * 2018-03-26 2019-01-04 广东电网有限责任公司惠州供电局 A kind of flexible temporary cross arm device of 10kV distribution line livewire work novel hand-operated
CN208078525U (en) * 2018-04-28 2018-11-09 国网福建省电力有限公司龙岩供电公司 Three-phase conducting wire for distribution network live line work upright bar struts insulating frame
CN208797466U (en) * 2018-09-19 2019-04-26 国网浙江省电力有限公司丽水供电公司 For increasing the triangle-pole of cable spacing
CN209981998U (en) * 2018-12-26 2020-01-21 国网福建省电力有限公司福清市供电公司 A telescopic insulating strut

Also Published As

Publication number Publication date
CN111600236A (en) 2020-08-28

Similar Documents

Publication Publication Date Title
CN111600236B (en) Interphase insulation isolation device for distribution live-line work line and use method
WO2012088987A1 (en) Maintenance tool for insulator of direct current transmission line
CN102966258A (en) Temporary supporting crossarm for live working
CN204012466U (en) Concertina type bottle-holding rack
CN209786629U (en) Auxiliary device for replacing tension glass insulator of power transmission line
CN206370650U (en) A kind of 35 kV circuit single poles porcelain pole arms repairing instrument
CN208337014U (en) A kind of charged for replacement Voltage for Insulators on HV Lines lifting block hanging point heightening device
CN102064495B (en) Lead wire brace rod for double-circuit lines on same pole
CN212622890U (en) An easy-to-install fault indicator
CN220976379U (en) A kind of auxiliary replacement device of column insulator
CN205248704U (en) Overhaul high altitude transmission line's supplementary anchor clamps
CN207117018U (en) A kind of fast-assembling Portable overhauling platform of horizontally openable formula GW4 type disconnecting switch
CN107069508B (en) Auxiliary tool for replacing post insulator of isolating switch under 110kV
CN208015333U (en) A kind of 35kV double cables single pole rod rising device
CN216750993U (en) Complete tool for indirectly replacing 10kV line tension insulator in electrified mode
CN205583524U (en) Composite insulator cat ladder of being qualified for next round of competitions
CN206775000U (en) Wire lifts insulating support
CN110653741A (en) Tool for electrically fastening clamp bolt in overhead electrified remote control of power transmission line
CN213379547U (en) An auxiliary device for replacing wire clips
CN203039273U (en) Transformer station tubular busbar double-clamp grounding device
CN212198245U (en) Universal type disconnecting link overhauling hanging bracket
CN210957558U (en) Lifting assistor tool for insulated operating rod
CN202578116U (en) Single-person on-pole assembler for dual-fan cross arm
CN107565484A (en) Line fixing device more than bypass cable
CN209562011U (en) It is arranged vertically 10kV overhead transmission line on-load and replaces on-pole switch device

Legal Events

Date Code Title Description
PB01 Publication
PB01 Publication
SE01 Entry into force of request for substantive examination
SE01 Entry into force of request for substantive examination
GR01 Patent grant
GR01 Patent grant