CN111449927A - electric massager - Google Patents
electric massager Download PDFInfo
- Publication number
- CN111449927A CN111449927A CN202010250421.5A CN202010250421A CN111449927A CN 111449927 A CN111449927 A CN 111449927A CN 202010250421 A CN202010250421 A CN 202010250421A CN 111449927 A CN111449927 A CN 111449927A
- Authority
- CN
- China
- Prior art keywords
- gear
- sleeve
- inner core
- transmission
- elastic inner
- Prior art date
- Legal status (The legal status is an assumption and is not a legal conclusion. Google has not performed a legal analysis and makes no representation as to the accuracy of the status listed.)
- Pending
Links
Images
Classifications
-
- A—HUMAN NECESSITIES
- A61—MEDICAL OR VETERINARY SCIENCE; HYGIENE
- A61H—PHYSICAL THERAPY APPARATUS, e.g. DEVICES FOR LOCATING OR STIMULATING REFLEX POINTS IN THE BODY; ARTIFICIAL RESPIRATION; MASSAGE; BATHING DEVICES FOR SPECIAL THERAPEUTIC OR HYGIENIC PURPOSES OR SPECIFIC PARTS OF THE BODY
- A61H7/00—Devices for suction-kneading massage; Devices for massaging the skin by rubbing or brushing not otherwise provided for
-
- A—HUMAN NECESSITIES
- A61—MEDICAL OR VETERINARY SCIENCE; HYGIENE
- A61H—PHYSICAL THERAPY APPARATUS, e.g. DEVICES FOR LOCATING OR STIMULATING REFLEX POINTS IN THE BODY; ARTIFICIAL RESPIRATION; MASSAGE; BATHING DEVICES FOR SPECIAL THERAPEUTIC OR HYGIENIC PURPOSES OR SPECIFIC PARTS OF THE BODY
- A61H15/00—Massage by means of rollers, balls, e.g. inflatable, chains, or roller chains
- A61H15/0078—Massage by means of rollers, balls, e.g. inflatable, chains, or roller chains power-driven
-
- A—HUMAN NECESSITIES
- A61—MEDICAL OR VETERINARY SCIENCE; HYGIENE
- A61H—PHYSICAL THERAPY APPARATUS, e.g. DEVICES FOR LOCATING OR STIMULATING REFLEX POINTS IN THE BODY; ARTIFICIAL RESPIRATION; MASSAGE; BATHING DEVICES FOR SPECIAL THERAPEUTIC OR HYGIENIC PURPOSES OR SPECIFIC PARTS OF THE BODY
- A61H7/00—Devices for suction-kneading massage; Devices for massaging the skin by rubbing or brushing not otherwise provided for
- A61H7/007—Kneading
-
- A—HUMAN NECESSITIES
- A61—MEDICAL OR VETERINARY SCIENCE; HYGIENE
- A61M—DEVICES FOR INTRODUCING MEDIA INTO, OR ONTO, THE BODY; DEVICES FOR TRANSDUCING BODY MEDIA OR FOR TAKING MEDIA FROM THE BODY; DEVICES FOR PRODUCING OR ENDING SLEEP OR STUPOR
- A61M21/00—Other devices or methods to cause a change in the state of consciousness; Devices for producing or ending sleep by mechanical, optical, or acoustical means, e.g. for hypnosis
- A61M21/02—Other devices or methods to cause a change in the state of consciousness; Devices for producing or ending sleep by mechanical, optical, or acoustical means, e.g. for hypnosis for inducing sleep or relaxation, e.g. by direct nerve stimulation, hypnosis, analgesia
-
- A—HUMAN NECESSITIES
- A61—MEDICAL OR VETERINARY SCIENCE; HYGIENE
- A61H—PHYSICAL THERAPY APPARATUS, e.g. DEVICES FOR LOCATING OR STIMULATING REFLEX POINTS IN THE BODY; ARTIFICIAL RESPIRATION; MASSAGE; BATHING DEVICES FOR SPECIAL THERAPEUTIC OR HYGIENIC PURPOSES OR SPECIFIC PARTS OF THE BODY
- A61H2201/00—Characteristics of apparatus not provided for in the preceding codes
- A61H2201/12—Driving means
- A61H2201/1207—Driving means with electric or magnetic drive
-
- A—HUMAN NECESSITIES
- A61—MEDICAL OR VETERINARY SCIENCE; HYGIENE
- A61H—PHYSICAL THERAPY APPARATUS, e.g. DEVICES FOR LOCATING OR STIMULATING REFLEX POINTS IN THE BODY; ARTIFICIAL RESPIRATION; MASSAGE; BATHING DEVICES FOR SPECIAL THERAPEUTIC OR HYGIENIC PURPOSES OR SPECIFIC PARTS OF THE BODY
- A61H2201/00—Characteristics of apparatus not provided for in the preceding codes
- A61H2201/14—Special force transmission means, i.e. between the driving means and the interface with the user
-
- A—HUMAN NECESSITIES
- A61—MEDICAL OR VETERINARY SCIENCE; HYGIENE
- A61M—DEVICES FOR INTRODUCING MEDIA INTO, OR ONTO, THE BODY; DEVICES FOR TRANSDUCING BODY MEDIA OR FOR TAKING MEDIA FROM THE BODY; DEVICES FOR PRODUCING OR ENDING SLEEP OR STUPOR
- A61M21/00—Other devices or methods to cause a change in the state of consciousness; Devices for producing or ending sleep by mechanical, optical, or acoustical means, e.g. for hypnosis
- A61M2021/0005—Other devices or methods to cause a change in the state of consciousness; Devices for producing or ending sleep by mechanical, optical, or acoustical means, e.g. for hypnosis by the use of a particular sense, or stimulus
- A61M2021/0027—Other devices or methods to cause a change in the state of consciousness; Devices for producing or ending sleep by mechanical, optical, or acoustical means, e.g. for hypnosis by the use of a particular sense, or stimulus by the hearing sense
Landscapes
- Health & Medical Sciences (AREA)
- Pain & Pain Management (AREA)
- Life Sciences & Earth Sciences (AREA)
- Animal Behavior & Ethology (AREA)
- General Health & Medical Sciences (AREA)
- Public Health (AREA)
- Veterinary Medicine (AREA)
- Epidemiology (AREA)
- Physical Education & Sports Medicine (AREA)
- Rehabilitation Therapy (AREA)
- Anesthesiology (AREA)
- Dermatology (AREA)
- Physics & Mathematics (AREA)
- Acoustics & Sound (AREA)
- Psychology (AREA)
- Engineering & Computer Science (AREA)
- Biomedical Technology (AREA)
- Heart & Thoracic Surgery (AREA)
- Hematology (AREA)
- Massaging Devices (AREA)
Abstract
本发明公开了电动按摩器,包括一端开口的弹性内芯,弹性内芯设置有第一腔体,第一腔体与弹性内芯的开口连通;套筒,套筒包括用于夹持弹性内芯的内筒,内筒设置有用于挤压弹性内芯的夹条,夹条间隔设置于内筒周缘,弹性内芯设置于由夹条围绕而成的空腔内;传动机构,传动机构与套筒连接;驱动机构,驱动机构与传动机构传动连接。根据本发明的电动按摩器,弹性内芯设置于内筒内,由夹条夹紧弹性内芯,夹条的挤压力能够使弹性内芯的第一腔体收缩,从而挤压按摩人体;驱动机构通过与传动齿轮组,增加力矩,从而使驱动机构的输出力度增大,齿轮轴套在驱动机构驱动下带动套筒旋转,能够对人体进行旋转按摩。
The invention discloses an electric massager, which comprises an elastic inner core with an opening at one end, the elastic inner core is provided with a first cavity, and the first cavity is communicated with the opening of the elastic inner core; the sleeve includes a sleeve for clamping the elastic inner core. The inner cylinder of the core is provided with clip bars for squeezing the elastic inner core, the clip bars are arranged at intervals on the periphery of the inner cylinder, and the elastic inner core is arranged in the cavity surrounded by the clip bars; the transmission mechanism, the transmission mechanism and the Sleeve connection; drive mechanism, the drive mechanism and the transmission mechanism are in transmission connection. According to the electric massager of the present invention, the elastic inner core is arranged in the inner cylinder, the elastic inner core is clamped by the clips, and the squeezing force of the clips can shrink the first cavity of the elastic inner core, thereby squeezing and massaging the human body; The driving mechanism increases the torque through the transmission gear set, so that the output force of the driving mechanism is increased, and the gear shaft sleeve drives the sleeve to rotate under the driving of the driving mechanism, so that the human body can be rotated and massaged.
Description
技术领域technical field
本发明涉及按摩器技术领域,特别涉及一种电动按摩器。The invention relates to the technical field of massagers, in particular to an electric massager.
背景技术Background technique
现代生活中,人们的生活压力越来越大,需要通过各种各样的途径舒缓压力,使自己放松,通过按摩器进行按摩,是现代人们释放压力的常用方法。现有技术中的按摩器,大多只能进行单一的旋转按摩,并且按摩器的工作力度小,不能够为人们提供良好的使用体验。In modern life, people's life pressure is getting bigger and bigger, and they need to relieve the pressure through various ways to relax themselves. Massage through a massager is a common method for modern people to release pressure. Most of the massagers in the prior art can only perform a single rotary massage, and the work force of the massager is small, which cannot provide people with a good use experience.
发明内容SUMMARY OF THE INVENTION
本发明旨在至少解决现有技术中存在的技术问题之一。为此,本发明提出一种电动按摩器,能够在旋转按摩人体的同时挤压按摩人体,并且工作力度大,能够更好地按摩人体。The present invention aims to solve at least one of the technical problems existing in the prior art. Therefore, the present invention proposes an electric massager, which can squeeze and massage the human body while rotating and massage the human body, and has a large working force and can better massage the human body.
根据本发明的一些实施例的电动按摩器,包括一端开口的弹性内芯,所述弹性内芯设置有第一腔体,所述第一腔体与所述弹性内芯的开口连通;套筒,所述套筒包括用于夹持所述弹性内芯的内筒,所述内筒设置有用于挤压所述弹性内芯的夹条,所述夹条间隔设置于所述内筒周缘,所述弹性内芯设置于由所述夹条围绕而成的空腔内;传动机构,所述传动机构与所述套筒连接;驱动机构,所述驱动机构与所述传动机构传动连接。The electric massager according to some embodiments of the present invention includes an elastic inner core with one end open, the elastic inner core is provided with a first cavity, and the first cavity communicates with the opening of the elastic inner core; a sleeve , the sleeve includes an inner cylinder for clamping the elastic inner core, the inner cylinder is provided with a clamping strip for squeezing the elastic inner core, and the clamping strips are arranged at intervals on the periphery of the inner cylinder, The elastic inner core is arranged in the cavity surrounded by the clip bars; a transmission mechanism, the transmission mechanism is connected with the sleeve; a driving mechanism, the driving mechanism is in transmission connection with the transmission mechanism.
根据本发明的一些实施例的电动按摩器,至少具有如下有益效果:所述弹性内芯设置于所述内筒内,由所述夹条夹紧所述弹性内芯,所述夹条的挤压力能够使所述弹性内芯的所述第一腔体收缩,从而挤压按摩人体;所述驱动机构通过与所述传动齿轮组,增加力矩,从而使所述驱动机构的输出力度增大,所述齿轮轴套在所述驱动机构驱动下带动所述套筒旋转,能够对人体进行旋转按摩。The electric massager according to some embodiments of the present invention has at least the following beneficial effects: the elastic inner core is arranged in the inner cylinder, the elastic inner core is clamped by the clamping strip, and the clamping strip is squeezed. The pressure can shrink the first cavity of the elastic inner core, thereby squeezing and massaging the human body; the driving mechanism increases the torque through the transmission gear set, thereby increasing the output strength of the driving mechanism , the gear shaft sleeve drives the sleeve to rotate under the drive of the drive mechanism, so that the human body can be rotated and massaged.
根据本发明的一些实施例,所述套筒还包括用于固定所述弹性内芯的外筒,所述外筒与所述传动机构连接。According to some embodiments of the present invention, the sleeve further includes an outer cylinder for fixing the elastic inner core, and the outer cylinder is connected with the transmission mechanism.
根据本发明的一些实施例,所述内筒和所述外筒之间设置有相互卡接的卡槽和卡扣。According to some embodiments of the present invention, the inner cylinder and the outer cylinder are provided with mutually clamping slots and buckles.
根据本发明的一些实施例,所述传动机构包括齿轮轴套和传动齿轮组,所述套筒与所述齿轮轴套连接,所述齿轮轴套与所述传动齿轮组传动连接,所述传动齿轮组与所述传动机构传动连接。According to some embodiments of the present invention, the transmission mechanism includes a gear sleeve and a transmission gear set, the sleeve is connected to the gear sleeve, the gear sleeve is drive-connected to the transmission gear set, and the transmission The gear set is drivingly connected with the transmission mechanism.
根据本发明的一些实施例,所述传动齿轮组包括第一齿轮和第二齿轮,所述第一齿轮与所述齿轮轴套传动连接,所述第二齿轮与所述第一齿轮连接。According to some embodiments of the present invention, the transmission gear set includes a first gear and a second gear, the first gear is drivingly connected with the gear sleeve, and the second gear is connected with the first gear.
根据本发明的一些实施例,所述第一齿轮为双联齿轮,所述双联齿轮包括第三齿轮和第四齿轮,所述第三齿轮与所述齿轮轴套连接,所述第四齿轮与所述第二齿轮连接,所述第二齿轮与所述驱动机构的输出轴传动连接。According to some embodiments of the present invention, the first gear is a double gear, the double gear includes a third gear and a fourth gear, the third gear is connected with the gear sleeve, and the fourth gear is connected with the second gear, and the second gear is in driving connection with the output shaft of the driving mechanism.
根据本发明的一些实施例,还包括与所述驱动机构的输出轴套接的蜗杆,所述蜗杆与所述第二齿轮传动连接。According to some embodiments of the present invention, it further includes a worm screw sleeved with the output shaft of the driving mechanism, and the worm screw is drivingly connected with the second gear.
根据本发明的一些实施例,所述齿轮轴套设置有用于与所述套筒固定连接的连接块。According to some embodiments of the present invention, the gear bushing is provided with a connecting block for fixedly connecting with the sleeve.
根据本发明的一些实施例,还包括有壳体,所述套筒、所述传动机构和所述驱动机构均设置于所述壳体内。According to some embodiments of the present invention, a housing is further included, and the sleeve, the transmission mechanism and the driving mechanism are all arranged in the housing.
根据本发明的一些实施例,还包括有设置在所述壳体内的音频模块和设置在所述壳体上的耳机孔,所述音频模块与所述耳机孔电连接。According to some embodiments of the present invention, an audio module disposed in the casing and an earphone jack disposed on the casing are further included, and the audio module is electrically connected to the earphone jack.
本发明的附加方面和优点将在下面的描述中部分给出,部分将从下面的描述中变得明显,或通过本发明的实践了解到。Additional aspects and advantages of the present invention will be set forth, in part, from the following description, and in part will be apparent from the following description, or may be learned by practice of the invention.
附图说明Description of drawings
本发明的上述和/或附加的方面和优点从结合下面附图对实施例的描述中将变得明显和容易理解,其中:The above and/or additional aspects and advantages of the present invention will become apparent and readily understood from the following description of embodiments taken in conjunction with the accompanying drawings, wherein:
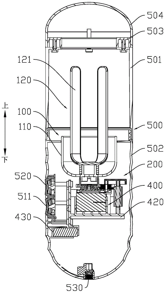
图1为本发明实施例电动按摩器的正面剖视图;Fig. 1 is the front sectional view of the electric massager of the embodiment of the present invention;
图2为本发明实施例电动按摩器的内部结构示意图;Fig. 2 is the internal structure schematic diagram of the electric massager of the embodiment of the present invention;
图3为本发明实施例电动按摩器的传动机构示意图;Fig. 3 is the transmission mechanism schematic diagram of the electric massager of the embodiment of the present invention;
图4为本发明实施例电动按摩器的外筒立体图;4 is a perspective view of an outer cylinder of an electric massager according to an embodiment of the present invention;
图5为本发明实施例电动按摩器的外筒剖视图;5 is a cross-sectional view of an outer cylinder of an electric massager according to an embodiment of the present invention;
图6为本发明实施例电动按摩器的内筒立体图;6 is a perspective view of an inner cylinder of an electric massager according to an embodiment of the present invention;
图7为本发明实施例电动按摩器的侧面剖视图;Fig. 7 is the side sectional view of the electric massager of the embodiment of the present invention;
图8为本发明实施例电动按摩器的A部分放大示意图。FIG. 8 is an enlarged schematic diagram of part A of the electric massager according to the embodiment of the present invention.
附图标记:Reference number:
套筒100、外筒110、固定槽111、卡扣112、内筒120、夹条121、卡槽122、传动机构200、齿轮轴套210、连接块211、传动齿轮组300、第一齿轮310、第三齿轮311、第四齿轮312、第二齿轮320、
驱动机构400、蜗杆410、电机座420、电池430、
壳体500、上壳体501、下壳体502、环形挡片503、盖子504、耳机孔511、音乐按钮511、档位按钮520、螺纹孔530。The
具体实施方式Detailed ways
下面详细描述本发明的实施例,实施例的示例在附图中示出,其中自始至终相同或类似的标号表示相同或类似的元件或具有相同或类似功能的元件。下面通过参考附图描述的实施例是示例性的,仅用于解释本发明,而不能理解为对本发明的限制。Embodiments of the present invention are described in detail below, examples of which are illustrated in the accompanying drawings, wherein the same or similar reference numerals refer to the same or similar elements or elements having the same or similar functions throughout. The embodiments described below with reference to the accompanying drawings are exemplary, only used to explain the present invention, and should not be construed as a limitation of the present invention.
在本发明的描述中,需要理解的是,涉及到方位描述,例如上、下、前、后、左、右、顶、底等指示的方位或位置关系为基于附图所示的方位或位置关系,仅是为了便于描述本发明和简化描述,而不是指示或暗示所指的装置或元件必须具有特定的方位、以特定的方位构造和操作,因此不能理解为对本发明的限制。In the description of the present invention, it should be understood that the orientation descriptions related to, such as up, down, front, rear, left, right, top, bottom, etc., indicate the orientation or positional relationship based on the orientation or position shown in the drawings The relationship is only for the convenience of describing the present invention and simplifying the description, rather than indicating or implying that the referred device or element must have a specific orientation, be constructed and operated in a specific orientation, and therefore should not be construed as a limitation of the present invention.
在本发明的描述中,若干的含义是一个或者多个,多个的含义是两个以上,大于、小于、超过等理解为不包括本数,以上、以下、以内等理解为包括本数。如果有描述到第一、第二只是用于区分技术特征为目的,而不能理解为指示或暗示相对重要性或者隐含指明所指示的技术特征的数量或者隐含指明所指示的技术特征的先后关系。In the description of the present invention, the meaning of several is one or more, the meaning of multiple is two or more, greater than, less than, exceeding, etc. are understood as not including this number, above, below, within, etc. are understood as including this number. If it is described that the first and the second are only for the purpose of distinguishing technical features, it cannot be understood as indicating or implying relative importance, or indicating the number of the indicated technical features or the order of the indicated technical features. relation.
本发明的描述中,除非另有明确的限定,设置、安装、连接等词语应做广义理解,所属技术领域技术人员可以结合技术方案的具体内容合理确定上述词语在本发明中的具体含义。In the description of the present invention, unless otherwise clearly defined, words such as setting, installation, connection should be understood in a broad sense, and those skilled in the art can reasonably determine the specific meanings of the above words in the present invention in combination with the specific content of the technical solution.
下面参考图1至图8描述根据本发明实施例的电动按摩器。An electric massager according to an embodiment of the present invention will be described below with reference to FIGS. 1 to 8 .
如图1和图2所示,描述根据本发明实施例的电动按摩器,包括一端开口的弹性内芯(在附图中未示出),弹性内芯设置有第一腔体,第一腔体与弹性内芯的开口连通;套筒100,套筒100包括用于夹持弹性内芯的内筒120,内筒120设置有用于挤压弹性内芯的夹条121,夹条121间隔设置于内筒120周缘,弹性内芯设置于由夹条121围绕而成的空腔内;传动机构200,传动机构200与套筒100连接;驱动机构400,驱动机构400与传动机构200传动连接。As shown in FIG. 1 and FIG. 2 , an electric massager according to an embodiment of the present invention is described, including an elastic inner core (not shown in the drawings) with one end open, the elastic inner core is provided with a first cavity, the first cavity The body is communicated with the opening of the elastic inner core; the
具体地,弹性内芯为软硅胶材质,能够在夹条121的挤压力作用下发生形变,从而改变第一腔体的容积,对处于第一腔体内的人体进行按摩,还包括用于承载驱动机构400和传动机构200的电机座420,驱动机构400为电机,电机设置在传动机构200下方,传动机构200上方为套筒100,电机的输出轴轴向方向与套筒100中心轴轴向方向垂直,电机横卧,能够缩短电动按摩器的长度,节约空间。电机通过与传动齿轮组300传动连接,使电机的力矩增长,增大输出力,进而带动套筒100做旋转运动。Specifically, the elastic inner core is made of soft silicone material, which can be deformed under the action of the pressing force of the
为了使电动按摩器在带动弹性内芯转动同时,能够对人体进行挤压按摩,夹条121设置在内筒120的周缘方向,内筒120设置有四条夹条121,夹条121由内筒120底部向上延伸,呈长条状;周向设置的四条夹条121围绕呈圆形,围绕而成的圆形的内径直径比弹性内芯的直径要小,由于弹性内芯直径更大,当弹性内芯安装进内筒120内的时候,内筒120周缘的夹条121会对弹性内芯造成一个挤压应力,从而使人体在按摩的时候能够感受到挤压效果,使弹性内芯在旋转的同时,还能够进行对人体进行挤压按摩;使用者还能够根据自身需求,更换不同的弹性内芯,从而获得不同的按摩效果。In order to enable the electric massager to squeeze and massage the human body while driving the elastic inner core to rotate, the
当然根据实际情况,在其他一些实施例中,还可以采用若干S型夹条121,S型夹条121沿内筒120的轴向方向弯曲延伸,由于S型夹条121弯曲延伸,能够对弹性内芯的轴向方向上的不同部位进行挤压,使弹性内芯各处的挤压应力不一样,提高使用者的使用体验。Of course, according to the actual situation, in some other embodiments, several S-
在本发明的一些实施例中,为了使套筒100在旋转过程中能够保持稳定性,如图1和图2所示,套筒100还包括用于固定弹性内芯的外筒110,外筒110与传动机构200连接。In some embodiments of the present invention, in order to keep the
具体地,外筒110设置在套筒100的底部,外筒110呈半圆筒状,由于外筒110的直径大于内筒120的直径,内筒120安装在外筒110内,使套筒100在转动的时候能够更加稳定。Specifically, the
当然根据实际情况,在其他一些实施例中,还可以采用在套筒100的筒壁底部设置配重块,通过配重块使套筒100的重心降低,使套筒100在旋转的时候降低离心力对套筒100的晃动。Of course, according to the actual situation, in some other embodiments, a counterweight block can also be set at the bottom of the cylinder wall of the
在本发明的一些实施例中,为了使电动按摩器的弹性内芯容易拆卸,方便日常清理维护,如图5和图6所示,内筒120和外筒110之间设置有相互卡接的卡槽122和卡扣112。In some embodiments of the present invention, in order to make the elastic inner core of the electric massager easy to disassemble and facilitate daily cleaning and maintenance, as shown in FIG. 5 and FIG. The
具体地,内筒120设置在外筒110内,外筒110内腔设置有第一圆形凸台,第一圆形凸台两侧对称设置有圆形卡扣112,而内筒120底部设置有能够与第一圆形凸台嵌合的第二圆形凸台,第二圆形凸台两侧对称设置有能够与圆形卡扣112相互卡接的卡槽122,卡槽122还设置有沿第二圆形凸台内周向设置的滑槽,滑槽与卡槽122连通;弹性内芯与内筒120过盈连接,当使用者需要拆卸弹性内芯清理的时候,只要抓住弹性内芯顶部,旋转弹性内芯,就能够带动内筒120旋转,当外筒110的第一圆形凸台上的圆形卡扣112从滑槽内转动到卡槽122的时候,外筒110和内筒120就能够分离出来,使用者可以把弹性内芯和内筒120一起抽出,进行清理。Specifically, the
当然根据实际情况,在其他一些实施例中,还可以采用卡扣112的方式使内筒120和外筒110之间固定连接,使用者只需要先把弹性内芯拔出,然后用力把内筒120往外拔,就能够使内筒120和外筒110之间的卡扣112松开,从而抽出内筒120,进行后期维护和清理。Of course, according to the actual situation, in some other embodiments, the
在本发明的一些实施例中,为了增长电机的的传动力矩,如图2和图3所示,传动机构包括齿轮轴套和传动齿轮组,套筒与齿轮轴套连接,齿轮轴套与传动齿轮组传动连接,传动齿轮组与传动机构传动连接。In some embodiments of the present invention, in order to increase the transmission torque of the motor, as shown in FIG. 2 and FIG. 3 , the transmission mechanism includes a gear sleeve and a transmission gear set, the sleeve is connected to the gear sleeve, and the gear sleeve is connected to the transmission The gear group is in transmission connection, and the transmission gear group is in transmission connection with the transmission mechanism.
具体地,齿轮轴套210分为轴套部分和齿轮部分,齿轮部分与传动齿轮组300传动连接,轴套部分的底部转动连接在电机座420上,顶部与套筒100固定连接,电机带动套筒100转动,套筒100以齿轮轴套210的轴心为旋转轴做旋转运动。Specifically, the
在本发明的一些实施例中,为了延长电机的力矩,使电机的输出力度加大,如图2和图3所示,传动齿轮组300包括第一齿轮310和第二齿轮320,第一齿轮310与齿轮轴套210传动连接,第二齿轮320与第一齿轮310连接。In some embodiments of the present invention, in order to prolong the torque of the motor and increase the output force of the motor, as shown in FIG. 2 and FIG. 3 , the transmission gear set 300 includes a
具体地,第一齿轮310分为上下两个齿轮,上下齿轮固定连接,上齿轮的齿数小于下齿轮的齿数,电机通过第一齿轮310的传动效果,能够使电机的输出转速降低,提高输出扭矩,第一齿轮310作为减速机构,在降低电机输出转速的同时也能够使套筒100的转速降低,使其旋转速度更加适合用于按摩人体。Specifically, the
当然根据实际情况,在其他一些实施例中,还能采用多级减速机构,多级减速机构包括数个减速齿轮,使用者能够根据实际需要,通过增加或减少减速齿轮的数量,来改变电机的输出力矩,从而使电机的输出力度更大。Of course, according to the actual situation, in other embodiments, a multi-stage deceleration mechanism can also be used. The multi-stage deceleration mechanism includes several reduction gears. The user can increase or decrease the number of reduction gears according to actual needs to change the motor. Output torque, so that the output force of the motor is greater.
在本发明的一些实施例中,为了在不增加齿轮组的长度下进一步降低电机的输出转速,如图3所示,第一齿轮310为双联齿轮,双联齿轮包括第三齿轮311和第四齿轮312,第三齿轮311与齿轮轴套210连接,第四齿轮312与第二齿轮320连接,第二齿轮320与驱动机构400的输出轴传动连接。In some embodiments of the present invention, in order to further reduce the output speed of the motor without increasing the length of the gear set, as shown in FIG. 3 , the
具体地,双联齿轮为阶梯状齿轮,包括第三齿轮311和第四齿轮312,第三齿轮311与轴套齿轮的齿轮部分啮合连接,第四齿轮312与第二齿轮320啮合连接,第三齿轮311与第四齿轮312同轴设置,第三齿轮311的齿数比第四齿轮312的齿数少,因为第三齿轮311和第四齿轮312同轴设置,所以第三齿轮311和第四齿轮312的转速相同,但第三齿轮311的齿数少于第四齿轮312的齿数,所以双联齿轮为减速齿轮,能够使电机的输出转速降低。通过在电动按摩器中设置双联齿轮,并把双联齿轮设置为减速机构,能够在保持小体积的情况下进一步降低电机的转速,使套筒100的旋转运动更加稳定。Specifically, the double gear is a stepped gear, including a
当然根据实际情况,在其他一些实施例中,还可以在同一个传动轴上固定连接两个齿数各不相同的齿轮,由于两个齿轮固定连接在同一个传动轴上,所以两个齿轮的转速也是相同的,按照需求调整两齿轮的齿数比例,能够改变电机输出的转速,从而改变套筒100的转速。Of course, according to the actual situation, in some other embodiments, two gears with different numbers of teeth can also be fixedly connected to the same transmission shaft. Since the two gears are fixedly connected to the same transmission shaft, the rotational speed of the two gears Similarly, by adjusting the ratio of the number of teeth of the two gears as required, the rotational speed of the motor output can be changed, thereby changing the rotational speed of the
在本发明的一些实施例中,为了使水平设置的电机的输出轴能够与传动齿轮组300传动连接,增大传动比,使电机输出力增大,如图2和图3所示,还包括与驱动机构400的输出轴套接的蜗杆410,蜗杆410与第二齿轮320传动连接。In some embodiments of the present invention, in order to enable the output shaft of the horizontally arranged motor to be drive-connected with the transmission gear set 300, the transmission ratio is increased, and the output force of the motor is increased, as shown in FIG. 2 and FIG. 3 , further comprising: The
具体地,蜗杆410套接在电机的输出轴上,蜗杆410与输出轴固定连接,第二齿轮320为长齿轮,第二齿轮320的下端与蜗杆410啮合连接,从而使电机输出轴的传动方向由水平传动改变为竖直传动;第二齿轮320的上端与双联齿轮啮合,双联齿轮的第四齿轮312与第二齿轮320的上端啮合连接,由于第四齿轮312的齿数大于第三齿轮311的齿数,所以经过双联齿轮的传动后,电机的转速下降,力矩增长,输出力增大;蜗杆410也具有减速作用,蜗杆410与第二齿轮320传动的过程中,电机输出轴的转速已经降低,使扭矩增大,电机的输出力提升,经过第一齿轮310的进一步减速和增加力矩的作用,最终传动到齿轮轴套210的转速会更加平稳,输出力度更大。Specifically, the
当然根据实际情况,在其他一些实施例中,还可以采用齿数比第二齿轮320齿数多的齿轮与电机的输出轴固定连接,电机垂直设置,输出轴的轴向方向与第二齿轮320的轴向方向相互平行;由于与电机输出轴固定连接的齿轮齿数大于第二齿轮320的齿数,所以电机输出轴的转速在经过第二齿轮320后会下降,并且电机输出力提高。Of course, according to the actual situation, in other embodiments, a gear with more teeth than the
在本发明的一些实施例中,为了使套筒100能够牢固的固定在齿轮轴套210上,使套筒100在转动时不会产生晃动,如图3和图4所示,齿轮轴套210设置有用于与套筒100固定连接的连接块211。In some embodiments of the present invention, in order to enable the
具体地,连接块211为固定圆柱,齿轮轴套210的轴套部分顶部周缘设置有四个固定圆柱,套筒100的底部设置有能够与固定圆柱相互嵌合的四个固定槽111,固定圆柱与固定槽111的位置一一对应;齿轮轴套210的轴套部分内部中空,套筒100的底部设置有能够与轴套部分中空处相互嵌合的凸台,两者配合能够起到定位的作用;使用者把套筒100底部的凸台与轴套部分中空处对齐,然后使套筒100的四个固定槽111与齿轮轴套210上的四个固定圆柱固定连接,从而使套筒100与齿轮轴套210之间的连接更加牢固,在电机带动齿轮轴套210旋转的时候,套筒100也能够跟着齿轮轴套210同时旋转,并且由于有固定柱的固定连接作用,套筒100在旋转过程能够保持平稳的转速,不会轻易脱落,外筒110底部设置有与齿轮轴套210的固定圆柱固定连接的槽,使外筒110能够与齿轮轴套210稳定地连接在一起。Specifically, the connecting
当然根据实际情况,在其他一些实施例中,还可以采用一体化设置,把齿轮轴套210和套筒100作为一个整体的旋转部,把旋转部转动安装在电机座420上方,通过传动齿轮组300带动旋转部转动,由于旋转部为一体化设计,不会在旋转过程中发生晃动,稳定性好。Of course, according to the actual situation, in some other embodiments, an integrated arrangement can also be adopted, the
在本发明的一些实施例中,为了使电动按摩器方便使用者携带或握持,如图1和图7所示,还包括有壳体500,套筒100、传动机构200和驱动机构400均设置于壳体500内。In some embodiments of the present invention, in order to facilitate the user to carry or hold the electric massager, as shown in FIG. 1 and FIG. Set in the
具体地,壳体500包括上壳体501和下壳体502,上壳体501和下壳体502通过螺纹连接,上壳体501和下壳体502能够拆卸开来,方便维修;电机座420设置在下壳体502内,电机座420的下方还设置有用于供电的电池430,电池430与电机电连接;传动机构200也设置在下壳体502内,外筒110设置在上壳体501与下壳体502之间,下壳体502与外筒110的筒壁接触的地方设置有凸缘,缩短下壳体502内壁和外筒110之间的距离。Specifically, the
上壳体501顶部设置有能够保护弹性内芯的盖子504,弹性内芯顶部设置在上壳体501顶部外,盖子504能够遮盖弹性内芯顶部,当使用者不使用的时候,能够通过盖子504盖住弹性内芯顶部,对弹性内芯起到保护作用;弹性内芯顶部以下的部分设置在内筒120内,内筒120设置在上壳体501内,上壳体501顶部与弹性内芯顶部接触的地方设置有环形挡片503,环形挡片503能够防止弹性内芯顶部滑入上壳体501内。The top of the
在本发明的一些实施例中,为了让使用者能够获得更好的按摩体验,如图1和图7所示,还包括有设置在壳体500内的音频模块(在附图中未示出)和设置在壳体500上的耳机孔511,音频模块与耳机孔511电连接。In some embodiments of the present invention, in order to allow the user to obtain a better massage experience, as shown in FIG. 1 and FIG. 7 , an audio module (not shown in the accompanying drawings) disposed in the
具体地,音频模块还包括音乐按钮511,音乐按钮511设置在壳体500的下壳体502表面,音乐按钮511与音频模块连接;耳机孔511为3.5mm耳机孔511,耳机孔511设置在下壳体502的底部,耳机孔511与音频模块电连接;使用者在使用电动按摩器的时候想要听音乐的时候,只需要把耳机插入耳机孔511内,通过按动音乐按钮511可以切换音乐,使用者能够在使用电动按摩器的时候边听音乐边按摩,舒缓压力。Specifically, the audio module further includes a
当然根据实际情况,在其他一些实施例中,还可以采用带功放芯片的Type-C接口代替3.5mm耳机孔511,带功放芯片的Type-C能够播放数字解码的高清音频,能够让使用者获得沉浸式体验,提供更加真实的听感体验。Of course, according to the actual situation, in some other embodiments, a Type-C interface with a power amplifier chip can also be used to replace the 3.5
在本发明的一些实施例中,为了能够调节电动按摩棒的旋转速度和档位,如图1和图7所示,还设置有档位按钮520,档位按钮520设置在下壳体502上,位于音乐按钮511上方,档位按钮520与驱动机构400电连接;使用者通过按动档位按钮520,能够改变套筒100的旋转速度,包括逐级调速、自适应变速和正反转等档位,为使用者提供更多按摩方式,舒缓压力。In some embodiments of the present invention, in order to be able to adjust the rotation speed and the gear position of the electric massage stick, as shown in FIG. 1 and FIG. Located above the
在本发明的一些实施例中,为了让使用者在使用电动按摩器的时候能够腾出双手,如图7和图8所示,下壳体502还设置有螺纹孔530,使用者可以通过吸盘或者支架上的螺丝与下壳体502处的螺纹孔530连接,从而固定电动按摩器,让使用者能够边按摩放松,边处理其他事情,提升用户体验。In some embodiments of the present invention, in order to allow the user to free up his hands when using the electric massager, as shown in FIG. 7 and FIG. 8 , the
下面参考图1至图8以一个具体的实施例详细描述根据本发明实施例的电动按摩器。值得理解的是,下述描述仅是示例性说明,而不是对发明的具体限制。The electric massager according to the embodiment of the present invention will be described in detail below with reference to FIGS. 1 to 8 with a specific embodiment. It is to be understood that the following description is illustrative only and not specific limitation of the invention.
电动按摩器由上下壳体连接而成,下壳体502设置有能够控制旋转档位的档位按钮520,能够播放音乐的音频模块,音频模块与设置在下壳体502上的音乐按钮511连接,壳体500下方设置有耳机孔511,耳机孔511与下壳体502电连接,使用者能够在使用电动按摩器时边按摩边听音乐;下壳体502底部还设置有用于固定壳体500的螺纹孔530,能够让使用者解放双手,边按摩边处理工作。The electric massager is formed by connecting the upper and lower casings. The
驱动机构400、电池430和传动机构200均设置于下壳体502内部,驱动机构400为电机,电机设置在传动机构200下方,传动机构200上方为套筒100,电机的输出轴轴向方向与套筒100中心轴轴向方向垂直,电机横卧,能够缩短电动按摩器的长度,节约空间。电机通过与传动齿轮组300传动连接,使电机的力矩增长,增大输出力;齿轮轴套210分为轴套部分和齿轮部分,齿轮部分与传动齿轮组300传动连接,轴套部分的底部转动连接在电机座420上,顶部与套筒100固定连接,电机带动套筒100转动,套筒100以齿轮轴套210的轴心为旋转轴做旋转运动。The
套筒100设置在上壳体501内,内筒120设置在外筒110内,外筒110内腔设置有第一圆形凸台,第一圆形凸台两侧对称设置有圆形卡扣112,而内筒120底部设置有能够与第一圆形凸台嵌合的第二圆形凸台,第二圆形凸台两侧对称设置有能够与圆形卡扣112相互卡接的卡槽122,卡槽122还设置有沿第二圆形凸台内周向设置的滑槽,滑槽与卡槽122连通;弹性内芯与内筒120过盈连接,当使用者需要拆卸弹性内芯清理的时候,只要抓住弹性内芯顶部,旋转弹性内芯,就能够带动内筒120旋转,当外筒110的第一圆形凸台上的圆形卡扣112从滑槽内转动到卡槽122的时候,外筒110和内筒120就能够分离出来,使用者可以把弹性内芯和内筒120一起抽出,进行清理。The
根据本发明实施例的电动按摩器,通过如此设置,可以达成至少如下的一些效果:驱动机构400通过与传动齿轮组300,增加力矩,从而使驱动机构400的输出力度增大,齿轮轴套210在驱动机构400驱动下带动套筒100旋转,能够对人体进行旋转按摩,使用者在使用按摩器的时候还能够边听音乐边按摩,也能够很方便地清理弹性内芯。According to the electric massager according to the embodiment of the present invention, by setting in this way, at least some of the following effects can be achieved: the driving
在本说明书的描述中,参考术语“一个实施例”、“一些实施例”、“示意性实施例”、“示例”、“具体示例”、或“一些示例”等的描述意指结合该实施例或示例描述的具体特征、结构、材料或者特点包含于本发明的至少一个实施例或示例中。在本说明书中,对上述术语的示意性表述不一定指的是相同的实施例或示例。而且,描述的具体特征、结构、材料或者特点可以在任何的一个或多个实施例或示例中以合适的方式结合。In the description of this specification, reference to the terms "one embodiment," "some embodiments," "exemplary embodiment," "example," "specific example," or "some examples", etc., is meant to incorporate the embodiments A particular feature, structure, material, or characteristic described by an example or example is included in at least one embodiment or example of the present invention. In this specification, schematic representations of the above terms do not necessarily refer to the same embodiment or example. Furthermore, the particular features, structures, materials or characteristics described may be combined in any suitable manner in any one or more embodiments or examples.
尽管已经示出和描述了本发明的实施例,本领域的普通技术人员可以理解:在不脱离本发明的原理和宗旨的情况下可以对这些实施例进行多种变化、修改、替换和变型,本发明的范围由权利要求及其等同物限定。Although embodiments of the present invention have been shown and described, it will be understood by those of ordinary skill in the art that various changes, modifications, substitutions and alterations can be made in these embodiments without departing from the principles and spirit of the invention, The scope of the invention is defined by the claims and their equivalents.
Claims (10)
Priority Applications (1)
| Application Number | Priority Date | Filing Date | Title |
|---|---|---|---|
| CN202010250421.5A CN111449927A (en) | 2020-04-01 | 2020-04-01 | electric massager |
Applications Claiming Priority (1)
| Application Number | Priority Date | Filing Date | Title |
|---|---|---|---|
| CN202010250421.5A CN111449927A (en) | 2020-04-01 | 2020-04-01 | electric massager |
Publications (1)
| Publication Number | Publication Date |
|---|---|
| CN111449927A true CN111449927A (en) | 2020-07-28 |
Family
ID=71672183
Family Applications (1)
| Application Number | Title | Priority Date | Filing Date |
|---|---|---|---|
| CN202010250421.5A Pending CN111449927A (en) | 2020-04-01 | 2020-04-01 | electric massager |
Country Status (1)
| Country | Link |
|---|---|
| CN (1) | CN111449927A (en) |
Cited By (1)
| Publication number | Priority date | Publication date | Assignee | Title |
|---|---|---|---|---|
| CN112089598A (en) * | 2020-09-04 | 2020-12-18 | 吴思昆 | Massage device |
Citations (12)
| Publication number | Priority date | Publication date | Assignee | Title |
|---|---|---|---|---|
| CN101969912A (en) * | 2009-01-14 | 2011-02-09 | 洁可实株式会社 | Tool for massaging penis |
| US20120136203A1 (en) * | 2010-11-26 | 2012-05-31 | Weng Hao Qi | Device for treatment of premature ejaculation or stimulation of a male organ |
| US20130123674A1 (en) * | 2011-11-10 | 2013-05-16 | Catherine Ann Carter | Cavity Form Vibrating System |
| CN204521488U (en) * | 2015-03-31 | 2015-08-05 | 胡教鑫 | A kind of clamp system of masseur and the masseur of application thereof |
| CN204723368U (en) * | 2015-06-23 | 2015-10-28 | 程香英 | Rotary and telescopic masseur |
| CN205041729U (en) * | 2015-09-07 | 2016-02-24 | 漳州蒙发利实业有限公司 | Small massager |
| CN206777497U (en) * | 2017-01-18 | 2017-12-22 | 姚巧梅 | One kind rotation plus flexible circular form massager device |
| CN109700648A (en) * | 2018-07-24 | 2019-05-03 | 东莞市蒂贝电子科技有限公司 | The flexible pressing synchronous massage device of one kind |
| CN109938986A (en) * | 2019-04-23 | 2019-06-28 | 罗昌智 | Telescopic rotating device |
| CN209220882U (en) * | 2018-10-18 | 2019-08-09 | 福安市云善电子有限公司 | A kind of massager core |
| CN110664603A (en) * | 2019-11-06 | 2020-01-10 | 东莞市谦禾电子科技有限公司 | Telescopic twisting massager |
| CN110742784A (en) * | 2019-11-05 | 2020-02-04 | 吴思昆 | Massage device |
-
2020
- 2020-04-01 CN CN202010250421.5A patent/CN111449927A/en active Pending
Patent Citations (12)
| Publication number | Priority date | Publication date | Assignee | Title |
|---|---|---|---|---|
| CN101969912A (en) * | 2009-01-14 | 2011-02-09 | 洁可实株式会社 | Tool for massaging penis |
| US20120136203A1 (en) * | 2010-11-26 | 2012-05-31 | Weng Hao Qi | Device for treatment of premature ejaculation or stimulation of a male organ |
| US20130123674A1 (en) * | 2011-11-10 | 2013-05-16 | Catherine Ann Carter | Cavity Form Vibrating System |
| CN204521488U (en) * | 2015-03-31 | 2015-08-05 | 胡教鑫 | A kind of clamp system of masseur and the masseur of application thereof |
| CN204723368U (en) * | 2015-06-23 | 2015-10-28 | 程香英 | Rotary and telescopic masseur |
| CN205041729U (en) * | 2015-09-07 | 2016-02-24 | 漳州蒙发利实业有限公司 | Small massager |
| CN206777497U (en) * | 2017-01-18 | 2017-12-22 | 姚巧梅 | One kind rotation plus flexible circular form massager device |
| CN109700648A (en) * | 2018-07-24 | 2019-05-03 | 东莞市蒂贝电子科技有限公司 | The flexible pressing synchronous massage device of one kind |
| CN209220882U (en) * | 2018-10-18 | 2019-08-09 | 福安市云善电子有限公司 | A kind of massager core |
| CN109938986A (en) * | 2019-04-23 | 2019-06-28 | 罗昌智 | Telescopic rotating device |
| CN110742784A (en) * | 2019-11-05 | 2020-02-04 | 吴思昆 | Massage device |
| CN110664603A (en) * | 2019-11-06 | 2020-01-10 | 东莞市谦禾电子科技有限公司 | Telescopic twisting massager |
Cited By (1)
| Publication number | Priority date | Publication date | Assignee | Title |
|---|---|---|---|---|
| CN112089598A (en) * | 2020-09-04 | 2020-12-18 | 吴思昆 | Massage device |
Similar Documents
| Publication | Publication Date | Title |
|---|---|---|
| EP2974710B1 (en) | Methods and devices relating to vibratory impact adult devices | |
| US9226871B2 (en) | Systems and methods for providing sexual stimulation | |
| CN208770335U (en) | scalp massager | |
| JP7680580B2 (en) | Dual Motor Wobble Cancelling Fitness Device | |
| CN111449927A (en) | electric massager | |
| CN201469598U (en) | A massager for neck and shoulder adjustment | |
| CN215132896U (en) | Novel massager structure | |
| CN205286851U (en) | Music massage armchair | |
| CN114099300A (en) | Multipurpose pneumatic massage device and using method thereof | |
| CN112007256A (en) | Headwear capable of automatically collecting brain waves and then adaptively releasing variable-frequency brain waves | |
| CN216417738U (en) | Massage instrument | |
| CN214858988U (en) | Head massager | |
| CN2848211Y (en) | Ear massager | |
| CN209422408U (en) | a nursing device | |
| CN209075395U (en) | heat massage pillow | |
| CN219067962U (en) | Gyromagnetic mattress motor and magnetotherapeutic device | |
| CN220558176U (en) | Ear device | |
| CN2788805Y (en) | Vibrating electric massager | |
| CN112494296A (en) | Ear acupoint massage clamp for traditional Chinese medicine nursing | |
| US12336949B1 (en) | Rotary sex toy based on eccentric lifting | |
| CN222841241U (en) | Toggle grip massage device | |
| CN216316217U (en) | facial cleanser | |
| CN218923171U (en) | Massage wheel set for feet and foot bath device | |
| CN205105362U (en) | Portable massage earphone | |
| CN221950188U (en) | Healthcare instrument based on eccentric lifting massage function |
Legal Events
| Date | Code | Title | Description |
|---|---|---|---|
| PB01 | Publication | ||
| PB01 | Publication | ||
| SE01 | Entry into force of request for substantive examination | ||
| SE01 | Entry into force of request for substantive examination | ||
| RJ01 | Rejection of invention patent application after publication | ||
| RJ01 | Rejection of invention patent application after publication |
Application publication date: 20200728 |
