CN111333297A - Sludge dewatering solidification treatment device of drainage pipeline for drainage facility - Google Patents
Sludge dewatering solidification treatment device of drainage pipeline for drainage facility Download PDFInfo
- Publication number
- CN111333297A CN111333297A CN202010205969.8A CN202010205969A CN111333297A CN 111333297 A CN111333297 A CN 111333297A CN 202010205969 A CN202010205969 A CN 202010205969A CN 111333297 A CN111333297 A CN 111333297A
- Authority
- CN
- China
- Prior art keywords
- cylinder
- dehydration
- fixedly connected
- drainage
- sludge
- Prior art date
- Legal status (The legal status is an assumption and is not a legal conclusion. Google has not performed a legal analysis and makes no representation as to the accuracy of the status listed.)
- Granted
Links
Images
Classifications
-
- C—CHEMISTRY; METALLURGY
- C02—TREATMENT OF WATER, WASTE WATER, SEWAGE, OR SLUDGE
- C02F—TREATMENT OF WATER, WASTE WATER, SEWAGE, OR SLUDGE
- C02F11/00—Treatment of sludge; Devices therefor
- C02F11/12—Treatment of sludge; Devices therefor by de-watering, drying or thickening
- C02F11/121—Treatment of sludge; Devices therefor by de-watering, drying or thickening by mechanical de-watering
-
- C—CHEMISTRY; METALLURGY
- C02—TREATMENT OF WATER, WASTE WATER, SEWAGE, OR SLUDGE
- C02F—TREATMENT OF WATER, WASTE WATER, SEWAGE, OR SLUDGE
- C02F11/00—Treatment of sludge; Devices therefor
- C02F11/008—Sludge treatment by fixation or solidification
Landscapes
- Engineering & Computer Science (AREA)
- Life Sciences & Earth Sciences (AREA)
- Hydrology & Water Resources (AREA)
- Environmental & Geological Engineering (AREA)
- Water Supply & Treatment (AREA)
- Chemical & Material Sciences (AREA)
- Organic Chemistry (AREA)
- Mechanical Engineering (AREA)
- Treatment Of Sludge (AREA)
Abstract
本发明公开了一种排水设施用排水管道的污泥脱水固化处理装置,包括分离筒,分离筒上表面的一侧固定连通有第一排水管,分离筒的下表面固定连通有与第一排水管相匹配的第二排水管,分离筒下表面远离第二排水管的一侧上固定连通有输送管,分离筒的内部设置有分离机构,输送管的下端固定连接有脱水机构,本发明所达到的有益效果是:通过设置的分离机构,利用电机带动转轴转动进而带动刮片转动,通过斜置的刮片将过滤板上的污泥刮入输送管,通过设置的脱水机构,利用气缸推动推块,使推块对落入脱水筒内部的污泥进行挤压,通过脱水孔挤出污泥内部的水分,进而使污泥内部的大部分水分被挤出,大大的减轻了污泥的重量。
The invention discloses a sludge dehydration and solidification treatment device for drainage pipes for drainage facilities. The second drain pipe matched with the pipe, the side of the lower surface of the separation cylinder away from the second drain pipe is fixedly connected with a conveying pipe, the interior of the separating cylinder is provided with a separation mechanism, and the lower end of the conveying pipe is fixedly connected with a dehydration mechanism. The beneficial effects achieved are: through the set separation mechanism, the motor is used to drive the rotating shaft to rotate, thereby driving the scraper to rotate, the sludge on the filter plate is scraped into the conveying pipe through the inclined scraper, and the cylinder is pushed through the set dehydration mechanism. Push the block, so that the push block squeezes the sludge falling into the dewatering cylinder, and squeezes out the moisture inside the sludge through the dehydration hole, so that most of the moisture inside the sludge is squeezed out, which greatly reduces the sludge pollution. weight.
Description
技术领域technical field
本发明涉及一种污泥脱水固化处理装置,特别涉及一种排水设施用排水管道的污泥脱水固化处理装置,属于污水处理技术领域。The invention relates to a sludge dehydration and solidification treatment device, in particular to a sludge dehydration and solidification treatment device of a drainage pipeline for drainage facilities, belonging to the technical field of sewage treatment.
背景技术Background technique
污泥脱水是指将流态的原生、浓缩或消化污泥脱除水分,转化为半固态或固态泥块的一种污泥处理方法,在日常的生活中对物品进行清洗时会将物品表面附着的污泥冲入下水管道中,进而使排水管道在使用的过程中内部会流过大量的污泥。Sludge dewatering refers to a sludge treatment method that removes water from fluid primary, concentrated or digested sludge and converts it into semi-solid or solid mud. The attached sludge is flushed into the sewer pipe, so that a large amount of sludge will flow through the drain pipe during use.
这些污泥可能会在排水管道内部积攒进而造成堵塞,且这些污泥与水共同排出使的污水净化的程成本大大提高,所以需要对排水管道中的污泥进行处理,但是由于污泥是与水一起排出的,所以污泥中会含有大量的水分,这些水分使污泥的重量较重,不方便对污泥进行运输,且如果只是通过常规的污泥排出方法会使排出的污泥较为粘稠,且粘稠的污泥会粘连在接触的人和物品上,污泥的清理较为麻烦进而对污泥处理人员造成困扰。These sludges may accumulate inside the drainage pipes and cause blockages, and the co-discharge of these sludges and water will greatly increase the cost of sewage purification. Therefore, it is necessary to treat the sludge in the drainage pipes. The sludge is discharged together with the water, so the sludge will contain a lot of water, which makes the weight of the sludge heavier, making it inconvenient to transport the sludge, and if it is only through the conventional sludge discharge method, the discharged sludge will be relatively The viscous and viscous sludge will stick to the people and objects in contact, and the cleaning of the sludge is more troublesome, which will cause trouble to the sludge treatment personnel.
发明内容SUMMARY OF THE INVENTION
本发明提供一种排水设施用排水管道的污泥脱水固化处理装置,有效的解决了现有技术中存在的污泥中会含有大量的水分,这些水分使污泥的重量较重,不方便对污泥进行运输,且如果只是通过常规的污泥排出方法会使排出的污泥较为粘稠,且粘稠的污泥会粘连在接触的人和物品上,污泥的清理较为麻烦进而对污泥处理人员造成困扰的问题。The invention provides a sludge dehydration and solidification treatment device for drainage pipes for drainage facilities, which effectively solves the problem that the sludge existing in the prior art will contain a large amount of water, which makes the weight of the sludge heavier and is inconvenient to treat. Sludge is transported, and if it is only through the conventional sludge discharge method, the discharged sludge will be more viscous, and the viscous sludge will stick to the people and objects in contact, making it more troublesome to clean up the sludge. Mud handlers are causing troublesome problems.
为了解决上述技术问题,本发明提供了如下的技术方案:In order to solve the above-mentioned technical problems, the present invention provides the following technical solutions:
本发明一种排水设施用排水管道的污泥脱水固化处理装置,包括分离筒,所述分离筒上表面的一侧固定连通有第一排水管,所述分离筒的下表面固定连通有与第一排水管相匹配的第二排水管,所述分离筒下表面远离第二排水管的一侧上固定连通有输送管,所述分离筒的内部设置有分离机构,所述输送管的下端固定连接有脱水机构,所述脱水机构的内部设置有排料机构。The present invention is a sludge dehydration and solidification treatment device for drainage pipes for drainage facilities, comprising a separation cylinder, a first drainage pipe is fixedly connected to one side of the upper surface of the separation cylinder, and a lower surface of the separation cylinder is fixedly connected to a second drainage pipe. A second drain pipe matched with a drain pipe, a conveying pipe is fixedly connected to the side of the lower surface of the separating cylinder away from the second draining pipe, a separating mechanism is arranged inside the separating cylinder, and the lower end of the conveying pipe is fixed A dehydration mechanism is connected, and a discharge mechanism is arranged inside the dehydration mechanism.
作为本发明的一种优选技术方案,所述分离机构包括过滤板、电机机架、电机、转轴、防水轴承和刮片,所述过滤板固定套接在第二排水管与分离筒的连接处内壁上,所述电机机架固定连接在分离筒的上表面中心处,所述电机机架的内部固定套接有电机,所述电机的输出轴固定连接有转轴,所述转轴通过防水轴承转动连接在分离筒的上表面中心处,所述转轴贯穿分离筒的上表面延伸至分离筒内部,所述转轴位于分离筒内部的一端的表面上固定连接有多个刮片。As a preferred technical solution of the present invention, the separation mechanism includes a filter plate, a motor frame, a motor, a rotating shaft, a waterproof bearing and a scraper, and the filter plate is fixedly sleeved at the connection between the second drain pipe and the separation cylinder On the inner wall, the motor frame is fixedly connected at the center of the upper surface of the separation cylinder, the motor frame is fixedly sleeved inside the motor frame, and the output shaft of the motor is fixedly connected with a rotating shaft, and the rotating shaft rotates through a waterproof bearing Connected at the center of the upper surface of the separation drum, the rotating shaft extends through the upper surface of the separation drum to the interior of the separation drum, and a plurality of scrapers are fixedly connected to the surface of one end of the rotating shaft located inside the separation drum.
作为本发明的一种优选技术方案,所述脱水机构包括脱水筒、气缸、推块、脱水孔和输水管,所述脱水筒固定连接在输送管的下端,所述脱水筒与输送管相连通,所述脱水筒水平设置,所述脱水筒靠近第二排水管的一侧侧壁上固定连接有气缸,所述气缸的输出端贯穿脱水筒延伸至脱水筒内部,所述气缸的输出端固定连接有推块,所述推块的表面上开设有多个脱水孔,所述脱水孔与脱水筒的内部相匹配,所述脱水筒靠近第二排水管一侧侧壁底部固定连通有输水管,所述输水管的另一端与第二排水管固定连通。As a preferred technical solution of the present invention, the dehydration mechanism includes a dehydration cylinder, a cylinder, a push block, a dehydration hole and a water delivery pipe, the dehydration cylinder is fixedly connected to the lower end of the delivery pipe, and the dehydration cylinder is communicated with the delivery pipe , the dehydration cylinder is arranged horizontally, a cylinder is fixedly connected to the side wall of the dehydration cylinder near the second drain pipe, the output end of the cylinder extends through the dehydration cylinder to the interior of the dehydration cylinder, and the output end of the cylinder is fixed A push block is connected, and a plurality of dehydration holes are opened on the surface of the push block, and the dehydration holes are matched with the interior of the dehydration cylinder. , the other end of the water delivery pipe is in fixed communication with the second drainage pipe.
作为本发明的一种优选技术方案,所述排料机构包括排料口、盖板、压块、连接杆、卡块、U形框、弹簧和橡胶垫,所述排料口开设在脱水筒远离第二排水管的一侧侧壁上,所述排料口的开口处通过合页铰接有盖板,所述脱水筒的底部内壁上插设有压块,所述压块位于脱水筒外部的一端固定连接有连接杆,所述连接杆的另一端固定连接有卡块,所述卡块卡接在盖板的表面上,所述脱水筒的下表面上固定连接有U形框,所述U形框的内部固定连接有弹簧,所述弹簧的另一端固定连接在连接杆的中心处,所述盖板考经脱水筒的一侧侧壁上固定连接有橡胶垫。As a preferred technical solution of the present invention, the discharge mechanism includes a discharge port, a cover plate, a pressing block, a connecting rod, a clamping block, a U-shaped frame, a spring and a rubber pad, and the discharge port is opened in the dehydration cylinder. On the side wall away from the second drain pipe, the opening of the discharge port is hinged with a cover plate through a hinge, and a pressure block is inserted on the bottom inner wall of the dehydration cylinder, and the pressure block is located outside the dehydration cylinder One end is fixedly connected with a connecting rod, the other end of the connecting rod is fixedly connected with a clamping block, the clamping block is clamped on the surface of the cover plate, and a U-shaped frame is fixedly connected to the lower surface of the dehydrating cylinder, so A spring is fixedly connected to the inside of the U-shaped frame, the other end of the spring is fixedly connected to the center of the connecting rod, and a rubber pad is fixedly connected to one side wall of the cover plate through the dehydration cylinder.
作为本发明的一种优选技术方案,所述刮片与分离筒的内部橡皮额皮,所述刮片倾斜设置。As a preferred technical solution of the present invention, the scraper and the inner rubber forehead of the separation cylinder are arranged obliquely.
作为本发明的一种优选技术方案,所述输水管倾斜设置,所述输水管与第二排水管固定连通的一端高度较低。As a preferred technical solution of the present invention, the water delivery pipe is inclined and the height of one end of the water delivery pipe that is in fixed communication with the second drainage pipe is relatively low.
作为本发明的一种优选技术方案,所述压块的上端靠近推块的一侧设有斜面,所述压块的斜面高度小于脱水筒的侧壁厚度,所述弹簧一直处于竖直状态。As a preferred technical solution of the present invention, the upper end of the pressing block is provided with an inclined surface on the side close to the pushing block, the inclined surface height of the pressing block is less than the thickness of the side wall of the dewatering cylinder, and the spring is always in a vertical state.
本发明所达到的有益效果是:通过设置的分离机构,利用电机带动转轴转动进而带动刮片转动,通过斜置的刮片将过滤板上的污泥刮入输送管,通过设置的脱水机构,利用气缸推动推块,使推块对落入脱水筒内部的污泥进行挤压,通过脱水孔挤出污泥内部的水分,进而使污泥内部的大部分水分被挤出,大大的减轻了污泥的重量,方便对污泥进行运输处理,通过输水管将水输送带第二排水管内部,使污泥变为块状固体,进而使污泥不会发生粘连,进而方便对污泥进行处理,防止污泥粘连在处理人员的身上对处理人员造成困扰。The beneficial effects achieved by the present invention are: through the provided separation mechanism, the motor is used to drive the rotating shaft to rotate, thereby driving the scraper to rotate, the sludge on the filter plate is scraped into the conveying pipe through the inclined scraper, and the dewatering mechanism provided The cylinder is used to push the push block, so that the push block squeezes the sludge falling into the dewatering cylinder, and squeezes out the moisture inside the sludge through the dehydration hole, so that most of the moisture inside the sludge is squeezed out, which greatly reduces the pressure on the sludge. The weight of the sludge is convenient for the transportation and treatment of the sludge. The water is conveyed to the inside of the second drain pipe through the water conveying pipe, so that the sludge becomes a lumpy solid, so that the sludge does not stick, and it is convenient to carry out the sludge treatment. Treatment, to prevent the sludge from sticking to the body of the treatment personnel and causing trouble to the treatment personnel.
附图说明Description of drawings
附图用来提供对本发明的进一步理解,并且构成说明书的一部分,与本发明的实施例一起用于解释本发明,并不构成对本发明的限制。在附图中:The accompanying drawings are used to provide a further understanding of the present invention, and constitute a part of the specification, and are used to explain the present invention together with the embodiments of the present invention, and do not constitute a limitation to the present invention. In the attached image:
图1是本发明的内部结构示意图;Fig. 1 is the internal structure schematic diagram of the present invention;
图2是本发明的俯视结构示意图;Fig. 2 is the top view structure schematic diagram of the present invention;
图3是本发明图1中A部分放大图;Fig. 3 is the enlarged view of part A in Fig. 1 of the present invention;
图4是本发明图1中B部分放大图;Fig. 4 is an enlarged view of part B in Fig. 1 of the present invention;
图5是本发明图1中C部分放大图。Fig. 5 is an enlarged view of part C in Fig. 1 of the present invention.
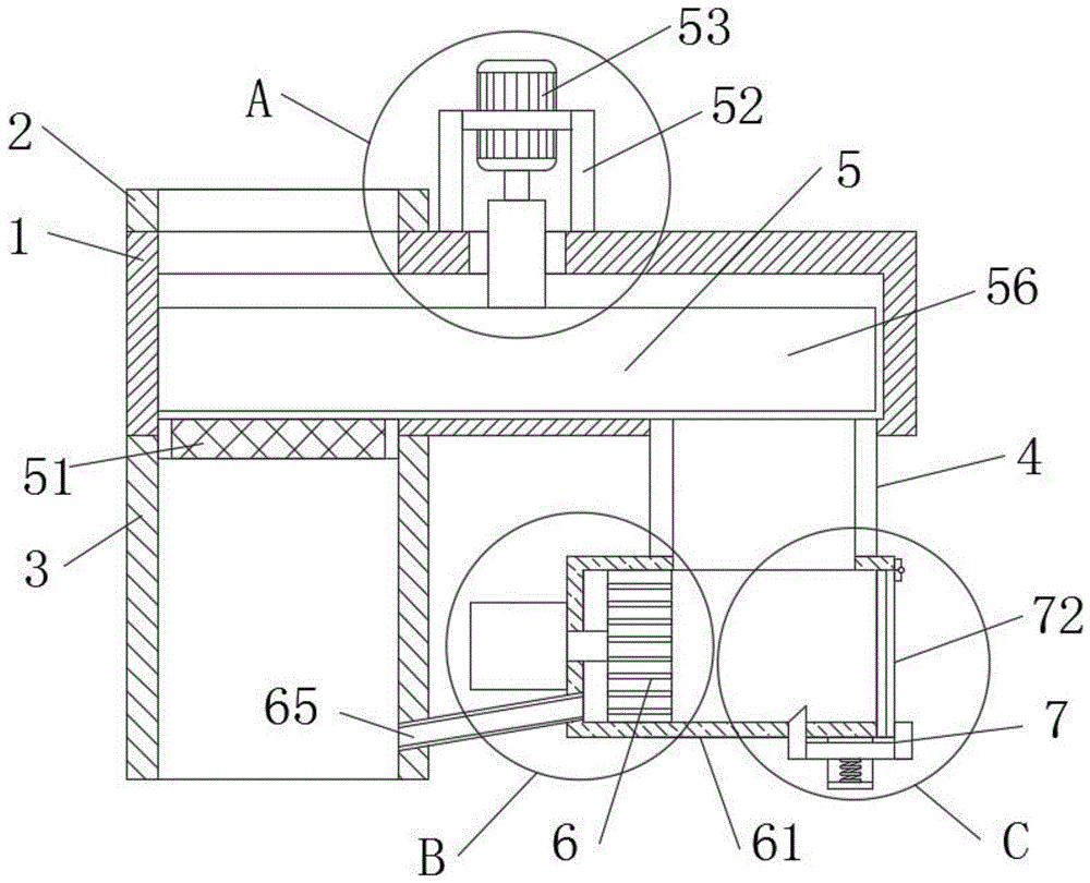
图中:1、分离筒;2、第一排水管;3、第二排水管;4、输送管;5、分离机构;51、过滤板;52、电机机架;53、电机;54、转轴;55、防水轴承;56、刮片;6、脱水机构;61、脱水筒;62、气缸;63、推块;64、脱水孔;65、输水管;7、排料机构;71、排料口;72、盖板;73、压块;74、连接杆;75、卡块;76、U形框;77、弹簧;78、橡胶垫。In the figure: 1. Separation cylinder; 2. The first drainage pipe; 3. The second drainage pipe; 4. Conveying pipe; 5. Separation mechanism; 51. Filter plate; 52. Motor frame; ;55, waterproof bearing; 56, scraper; 6, dehydration mechanism; 61, dehydration cylinder; 62, cylinder; 63, push block; 64, dehydration hole; 65, water pipe; 7, discharge mechanism; 71, discharge mouth; 72, cover plate; 73, pressure block; 74, connecting rod; 75, block; 76, U-shaped frame; 77, spring; 78, rubber pad.
具体实施方式Detailed ways
下面将结合本发明实施例中的附图,对本发明实施例中的技术方案进行清楚、完整地描述,显然,所描述的实施例仅仅是本发明一部分实施例,而不是全部的实施例。基于本发明中的实施例,本领域普通技术人员在没有做出创造性劳动前提下所获得的所有其他实施例,都属于本发明保护的范围。The technical solutions in the embodiments of the present invention will be clearly and completely described below with reference to the accompanying drawings in the embodiments of the present invention. Obviously, the described embodiments are only a part of the embodiments of the present invention, rather than all the embodiments. Based on the embodiments of the present invention, all other embodiments obtained by those of ordinary skill in the art without creative efforts shall fall within the protection scope of the present invention.
实施例:如图1-5所示,本发明一种排水设施用排水管道的污泥脱水固化处理装置,包括分离筒1,分离筒1上表面的一侧固定连通有第一排水管2,分离筒1的下表面固定连通有与第一排水管2相匹配的第二排水管3,分离筒1下表面远离第二排水管3的一侧上固定连通有输送管4,分离筒1的内部设置有分离机构5,输送管4的下端固定连接有脱水机构6,脱水机构6的内部设置有排料机构7。Example: As shown in Figures 1-5, a sludge dehydration and solidification treatment device for a drainage pipeline for a drainage facility of the present invention includes a
分离机构5包括过滤板51、电机机架52、电机53、转轴54、防水轴承55和刮片56,过滤板51固定套接在第二排水管3与分离筒1的连接处内壁上,电机机架52固定连接在分离筒1的上表面中心处,电机机架52的内部固定套接有电机53,电机53的输出轴固定连接有转轴54,转轴54通过防水轴承54转动连接在分离筒1的上表面中心处,转轴54贯穿分离筒1的上表面延伸至分离筒1内部,转轴55位于分离筒1内部的一端的表面上固定连接有多个刮片56,污水从第一排水管2通入,经过分离筒1后,流入第三排水管3,污水中的污泥被过滤板51阻挡,进而使污泥储存在过滤板51的表面上,启动电机53,通过电机53带动转轴54转动,通过防水轴承55防止水流泄漏,转轴54带动刮片56转动,进而通过刮片56将过滤板51表面上的污泥刮入输送管4内部。The
脱水机构6包括脱水筒61、气缸62、推块63、脱水孔64和输水管65,脱水筒61固定连接在输送管4的下端,脱水筒61与输送管4相连通,脱水筒61水平设置,脱水筒61靠近第二排水管3的一侧侧壁上固定连接有气缸62,气缸62的输出端贯穿脱水筒61延伸至脱水筒61内部,气缸62的输出端固定连接有推块63,推块63的表面上开设有多个脱水孔64,脱水孔64与脱水筒61的内部相匹配,脱水筒61靠近第二排水管3一侧侧壁底部固定连通有输水管65,输水管65的另一端与第二排水管3固定连通,污泥在脱水筒61内部积攒,当积攒到一定程度时,通过定时启动的气缸6带动推块63移动,通过推块63对污泥进行挤压,使污泥内部的水分被挤压出来,水分通过推块63表面的脱水孔64留到脱水筒61靠近气缸62的一侧,进而通过输水管65将水流输送到第二排水管3内部,通过推块63对污泥的挤压,进而使污泥变为块状固体。The
排料机构7包括排料口71、盖板72、压块73、连接杆74、卡块75、U形框76、弹簧77和橡胶垫78,排料口71开设在脱水筒61远离第二排水管3的一侧侧壁上,排料口71的开口处通过合页铰接有盖板72,脱水筒61的底部内壁上插设有压块73,压块73位于脱水筒61外部的一端固定连接有连接杆74,连接杆74的另一端固定连接有卡块75,卡块75卡接在盖板72的表面上,脱水筒61的下表面上固定连接有U形框76,U形框76的内部固定连接有弹簧77,弹簧77的另一端固定连接在连接杆74的中心处,盖板72考经脱水筒61的一侧侧壁上固定连接有橡胶垫78,当推块63移动到压块73上端时,通过压块73表面开设的斜面使压块73向下移动,进而通过连接杆74带动卡块75向下移动,进而解除卡块75对盖板72的固定,进而通过污泥推动盖板72打开,使污泥从排料口71排出脱水管61,当气缸62回移时,盖板72通过重量闭合,推块63解除对压块73的挤压,通过弹簧77推动连接杆74回复,进而带动压块73和卡块75回复,使卡块75卡接在盖板72的表面上。The
刮片56与分离筒1的内部橡皮额皮,刮片56倾斜设置,斜置的刮片56将污泥推到分离筒1内部的外圈,进而方便污泥落入输送管4。The
输水管65倾斜设置,输水管65与第二排水管3固定连通的一端高度较低,仿版脱水筒61内部的水流流入第二排水管3。The
压块73的上端靠近推块63的一侧设有斜面,压块73的斜面高度小于脱水筒61的侧壁厚度,弹簧77一直处于竖直状态,通过压块73上端的斜面使推块63可以将压块73压下,弹簧77竖直可对连接杆74提供弹力使连接杆74回复。The upper end of the
具体的,本发明使用时,污水从第一排水管2通入,经过分离筒1后,流入第三排水管3,污水中的污泥被过滤板51阻挡,进而使污泥储存在过滤板51的表面上,启动电机53,通过电机53带动转轴54转动,通过防水轴承55防止水流泄漏,转轴54带动刮片56转动,进而通过刮片56将过滤板51表面上的污泥刮入输送管4内部,污泥通过输送管4落入脱水筒61内部,污泥在脱水筒61内部积攒,当积攒到一定程度时,通过定时启动的气缸6带动推块63移动,通过推块63对污泥进行挤压,使污泥内部的水分被挤压出来,水分通过推块63表面的脱水孔64留到脱水筒61靠近气缸62的一侧,进而通过输水管65将水流输送到第二排水管3内部,通过推块63对污泥的挤压,进而使污泥变为块状固体,当推块63移动到压块73上端时,通过压块73表面开设的斜面使压块73向下移动,进而通过连接杆74带动卡块75向下移动,进而解除卡块75对盖板72的固定,进而通过污泥推动盖板72打开,使污泥从排料口71排出脱水管61,当气缸62回移时,盖板72通过重量闭合,推块63解除对压块73的挤压,通过弹簧77推动连接杆74回复,进而带动压块73和卡块75回复,使卡块75卡接在盖板72的表面上,通过橡胶垫78对脱水筒61进行密封。Specifically, when the present invention is used, sewage flows into the
尽管已经示出和描述了本发明的实施例,对于本领域的普通技术人员而言,可以理解在不脱离本发明的原理和精神的情况下可以对这些实施例进行多种变化、修改、替换和变型,本发明的范围由所附权利要求及其等同物限定。Although embodiments of the present invention have been shown and described, it will be understood by those skilled in the art that various changes, modifications, and substitutions can be made in these embodiments without departing from the principle and spirit of the invention and modifications, the scope of the invention is defined by the appended claims and their equivalents.
Claims (7)
Priority Applications (1)
| Application Number | Priority Date | Filing Date | Title |
|---|---|---|---|
| CN202010205969.8A CN111333297B (en) | 2020-03-23 | 2020-03-23 | A sludge dewatering and solidification treatment device for drainage pipes used in drainage facilities |
Applications Claiming Priority (1)
| Application Number | Priority Date | Filing Date | Title |
|---|---|---|---|
| CN202010205969.8A CN111333297B (en) | 2020-03-23 | 2020-03-23 | A sludge dewatering and solidification treatment device for drainage pipes used in drainage facilities |
Publications (2)
| Publication Number | Publication Date |
|---|---|
| CN111333297A true CN111333297A (en) | 2020-06-26 |
| CN111333297B CN111333297B (en) | 2022-08-05 |
Family
ID=71178429
Family Applications (1)
| Application Number | Title | Priority Date | Filing Date |
|---|---|---|---|
| CN202010205969.8A Active CN111333297B (en) | 2020-03-23 | 2020-03-23 | A sludge dewatering and solidification treatment device for drainage pipes used in drainage facilities |
Country Status (1)
| Country | Link |
|---|---|
| CN (1) | CN111333297B (en) |
Cited By (3)
| Publication number | Priority date | Publication date | Assignee | Title |
|---|---|---|---|---|
| CN112958207A (en) * | 2021-02-06 | 2021-06-15 | 河海大学 | Interior wall breaker is used to fitment |
| CN113800733A (en) * | 2021-09-23 | 2021-12-17 | 杨艳艳 | Make-up machine convenient to with mud dewatering and punching press cubic |
| CN118184093A (en) * | 2024-05-15 | 2024-06-14 | 济南舜泰建筑安装工程有限公司 | A sludge dewatering device for water supply and drainage |
Citations (11)
| Publication number | Priority date | Publication date | Assignee | Title |
|---|---|---|---|---|
| KR20100004309A (en) * | 2008-07-03 | 2010-01-13 | 한일시멘트 (주) | Mixing system for sluge |
| CN103708699A (en) * | 2013-12-25 | 2014-04-09 | 华纺股份有限公司 | Process for treating dyeing sludge through high-pressure membrane separation |
| CN203874549U (en) * | 2014-05-30 | 2014-10-15 | 资阳海天污水处理有限公司 | Sludge pressure filtration device of sewage treatment plant |
| CN106830616A (en) * | 2017-03-21 | 2017-06-13 | 杨田财 | A kind of sludge treatment device for hydraulic engineering |
| CN107129128A (en) * | 2017-06-23 | 2017-09-05 | 长沙无道工业设计有限公司 | A kind of squash type sludge quick-dehydration device |
| CN107381992A (en) * | 2017-08-31 | 2017-11-24 | 顾渠成 | A kind of rapidly and efficiently sludge dehydration device |
| CN108129008A (en) * | 2018-02-08 | 2018-06-08 | 河南工程学院 | For the sludge treatment equipment of municipal sewage plant |
| CN207498249U (en) * | 2017-09-30 | 2018-06-15 | 天津清华德人环境工程有限公司 | A kind of novel mud and sewage separation equipment |
| CN109775954A (en) * | 2019-03-13 | 2019-05-21 | 河南仁恒环保科技有限公司 | A kind of squash type sludge dehydration device |
| WO2019216447A1 (en) * | 2018-05-08 | 2019-11-14 | Jo Myeong Ryul | Dewatering device |
| CN110835222A (en) * | 2019-10-11 | 2020-02-25 | 周其胤 | Sludge treatment device capable of rapidly dehydrating |
-
2020
- 2020-03-23 CN CN202010205969.8A patent/CN111333297B/en active Active
Patent Citations (11)
| Publication number | Priority date | Publication date | Assignee | Title |
|---|---|---|---|---|
| KR20100004309A (en) * | 2008-07-03 | 2010-01-13 | 한일시멘트 (주) | Mixing system for sluge |
| CN103708699A (en) * | 2013-12-25 | 2014-04-09 | 华纺股份有限公司 | Process for treating dyeing sludge through high-pressure membrane separation |
| CN203874549U (en) * | 2014-05-30 | 2014-10-15 | 资阳海天污水处理有限公司 | Sludge pressure filtration device of sewage treatment plant |
| CN106830616A (en) * | 2017-03-21 | 2017-06-13 | 杨田财 | A kind of sludge treatment device for hydraulic engineering |
| CN107129128A (en) * | 2017-06-23 | 2017-09-05 | 长沙无道工业设计有限公司 | A kind of squash type sludge quick-dehydration device |
| CN107381992A (en) * | 2017-08-31 | 2017-11-24 | 顾渠成 | A kind of rapidly and efficiently sludge dehydration device |
| CN207498249U (en) * | 2017-09-30 | 2018-06-15 | 天津清华德人环境工程有限公司 | A kind of novel mud and sewage separation equipment |
| CN108129008A (en) * | 2018-02-08 | 2018-06-08 | 河南工程学院 | For the sludge treatment equipment of municipal sewage plant |
| WO2019216447A1 (en) * | 2018-05-08 | 2019-11-14 | Jo Myeong Ryul | Dewatering device |
| CN109775954A (en) * | 2019-03-13 | 2019-05-21 | 河南仁恒环保科技有限公司 | A kind of squash type sludge dehydration device |
| CN110835222A (en) * | 2019-10-11 | 2020-02-25 | 周其胤 | Sludge treatment device capable of rapidly dehydrating |
Cited By (4)
| Publication number | Priority date | Publication date | Assignee | Title |
|---|---|---|---|---|
| CN112958207A (en) * | 2021-02-06 | 2021-06-15 | 河海大学 | Interior wall breaker is used to fitment |
| CN113800733A (en) * | 2021-09-23 | 2021-12-17 | 杨艳艳 | Make-up machine convenient to with mud dewatering and punching press cubic |
| CN113800733B (en) * | 2021-09-23 | 2024-03-29 | 杨艳艳 | Forming machine convenient for dewatering sludge and stamping sludge into blocks |
| CN118184093A (en) * | 2024-05-15 | 2024-06-14 | 济南舜泰建筑安装工程有限公司 | A sludge dewatering device for water supply and drainage |
Also Published As
| Publication number | Publication date |
|---|---|
| CN111333297B (en) | 2022-08-05 |
Similar Documents
| Publication | Publication Date | Title |
|---|---|---|
| CN111333297B (en) | A sludge dewatering and solidification treatment device for drainage pipes used in drainage facilities | |
| CN109113117B (en) | Ditch silt clearance and packing integration equipment | |
| CN115140919A (en) | River sludge treatment device for municipal management and use method | |
| CN211873255U (en) | Filtration formula drainage pipe | |
| CN210367396U (en) | Dry-wet sludge mixing, homogenizing, dehydrating and conveying device | |
| CN221673527U (en) | A sewage treatment device convenient for cleaning filter screen | |
| CN209010193U (en) | A kind of oil-containing waste water treating device for heat treatment washing | |
| CN211738369U (en) | Novel water supply and drainage pipe convenient to install | |
| CN211339241U (en) | Fold spiral shell formula pressure filter equipment | |
| CN114681982A (en) | Rural domestic sewage decentralized treatment system and decentralized sewage pretreatment device | |
| CN222218871U (en) | Anti-clogging environmental engineering sewage pipe | |
| CN219931166U (en) | Sewage draining pipe | |
| CN209024304U (en) | An environmentally friendly pig farm sewage collection tank | |
| CN216677353U (en) | Sludge treatment device capable of synchronously treating malodorous gas and key mechanism thereof | |
| CN207846609U (en) | a drain pipe | |
| CN221052788U (en) | Anti-clogging water supply and drainage pipeline | |
| CN220026307U (en) | A sewage filtering device | |
| KR100628026B1 (en) | Centrifugal dehydrator with leak prevention device on sludge cake discharge chute | |
| CN219909224U (en) | Negative pressure drainage device convenient to clean | |
| CN216304551U (en) | A prevent stifled cistern for hydraulic engineering | |
| CN221855732U (en) | Anti-blocking equipment for sewer | |
| CN221798578U (en) | Sponge urban rainwater collection device | |
| CN218970171U (en) | Water leakage filtering device and drainage system for hydropower station | |
| CN205076968U (en) | Fatlute sand dewatering device | |
| CN216685917U (en) | Garbage cleaning vehicle sewage collection device |
Legal Events
| Date | Code | Title | Description |
|---|---|---|---|
| PB01 | Publication | ||
| PB01 | Publication | ||
| SE01 | Entry into force of request for substantive examination | ||
| SE01 | Entry into force of request for substantive examination | ||
| GR01 | Patent grant | ||
| GR01 | Patent grant | ||
| PE01 | Entry into force of the registration of the contract for pledge of patent right |
Denomination of invention: A sludge dewatering and solidification treatment device for drainage pipelines used in drainage facilities Effective date of registration: 20230613 Granted publication date: 20220805 Pledgee: Hubei Science and Technology Financing Guarantee Co.,Ltd. Pledgor: WUHAN THOUGHT OF FORGING ANEW ENVIRONMENT ENGINEERING Co.,Ltd. Registration number: Y2023980043569 |
|
| PE01 | Entry into force of the registration of the contract for pledge of patent right | ||
| PC01 | Cancellation of the registration of the contract for pledge of patent right | ||
| PC01 | Cancellation of the registration of the contract for pledge of patent right |
Granted publication date: 20220805 Pledgee: Hubei Science and Technology Financing Guarantee Co.,Ltd. Pledgor: WUHAN THOUGHT OF FORGING ANEW ENVIRONMENT ENGINEERING Co.,Ltd. Registration number: Y2023980043569 |
|
| PE01 | Entry into force of the registration of the contract for pledge of patent right | ||
| PE01 | Entry into force of the registration of the contract for pledge of patent right |
Denomination of invention: A sludge dewatering and solidification treatment device for drainage pipelines used in drainage facilities Granted publication date: 20220805 Pledgee: Hubei Science and Technology Financing Guarantee Co.,Ltd. Pledgor: WUHAN THOUGHT OF FORGING ANEW ENVIRONMENT ENGINEERING Co.,Ltd. Registration number: Y2024980024751 |
|
| PC01 | Cancellation of the registration of the contract for pledge of patent right | ||
| PC01 | Cancellation of the registration of the contract for pledge of patent right |
Granted publication date: 20220805 Pledgee: Hubei Science and Technology Financing Guarantee Co.,Ltd. Pledgor: WUHAN THOUGHT OF FORGING ANEW ENVIRONMENT ENGINEERING Co.,Ltd. Registration number: Y2024980024751 |
