CN111030022B - 一种导线防震锤防滑装置 - Google Patents

一种导线防震锤防滑装置 Download PDF

Info

Publication number
CN111030022B
CN111030022B CN201911223092.9A CN201911223092A CN111030022B CN 111030022 B CN111030022 B CN 111030022B CN 201911223092 A CN201911223092 A CN 201911223092A CN 111030022 B CN111030022 B CN 111030022B
Authority
CN
China
Prior art keywords
wire
sleeve
skid
slip
locking mechanism
Prior art date
Legal status (The legal status is an assumption and is not a legal conclusion. Google has not performed a legal analysis and makes no representation as to the accuracy of the status listed.)
Expired - Fee Related
Application number
CN201911223092.9A
Other languages
English (en)
Other versions
CN111030022A (zh
Inventor
黄清江
陈强
陈静
雷荟颖
慕金鹏
姜马超
徐晓贝
武鹏杰
朱毅炜
Current Assignee (The listed assignees may be inaccurate. Google has not performed a legal analysis and makes no representation or warranty as to the accuracy of the list.)
Hebi Power Supply Co of State Grid Henan Electric Power Co Ltd
Original Assignee
Hebi Power Supply Co of State Grid Henan Electric Power Co Ltd
Priority date (The priority date is an assumption and is not a legal conclusion. Google has not performed a legal analysis and makes no representation as to the accuracy of the date listed.)
Filing date
Publication date
Application filed by Hebi Power Supply Co of State Grid Henan Electric Power Co Ltd filed Critical Hebi Power Supply Co of State Grid Henan Electric Power Co Ltd
Priority to CN201911223092.9A priority Critical patent/CN111030022B/zh
Publication of CN111030022A publication Critical patent/CN111030022A/zh
Application granted granted Critical
Publication of CN111030022B publication Critical patent/CN111030022B/zh
Expired - Fee Related legal-status Critical Current
Anticipated expiration legal-status Critical

Links

Images

Classifications

    • HELECTRICITY
    • H02GENERATION; CONVERSION OR DISTRIBUTION OF ELECTRIC POWER
    • H02GINSTALLATION OF ELECTRIC CABLES OR LINES, OR OF COMBINED OPTICAL AND ELECTRIC CABLES OR LINES
    • H02G7/00Overhead installations of electric lines or cables
    • H02G7/14Arrangements or devices for damping mechanical oscillations of lines, e.g. for reducing production of sound
    • HELECTRICITY
    • H02GENERATION; CONVERSION OR DISTRIBUTION OF ELECTRIC POWER
    • H02GINSTALLATION OF ELECTRIC CABLES OR LINES, OR OF COMBINED OPTICAL AND ELECTRIC CABLES OR LINES
    • H02G7/00Overhead installations of electric lines or cables
    • H02G7/05Suspension arrangements or devices for electric cables or lines

Landscapes

  • Bridges Or Land Bridges (AREA)
  • Suspension Of Electric Lines Or Cables (AREA)

Abstract

本发明涉及一种导线防震锤防滑装置,它包括防震锤、锁线机构和防滑机构,防震锤右侧设置有钢绞丝,钢绞丝右侧设置有第一架设套筒,第一架设套筒上方设置有锁线机构,锁线机构下端中部设置有锁紧螺栓,锁线机构左右两侧上方中部设置有卡套,第一架设套筒右侧设置有第二架设套筒,第二架设套筒上方设置有连接板,连接板中部上方设置有棘爪,棘爪上方设置有棘轮,连接板与棘轮的转轴对应的另一端设置有防滑机构,防滑机构包括防滑上板和防滑下板,防滑上板和防滑下板中部内侧均设置有半圆形置线槽,棘轮上的转轴另一端设置有防滑头,防滑头中部设置有防滑凸条;本发明具有结构简单、安装使用方便、实用性强的优点。

Description

一种导线防震锤防滑装置
技术领域
本发明属于导线防震锤技术领域,具体涉及一种导线防震锤防滑装置。
背景技术
在高压架空线路上,靠近绝缘子两侧的导线上常挂一个小锤,这种小锤叫防振锤,是为了减少导线因风力扯起振动而设的;高压架空线路杆位较高,档距较大,当导线受到风力作用时,会发生振动,导线振动时,导线悬挂处的工作条件最为不利,由于多次振动,导线因周期性的弯折会发生疲劳破坏,当架空线路档距大于120米时,一般采用防振锤防震;防振锤由一定质量的重锤,具有较高弹性、高强度的度锌钢绞线及线夹组成,防振锤安装以后,能产生与导线振动相位相反的运动,从而使导线振动消除或减弱,随着长时间的运行及在复杂恶劣气象条件下的严峻考验,可能产生因螺栓松动而使导线握力不够,造成与导线滑移,从而失去对导线的防震保护作用;因此,提供一种结构简单、安装使用方便、实用性强、有效地防止防震锤等导线附件滑跑的一种导线防震锤防滑装置是非常有必要的。
发明内容
本发明的目的是为了克服现有技术的不足,而提供一种结构简单、安装使用方便、实用性强、有效地防止防震锤等导线附件滑跑的一种导线防震锤防滑装置。
本发明的目的是这样实现的:一种导线防震锤防滑装置,它包括防震锤、锁线机构和防滑机构,所述的防震锤右侧设置有钢绞丝,所述的钢绞丝右侧设置有第一架设套筒,所述的第一架设套筒上方设置有锁线机构,所述的锁线机构下端中部设置有锁紧螺栓,所述的锁线机构左右两侧上方中部设置有卡套,所述的卡套内部圆周设置有导线孔,外圆周面上均匀设置有六个预绞丝孔,所述的预绞丝通过预绞丝孔穿过卡套缠绕固定在导线上,所述的第一架设套筒右侧设置有第二架设套筒,所述的第二架设套筒上方设置有连接板,所述的连接板中部上方设置有棘爪,所述的棘爪通过轴承安装在连接板上,所述的棘爪上方设置有棘轮,所述的棘轮通过转轴安装在连接板上,所述的棘轮外圆周上设置有棘齿,所述的连接板与棘轮的转轴对应的另一端设置有防滑机构,所述的防滑机构包括防滑上板和防滑下板,所述的防滑上板和防滑下板中部内侧均设置有半圆形置线槽,所述的防滑机构上下两端均通过螺钉固定在连接板上,所述的棘轮上的转轴另一端设置有防滑头,所述的防滑头贯穿防滑上板上的半圆形置线槽通过轴承安装在转轴上,所述的防滑头中部设置有防滑凸条,所述的导线上设置有悬垂线夹,所述的悬垂线夹上方设置有连接杆塔,所述的连接杆塔上均匀设置有三个绝缘子,所述的防震锤设置在悬垂线夹左右两侧。
所述的钢绞丝贯穿第一架设套筒和第二架设套筒连通两侧的防震锤,所述的防震锤、第一架设套筒和第二架设套筒通过浇铸安装在钢绞丝上,所述的锁线机构通过浇铸安装在第一架设套筒上,所述的连接板通过浇铸安装在第二架设套筒。
所述的导线孔和预绞丝孔均为无螺纹通孔。
所述的防滑凸上覆盖一层防滑涂料。
所述的锁线机构内部开设有直径等于卡套的导线孔直径的通孔,并且外部开设有矩形槽。
所述的棘轮、棘齿、棘爪配套使用,所述的棘爪的大小等于棘齿的大小。
本发明的有益效果:本发明采用锁线机构和防滑机构,锁线机构下端中部设置有锁紧螺栓,锁线机构左右两侧上方中部设置有卡套,卡套内部圆周设置有导线孔,外圆周面上均匀设置有六个预绞丝孔,首先旋出锁紧螺栓,在锁紧机构左右两侧放置卡套,导线穿过卡套内的导线孔,然后将导线放置到锁线机构内,之后将预绞丝穿过卡套上的预绞丝孔缠绕固定在导线上,增大锁线机构与导线之间的咬合力,之后再旋紧锁紧螺栓,这样将导线固定在锁紧机构内部,导线不会在锁紧机构内产生滑动或者移动,由于锁线机构通过浇铸安装在第一架设套筒,防震锤、第一架设套筒和第二架设套筒通过浇铸安装在钢绞丝上,因此防震锤能够稳定固定在钢绞丝上,防震锤不会相对导线发生位移,实用性强、安装使用方便;本发明采用防滑机构,防滑机构包括防滑上板和防滑下板,防滑上板和防滑下板中部内侧均设置有半圆形置线槽,两个半圆形置线槽夹紧导线,然后将整个防滑机构上下两端均通过螺钉固定在连接板上,之后旋转棘轮,棘轮带动转轴转动,进而带动防滑头转动,防滑头向防滑上板上的置线槽内部运动,进而将导线锁定,防滑头表面的防滑凸条上涂有一层防滑涂料,增大摩擦力,进而防止当导线受到风力作用发生振动时,防滑机构相对导线产生位移,棘轮上的棘齿与棘爪配合使用,能够完全卡紧转轴以及防滑头,防止因转轴和防滑头松动而使导线握力不够,造成防滑机构相对导线滑移,从而有效地防止防震锤等导线附件滑跑;本发明具有结构简单、安装使用方便、实用性强、有效地防止防震锤等导线附件滑跑的优点。
附图说明
图1为本发明一种导线防震锤防滑装置的整体结构示意图。
图2为本发明一种导线防震锤防滑装置的操作盒的锁线机构与预绞丝在导线上的安装位置示意图。
图3为本发明一种导线防震锤防滑装置的整体安装位置示意图。
图4为本发明一种导线防震锤防滑装置的卡套的结构示意图。
图5为本发明一种导线防震锤防滑装置的卡套与预绞丝安装示意图。
图6为本发明一种导线防震锤防滑装置的防滑机构的结构示意图。
图7为本发明一种导线防震锤防滑装置的防滑机构在连接板上与棘轮安装位置的示意图。
图8为本发明一种导线防震锤防滑装置的棘轮的结构示意图。
图9为本发明一种导线防震锤防滑装置的防滑头结构示意图。
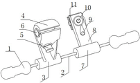
图中:1、防震锤 2、钢绞丝 3、第一架设套筒 4、锁线机构 5、锁紧螺栓 6、卡套601、导线孔 602、预绞丝孔 7、第二架设套筒 8、连接板 9、棘爪 10、棘轮 101、转轴 102、棘齿 11、防滑机构 1101、防滑上板 1102、防滑下板 1103、置线槽 12、导线 13、预绞丝14、悬垂线夹 15、绝缘子 16、连接杆塔 17、防滑头 18、防滑凸条。
具体实施方式
下面结合附图对本发明做进一步的说明。
实施例1
如图1-9所示,一种导线防震锤防滑装置,它包括防震锤1、锁线机构4和防滑机构11,所述的防震锤1右侧设置有钢绞丝2,所述的钢绞丝2右侧设置有第一架设套筒3,所述的第一架设套筒3上方设置有锁线机构4,所述的锁线机构4下端中部设置有锁紧螺栓5,所述的锁线机构4左右两侧上方中部设置有卡套6,所述的卡套6内部圆周设置有导线孔601,外圆周面上均匀设置有六个预绞丝孔602,所述的预绞丝13通过预绞丝孔602穿过卡套6缠绕固定在导线12上,所述的第一架设套筒3右侧设置有第二架设套筒7,所述的第二架设套筒7上方设置有连接板8,所述的连接板8中部上方设置有棘爪9,所述的棘爪9通过轴承安装在连接板8上,所述的棘爪9上方设置有棘轮10,所述的棘轮10通过转轴101安装在连接板8上,所述的棘轮10外圆周上设置有棘齿102,所述的连接板8与棘轮10的转轴101对应的另一端设置有防滑机构11,所述的防滑机构11包括防滑上板1101和防滑下板1102,所述的防滑上板1101和防滑下板1102中部内侧均设置有半圆形置线槽1103,所述的防滑机构11上下两端均通过螺钉固定在连接板8上,所述的棘轮10上的转轴101另一端设置有防滑头17,所述的防滑头17贯穿防滑上板1101上的半圆形置线槽1103通过轴承安装在转轴101上,所述的防滑头17中部设置有防滑凸条18,所述的导线12上设置有悬垂线夹14,所述的悬垂线夹14上方设置有连接杆塔16,所述的连接杆塔上16均匀设置有三个绝缘子15,所述的防震锤1设置在悬垂线夹14左右两侧。
本发明采用锁线机构和防滑机构,锁线机构下端中部设置有锁紧螺栓,锁线机构左右两侧上方中部设置有卡套,卡套内部圆周设置有导线孔,外圆周面上均匀设置有六个预绞丝孔,首先旋出锁紧螺栓,在锁紧机构左右两侧放置卡套,导线穿过卡套内的导线孔,然后将导线放置到锁线机构内,之后将预绞丝穿过卡套上的预绞丝孔缠绕固定在导线上,增大锁线机构与导线之间的咬合力,之后再旋紧锁紧螺栓,这样将导线固定在锁紧机构内部,导线不会在锁紧机构内产生滑动或者移动,由于锁线机构通过浇铸安装在第一架设套筒,防震锤、第一架设套筒和第二架设套筒通过浇铸安装在钢绞丝上,因此防震锤能够稳定固定在钢绞丝上,防震锤不会相对导线发生位移,实用性强、安装使用方便;本发明采用防滑机构,防滑机构包括防滑上板和防滑下板,防滑上板和防滑下板中部内侧均设置有半圆形置线槽,两个半圆形置线槽夹紧导线,然后将整个防滑机构上下两端均通过螺钉固定在连接板上,之后旋转棘轮,棘轮带动转轴转动,进而带动防滑头转动,防滑头向防滑上板上的置线槽内部运动,进而将导线锁定,防滑头表面的防滑凸条上涂有一层防滑涂料,增大摩擦力,进而防止当导线受到风力作用发生振动时,防滑机构相对导线产生位移,棘轮上的棘齿与棘爪配合使用,能够完全卡紧转轴以及防滑头,防止因转轴和防滑头松动而使导线握力不够,造成防滑机构相对导线滑移,从而有效地防止防震锤等导线附件滑跑;本发明具有结构简单、安装使用方便、实用性强、有效地防止防震锤等导线附件滑跑的优点。
实施例2
如图1-9所示,一种导线防震锤防滑装置,它包括防震锤1、锁线机构4和防滑机构11,所述的防震锤1右侧设置有钢绞丝2,所述的钢绞丝2右侧设置有第一架设套筒3,所述的第一架设套筒3上方设置有锁线机构4,所述的锁线机构4下端中部设置有锁紧螺栓5,所述的锁线机构4左右两侧上方中部设置有卡套6,所述的卡套6内部圆周设置有导线孔601,外圆周面上均匀设置有六个预绞丝孔602,所述的预绞丝13通过预绞丝孔602穿过卡套6缠绕固定在导线12上,所述的第一架设套筒3右侧设置有第二架设套筒7,所述的第二架设套筒7上方设置有连接板8,所述的连接板8中部上方设置有棘爪9,所述的棘爪9通过轴承安装在连接板8上,所述的棘爪9上方设置有棘轮10,所述的棘轮10通过转轴101安装在连接板8上,所述的棘轮10外圆周上设置有棘齿102,所述的连接板8与棘轮10的转轴101对应的另一端设置有防滑机构11,所述的防滑机构11包括防滑上板1101和防滑下板1102,所述的防滑上板1101和防滑下板1102中部内侧均设置有半圆形置线槽1103,所述的防滑机构11上下两端均通过螺钉固定在连接板8上,所述的棘轮10上的转轴101另一端设置有防滑头17,所述的防滑头17贯穿防滑上板1101上的半圆形置线槽1103通过轴承安装在转轴101上,所述的防滑头17中部设置有防滑凸条18,所述的导线12上设置有悬垂线夹14,所述的悬垂线夹14上方设置有连接杆塔16,所述的连接杆塔上16均匀设置有三个绝缘子15,所述的防震锤1设置在悬垂线夹14左右两侧。
为了更好的效果,所述的钢绞丝2贯穿第一架设套筒3和第二架设套筒7连通两侧的防震锤1,所述的防震锤1、第一架设套筒3和第二架设套筒7通过浇铸安装在钢绞丝2上,所述的锁线机构4通过浇铸安装在第一架设套筒3上,所述的连接板8通过浇铸安装在第二架设套筒7,采用浇铸方式固定相关部件,能够提高整体的强度性能以及美观性,能够长时间适应复杂恶劣气象条件,延长使用寿命,节省更换的成本。
为了更好的效果,所述的导线孔601和预绞丝孔602均为无螺纹通孔,便于导线和预绞丝穿过导线孔601和预绞丝孔602,安装方便快捷,节省时间,提高工作效率。
为了更好的效果,所述的防滑凸18上覆盖一层防滑涂料,增大和导线接触面的摩擦力,使得导线在置线槽中更加稳固,达到防震锤不会相对导线产生位移,防止防震锤滑动的效果,当导线受到风力作用发生振动时,对导线持续进行防震保护,减少事故的发生。
为了更好的效果,所述的锁线机构内部开设有直径等于卡套的导线孔直径的通孔,并且外部开设有矩形槽,不完全封闭的设计,使得导线放置到锁线机构内快捷方便,不需要使用特殊工具,因此整个装置安装使用方便,实用性强。
为了更好的效果,所述的棘轮、棘齿、棘爪配套使用,所述的棘爪的大小等于棘齿的大小,这样棘爪能够完全卡紧棘轮上的棘齿,因此棘齿不会逆转,只能朝一个方向转动,因此能够锁紧导线,有效地防止防震锤等导线附件滑移。
本发明采用锁线机构和防滑机构,锁线机构下端中部设置有锁紧螺栓,锁线机构左右两侧上方中部设置有卡套,卡套内部圆周设置有导线孔,外圆周面上均匀设置有六个预绞丝孔,首先旋出锁紧螺栓,在锁紧机构左右两侧放置卡套,导线穿过卡套内的导线孔,然后将导线放置到锁线机构内,之后将预绞丝穿过卡套上的预绞丝孔缠绕固定在导线上,增大锁线机构与导线之间的咬合力,之后再旋紧锁紧螺栓,这样将导线固定在锁紧机构内部,导线不会在锁紧机构内产生滑动或者移动,由于锁线机构通过浇铸安装在第一架设套筒,防震锤、第一架设套筒和第二架设套筒通过浇铸安装在钢绞丝上,因此防震锤能够稳定固定在钢绞丝上,防震锤不会相对导线发生位移,实用性强、安装使用方便;本发明采用防滑机构,防滑机构包括防滑上板和防滑下板,防滑上板和防滑下板中部内侧均设置有半圆形置线槽,两个半圆形置线槽夹紧导线,然后将整个防滑机构上下两端均通过螺钉固定在连接板上,之后旋转棘轮,棘轮带动转轴转动,进而带动防滑头转动,防滑头向防滑上板上的置线槽内部运动,进而将导线锁定,防滑头表面的防滑凸条上涂有一层防滑涂料,增大摩擦力,进而防止当导线受到风力作用发生振动时,防滑机构相对导线产生位移,棘轮上的棘齿与棘爪配合使用,能够完全卡紧转轴以及防滑头,防止因转轴和防滑头松动而使导线握力不够,造成防滑机构相对导线滑移,从而有效地防止防震锤等导线附件滑跑;本发明具有结构简单、安装使用方便、实用性强、有效地防止防震锤等导线附件滑跑的优点。

Claims (3)

1.一种导线防震锤防滑装置,它包括防震锤、锁线机构和防滑机构,其特征在于:所述的防震锤右侧设置有钢绞丝,所述的钢绞丝右侧设置有第一架设套筒,所述的第一架设套筒上方设置有锁线机构,所述的锁线机构下端中部设置有锁紧螺栓,所述的锁线机构左右两侧上方中部设置有卡套,所述的卡套内部圆周设置有导线孔,外圆周面上均匀设置有六个预绞丝孔,所述的预绞丝通过预绞丝孔穿过卡套缠绕固定在导线上,所述的第一架设套筒右侧设置有第二架设套筒,所述的第二架设套筒上方设置有连接板,所述的连接板中部上方设置有棘爪,所述的棘爪通过轴承安装在连接板上,所述的棘爪上方设置有棘轮,所述的棘轮通过转轴安装在连接板上,所述的棘轮外圆周上设置有棘齿,所述的连接板与棘轮的转轴对应的另一端设置有防滑机构,所述的防滑机构包括防滑上板和防滑下板,所述的防滑上板和防滑下板中部内侧均设置有半圆形置线槽,所述的防滑机构上下两端均通过螺钉固定在连接板上,所述的棘轮上的转轴另一端设置有防滑头,所述的防滑头贯穿防滑上板上的半圆形置线槽通过轴承安装在转轴上,所述的防滑头中部设置有防滑凸条,所述的导线上设置有悬垂线夹,所述的悬垂线夹上方设置有连接杆塔,所述的连接杆塔上均匀设置有三个绝缘子,所述的防震锤设置在悬垂线夹左右两侧,所述的钢绞丝贯穿第一架设套筒和第二架设套筒连通两侧的防震锤,所述的防震锤、第一架设套筒和第二架设套筒通过浇铸安装在钢绞丝上,所述的锁线机构通过浇铸安装在第一架设套筒上,所述的连接板通过浇铸安装在第二架设套筒,导线孔和预绞丝孔均为无螺纹通孔,所述的防滑凸条上覆盖一层防滑涂料。
2.如权利要求1所述的一种导线防震锤防滑装置,其特征在于:所述的锁线机构内部开设有直径等于卡套的导线孔直径的通孔,并且外部开设有矩形槽。
3.如权利要求1所述的一种导线防震锤防滑装置,其特征在于:所述的棘轮、棘齿、棘爪配套使用,所述的棘爪的大小等于棘齿的大小。
CN201911223092.9A 2019-12-03 2019-12-03 一种导线防震锤防滑装置 Expired - Fee Related CN111030022B (zh)

Priority Applications (1)

Application Number Priority Date Filing Date Title
CN201911223092.9A CN111030022B (zh) 2019-12-03 2019-12-03 一种导线防震锤防滑装置

Applications Claiming Priority (1)

Application Number Priority Date Filing Date Title
CN201911223092.9A CN111030022B (zh) 2019-12-03 2019-12-03 一种导线防震锤防滑装置

Publications (2)

Publication Number Publication Date
CN111030022A CN111030022A (zh) 2020-04-17
CN111030022B true CN111030022B (zh) 2022-06-10

Family

ID=70204156

Family Applications (1)

Application Number Title Priority Date Filing Date
CN201911223092.9A Expired - Fee Related CN111030022B (zh) 2019-12-03 2019-12-03 一种导线防震锤防滑装置

Country Status (1)

Country Link
CN (1) CN111030022B (zh)

Families Citing this family (1)

* Cited by examiner, † Cited by third party
Publication number Priority date Publication date Assignee Title
CN112421250B (zh) * 2020-09-29 2024-04-16 国网河南省电力公司西平县供电公司 一种低压导线断线连接装置

Family Cites Families (10)

* Cited by examiner, † Cited by third party
Publication number Priority date Publication date Assignee Title
JP4434981B2 (ja) * 2005-02-10 2010-03-17 旭電機株式会社 捻れ防止装置、着雪及びギャロッピング防止方法
CN201442229U (zh) * 2009-07-03 2010-04-28 中冶焦耐(大连)工程技术有限公司 焦炉大弹簧调节工具
CN202678896U (zh) * 2012-06-08 2013-01-16 陈进军 防滑预绞防震装置
CN204602826U (zh) * 2015-05-11 2015-09-02 邯钢集团邯宝钢铁有限公司 一种酸轧卧式活套钢丝绳紧固装置
CN205512855U (zh) * 2016-04-11 2016-08-31 上虞市金桥伞业有限公司 一种旋转底座及运用该旋转底座的偏心太阳伞
CN206195305U (zh) * 2016-11-14 2017-05-24 尚梦雨 一种新型防振锤防滑移装置
CN208640894U (zh) * 2017-09-13 2019-03-26 张帆 一种高频手术电刀放置架
CN207459527U (zh) * 2017-11-27 2018-06-05 国家电网公司 一种10kV避雷器手车专用操作工具
CN207559509U (zh) * 2017-12-06 2018-06-29 江苏曼龙科技有限公司 一种架空输电导线防震锤
CN207648359U (zh) * 2017-12-22 2018-07-24 新乡职业技术学院 一种电子设备底座装置

Also Published As

Publication number Publication date
CN111030022A (zh) 2020-04-17

Similar Documents

Publication Publication Date Title
CN111030022B (zh) 一种导线防震锤防滑装置
CN108565809A (zh) 一种便于安装的防振锤
CN205791392U (zh) 输电线路护线式悬垂线夹
CN204290226U (zh) 节能型防振锤
CN113964770B (zh) 一种防止运行滑移的自复位防振锤及其复位方法
CN103802054B (zh) 带电紧固防振器螺栓绝缘扭力扳手
CN201289991Y (zh) 一种防振锤
CN212210436U (zh) 一种便于装配的高压架空线路用防振锤
CN201853996U (zh) 1150kV交流紧凑型输电线路导线防晕阻尼间隔棒
CN210404561U (zh) 一种电力工程线缆安装用紧线器
CN210669463U (zh) 防磨损导线的防振锤
CN201766333U (zh) 一种防松装置和防振锤
CN203562733U (zh) 一种导线用防震锤
CN204156421U (zh) 一种接地线卡
CN216413864U (zh) 一种用于电力安装的紧线装置
CN202586230U (zh) 一种防滑型预绞式防振锤
CN112968412B (zh) 一种全绝缘相色预绞丝
CN218415748U (zh) 一种绝缘子防震快装线夹
CN210517734U (zh) 一种防滑移的防振锤夹线板
CN119381989B (zh) 一种输电线路用螺栓型铝合金耐张线夹
CN204012590U (zh) 防振锤
CN210669464U (zh) 一种防磨损导线的防振锤
CN212412722U (zh) 螺栓防振锤用预绞式防滑线夹
CN209982000U (zh) 一种输电线路防振锤防滑套
CN210629047U (zh) 输电导线减振装置

Legal Events

Date Code Title Description
PB01 Publication
PB01 Publication
SE01 Entry into force of request for substantive examination
SE01 Entry into force of request for substantive examination
GR01 Patent grant
GR01 Patent grant
CF01 Termination of patent right due to non-payment of annual fee

Granted publication date: 20220610

CF01 Termination of patent right due to non-payment of annual fee