CN111001199A - 一种多工位循环作业调理脱水装置 - Google Patents
一种多工位循环作业调理脱水装置 Download PDFInfo
- Publication number
- CN111001199A CN111001199A CN201911291756.5A CN201911291756A CN111001199A CN 111001199 A CN111001199 A CN 111001199A CN 201911291756 A CN201911291756 A CN 201911291756A CN 111001199 A CN111001199 A CN 111001199A
- Authority
- CN
- China
- Prior art keywords
- plate
- settling tank
- rod
- tank
- wall
- Prior art date
- Legal status (The legal status is an assumption and is not a legal conclusion. Google has not performed a legal analysis and makes no representation as to the accuracy of the status listed.)
- Granted
Links
- 230000003750 conditioning effect Effects 0.000 title claims abstract description 17
- 125000004122 cyclic group Chemical group 0.000 title description 5
- 230000007246 mechanism Effects 0.000 claims abstract description 39
- 238000005192 partition Methods 0.000 claims abstract description 14
- 230000001376 precipitating effect Effects 0.000 claims abstract description 10
- 230000001360 synchronised effect Effects 0.000 claims abstract description 10
- XLYOFNOQVPJJNP-UHFFFAOYSA-N water Substances O XLYOFNOQVPJJNP-UHFFFAOYSA-N 0.000 claims description 49
- XEEYBQQBJWHFJM-UHFFFAOYSA-N Iron Chemical compound [Fe] XEEYBQQBJWHFJM-UHFFFAOYSA-N 0.000 claims description 40
- 229910052742 iron Inorganic materials 0.000 claims description 20
- OKTJSMMVPCPJKN-UHFFFAOYSA-N Carbon Chemical compound [C] OKTJSMMVPCPJKN-UHFFFAOYSA-N 0.000 claims description 12
- 229910052799 carbon Inorganic materials 0.000 claims description 8
- 239000003795 chemical substances by application Substances 0.000 claims description 8
- 238000004140 cleaning Methods 0.000 claims description 8
- 238000001035 drying Methods 0.000 claims description 7
- 229910001220 stainless steel Inorganic materials 0.000 claims description 7
- 238000003466 welding Methods 0.000 claims description 7
- 239000004744 fabric Substances 0.000 claims description 5
- BRPQOXSCLDDYGP-UHFFFAOYSA-N calcium oxide Chemical compound [O-2].[Ca+2] BRPQOXSCLDDYGP-UHFFFAOYSA-N 0.000 claims description 3
- ODINCKMPIJJUCX-UHFFFAOYSA-N calcium oxide Inorganic materials [Ca]=O ODINCKMPIJJUCX-UHFFFAOYSA-N 0.000 claims description 3
- 239000000292 calcium oxide Substances 0.000 claims description 3
- 239000012024 dehydrating agents Substances 0.000 claims description 3
- 239000008394 flocculating agent Substances 0.000 claims description 3
- 238000001556 precipitation Methods 0.000 claims 1
- 239000010802 sludge Substances 0.000 description 24
- 230000018044 dehydration Effects 0.000 description 5
- 238000006297 dehydration reaction Methods 0.000 description 5
- 238000000034 method Methods 0.000 description 4
- 239000013049 sediment Substances 0.000 description 4
- 239000010865 sewage Substances 0.000 description 4
- 230000008569 process Effects 0.000 description 3
- 238000000926 separation method Methods 0.000 description 3
- 238000001914 filtration Methods 0.000 description 2
- 239000012535 impurity Substances 0.000 description 2
- 238000009434 installation Methods 0.000 description 2
- 238000004062 sedimentation Methods 0.000 description 2
- 239000000126 substance Substances 0.000 description 2
- 241001052560 Thallis Species 0.000 description 1
- 230000001580 bacterial effect Effects 0.000 description 1
- 230000009286 beneficial effect Effects 0.000 description 1
- 230000008859 change Effects 0.000 description 1
- 239000000084 colloidal system Substances 0.000 description 1
- 238000009833 condensation Methods 0.000 description 1
- 230000005494 condensation Effects 0.000 description 1
- 239000012634 fragment Substances 0.000 description 1
- 230000005484 gravity Effects 0.000 description 1
- 238000010438 heat treatment Methods 0.000 description 1
- 230000006872 improvement Effects 0.000 description 1
- 239000010954 inorganic particle Substances 0.000 description 1
- 239000007788 liquid Substances 0.000 description 1
- 230000004048 modification Effects 0.000 description 1
- 238000012986 modification Methods 0.000 description 1
- 239000005416 organic matter Substances 0.000 description 1
- 239000002245 particle Substances 0.000 description 1
- 230000002035 prolonged effect Effects 0.000 description 1
- 239000007787 solid Substances 0.000 description 1
- 239000010935 stainless steel Substances 0.000 description 1
Images
Classifications
-
- B—PERFORMING OPERATIONS; TRANSPORTING
- B01—PHYSICAL OR CHEMICAL PROCESSES OR APPARATUS IN GENERAL
- B01D—SEPARATION
- B01D21/00—Separation of suspended solid particles from liquids by sedimentation
- B01D21/02—Settling tanks with single outlets for the separated liquid
- B01D21/04—Settling tanks with single outlets for the separated liquid with moving scrapers
-
- B—PERFORMING OPERATIONS; TRANSPORTING
- B01—PHYSICAL OR CHEMICAL PROCESSES OR APPARATUS IN GENERAL
- B01D—SEPARATION
- B01D21/00—Separation of suspended solid particles from liquids by sedimentation
- B01D21/0012—Settling tanks making use of filters, e.g. by floating layers of particulate material
-
- B—PERFORMING OPERATIONS; TRANSPORTING
- B01—PHYSICAL OR CHEMICAL PROCESSES OR APPARATUS IN GENERAL
- B01D—SEPARATION
- B01D21/00—Separation of suspended solid particles from liquids by sedimentation
- B01D21/003—Sedimentation tanks provided with a plurality of compartments separated by a partition wall
- B01D21/0033—Vertical, perforated partition walls
-
- B—PERFORMING OPERATIONS; TRANSPORTING
- B01—PHYSICAL OR CHEMICAL PROCESSES OR APPARATUS IN GENERAL
- B01D—SEPARATION
- B01D21/00—Separation of suspended solid particles from liquids by sedimentation
- B01D21/0039—Settling tanks provided with contact surfaces, e.g. baffles, particles
- B01D21/0045—Plurality of essentially parallel plates
-
- B—PERFORMING OPERATIONS; TRANSPORTING
- B01—PHYSICAL OR CHEMICAL PROCESSES OR APPARATUS IN GENERAL
- B01D—SEPARATION
- B01D21/00—Separation of suspended solid particles from liquids by sedimentation
- B01D21/01—Separation of suspended solid particles from liquids by sedimentation using flocculating agents
-
- B—PERFORMING OPERATIONS; TRANSPORTING
- B01—PHYSICAL OR CHEMICAL PROCESSES OR APPARATUS IN GENERAL
- B01D—SEPARATION
- B01D21/00—Separation of suspended solid particles from liquids by sedimentation
- B01D21/24—Feed or discharge mechanisms for settling tanks
- B01D21/245—Discharge mechanisms for the sediments
-
- C—CHEMISTRY; METALLURGY
- C02—TREATMENT OF WATER, WASTE WATER, SEWAGE, OR SLUDGE
- C02F—TREATMENT OF WATER, WASTE WATER, SEWAGE, OR SLUDGE
- C02F11/00—Treatment of sludge; Devices therefor
- C02F11/12—Treatment of sludge; Devices therefor by de-watering, drying or thickening
- C02F11/13—Treatment of sludge; Devices therefor by de-watering, drying or thickening by heating
Landscapes
- Chemical & Material Sciences (AREA)
- Chemical Kinetics & Catalysis (AREA)
- Engineering & Computer Science (AREA)
- Mechanical Engineering (AREA)
- Life Sciences & Earth Sciences (AREA)
- Hydrology & Water Resources (AREA)
- Environmental & Geological Engineering (AREA)
- Water Supply & Treatment (AREA)
- Organic Chemistry (AREA)
- Filtration Of Liquid (AREA)
- Treatment Of Sludge (AREA)
Abstract
本发明公开了一种多工位循环作业调理脱水装置,包括沉淀箱,所述沉淀箱内壁中部等距安装有分隔板,所述沉淀箱背面边部安装有同步移动机构,所述同步移动机构包括凹型杆、直线往复电机、丝杆、移动块、转动电机、转盘、横杆、锥形斗、蓄电池、电动伸缩杆和连接杆,所述沉淀箱背面边部安装有凹型杆,通过凹型杆、直线往复电机、丝杆、移动块、转动电机、转盘、横杆、锥形斗、蓄电池、电动伸缩杆、连接杆、直杆和锥形头,能够便于对沉淀箱内部不同区域倒入不同的沉淀剂,从而改变现有的单工位倒入沉淀剂的难度,而且能够循环往复的运动,从而降低了工作人员添加沉淀剂的难度,该方式操作简单,使用便捷。
Description
技术领域
本发明涉及脱水装置技术领域,具体为一种多工位循环作业调理脱水装置。
背景技术
污泥是污水处理后的产物,是一种由有机残片、细菌菌体、无机颗粒、胶体等组成的及其复杂的物质,污泥的主要特征是含水率高达99%,有机物含量高,容易腐化发臭,并且颗粒较细,比重较小,它是介于液体和固体之间的浓稠物,为了避免污泥对环境造成污染, 一般在污水处理后,需要对污泥进行处理,而在污泥的处理过程中脱水、 浓缩是其最主要的环节;
但是现有的污泥脱水装置,只能单个工位对污泥进行脱水,而无法做到多工位同步对污泥进行脱水,从而降低了污泥的脱水速度,而且,增加人员的劳动程度。
发明内容
本发明提供一种多工位循环作业调理脱水装置,可以有效解决上述背景技术中提出的但是现有的污泥脱水装置,只能单个工位对污泥进行脱水,而无法做到多工位同步对污泥进行脱水,从而降低了污泥的脱水速度,而且,增加人员的劳动程度问题。
为实现上述目的,本发明提供如下技术方案:一种多工位循环作业调理脱水装置,包括沉淀箱,所述沉淀箱内壁中部等距安装有分隔板,所述沉淀箱背面边部安装有同步移动机构,所述同步移动机构包括凹型杆、直线往复电机、丝杆、移动块、转动电机、转盘、横杆、锥形斗、蓄电池、电动伸缩杆和连接杆;
所述沉淀箱背面边部安装有凹型杆,所述凹型杆一端边部安装有直线往复电机,所述直线往复电机一端边部卡接有丝杆,所述丝杆外表面边部套接有移动块,所述移动块顶端中部嵌入安装有转动电机,所述转动电机顶端边部卡接有转盘,所述转盘外表面边部等距安装有横杆,所述横杆一端边部焊接有锥形斗,所述转盘顶端中部安装有蓄电池,所述转盘顶端位于横杆一端边部位置处安装有电动伸缩杆,所述电动伸缩杆顶端中部焊接有连接杆,所述连接杆一端边部焊接有直杆,所述直杆顶端中部焊接有锥形头,所述转动电机和直线往复电机的输入端均与市电的输出端电性连接,所述电动伸缩杆的输入端和蓄电池的输出端电性连接。
优选的,所述锥形斗的数量共设置为三个,三个所述锥形斗内壁中部分别设置有絮凝剂、氧化钙沉淀剂和脱水剂。
所述转盘顶端位于蓄电池四边中部位置处均开设有定位孔,所述定位孔内壁中部设置有防护机构,所述防护机构包括连接柱、固定块、收纳腔室、水平板和圆盘;
所述定位孔内壁中部设置有连接柱,所述连接柱顶端中部焊接有固定块,所述固定块底端对应蓄电池顶端边部位置处开设有收纳腔室,所述固定块底端边部对应横杆顶端边部位置处焊接有水平板,所述水平板底端对应锥形斗内壁边部位置处设置有圆盘,所述沉淀箱和分隔板顶端边部均焊接有倾斜挡板。
优选的,所述蓄电池位于收纳腔室内部,所述圆盘位于锥形斗内部。
所述沉淀箱内部位于分隔板一端边部位置处设置有清理机构,所述清理机构包括移动板、槽口、滑槽、移动凹型板、滑块、倾斜板和倾斜槽;
所述沉淀箱内部位于分隔板一端边部位置处设置有移动板,所述移动板一端边部对应倾斜挡板外表面边部位置处开设有槽口,所述移动板内壁顶端中部开设有滑槽,所述滑槽内壁中部设置有移动凹型板,所述移动板底端两侧均焊接有滑块,所述滑块外表面边部连接有倾斜板,所述倾斜板顶端对应滑块底端边部位置处开设有倾斜槽。
优选的,所述沉淀箱顶端对应移动凹型板底端边部位置处开设有方孔,所述移动凹型板一端位于方孔内部,所述移动凹型板另一端位于滑槽内部。
所述沉淀箱一端边部等距嵌入安装有脱水机构,所述脱水机构包括连接管、阀门、汇流管、烘干箱、放置腔室、放置槽、放置板和电阻丝;
所述沉淀箱一端边部等距嵌入安装有连接管,所述连接管一端安装有阀门,所述阀门一端通过连接管连接有汇流管,所述汇流管一端连接有烘干箱,所述烘干箱顶端中部开设有放置腔室,所述烘干箱一端中部开设有放置槽,所述放置槽内壁中部设置有放置板,所述放置板顶端中部设置有电阻丝,所述电阻丝的输入端和市电的输出端电性连接。
优选的,所述连接管的数量共设置为四个,四个所述连接管一端均和汇流管连接。
所述沉淀箱一端顶部焊接有连接铁板,所述连接铁板一端连接有收集机构,所述收集机构包括锥形罩、蒸汽管、水箱、铁丝过滤网和引流风扇;
所述连接铁板一端连接有锥形罩,所述锥形罩顶端中部连接有蒸汽管,所述蒸汽管一端连接有水箱,所述锥形罩内壁中部设置有铁丝过滤网,所述铁丝过滤网底端两侧均固定安装有引流风扇,所述水箱一端边部开设有观察孔,所述水箱内壁中部对称设置有限位杆,两个所述限位杆底端和顶端均设置有不锈钢丝网,所述不锈钢丝网底端连接有活性炭过滤网,所述活性炭过滤网底端连接有滤网,所述水箱一端和顶端边部均嵌入安装有出水管,所述分隔板一端顶部开设有连接孔,所述连接孔内壁中部设置有滤布,所述引流风扇的输入端和市电的输出端电性连接。
优选的,所述出水管一端和沉淀箱之间通过阀门连接,所述蒸汽管位于水箱内部。
与现有技术相比,本发明的有益效果:本发明科学合理,使用安全方便:
1、通过凹型杆、直线往复电机、丝杆、移动块、转动电机、转盘、横杆、锥形斗、蓄电池、电动伸缩杆、连接杆、直杆和锥形头,能够便于对沉淀箱内部不同区域倒入不同的沉淀剂,从而改变现有的单工位倒入沉淀剂的难度,而且能够循环往复的运动,从而降低了工作人员添加沉淀剂的难度,该方式操作简单,使用便捷。
2、通过连接柱、固定块、收纳腔室、水平板和圆盘,能够对蓄电池进行防护,防止外界的水渍进入到蓄电池表面,从而保护了蓄电池,增加了蓄电池的使用寿命,而且能够对锥形斗进行防护,防止外界的水渍进入到锥形斗内部,进而使锥形斗内部的沉淀剂保持干燥。
3、通过移动板、槽口、滑槽、移动凹型板、滑块、倾斜板和倾斜槽,能够对沉淀箱内部进行清理,降低了沉淀箱内部的清理难度,从而确保了沉淀箱内部的清洁。
4、通过沉淀箱、分隔板、连接管、阀门、汇流管、烘干箱、放置腔室、放置槽、放置板和电阻丝,能够对污泥进行沉淀,从而实现污泥和水渍的分离,而通过连接管,能够便于沉淀箱内部沉淀的污泥进行分类排放,从而进入到烘干箱内部进行烘干,降低了污泥中的水分,从而确保了污泥的干燥性。
5、通过锥形罩、蒸汽管、水箱、铁丝过滤网、引流风扇、方孔、观察孔、限位杆、不锈钢丝网、活性炭过滤网、滤网和出水管,能够对加热箱内部的水蒸汽进行导流,从而进入都水箱内部,遇水凝结成水滴,从而能够对水蒸汽进行利用,而利用出水管,能够对沉淀后的水进行排放,而活性炭过滤网和滤网,能够对水进行过滤,降低了水中的杂质。
附图说明
附图用来提供对本发明的进一步理解,并且构成说明书的一部分,与本发明的实施例一起用于解释本发明,并不构成对本发明的限制。
在附图中:
图1是本发明的结构示意图;
图2是本发明滤布的安装结构示意图;
图3是本发明同步移动机构的结构示意图;
图4是本发明电动伸缩杆的安装结构示意图;
图5是本发明定位孔的开设结构示意图;
图6是本发明防护机构的结构示意图;
图7是本发明清理机构的结构示意图;
图8是本发明脱水机构的结构示意图;
图9是本发明收集机构的结构示意图;
图10是本发明引流风扇的安装结构示意图;
图11是本发明图1中A区域的结构示意图;
图12是本发明2中B区域的结构示意图;
图中标号:1、沉淀箱;2、分隔板;
3、同步移动机构;301、凹型杆;302、直线往复电机;303、丝杆;304、移动块;305、转动电机;306、转盘;307、横杆;308、锥形斗;309、蓄电池;310、电动伸缩杆;311、连接杆;312、直杆;313、锥形头;
4、定位孔;
5、防护机构;501、连接柱;502、固定块;503、收纳腔室;504、水平板;505、圆盘;
6、倾斜挡板;
7、清理机构;701、移动板;702、槽口;703、滑槽;704、移动凹型板;705、滑块;706、倾斜板;707、倾斜槽;
8、脱水机构;801、连接管;802、阀门;803、汇流管;804、烘干箱;805、放置腔室;806、放置槽;807、放置板;808、电阻丝;
9、连接铁板;
10、收集机构;1001、锥形罩;1002、蒸汽管;1003、水箱;1004、铁丝过滤网;1005、引流风扇;
11、方孔;12、观察孔;13、限位杆;14、不锈钢丝网;15、活性炭过滤网;16、滤网;17、出水管;18、连接孔;19、滤布。
具体实施方式
以下结合附图对本发明的优选实施例进行说明,应当理解,此处所描述的优选实施例仅用于说明和解释本发明,并不用于限定本发明。
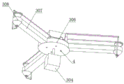
实施例:如图1-12所示,本发明提供一种技术方案,一种多工位循环作业调理脱水装置,包括沉淀箱1,沉淀箱1内壁中部等距安装有分隔板2,沉淀箱1背面边部安装有同步移动机构3,同步移动机构3包括凹型杆301、直线往复电机302、丝杆303、移动块304、转动电机305、转盘306、横杆307、锥形斗308、蓄电池309、电动伸缩杆310和连接杆311;
沉淀箱1背面边部安装有凹型杆301,凹型杆301一端边部安装有直线往复电机302,直线往复电机302一端边部卡接有丝杆303,丝杆303外表面边部套接有移动块304,移动块304顶端中部嵌入安装有转动电机305,转动电机305顶端边部卡接有转盘306,转盘306外表面边部等距安装有横杆307,横杆307一端边部焊接有锥形斗308,锥形斗308的数量共设置为三个,三个锥形斗308内壁中部分别设置有絮凝剂、氧化钙沉淀剂和脱水剂,能够加速污泥在水中的沉淀,加快的污泥的沉淀速度,从而降低了泥水中的污垢,转盘306顶端中部安装有蓄电池309,转盘306顶端位于横杆307一端边部位置处安装有电动伸缩杆310,电动伸缩杆310顶端中部焊接有连接杆311,连接杆311一端边部焊接有直杆312,直杆312顶端中部焊接有锥形头313,转动电机305和直线往复电机302的输入端均与市电的输出端电性连接,电动伸缩杆310的输入端和蓄电池309的输出端电性连接。
转盘306顶端位于蓄电池309四边中部位置处均开设有定位孔4,定位孔4内壁中部设置有防护机构5,防护机构5包括连接柱501、固定块502、收纳腔室503、水平板504和圆盘505;
定位孔4内壁中部设置有连接柱501,连接柱501顶端中部焊接有固定块502,固定块502底端对应蓄电池309顶端边部位置处开设有收纳腔室503,蓄电池309位于收纳腔室503内部,圆盘505位于锥形斗308内部,能够对蓄电池309进行保护,防止蓄电池309接触到水渍,同时,能够对锥形斗308内部进行防护,防止外界的水渍进入到锥形斗308内部,固定块502底端边部对应横杆307顶端边部位置处焊接有水平板504,水平板504底端对应锥形斗308内壁边部位置处设置有圆盘505,沉淀箱1和分隔板2顶端边部均焊接有倾斜挡板6。
沉淀箱1内部位于分隔板2一端边部位置处设置有清理机构7,清理机构7包括移动板701、槽口702、滑槽703、移动凹型板704、滑块705、倾斜板706和倾斜槽707;
沉淀箱1内部位于分隔板2一端边部位置处设置有移动板701,移动板701一端边部对应倾斜挡板6外表面边部位置处开设有槽口702,移动板701内壁顶端中部开设有滑槽703,滑槽703内壁中部设置有移动凹型板704,沉淀箱1顶端对应移动凹型板704底端边部位置处开设有方孔11,移动凹型板704一端位于方孔11内部,移动凹型板704另一端位于滑槽703内部,能够便于对移动凹型板704进行定位,防止移动凹型板704的位置发生移动的现象,从而能够对移动板701进行固定和限位,防止移动板701的位置发生移动的现象,移动板701底端两侧均焊接有滑块705,滑块705外表面边部连接有倾斜板706,倾斜板706顶端对应滑块705底端边部位置处开设有倾斜槽707。
沉淀箱1一端边部等距嵌入安装有脱水机构8,脱水机构8包括连接管801、阀门802、汇流管803、烘干箱804、放置腔室805、放置槽806、放置板807和电阻丝808;
沉淀箱1一端边部等距嵌入安装有连接管801,连接管801的数量共设置为四个,四个连接管801一端均和汇流管803连接,能够便于对沉淀箱1内部污泥进行分类票排放,降低了污泥的排放难度,连接管801一端安装有阀门802,阀门802一端通过连接管801连接有汇流管803,汇流管803一端连接有烘干箱804,烘干箱804顶端中部开设有放置腔室805,烘干箱804一端中部开设有放置槽806,放置槽806内壁中部设置有放置板807,放置板807顶端中部设置有电阻丝808,电阻丝808的输入端和市电的输出端电性连接。
沉淀箱1一端顶部焊接有连接铁板9,连接铁板9一端连接有收集机构10,收集机构10包括锥形罩1001、蒸汽管1002、水箱1003、铁丝过滤网1004和引流风扇1005;
连接铁板9一端连接有锥形罩1001,锥形罩1001顶端中部连接有蒸汽管1002,蒸汽管1002一端连接有水箱1003,锥形罩1001内壁中部设置有铁丝过滤网1004,铁丝过滤网1004底端两侧均固定安装有引流风扇1005,水箱1003一端边部开设有观察孔12,水箱1003内壁中部对称设置有限位杆13,两个限位杆13底端和顶端均设置有不锈钢丝网14,不锈钢丝网14底端连接有活性炭过滤网15,活性炭过滤网15底端连接有滤网16,水箱1003一端和顶端边部均嵌入安装有出水管17,出水管17一端和沉淀箱1之间通过阀门802连接,蒸汽管1002位于水箱1003内部,能够便于对沉淀后的水进行排放,降低了水的排放难度,分隔板2一端顶部开设有连接孔18,连接孔18内壁中部设置有滤布19,所述引流风扇1005的输入端和市电的输出端电性连接。
本发明的工作原理及使用流程:多工位循环作业调理脱水装置在实际使用过程中,污水沿着连接孔18进入到沉淀箱1和分隔板2之间,然后污水在沉淀箱1和分隔板2之间沉淀,沉淀后的水沿着连接孔18和滤布19进入到两个分隔板2之间再次沉淀,而此时直线往复电机302连接电源并且开始运行,而直线往复电机302运行时带动丝杆303转动,丝杆303转动时带动移动块304沿着凹型杆301内部移动,同时,转动电机305连接电源并且开始转动,转动电机305转动时带动转盘306转动,转盘306转动时带动横杆307转动,横杆307转动时带动锥形斗308转动,而当锥形斗308进入到两个分隔板2之间时,电动伸缩杆310开始运行,电动伸缩杆310运行时带动连接杆311移动,连接杆311移动时带动直杆312移动,直杆312移动时带动锥形头313移动,从而使锥形斗308内部的沉淀剂进入到沉淀箱1内部,依次内推,从而使锥形斗308内部的不同沉淀剂进入到沉淀箱1内部不同的位置处,能够便于对沉淀箱1内部不同区域倒入不同的沉淀剂,从而改变现有的单工位倒入沉淀剂的难度,而且能够循环往复的运动,从而降低了工作人员添加沉淀剂的难度,该方式操作简单,使用便捷;
然后,使用人员移动固定块502,固定块502带动连接柱501进入到定位孔4内部,此时,蓄电池309进入到收纳腔室503内部,而且固定块502带动水平板504移动,从而使水平板504底端的圆盘505进入到锥形斗308内部,能够对蓄电池309进行防护,防止外界的水渍进入到蓄电池309表面,从而保护了蓄电池309,增加了蓄电池309的使用寿命,而且能够对锥形斗308进行防护,防止外界的水渍进入到锥形斗308内部,进而使锥形斗308内部的沉淀剂保持干燥,接着沿着滑槽703推动移动凹型板704,移动凹型板704和方孔11之间分离,然后,将移动板701通过滑块705沿着倾斜板706顶端的倾斜槽707移动,从而对沉淀箱1内部沉淀的污泥进行清理,能够对沉淀箱1内部进行清理,降低了沉淀箱1内部的清理难度,从而确保了沉淀箱1内部的清洁;
接着,打开阀门802,连接管801内部的污泥沿着汇流管803进入到烘干箱804内部的放置腔室805内部,此时,电阻丝808连接电源并且开始正常运行,电阻丝808运行时对放置腔室805进行加热,能够对污泥进行沉淀,从而实现污泥和水渍的分离,而通过连接管801,能够便于沉淀箱1内部沉淀的污泥进行分类排放,从而进入到烘干箱804内部进行烘干,降低了污泥中的水分,从而确保了污泥的干燥性;
最后,引流风扇1005开始运行,而引流风扇1005带动气流沿着锥形罩1001进入到蒸汽管1002内部,从蒸汽管1002内部的气流进入到水箱1003内,水管内部的蒸汽在水箱1003内部遇冷凝固成水滴,从而能够对水蒸汽进行利用,最后,打开阀门802,沉淀后水沿着出水管17进入到水箱1003内部,水接触到活性炭过滤网15和滤网16时,对沉淀后的水再次过滤,从而降低了水中的杂质。
最后应说明的是:以上所述仅为本发明的优选实例而已,并不用于限制本发明,尽管参照前述实施例对本发明进行了详细的说明,对于本领域的技术人员来说,其依然可以对前述各实施例所记载的技术方案进行修改,或者对其中部分技术特征进行等同替换。凡在本发明的精神和原则之内,所作的任何修改、等同替换、改进等,均应包含在本发明的保护范围之内。
Claims (10)
1.一种多工位循环作业调理脱水装置,包括沉淀箱(1),其特征在于:所述沉淀箱(1)内壁中部等距安装有分隔板(2),所述沉淀箱(1)背面边部安装有同步移动机构(3),所述同步移动机构(3)包括凹型杆(301)、直线往复电机(302)、丝杆(303)、移动块(304)、转动电机(305)、转盘(306)、横杆(307)、锥形斗(308)、蓄电池(309)、电动伸缩杆(310)和连接杆(311);
所述沉淀箱(1)背面边部安装有凹型杆(301),所述凹型杆(301)一端边部安装有直线往复电机(302),所述直线往复电机(302)一端边部卡接有丝杆(303),所述丝杆(303)外表面边部套接有移动块(304),所述移动块(304)顶端中部嵌入安装有转动电机(305),所述转动电机(305)顶端边部卡接有转盘(306),所述转盘(306)外表面边部等距安装有横杆(307),所述横杆(307)一端边部焊接有锥形斗(308),所述转盘(306)顶端中部安装有蓄电池(309),所述转盘(306)顶端位于横杆(307)一端边部位置处安装有电动伸缩杆(310),所述电动伸缩杆(310)顶端中部焊接有连接杆(311),所述连接杆(311)一端边部焊接有直杆(312),所述直杆(312)顶端中部焊接有锥形头(313),所述转动电机(305)和直线往复电机(302)的输入端均与市电的输出端电性连接,所述电动伸缩杆(310)的输入端和蓄电池(309)的输出端电性连接。
2.根据权利要求1所述的一种多工位循环作业调理脱水装置,其特征在于:所述锥形斗(308)的数量共设置为三个,三个所述锥形斗(308)内壁中部分别设置有絮凝剂、氧化钙沉淀剂和脱水剂。
3.根据权利要求1所述的一种多工位循环作业调理脱水装置,其特征在于:所述转盘(306)顶端位于蓄电池(309)四边中部位置处均开设有定位孔(4),所述定位孔(4)内壁中部设置有防护机构(5),所述防护机构(5)包括连接柱(501)、固定块(502)、收纳腔室(503)、水平板(504)和圆盘(505);
所述定位孔(4)内壁中部设置有连接柱(501),所述连接柱(501)顶端中部焊接有固定块(502),所述固定块(502)底端对应蓄电池(309)顶端边部位置处开设有收纳腔室(503),所述固定块(502)底端边部对应横杆(307)顶端边部位置处焊接有水平板(504),所述水平板(504)底端对应锥形斗(308)内壁边部位置处设置有圆盘(505),所述沉淀箱(1)和分隔板(2)顶端边部均焊接有倾斜挡板(6)。
4.根据权利要求1所述的一种多工位循环作业调理脱水装置,其特征在于:所述蓄电池(309)位于收纳腔室(503)内部,所述圆盘(505)位于锥形斗(308)内部。
5.根据权利要求1所述的一种多工位循环作业调理脱水装置,其特征在于:所述沉淀箱(1)内部位于分隔板(2)一端边部位置处设置有清理机构(7),所述清理机构(7)包括移动板(701)、槽口(702)、滑槽(703)、移动凹型板(704)、滑块(705)、倾斜板(706)和倾斜槽(707);
所述沉淀箱(1)内部位于分隔板(2)一端边部位置处设置有移动板(701),所述移动板(701)一端边部对应倾斜挡板(6)外表面边部位置处开设有槽口(702),所述移动板(701)内壁顶端中部开设有滑槽(703),所述滑槽(703)内壁中部设置有移动凹型板(704),所述移动板(701)底端两侧均焊接有滑块(705),所述滑块(705)外表面边部连接有倾斜板(706),所述倾斜板(706)顶端对应滑块(705)底端边部位置处开设有倾斜槽(707)。
6.根据权利要求1所述的一种多工位循环作业调理脱水装置,其特征在于:所述沉淀箱(1)顶端对应移动凹型板(704)底端边部位置处开设有方孔(11),所述移动凹型板(704)一端位于方孔(11)内部,所述移动凹型板(704)另一端位于滑槽(703)内部。
7.根据权利要求1所述的一种多工位循环作业调理脱水装置,其特征在于:所述沉淀箱(1)一端边部等距嵌入安装有脱水机构(8),所述脱水机构(8)包括连接管(801)、阀门(802)、汇流管(803)、烘干箱(804)、放置腔室(805)、放置槽(806)、放置板(807)和电阻丝(808);
所述沉淀箱(1)一端边部等距嵌入安装有连接管(801),所述连接管(801)一端安装有阀门(802),所述阀门(802)一端通过连接管(801)连接有汇流管(803),所述汇流管(803)一端连接有烘干箱(804),所述烘干箱(804)顶端中部开设有放置腔室(805),所述烘干箱(804)一端中部开设有放置槽(806),所述放置槽(806)内壁中部设置有放置板(807),所述放置板(807)顶端中部设置有电阻丝(808),所述电阻丝(808)的输入端和市电的输出端电性连接。
8.根据权利要求1所述的一种多工位循环作业调理脱水装置,其特征在于:所述连接管(801)的数量共设置为四个,四个所述连接管(801)一端均和汇流管(803)连接。
9.根据权利要求1所述的一种多工位循环作业调理脱水装置,其特征在于:所述沉淀箱(1)一端顶部焊接有连接铁板(9),所述连接铁板(9)一端连接有收集机构(10),所述收集机构(10)包括锥形罩(1001)、蒸汽管(1002)、水箱(1003)、铁丝过滤网(1004)和引流风扇(1005);
所述连接铁板(9)一端连接有锥形罩(1001),所述锥形罩(1001)顶端中部连接有蒸汽管(1002),所述蒸汽管(1002)一端连接有水箱(1003),所述锥形罩(1001)内壁中部设置有铁丝过滤网(1004),所述铁丝过滤网(1004)底端两侧均固定安装有引流风扇(1005),所述水箱(1003)一端边部开设有观察孔(12),所述水箱(1003)内壁中部对称设置有限位杆(13),两个所述限位杆(13)底端和顶端均设置有不锈钢丝网(14),所述不锈钢丝网(14)底端连接有活性炭过滤网(15),所述活性炭过滤网(15)底端连接有滤网(16),所述水箱(1003)一端和顶端边部均嵌入安装有出水管(17),所述分隔板(2)一端顶部开设有连接孔(18),所述连接孔(18)内壁中部设置有滤布(19),所述引流风扇(1005)的输入端和市电的输出端电性连接。
10.根据权利要求9所述的一种多工位循环作业调理脱水装置,其特征在于:所述出水管(17)一端和沉淀箱(1)之间通过阀门连接,所述蒸汽管(1002)位于水箱(1003)内部。
Priority Applications (1)
| Application Number | Priority Date | Filing Date | Title |
|---|---|---|---|
| CN201911291756.5A CN111001199B (zh) | 2019-12-16 | 2019-12-16 | 一种多工位循环作业调理脱水装置 |
Applications Claiming Priority (1)
| Application Number | Priority Date | Filing Date | Title |
|---|---|---|---|
| CN201911291756.5A CN111001199B (zh) | 2019-12-16 | 2019-12-16 | 一种多工位循环作业调理脱水装置 |
Publications (2)
| Publication Number | Publication Date |
|---|---|
| CN111001199A true CN111001199A (zh) | 2020-04-14 |
| CN111001199B CN111001199B (zh) | 2021-08-13 |
Family
ID=70114037
Family Applications (1)
| Application Number | Title | Priority Date | Filing Date |
|---|---|---|---|
| CN201911291756.5A Active CN111001199B (zh) | 2019-12-16 | 2019-12-16 | 一种多工位循环作业调理脱水装置 |
Country Status (1)
| Country | Link |
|---|---|
| CN (1) | CN111001199B (zh) |
Cited By (3)
| Publication number | Priority date | Publication date | Assignee | Title |
|---|---|---|---|---|
| CN111391490A (zh) * | 2020-04-17 | 2020-07-10 | 明德新材料科技(浙江)股份有限公司 | 一种多工位同步精准定位的水转印设备 |
| CN111498860A (zh) * | 2020-03-30 | 2020-08-07 | 武汉理工大学 | 一种蒙脱石有机凝胶的脱水工艺及设备 |
| CN117363419A (zh) * | 2023-12-04 | 2024-01-09 | 烟台沣源环保设备有限公司 | 大豆油加工用脱水装置 |
Citations (5)
| Publication number | Priority date | Publication date | Assignee | Title |
|---|---|---|---|---|
| US20120031823A1 (en) * | 2008-09-12 | 2012-02-09 | Hamann Ag | Apparatus for the Treatment of Wastewater |
| CN105712585A (zh) * | 2016-04-15 | 2016-06-29 | 中国环境科学研究院 | 腈纶生产中废水处理和资源回收的方法 |
| CN105819022A (zh) * | 2016-05-18 | 2016-08-03 | 浙江江南制药机械有限公司 | 一种用于装盒联动线的一步到位加料器 |
| CN208676091U (zh) * | 2018-01-24 | 2019-04-02 | 广东爱健康生物科技有限公司 | 一种投料均匀的投喂机 |
| CN209696364U (zh) * | 2018-12-18 | 2019-11-29 | 中节能水务工程有限公司 | 一种用于污水处理的二级沉淀池 |
-
2019
- 2019-12-16 CN CN201911291756.5A patent/CN111001199B/zh active Active
Patent Citations (5)
| Publication number | Priority date | Publication date | Assignee | Title |
|---|---|---|---|---|
| US20120031823A1 (en) * | 2008-09-12 | 2012-02-09 | Hamann Ag | Apparatus for the Treatment of Wastewater |
| CN105712585A (zh) * | 2016-04-15 | 2016-06-29 | 中国环境科学研究院 | 腈纶生产中废水处理和资源回收的方法 |
| CN105819022A (zh) * | 2016-05-18 | 2016-08-03 | 浙江江南制药机械有限公司 | 一种用于装盒联动线的一步到位加料器 |
| CN208676091U (zh) * | 2018-01-24 | 2019-04-02 | 广东爱健康生物科技有限公司 | 一种投料均匀的投喂机 |
| CN209696364U (zh) * | 2018-12-18 | 2019-11-29 | 中节能水务工程有限公司 | 一种用于污水处理的二级沉淀池 |
Cited By (5)
| Publication number | Priority date | Publication date | Assignee | Title |
|---|---|---|---|---|
| CN111498860A (zh) * | 2020-03-30 | 2020-08-07 | 武汉理工大学 | 一种蒙脱石有机凝胶的脱水工艺及设备 |
| CN111391490A (zh) * | 2020-04-17 | 2020-07-10 | 明德新材料科技(浙江)股份有限公司 | 一种多工位同步精准定位的水转印设备 |
| CN111391490B (zh) * | 2020-04-17 | 2021-11-05 | 明德新材料科技(浙江)股份有限公司 | 一种多工位同步精准定位的水转印设备 |
| CN117363419A (zh) * | 2023-12-04 | 2024-01-09 | 烟台沣源环保设备有限公司 | 大豆油加工用脱水装置 |
| CN117363419B (zh) * | 2023-12-04 | 2024-02-09 | 烟台沣源环保设备有限公司 | 大豆油加工用脱水装置 |
Also Published As
| Publication number | Publication date |
|---|---|
| CN111001199B (zh) | 2021-08-13 |
Similar Documents
| Publication | Publication Date | Title |
|---|---|---|
| CN111001199B (zh) | 一种多工位循环作业调理脱水装置 | |
| CN107308761A (zh) | 一种便于维护的空气净化装置 | |
| CN110845067A (zh) | 一种具有监测功能的多级净化除污装置及其除污方法 | |
| CN105013244B (zh) | 多级雨水净化处理设备 | |
| CN209702458U (zh) | 一种生活污水净化再利用设备 | |
| CN210736418U (zh) | 一种养猪场污水处理装置 | |
| CN216273698U (zh) | 一种用于给排水工程的污泥处理装置 | |
| CN205500862U (zh) | 一种全自动电化学水处理设备 | |
| CN211338930U (zh) | 一种污水处理沉淀装置 | |
| CN210085174U (zh) | 全自动雨水处理设备间 | |
| CN210215100U (zh) | 一种环保的印染用污水处理装置 | |
| CN215559489U (zh) | 一种市政工程施工的污水处理净化装置 | |
| CN209778554U (zh) | 一种具有除污垢功能的船用污水净水设备 | |
| CN211445390U (zh) | 一种具有监测功能的多级净化除污装置 | |
| CN107982972A (zh) | 一种污水处理格栅装置 | |
| CN213327195U (zh) | 一种集纳米氧化与环流沉淀于一体的污水处理装置 | |
| CN211774478U (zh) | 一种具有杂物清理功能的一体化预制泵站 | |
| CN209797665U (zh) | 一种环保型生活用水处理装置 | |
| CN208964704U (zh) | 一种黑臭水体治理用垃圾分离装置 | |
| CN212984032U (zh) | 一种给排水清淤设备 | |
| CN218955496U (zh) | 一种节能环保型环式冷却机 | |
| CN207957954U (zh) | 一种环保的矿石清洗污水过滤处理设备 | |
| CN112569692A (zh) | 一种具有泥水分离功能的家用污水处理器 | |
| CN222965213U (zh) | 一种组合式废水检测设备 | |
| CN210287107U (zh) | 一种用于固废污泥无害减量化的净化装置 |
Legal Events
| Date | Code | Title | Description |
|---|---|---|---|
| PB01 | Publication | ||
| PB01 | Publication | ||
| SE01 | Entry into force of request for substantive examination | ||
| SE01 | Entry into force of request for substantive examination | ||
| GR01 | Patent grant | ||
| GR01 | Patent grant |