CN110802661A - A device for cutting sliced pearl cotton - Google Patents
A device for cutting sliced pearl cotton Download PDFInfo
- Publication number
- CN110802661A CN110802661A CN201911248288.3A CN201911248288A CN110802661A CN 110802661 A CN110802661 A CN 110802661A CN 201911248288 A CN201911248288 A CN 201911248288A CN 110802661 A CN110802661 A CN 110802661A
- Authority
- CN
- China
- Prior art keywords
- plate
- cutting
- pearl cotton
- wall
- support
- Prior art date
- Legal status (The legal status is an assumption and is not a legal conclusion. Google has not performed a legal analysis and makes no representation as to the accuracy of the status listed.)
- Pending
Links
- 229920000742 Cotton Polymers 0.000 title claims abstract description 43
- 239000000463 material Substances 0.000 claims abstract description 20
- 230000005540 biological transmission Effects 0.000 claims description 25
- 238000012545 processing Methods 0.000 abstract description 3
- 238000010586 diagram Methods 0.000 description 2
- 239000005022 packaging material Substances 0.000 description 2
- 238000004806 packaging method and process Methods 0.000 description 2
- 239000004698 Polyethylene Substances 0.000 description 1
- 230000009286 beneficial effect Effects 0.000 description 1
- 239000000919 ceramic Substances 0.000 description 1
- 230000007812 deficiency Effects 0.000 description 1
- 229910003460 diamond Inorganic materials 0.000 description 1
- 239000010432 diamond Substances 0.000 description 1
- 230000007613 environmental effect Effects 0.000 description 1
- 239000006260 foam Substances 0.000 description 1
- 229920001821 foam rubber Polymers 0.000 description 1
- 238000005187 foaming Methods 0.000 description 1
- 239000011521 glass Substances 0.000 description 1
- 238000009413 insulation Methods 0.000 description 1
- 229920001684 low density polyethylene Polymers 0.000 description 1
- 239000004702 low-density polyethylene Substances 0.000 description 1
- 238000005259 measurement Methods 0.000 description 1
- 238000000034 method Methods 0.000 description 1
- 238000012986 modification Methods 0.000 description 1
- 230000004048 modification Effects 0.000 description 1
- -1 polyethylene Polymers 0.000 description 1
- 229920000573 polyethylene Polymers 0.000 description 1
- 238000004321 preservation Methods 0.000 description 1
- 238000011084 recovery Methods 0.000 description 1
- 238000004064 recycling Methods 0.000 description 1
- 239000011347 resin Substances 0.000 description 1
- 229920005989 resin Polymers 0.000 description 1
- 238000005507 spraying Methods 0.000 description 1
- 239000000126 substance Substances 0.000 description 1
- 238000012360 testing method Methods 0.000 description 1
Images
Classifications
-
- B—PERFORMING OPERATIONS; TRANSPORTING
- B26—HAND CUTTING TOOLS; CUTTING; SEVERING
- B26D—CUTTING; DETAILS COMMON TO MACHINES FOR PERFORATING, PUNCHING, CUTTING-OUT, STAMPING-OUT OR SEVERING
- B26D1/00—Cutting through work characterised by the nature or movement of the cutting member or particular materials not otherwise provided for; Apparatus or machines therefor; Cutting members therefor
- B26D1/01—Cutting through work characterised by the nature or movement of the cutting member or particular materials not otherwise provided for; Apparatus or machines therefor; Cutting members therefor involving a cutting member which does not travel with the work
- B26D1/547—Cutting through work characterised by the nature or movement of the cutting member or particular materials not otherwise provided for; Apparatus or machines therefor; Cutting members therefor involving a cutting member which does not travel with the work having a wire-like cutting member
- B26D1/553—Cutting through work characterised by the nature or movement of the cutting member or particular materials not otherwise provided for; Apparatus or machines therefor; Cutting members therefor involving a cutting member which does not travel with the work having a wire-like cutting member with a plurality of wire-like cutting members
-
- B—PERFORMING OPERATIONS; TRANSPORTING
- B26—HAND CUTTING TOOLS; CUTTING; SEVERING
- B26D—CUTTING; DETAILS COMMON TO MACHINES FOR PERFORATING, PUNCHING, CUTTING-OUT, STAMPING-OUT OR SEVERING
- B26D7/00—Details of apparatus for cutting, cutting-out, stamping-out, punching, perforating, or severing by means other than cutting
- B26D7/01—Means for holding or positioning work
- B26D7/02—Means for holding or positioning work with clamping means
- B26D7/025—Means for holding or positioning work with clamping means acting upon planar surfaces
-
- B—PERFORMING OPERATIONS; TRANSPORTING
- B26—HAND CUTTING TOOLS; CUTTING; SEVERING
- B26D—CUTTING; DETAILS COMMON TO MACHINES FOR PERFORATING, PUNCHING, CUTTING-OUT, STAMPING-OUT OR SEVERING
- B26D7/00—Details of apparatus for cutting, cutting-out, stamping-out, punching, perforating, or severing by means other than cutting
- B26D7/08—Means for treating work or cutting member to facilitate cutting
- B26D7/14—Means for treating work or cutting member to facilitate cutting by tensioning the work
-
- B—PERFORMING OPERATIONS; TRANSPORTING
- B26—HAND CUTTING TOOLS; CUTTING; SEVERING
- B26D—CUTTING; DETAILS COMMON TO MACHINES FOR PERFORATING, PUNCHING, CUTTING-OUT, STAMPING-OUT OR SEVERING
- B26D7/00—Details of apparatus for cutting, cutting-out, stamping-out, punching, perforating, or severing by means other than cutting
- B26D7/26—Means for mounting or adjusting the cutting member; Means for adjusting the stroke of the cutting member
- B26D7/2628—Means for adjusting the position of the cutting member
Landscapes
- Life Sciences & Earth Sciences (AREA)
- Forests & Forestry (AREA)
- Engineering & Computer Science (AREA)
- Mechanical Engineering (AREA)
- Nonmetal Cutting Devices (AREA)
Abstract
本发明涉及珍珠棉加工技术领域,且公开了一种裁切片式珍珠棉的设备。该裁切片式珍珠棉的设备,包括切割主机架、送料机构、接料机构,所述切割主机架的左侧安装有送料机构,所述切割主机架的右侧安装有接料机构,所述切割主机架包括底板,所述底板顶部外壁的左右两端均固定安装有侧板。该裁切片式珍珠棉的设备,通过切割传送带、滑块、横切线的设置,使切割传送带带动横切线左右移动,对珍珠棉进行横向切割,通过传动杆、驱动电机、传动机构、传动连接杆的设置,驱动电机带动竖切线上下移动,对珍珠棉进行竖向切割。正、反转动第二摇臂可带动调节板左右移动,便于根据珍珠棉的大小进行调节。
The invention relates to the technical field of pearl cotton processing, and discloses a device for cutting sheet-type pearl cotton. The equipment for cutting sheet-type pearl cotton includes a cutting main frame, a feeding mechanism, and a material receiving mechanism. A feeding mechanism is installed on the left side of the cutting main frame, and a material receiving mechanism is installed on the right side of the cutting main frame. The cutting main frame includes a bottom plate, and side plates are fixedly installed at the left and right ends of the outer wall of the top of the bottom plate. The equipment for cutting sliced pearl cotton, through the setting of the cutting conveyor belt, the slider and the cross-cutting line, makes the cutting conveyor belt drive the cross-cutting line to move left and right, and cuts the pearl cotton horizontally. The setting, the drive motor drives the vertical cutting line to move up and down, and the pearl cotton is cut vertically. Forward and reverse rotation of the second rocker arm can drive the adjustment plate to move left and right, which is convenient for adjustment according to the size of the pearl cotton.
Description
技术领域technical field
本发明涉及珍珠棉加工技术领域,具体为一种裁切片式珍珠棉的设备。The invention relates to the technical field of pearl cotton processing, in particular to a device for cutting sheet-type pearl cotton.
背景技术Background technique
珍珠棉,即聚乙烯发泡棉,是非交联闭孔结构,且是一种新型环保的包装材料。它由低密度聚乙烯脂经物理发泡产生无数的独立气泡构成。克服了普通发泡胶易碎、变形、恢复性差的缺点。具有隔水防潮、防震、隔音、保温、可塑性能佳、韧性强、循环再造、环保、抗撞力强等诸多优点,亦具有很好的抗化学性能。是传统包装材料的理想代替品。广泛应用于汽车坐垫、抱枕、电子电器、仪器仪表、电脑、音响、医疗器械、工控机箱、五金灯饰、工艺品、玻璃、陶瓷、家电、喷涂、家俱家私等多种产品的包装,以及快递包装。EPE, namely polyethylene foam cotton, is a non-crosslinked closed-cell structure, and is a new type of environmentally friendly packaging material. It is composed of numerous independent bubbles produced by physical foaming of low-density polyethylene resin. It overcomes the shortcomings of ordinary foam rubber that is fragile, deformed, and has poor recovery. It has many advantages such as waterproof and moistureproof, shockproof, sound insulation, heat preservation, good plasticity, strong toughness, recycling, environmental protection, strong impact resistance, etc. It also has good chemical resistance. It is an ideal substitute for traditional packaging materials. Widely used in the packaging of automobile cushions, pillows, electronic appliances, instruments, computers, audio, medical equipment, industrial control chassis, hardware lighting, handicrafts, glass, ceramics, home appliances, spraying, furniture and other products, as well as express packaging .
珍珠棉加工时,需要对珍珠棉进行裁切,但是在现有技术中,对珍珠棉的裁切通常是人工手动进行测量裁切,手工裁切比较耗费人力,且效率较低。因此,我们提出一种裁切片式珍珠棉的设备。When processing the pearl cotton, it is necessary to cut the pearl cotton, but in the prior art, the cutting of the pearl cotton is usually measured and cut manually, which is labor-intensive and inefficient. Therefore, we propose a device for cutting sliced EPE.
发明内容SUMMARY OF THE INVENTION
针对现有技术的不足,本发明提供了一种裁切片式珍珠棉的设备,具备自动裁切、效率高等优点,解决了目前对珍珠棉的裁切通常是人工手动进行测量裁切。耗费人力且效率较低的问题。Aiming at the deficiencies of the prior art, the present invention provides a device for cutting sheet-type pearl cotton, which has the advantages of automatic cutting and high efficiency, and solves the problem that the current cutting of pearl cotton is usually manual measurement and cutting. A labor-intensive and inefficient problem.
本发明解决其技术问题所采用的技术方案是:一种裁切片式珍珠棉的设备,包括切割主机架、送料机构、接料机构,所述切割主机架的左侧安装有送料机构,所述切割主机架的右侧安装有接料机构。The technical solution adopted by the present invention to solve the technical problem is as follows: a device for cutting sheet-type pearl cotton, including a cutting main frame, a feeding mechanism, and a material receiving mechanism, and a feeding mechanism is installed on the left side of the cutting main frame. A material receiving mechanism is installed on the right side of the cutting main frame.
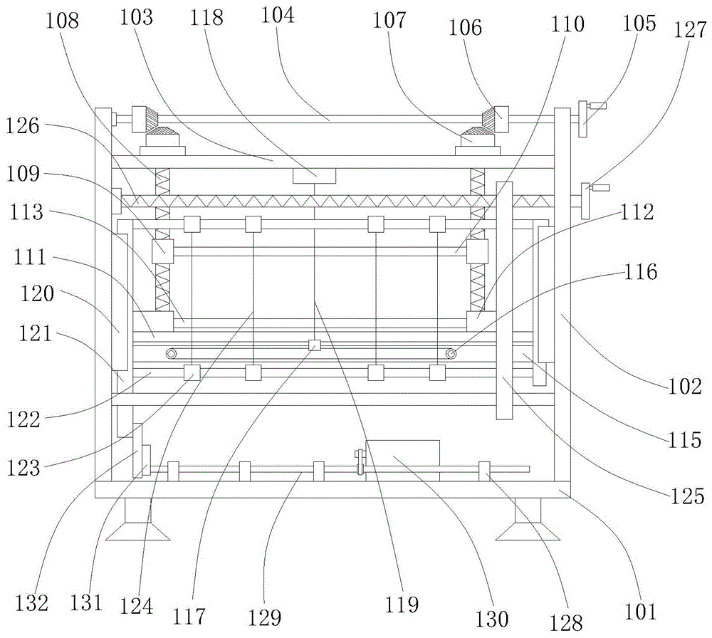
所述切割主机架包括底板,所述底板顶部外壁的左右两端均固定安装有侧板,所述侧板之间且位于底板的正上方固定安装有顶板,所述顶板的上方活动安装有转动轴,所述转动轴的外壁上固定安装有两个上锥齿轮,每个上锥齿轮的下方均活动安装有下锥齿轮,每个下锥齿轮的底端均固定连接有竖丝杠,每个竖丝杠的外壁上均啮合连接有螺纹块,所述螺纹块之间活动安装有上输送滚筒,所述竖丝杠的下方固定安装有支撑板,所述支撑板的顶部外壁上固定安装有两个底座,所述底座之间活动安装有下输送滚筒,所述支撑板背部一侧的外壁上固定安装有输送电机,所述支撑板的下方固定安装有连接板,所述连接板正面外壁上设置有切割传送带,所述切割传送带上安装有连接块,所述顶板的底部外壁上活动安装有滑块,所述滑块和连接块之间固定安装有横切线,两个侧板内侧外壁上均固定安装有侧滑轨,每个侧滑轨的内部均活动连接有滑板,两个滑板之间固定安装有两个支撑杆,每个支撑杆的外壁上均活动安装有若干个切线块,上下对应的切线块之间固定连接有竖切线,切线块的右侧活动安装有调节板,所述支撑杆的上方活动安装有横丝杠,所述横丝杠的右端固定连接有第二摇臂,所述底板的顶部外壁上固定安装有若干个支撑块,所述支撑块的内部活动安装有传动杆,所述传动杆背部的一侧安装有驱动电机,所述传动杆的左端传动连接有传动机构,所述传动机构左侧连接有传动连接杆。The cutting main frame includes a bottom plate, side plates are fixedly installed at the left and right ends of the outer wall of the top of the bottom plate, a top plate is fixedly installed between the side plates and located directly above the bottom plate, and a rotating plate is movably installed above the top plate. shaft, two upper bevel gears are fixedly installed on the outer wall of the rotating shaft, a lower bevel gear is movably installed below each upper bevel gear, and a vertical screw is fixedly connected to the bottom end of each lower bevel gear. The outer walls of each vertical screw are engaged and connected with threaded blocks, an upper conveying roller is movably installed between the threaded blocks, a support plate is fixedly installed below the vertical screw, and the top outer wall of the support plate is fixedly installed There are two bases, a lower conveying roller is movably installed between the bases, a conveying motor is fixedly installed on the outer wall of the back side of the support plate, a connecting plate is fixedly installed under the support plate, and the front side of the connecting plate is fixed A cutting conveyor belt is arranged on the outer wall, a connecting block is installed on the cutting conveyor belt, a sliding block is movably installed on the bottom outer wall of the top plate, and a transverse line is fixedly installed between the sliding block and the connecting block. Side slide rails are fixedly installed on the outer wall, each side slide rail is movably connected with a slide plate, two support rods are fixedly installed between the two slide boards, and a number of tangent lines are movably installed on the outer wall of each support rod. A vertical tangent is fixedly connected between the upper and lower corresponding tangent blocks, an adjustment plate is movably installed on the right side of the tangent block, a horizontal screw is movably installed above the support rod, and the right end of the horizontal screw is fixedly connected with a first Two rocker arms, a number of support blocks are fixedly installed on the top outer wall of the bottom plate, a transmission rod is movably installed inside the support block, a drive motor is installed on one side of the back of the transmission rod, and the left end of the transmission rod is installed The transmission is connected with a transmission mechanism, and the left side of the transmission mechanism is connected with a transmission connecting rod.
所述送料机构包括送料支架,所述送料支架上设置有送料传送带。The feeding mechanism includes a feeding bracket, and a feeding conveyor belt is arranged on the feeding bracket.
所述接料机构包括接料支架,所述接料支架上设置有接料传送带。The material receiving mechanism includes a material receiving support, and a material receiving conveyor belt is arranged on the material receiving support.
进一步的,所述转动轴贯穿右侧的侧板并与其活动连接,所述转动轴的右端固定连接有第一摇臂,所述转动轴的左端设置有轴承。Further, the rotating shaft penetrates through and is movably connected to the side plate on the right side, the right end of the rotating shaft is fixedly connected with a first rocker arm, and the left end of the rotating shaft is provided with a bearing.
进一步的,所述顶板的顶部外壁上设置有两个轴承,下锥齿轮与轴承活动连接,且每个下锥齿轮均与对应的上锥齿轮啮合连接。Further, two bearings are provided on the top outer wall of the top plate, the lower bevel gear is movably connected with the bearings, and each lower bevel gear is meshed with the corresponding upper bevel gear.
进一步的,所述底座与竖丝杠远离下锥齿轮的一端活动连接,所述输送电机通过皮带与下输送滚筒传动连接。Further, the base is movably connected to one end of the vertical screw away from the lower bevel gear, and the conveying motor is connected to the lower conveying roller through a belt drive.
进一步的,所述螺纹块背部一侧的外壁上设置有电机,电机通过皮带与上输送滚筒传动连接,且该电机的转动方向与输送电机相反。Further, a motor is provided on the outer wall of the back side of the threaded block, the motor is connected with the upper conveying roller through a belt, and the rotation direction of the motor is opposite to that of the conveying motor.
进一步的,所述顶板的底部外壁上设置有滑槽,滑块与滑槽活动连接。Further, the bottom outer wall of the top plate is provided with a chute, and the slider is movably connected with the chute.
进一步的,所述支撑杆贯穿调节板并与其活动连接,所述横丝杠贯穿调节板并与其啮合连接。Further, the support rod penetrates through the adjustment plate and is movably connected with it, and the horizontal screw penetrates through the adjustment plate and is engaged with it.
进一步的,所述驱动电机通过皮带与传动杆传动连接,所述传动连接杆与滑板固定连接。Further, the drive motor is connected to the transmission rod through a belt, and the transmission connection rod is fixedly connected to the slide plate.
本发明的有益效果是:The beneficial effects of the present invention are:
1、该裁切片式珍珠棉的设备,通过切割传送带、滑块、横切线的设置,使切割传送带带动横切线左右移动,对珍珠棉进行横向切割,通过传动杆、驱动电机、传动机构、传动连接杆的设置,驱动电机带动竖切线上下移动,对珍珠棉进行竖向切割。正、反转动第二摇臂可带动调节板左右移动,便于根据珍珠棉的大小进行调节,从而自动对珍珠棉进行切割,减少了人工的使用,提高了工作效率。1. The equipment for cutting piece-type pearl cotton, through the setting of the cutting conveyor belt, the slider and the cross-cutting line, makes the cutting conveyor belt drive the cross-cutting line to move left and right, and cuts the pearl cotton horizontally. The setting of the connecting rod, the drive motor drives the vertical cutting line to move up and down, and the pearl cotton is cut vertically. The positive and negative rotation of the second rocker arm can drive the adjustment plate to move left and right, which is convenient to adjust according to the size of the pearl cotton, thereby automatically cutting the pearl cotton, reducing manual use and improving work efficiency.
2、该裁切片式珍珠棉的设备,顺时针转动第一摇臂,通过上锥齿轮和下锥齿轮的设置,可带动竖丝杠转动,使螺纹块向下移动,从而带动上输送滚筒向下移动,使上、下滚筒夹紧珍珠棉,在电机的带动下,上、下滚筒滚动带动珍珠棉紧绷着移动,从而使珍珠棉便于切割,提高了实用性。2. The equipment for cutting sheet-type pearl cotton rotates the first rocker arm clockwise, and through the setting of the upper bevel gear and the lower bevel gear, the vertical screw can be driven to rotate, so that the threaded block moves down, thereby driving the upper conveying roller to the Moving down, the upper and lower rollers clamp the pearl cotton, and driven by the motor, the upper and lower rollers roll to drive the pearl cotton to move tautly, so that the pearl cotton is easy to cut and the practicability is improved.
附图说明Description of drawings
为了更清楚地说明本发明实施例或现有技术中的技术方案,下面将对实施例描述中或现有技术中所需要使用的附图作简单地介绍。In order to illustrate the embodiments of the present invention or the technical solutions in the prior art more clearly, the following briefly introduces the accompanying drawings that need to be used in the description of the embodiments or in the prior art.
图1为本发明结构示意图;Fig. 1 is the structural representation of the present invention;
图2为本发明切割机主体的左侧视图;2 is a left side view of the main body of the cutting machine of the present invention;
图3为本发明支撑板处的右测试图;Fig. 3 is the right test diagram at the support plate of the present invention;
图4为本发明的整体结构示意图。FIG. 4 is a schematic diagram of the overall structure of the present invention.
附图标记说明:1切割主机架、101底板、102侧板、103顶板、104转动轴、105第一摇臂、106上锥齿轮、107下锥齿轮、108竖丝杠、109螺纹块、110上输送滚筒、111支撑板、112底座、113下输送滚筒、114输送电机、115连接板、116切割传送带、117连接块、118滑块、119横切线、120侧滑轨、121滑板、122支撑杆、123切线块、124竖切线、125调节板、126横丝杠、127第二摇臂、128支撑块、129传动杆、130驱动电机、131传动机构、132传动连接杆、2送料机构、201送料支架、202送料传送带、3接料机构、301接料支架、302接料传送带。Reference numeral description: 1 cutting main frame, 101 bottom plate, 102 side plate, 103 top plate, 104 rotating shaft, 105 first rocker arm, 106 upper bevel gear, 107 lower bevel gear, 108 vertical screw, 109 threaded block, 110 Upper conveying roller, 111 supporting plate, 112 base, 113 lower conveying roller, 114 conveying motor, 115 connecting plate, 116 cutting conveyor belt, 117 connecting block, 118 sliding block, 119 cross-cutting line, 120 side rail, 121 sliding plate, 122 supporting Rod, 123 tangent block, 124 vertical tangent, 125 adjustment plate, 126 horizontal screw, 127 second rocker arm, 128 support block, 129 transmission rod, 130 drive motor, 131 transmission mechanism, 132 transmission connecting rod, 2 feeding mechanism, 201 feeding bracket, 202 feeding conveyor belt, 3 feeding mechanism, 301 feeding bracket, 302 feeding conveyor belt.
具体实施方式Detailed ways
下面将结合本发明实施例中的附图,对本发明实施例中的技术方案进行清楚、完整地描述。The technical solutions in the embodiments of the present invention will be clearly and completely described below with reference to the accompanying drawings in the embodiments of the present invention.
请参阅图1-4,一种裁切片式珍珠棉的设备,包括切割主机架1、送料机构2、接料机构3,切割主机架1的左侧安装有送料机构2,切割主机架1的右侧安装有接料机构3。Please refer to Figure 1-4, a device for cutting sliced pearl cotton, including a cutting main frame 1, a
切割主机架1包括底板101,底板101顶部外壁的左右两端均固定安装有侧板102,侧板102之间且位于底板101的正上方固定安装有顶板103,顶板103的上方活动安装有转动轴104,转动轴104贯穿右侧的侧板102并与其活动连接,转动轴104的右端固定连接有第一摇臂105,转动轴104的左端设置有轴承,转动轴104的外壁上固定安装有两个上锥齿轮106,每个上锥齿轮106的下方均活动安装有下锥齿轮107,顶板103的顶部外壁上设置有两个轴承,下锥齿轮107与轴承活动连接,且每个下锥齿轮107均与对应的上锥齿轮106啮合连接,每个下锥齿轮107的底端均固定连接有竖丝杠108,每个竖丝杠108的外壁上均啮合连接有螺纹块109,螺纹块109之间活动安装有上输送滚筒110,竖丝杠108的下方固定安装有支撑板111,支撑板111的顶部外壁上固定安装有两个底座112,底座112之间活动安装有下输送滚筒113,支撑板111背部一侧的外壁上固定安装有输送电机114,底座112与竖丝杠108远离下锥齿轮107的一端活动连接,输送电机114通过皮带与下输送滚筒113传动连接,螺纹块109背部一侧的外壁上设置有电机,电机通过皮带与上输送滚筒110传动连接,且该电机的转动方向与输送电机114相反,支撑板111的下方固定安装有连接板115,连接板115正面外壁上设置有切割传送带116,切割传送带116上安装有连接块117,顶板103的底部外壁上活动安装有滑块118,顶板103的底部外壁上设置有滑槽,滑块118与滑槽活动连接,滑块118和连接块117之间固定安装有横切线119,两个侧板102内侧外壁上均固定安装有侧滑轨120,每个侧滑轨120的内部均活动连接有滑板121,两个滑板121之间固定安装有两个支撑杆122,每个支撑杆122的外壁上均活动安装有若干个切线块123,上下对应的切线块123之间固定连接有竖切线124,切线块123的右侧活动安装有调节板125,支撑杆122的上方活动安装有横丝杠126,支撑杆122贯穿调节板125并与其活动连接,横丝杠126贯穿调节板125并与其啮合连接,横丝杠126的右端固定连接有第二摇臂127,底板101的顶部外壁上固定安装有若干个支撑块128,支撑块128的内部活动安装有传动杆129,传动杆129背部的一侧安装有驱动电机130,传动杆129的左端传动连接有传动机构131,传动机构131左侧连接有传动连接杆132,驱动电机130通过皮带与传动杆129传动连接,传动连接杆132与滑板121固定连接。横切线119和竖切线124均为金刚石切割线。The cutting main frame 1 includes a bottom plate 101.
送料机构2包括送料支架201,送料支架201上设置有送料传送带202。The
接料机构3包括接料支架301,接料支架301上设置有接料传送带302。The
在使用时,顺时针转动第一摇臂105,通过上锥齿轮106和下锥齿轮107的设置,可带动竖丝杠108转动,使螺纹块109向下移动,从而带动上输送滚筒110向下移动,使上、下滚筒夹紧珍珠棉,在电机的带动下,上、下滚筒滚动带动珍珠棉紧绷着移动,从而使珍珠棉便于切割。珍珠棉有送料传送带202送至上输送滚筒110和下输送滚筒113之间,切割后的珍珠棉落在料传送带302上。切割传送带116带动横切线119左右移动,对珍珠棉进行横向切割,驱动电机130带动竖切线124上下移动,对珍珠棉进行竖向切割。正、反转动第二摇臂127可带动调节板125左右移动,从而便于根据珍珠棉的大小进行调节。When in use, the first rocker arm 105 is rotated clockwise, through the setting of the upper bevel gear 106 and the lower bevel gear 107, the vertical screw 108 can be driven to rotate, so that the threaded block 109 moves downward, thereby driving the upper conveying roller 110 downward Move, so that the upper and lower rollers clamp the pearl cotton. Driven by the motor, the upper and lower rollers roll to drive the pearl cotton to move tightly, so that the pearl cotton is easy to cut. The pearl cotton is sent between the upper conveying roller 110 and the lower conveying
对所公开的实施例的上述说明,使本领域专业技术人员能够实现或使用本发明。对这些实施例的多种修改对本领域的专业技术人员来说将是显而易见的,本文中所定义的一般原理可以在不脱离本发明的精神或范围的情况下,在其它实施例中实现。因此,本发明将不会被限制于本文所示的这些实施例,而是要符合与本文所公开的原理和新颖特点相一致的最宽的范围。The above description of the disclosed embodiments enables any person skilled in the art to make or use the present invention. Various modifications to these embodiments will be readily apparent to those skilled in the art, and the generic principles defined herein may be implemented in other embodiments without departing from the spirit or scope of the invention. Thus, the present invention is not intended to be limited to the embodiments shown herein, but is to be accorded the widest scope consistent with the principles and novel features disclosed herein.
Claims (8)
Priority Applications (1)
| Application Number | Priority Date | Filing Date | Title |
|---|---|---|---|
| CN201911248288.3A CN110802661A (en) | 2019-12-09 | 2019-12-09 | A device for cutting sliced pearl cotton |
Applications Claiming Priority (1)
| Application Number | Priority Date | Filing Date | Title |
|---|---|---|---|
| CN201911248288.3A CN110802661A (en) | 2019-12-09 | 2019-12-09 | A device for cutting sliced pearl cotton |
Publications (1)
| Publication Number | Publication Date |
|---|---|
| CN110802661A true CN110802661A (en) | 2020-02-18 |
Family
ID=69492750
Family Applications (1)
| Application Number | Title | Priority Date | Filing Date |
|---|---|---|---|
| CN201911248288.3A Pending CN110802661A (en) | 2019-12-09 | 2019-12-09 | A device for cutting sliced pearl cotton |
Country Status (1)
| Country | Link |
|---|---|
| CN (1) | CN110802661A (en) |
Cited By (3)
| Publication number | Priority date | Publication date | Assignee | Title |
|---|---|---|---|---|
| CN111546387A (en) * | 2020-06-30 | 2020-08-18 | 张�浩 | Anti-static pearl wool roll forming, conveying and slitting process |
| CN113368780A (en) * | 2021-06-29 | 2021-09-10 | 安徽方信立华环保科技有限公司 | Denitrification agent wet blank rotary cutter |
| CN113427559A (en) * | 2021-07-02 | 2021-09-24 | 西安交通大学医学院第二附属医院 | Nano fetuin test paper for monitoring diabetic retinopathy and preparation process thereof |
Citations (5)
| Publication number | Priority date | Publication date | Assignee | Title |
|---|---|---|---|---|
| DE202006013561U1 (en) * | 2006-09-01 | 2008-01-17 | Siller, Rudi | Gate cutting machine for food such as bread in particular |
| CN203245915U (en) * | 2013-05-04 | 2013-10-23 | 东莞市贸隆机械制造有限公司 | A pearl cotton cutting device |
| CN204640287U (en) * | 2015-04-29 | 2015-09-16 | 广州复雅机械设备有限公司 | Slicer |
| CN106042039A (en) * | 2016-07-25 | 2016-10-26 | 潜山共同创网络科技有限公司 | Automatic foam cutter |
| CN211250205U (en) * | 2019-12-09 | 2020-08-14 | 昆山吉士源自动化设备有限公司 | Cotton equipment of piece formula pearl cuts |
-
2019
- 2019-12-09 CN CN201911248288.3A patent/CN110802661A/en active Pending
Patent Citations (5)
| Publication number | Priority date | Publication date | Assignee | Title |
|---|---|---|---|---|
| DE202006013561U1 (en) * | 2006-09-01 | 2008-01-17 | Siller, Rudi | Gate cutting machine for food such as bread in particular |
| CN203245915U (en) * | 2013-05-04 | 2013-10-23 | 东莞市贸隆机械制造有限公司 | A pearl cotton cutting device |
| CN204640287U (en) * | 2015-04-29 | 2015-09-16 | 广州复雅机械设备有限公司 | Slicer |
| CN106042039A (en) * | 2016-07-25 | 2016-10-26 | 潜山共同创网络科技有限公司 | Automatic foam cutter |
| CN211250205U (en) * | 2019-12-09 | 2020-08-14 | 昆山吉士源自动化设备有限公司 | Cotton equipment of piece formula pearl cuts |
Cited By (5)
| Publication number | Priority date | Publication date | Assignee | Title |
|---|---|---|---|---|
| CN111546387A (en) * | 2020-06-30 | 2020-08-18 | 张�浩 | Anti-static pearl wool roll forming, conveying and slitting process |
| CN111546387B (en) * | 2020-06-30 | 2021-11-26 | 陕西双夏包装材料有限公司 | Anti-static pearl wool roll forming, conveying and slitting process |
| CN113368780A (en) * | 2021-06-29 | 2021-09-10 | 安徽方信立华环保科技有限公司 | Denitrification agent wet blank rotary cutter |
| CN113427559A (en) * | 2021-07-02 | 2021-09-24 | 西安交通大学医学院第二附属医院 | Nano fetuin test paper for monitoring diabetic retinopathy and preparation process thereof |
| CN113427559B (en) * | 2021-07-02 | 2023-03-10 | 西安交通大学医学院第二附属医院 | A nano-fetuin test paper for monitoring diabetic retinopathy and its manufacturing process |
Similar Documents
| Publication | Publication Date | Title |
|---|---|---|
| CN110802661A (en) | A device for cutting sliced pearl cotton | |
| CN210231699U (en) | Stainless steel tubular product cutting equipment | |
| CN211250205U (en) | Cotton equipment of piece formula pearl cuts | |
| CN210705060U (en) | Polyurethane foam board cutting machine | |
| CN204249195U (en) | Novel sponge production and processing device | |
| CN211362607U (en) | Transmission device of plate cutting saw | |
| CN218614292U (en) | Cutting device is used in processing of plumbing tubular product | |
| CN108381612B (en) | Bidirectional automatic sliding cutting device | |
| CN207534051U (en) | Form panel tiltedly cuts equipment | |
| CN217343643U (en) | Mute punching equipment for hardware | |
| CN206678009U (en) | A kind of new slot-cutting machine | |
| CN206568261U (en) | A kind of sheet cutting machine for being applicable to various thicknesss of slab | |
| CN213352588U (en) | Foamed plastic board cutting device is used in foamed plastic production | |
| CN111136697B (en) | Plastic tubing intercepting and transportation integration mechanism thereof | |
| CN210704983U (en) | A kind of environmental protection material pearl cotton cutting device | |
| CN201109752Y (en) | Front induction glass cutting machine | |
| CN220945470U (en) | Cutting equipment for processing pearl cotton | |
| CN213005434U (en) | Cotton packing material's of pearl cutting device | |
| CN219562591U (en) | Cutting device | |
| CN220548374U (en) | Positioning mechanism of EPE plate horizontal and vertical dividing and cutting machine | |
| CN222589912U (en) | Cutting device is used in production of bubble cotton goods | |
| CN218195507U (en) | Cutting device for pearl wool foaming machine | |
| CN222628395U (en) | Foaming device for yoga mat processing | |
| CN223606745U (en) | Conveying equipment for PET (polyethylene terephthalate) plastic-absorbing sheet production | |
| CN221717199U (en) | A circular knife machine for processing silicone foam |
Legal Events
| Date | Code | Title | Description |
|---|---|---|---|
| PB01 | Publication | ||
| PB01 | Publication | ||
| SE01 | Entry into force of request for substantive examination | ||
| SE01 | Entry into force of request for substantive examination | ||
| WD01 | Invention patent application deemed withdrawn after publication | ||
| WD01 | Invention patent application deemed withdrawn after publication |
Application publication date: 20200218 |
