CN110657540A - A fresh air purification device - Google Patents
A fresh air purification device Download PDFInfo
- Publication number
- CN110657540A CN110657540A CN201810713532.8A CN201810713532A CN110657540A CN 110657540 A CN110657540 A CN 110657540A CN 201810713532 A CN201810713532 A CN 201810713532A CN 110657540 A CN110657540 A CN 110657540A
- Authority
- CN
- China
- Prior art keywords
- fresh air
- rotating shaft
- filter screen
- shaft
- primary filter
- Prior art date
- Legal status (The legal status is an assumption and is not a legal conclusion. Google has not performed a legal analysis and makes no representation as to the accuracy of the status listed.)
- Granted
Links
- 238000004887 air purification Methods 0.000 title claims abstract description 19
- 239000000428 dust Substances 0.000 claims abstract description 50
- 238000004140 cleaning Methods 0.000 claims description 22
- 230000007246 mechanism Effects 0.000 claims description 12
- 230000001133 acceleration Effects 0.000 claims description 3
- 230000008676 import Effects 0.000 claims 2
- 230000000694 effects Effects 0.000 abstract description 9
- 238000001914 filtration Methods 0.000 abstract description 7
- 238000000746 purification Methods 0.000 abstract description 5
- 238000010586 diagram Methods 0.000 description 4
- 238000009434 installation Methods 0.000 description 4
- 230000009290 primary effect Effects 0.000 description 3
- 239000012717 electrostatic precipitator Substances 0.000 description 2
- 239000012535 impurity Substances 0.000 description 2
- 230000009467 reduction Effects 0.000 description 2
- 230000009471 action Effects 0.000 description 1
- 239000003344 environmental pollutant Substances 0.000 description 1
- 230000003203 everyday effect Effects 0.000 description 1
- 230000036541 health Effects 0.000 description 1
- 238000004519 manufacturing process Methods 0.000 description 1
- 238000000034 method Methods 0.000 description 1
- 239000002245 particle Substances 0.000 description 1
- 231100000719 pollutant Toxicity 0.000 description 1
- 230000007704 transition Effects 0.000 description 1
Images
Classifications
-
- F—MECHANICAL ENGINEERING; LIGHTING; HEATING; WEAPONS; BLASTING
- F24—HEATING; RANGES; VENTILATING
- F24F—AIR-CONDITIONING; AIR-HUMIDIFICATION; VENTILATION; USE OF AIR CURRENTS FOR SCREENING
- F24F7/00—Ventilation
- F24F7/007—Ventilation with forced flow
-
- B—PERFORMING OPERATIONS; TRANSPORTING
- B01—PHYSICAL OR CHEMICAL PROCESSES OR APPARATUS IN GENERAL
- B01D—SEPARATION
- B01D46/00—Filters or filtering processes specially modified for separating dispersed particles from gases or vapours
- B01D46/10—Particle separators, e.g. dust precipitators, using filter plates, sheets or pads having plane surfaces
-
- B—PERFORMING OPERATIONS; TRANSPORTING
- B01—PHYSICAL OR CHEMICAL PROCESSES OR APPARATUS IN GENERAL
- B01D—SEPARATION
- B01D46/00—Filters or filtering processes specially modified for separating dispersed particles from gases or vapours
- B01D46/18—Particle separators, e.g. dust precipitators, using filtering belts
- B01D46/20—Particle separators, e.g. dust precipitators, using filtering belts the belts combined with drums
-
- B—PERFORMING OPERATIONS; TRANSPORTING
- B01—PHYSICAL OR CHEMICAL PROCESSES OR APPARATUS IN GENERAL
- B01D—SEPARATION
- B01D46/00—Filters or filtering processes specially modified for separating dispersed particles from gases or vapours
- B01D46/66—Regeneration of the filtering material or filter elements inside the filter
- B01D46/68—Regeneration of the filtering material or filter elements inside the filter by means acting on the cake side involving movement with regard to the filter elements
- B01D46/681—Regeneration of the filtering material or filter elements inside the filter by means acting on the cake side involving movement with regard to the filter elements by scrapers, brushes or the like
-
- F—MECHANICAL ENGINEERING; LIGHTING; HEATING; WEAPONS; BLASTING
- F24—HEATING; RANGES; VENTILATING
- F24F—AIR-CONDITIONING; AIR-HUMIDIFICATION; VENTILATION; USE OF AIR CURRENTS FOR SCREENING
- F24F13/00—Details common to, or for air-conditioning, air-humidification, ventilation or use of air currents for screening
-
- F—MECHANICAL ENGINEERING; LIGHTING; HEATING; WEAPONS; BLASTING
- F24—HEATING; RANGES; VENTILATING
- F24F—AIR-CONDITIONING; AIR-HUMIDIFICATION; VENTILATION; USE OF AIR CURRENTS FOR SCREENING
- F24F13/00—Details common to, or for air-conditioning, air-humidification, ventilation or use of air currents for screening
- F24F13/28—Arrangement or mounting of filters
-
- F—MECHANICAL ENGINEERING; LIGHTING; HEATING; WEAPONS; BLASTING
- F24—HEATING; RANGES; VENTILATING
- F24F—AIR-CONDITIONING; AIR-HUMIDIFICATION; VENTILATION; USE OF AIR CURRENTS FOR SCREENING
- F24F8/00—Treatment, e.g. purification, of air supplied to human living or working spaces otherwise than by heating, cooling, humidifying or drying
- F24F8/10—Treatment, e.g. purification, of air supplied to human living or working spaces otherwise than by heating, cooling, humidifying or drying by separation, e.g. by filtering
-
- F—MECHANICAL ENGINEERING; LIGHTING; HEATING; WEAPONS; BLASTING
- F24—HEATING; RANGES; VENTILATING
- F24F—AIR-CONDITIONING; AIR-HUMIDIFICATION; VENTILATION; USE OF AIR CURRENTS FOR SCREENING
- F24F8/00—Treatment, e.g. purification, of air supplied to human living or working spaces otherwise than by heating, cooling, humidifying or drying
- F24F8/90—Cleaning of purification apparatus
Landscapes
- Engineering & Computer Science (AREA)
- Chemical & Material Sciences (AREA)
- Combustion & Propulsion (AREA)
- Mechanical Engineering (AREA)
- General Engineering & Computer Science (AREA)
- Chemical Kinetics & Catalysis (AREA)
- Filtering Of Dispersed Particles In Gases (AREA)
Abstract
一种新风净化装置,包括机壳,机壳具有新风进口和新风出口,其特征在于:在机壳内部安装有初效过滤网、高效过滤网、除尘器、集尘器和风机,初效过滤网和高效过滤网依次设置在新风进口与风机进风口之间的风道内,除尘器用来清除附着在初效过滤网上的灰尘,且清除后的灰尘被收集在集尘器中,风机的出风口与新风出口相连通。本发明的优点在于:该新风净化装置的初效过滤网和高效过滤网依次设置所述新风进口与风机进风口之间的风道内,附着在初效过滤网上的灰尘可以通过除尘器用来清除,清除后的灰尘被收集在集尘器中,使得净化装置长久工作后也能始终保持滤网清洁,进而提高空气过滤效果,同时也利于延长滤网的使用寿命。
A fresh air purification device includes a casing, the casing has a fresh air inlet and a fresh air outlet, and is characterized in that: a primary filter, a high-efficiency filter, a dust collector, a dust collector and a fan are installed inside the casing, and the primary filter The net and the high-efficiency filter are arranged in the air duct between the fresh air inlet and the air inlet of the fan in turn. The dust collector is used to remove the dust attached to the primary filter, and the removed dust is collected in the dust collector, and the air outlet of the fan Connected to the fresh air outlet. The advantages of the present invention are: the primary filter and the high-efficiency filter of the fresh air purification device are sequentially arranged in the air duct between the fresh air inlet and the fan air inlet, and the dust adhering to the primary filter can be removed by a dust collector. The cleaned dust is collected in the dust collector, so that the filter can always be kept clean after the purification device has been working for a long time, thereby improving the air filtration effect and prolonging the service life of the filter.
Description
技术领域technical field
本发明涉及一种新风净化装置。The invention relates to a fresh air purification device.
背景技术Background technique
随着社会的现代化程度越来越高,人们的生产和生活方式也随之发生了很大变化,人们在室内工作、生活以及活动的时间越来越长,工作和文娱体育等活动都可以在室内进行,据统计,人们每天平均大约有80%以上的时间在室内度过,因此,室内空气质量对人体健康有着至关重要的影响。With the increasing degree of modernization of society, people's production and lifestyle have also undergone great changes. People work, live and play indoors for longer and longer, and work, entertainment, sports and other activities can be According to statistics, people spend more than 80% of their time indoors on average every day. Therefore, indoor air quality has a vital impact on human health.
目前,市场上有用于更换新风的新风换气机,新风换气机工作时,室外空气从室外进气口进入换气机中,然后,依次通过初效滤网、中效滤网、静电除尘箱将外界空气中的杂质清除,与此同时,室内的空气从室内空气进气口进入换气机,通过热交换器将室内空气的热量交换到从室外进来的新的空气中,之后,新的空气经过进一步处理后进入室内,室内旧的空气排出室外。虽然,上述新风换气机能有效净化室内空气,但是,换气机长久使用后,过滤后的粉尘颗粒容易粘合在初效滤网、中效滤网和静电除尘箱上,使其堵塞,进而导致空气过滤效果不好。At present, there are fresh air ventilators on the market for replacing fresh air. When the fresh air ventilator is working, the outdoor air enters the ventilator from the outdoor air inlet, and then passes through the primary filter, the intermediate filter, and the electrostatic precipitator. The box removes impurities in the outside air, and at the same time, the indoor air enters the ventilator from the indoor air inlet, and the heat of the indoor air is exchanged to the new air coming in from the outside through the heat exchanger. The air is further processed into the room, and the old indoor air is exhausted outside. Although the above-mentioned fresh air ventilator can effectively purify the indoor air, after the ventilator has been used for a long time, the filtered dust particles are easy to adhere to the primary filter screen, the medium effect filter screen and the electrostatic precipitator box, causing it to be blocked, and then The air filtration effect is not good.
发明内容SUMMARY OF THE INVENTION
本发明所要解决的技术问题是针对上述现有技术现状,提供一种结构简单、空气过滤效果好的新风净化装置。The technical problem to be solved by the present invention is to provide a fresh air purifying device with a simple structure and good air filtration effect, aiming at the current state of the prior art.
本发明解决上述技术问题所采用的技术方案为:该新风净化装置,包括机壳,所述机壳具有新风进口和新风出口,其特征在于:在所述机壳内部安装有初效过滤网、高效过滤网、除尘器、集尘器和风机,所述初效过滤网和高效过滤网依次设置在所述新风进口与风机进风口之间的风道内,所述除尘器用来清除附着在所述初效过滤网上的灰尘,且清除后的灰尘被收集在所述的集尘器中,所述风机的出风口与所述新风出口相连通。The technical solution adopted by the present invention to solve the above technical problems is as follows: the fresh air purifying device includes a casing, the casing has a fresh air inlet and a fresh air outlet, and is characterized in that a primary filter screen, a fresh air outlet are installed inside the casing. A high-efficiency filter, a dust collector, a dust collector and a fan. The primary filter and the high-efficiency filter are sequentially arranged in the air duct between the fresh air inlet and the fan inlet. The dust on the primary filter screen, and the removed dust is collected in the dust collector, and the air outlet of the fan is communicated with the fresh air outlet.
所述初效过滤网在驱动机构的驱动下能够来回转动,所述除尘器始终与初效过滤网的表面相接触,且初效过滤网能带动所述除尘器同步转动。The primary filter can rotate back and forth under the drive of the drive mechanism, the dust collector is always in contact with the surface of the primary filter, and the primary filter can drive the dust collector to rotate synchronously.
作为一种优选方案,所述驱动机构包括安装在机壳内的电机、第一套筒、第二套筒、支撑轴和转动轴,第一套筒、第二套筒、支撑轴和转动轴轴向平行设置,所述电机驱动所述第一套筒转动,初效过滤网的两头分别绕过所述的转动轴和支撑轴,并分别卷绕在所述的第一套筒和第二套筒上,所述的除尘器包括转轴和安装在转轴上的清洁刷,所述转轴靠近转动轴并与转动轴相平行,所述转动轴带动转轴转动,所述清洁刷始终与所述初效过滤网相接触。这样,初效过滤网可以在第一套筒和第二套筒之间来回运动,使得清洁刷可以清洁整个过滤网。As a preferred solution, the drive mechanism includes a motor, a first sleeve, a second sleeve, a support shaft and a rotating shaft installed in the casing, the first sleeve, the second sleeve, the support shaft and the rotating shaft The axes are arranged in parallel, the motor drives the first sleeve to rotate, and the two ends of the primary filter respectively bypass the rotating shaft and the support shaft, and are respectively wound around the first sleeve and the second sleeve. On the sleeve, the dust collector includes a rotating shaft and a cleaning brush installed on the rotating shaft. The rotating shaft is close to the rotating shaft and is parallel to the rotating shaft. The rotating shaft drives the rotating shaft to rotate, and the cleaning brush is always in line with the initial contact with the effective filter. In this way, the primary filter can be moved back and forth between the first sleeve and the second sleeve, so that the cleaning brush can clean the entire filter.
进一步优选,所述第二套筒位于第一套筒的上方,且第一套筒和第二套筒靠近所述新风进口,所述支撑轴为转动轴的上方,且支撑轴和转动轴靠近所述高效过滤网。Further preferably, the second sleeve is located above the first sleeve, and the first sleeve and the second sleeve are close to the fresh air inlet, the support shaft is above the rotation shaft, and the support shaft and the rotation shaft are close to each other The high-efficiency filter.
为了使转轴的转动速度大于转动轴的转动速度,所述转动轴与转轴之间安装有能使转轴转速大于转动轴转速的齿轮加速机构。In order to make the rotating speed of the rotating shaft be greater than the rotating speed of the rotating shaft, a gear acceleration mechanism is installed between the rotating shaft and the rotating shaft, which can make the rotating speed of the rotating shaft be greater than the rotating speed of the rotating shaft.
集尘器可以有多种结构,优选地,所述集尘器为集污盒,所述集污盒位于所述清洁刷的正下方。The dust collector may have various structures. Preferably, the dust collector is a dirt collection box, and the dirt collection box is located directly below the cleaning brush.
进一步优选,所述的电机为减速电机。Further preferably, the motor is a geared motor.
进一步优选,所述转动轴为在初效过滤网带动下同步转动的从动轴。初效过滤网与转动轴之间紧密配合,从而使初效过滤网运动时可以带动转动轴转动。Further preferably, the rotating shaft is a driven shaft that rotates synchronously under the driving of the primary filter. The primary effect filter mesh is closely matched with the rotating shaft, so that the rotating shaft can be driven to rotate when the primary effect filter mesh moves.
作为另一种优选方案,所述驱动机构包括减速电机、第一支撑轴、第二支撑轴和第三支撑轴,所述减速电机的输出轴与所述第一支撑轴、第二轴承轴、第三支撑轴同轴设置,所述初效过滤网围合在所述减速电机的输出轴、第一支撑轴、第二支撑轴和第三支撑轴上并在减速电机的带动下转动,且初效过滤网形成相对设置的第一过滤面和第二过滤面,所述第一过滤面靠近所述新风进口,所述第二过滤面靠近所述高效过滤网,所述除尘器包括转轴和安装在转轴上的清洁刷,所述转轴靠近第一支撑轴并与第一支撑轴相平行,所述第一支撑轴带动转轴转动,所述清洁刷始终与所述初效过滤网相接触。这样,可以形成初效过滤网的双极过滤,大大提升过滤效果。As another preferred solution, the drive mechanism includes a reduction motor, a first support shaft, a second support shaft and a third support shaft, and the output shaft of the reduction motor is connected to the first support shaft, the second bearing shaft, The third support shaft is coaxially arranged, the primary filter screen is enclosed on the output shaft, the first support shaft, the second support shaft and the third support shaft of the deceleration motor and rotates under the drive of the deceleration motor, and The primary filter screen forms a first filter surface and a second filter surface arranged oppositely, the first filter surface is close to the fresh air inlet, the second filter surface is close to the high-efficiency filter screen, and the dust collector includes a rotating shaft and a A cleaning brush installed on a rotating shaft, the rotating shaft is close to and parallel to the first supporting shaft, the first supporting shaft drives the rotating shaft to rotate, and the cleaning brush is always in contact with the primary filter. In this way, bipolar filtration of the primary filter can be formed, which greatly improves the filtration effect.
进一步优选,所述的风机为离心风机。Further preferably, the fan is a centrifugal fan.
为了使进入机壳内部的新风流动更为顺畅,所述风机的进风口朝向所述新风进口,风机的出风口朝向所述新风出口。In order to make the fresh air entering the inside of the casing flow more smoothly, the air inlet of the fan faces the fresh air inlet, and the air outlet of the fan faces the fresh air outlet.
与现有技术相比,本发明的优点在于:该新风净化装置的初效过滤网和高效过滤网依次设置在新风进口与风机进风口之间的风道内,附着在初效过滤网上的灰尘可以通过除尘器用来清除,清除后的灰尘被收集在集尘器中,使得净化装置长久工作后也能始终保持滤网清洁,进而提高空气过滤效果,同时也利于延长滤网的使用寿命。Compared with the prior art, the present invention has the advantages that the primary filter and the high-efficiency filter of the fresh air purification device are sequentially arranged in the air duct between the fresh air inlet and the air inlet of the fan, and the dust attached to the primary filter can be removed. It is used for removal by the dust collector, and the removed dust is collected in the dust collector, so that the filter can always be kept clean after the purification device has been working for a long time, thereby improving the air filtration effect and prolonging the service life of the filter.
附图说明Description of drawings
图1为本发明实施例一的结构示意图;1 is a schematic structural diagram of
图2为本发明实施例一的初效过滤网的安装结构示意图;2 is a schematic diagram of the installation structure of the primary filter according to the first embodiment of the present invention;
图3为本发明实施例一的安装结构示意图;3 is a schematic diagram of the installation structure of
图4为本发明实施例二的安装结构示意图。FIG. 4 is a schematic diagram of an installation structure of
具体实施方式Detailed ways
以下结合附图实施例对本发明作进一步详细描述。The present invention will be further described in detail below with reference to the embodiments of the accompanying drawings.
实施例一:Example 1:
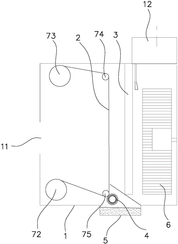
如图1和图2所示,本实施例中的新风净化装置包括机壳1,机壳1具有新风进口11和新风出口12,在机壳1内部安装有初效过滤网2、高效过滤网3、除尘器4、集尘器5和风机6。其中,初效过滤网2和高效过滤网3依次设置在新风进口11与风机6进风口之间的风道内,除尘器4用来清除附着在初效过滤网2上的灰尘,且清除后的灰尘被收集在集尘器5中,风机6的出风口与新风出口12相连通。风机6采用离心风机,风机6的进风口朝向新风进口11,风机6的出风口朝向新风出口12。As shown in FIG. 1 and FIG. 2 , the fresh air purification device in this embodiment includes a
本实施例中,在机壳1内安装驱动初效过滤网2转动的驱动机构,该驱动机构包括电机71、第一套筒72、第二套筒73、支撑轴74和转动轴75,第一套筒72、第二套筒73、支撑轴74和转动轴75轴向平行设置,并且,第二套筒73位于第一套筒72的上方,且第一套筒72和第二套筒73靠近新风进口11,支撑轴74为转动轴75的上方,且支撑轴74和转动轴75靠近高效过滤网3。电机71采用减速电机并用来驱动第一套筒72转动。初效过滤网2的两头分别绕过转动轴75和支撑轴74,并分别卷绕在第一套筒72和第二套筒73上。转动轴75为从动轴,转动轴75与初效过滤网2为紧密配合,初效过滤网2运动时可以带动转动轴75同步转动。In this embodiment, a drive mechanism for driving the
除尘器4包括转轴41和安装在转轴上的清洁刷42,转轴41靠近转动轴75并与转动轴75相平行,转动轴75带动转轴41转动。本实施例中,为了提高转轴41的转动速度,在转动轴75与转轴41之间安装有能使转轴41转速大于转动轴75转速的齿轮加速机构8。清洁刷42呈条状并始终与初效过滤网2相接触,随着转轴41的转动,清洁刷42不断转动,从而可提高清洗效果。The dust collector 4 includes a rotating
本实施例的集尘盒5为集污盒,集污盒5位于清洁刷42的正下方,便于清洁刷42将灰尘刷入集污盒内。The dust collecting
如图3所示,该新风净化装置采用壁挂式安装,在墙体9上开有连通新风进口11与室外的新风通道91,在新风通道91的进风口安装有太阳能防雨罩10,太阳能防雨罩10能够根据需要打开或关闭。净化装置不使用时,太阳能防雨罩10关闭新风通道91,净化装置启用时,太阳能防雨罩10打开,防止雨水通过新风通道91进入新风净化装置内部。As shown in FIG. 3 , the fresh air purification device adopts a wall-mounted installation, and a fresh air passage 91 is opened on the wall 9 to connect the
该新风净化装置工作时,室外空气依次通过新风通道91、新风进口11进入机壳1内,在风机6的作用下进入依次经过初效过滤网2和初效过滤网3后进入风机6,工作一段时间后,电机71开始旋转,初效过滤网2由第一套筒72过渡到第二套筒73,同时,清洁刷42不断清洁初效过滤网2的相应位置,刷下的灰尘等杂物进入集尘盒内,从而使初效过滤网2保持清洁。待初效过滤网2全部由第一套筒72过渡到第二套筒73时,电机71反转,经清洁后的初效过滤网2重新卷绕到第一套筒72上,如此达到清洁的目的,有效提高初效过滤网2的使用寿命。When the fresh air purification device is in operation, the outdoor air enters the
实施例二:Embodiment 2:
如图4所示,本实施例的驱动机构包括减速电机76、第一支撑轴77、第二支撑轴78和第三支撑轴79,减速电机76的输出轴与第一支撑轴77、第二轴承轴78、第三支撑轴79同轴设置,初效过滤网2围合在减速电机76的输出轴、第一支撑轴77、第二支撑轴78和第三支撑轴79上并在减速电机76的带动下转动,且初效过滤网2形成相对设置的第一过滤面21和第二过滤面22,第一过滤面21靠近新风进口11,第二过滤面22靠近高效过滤网3。本实施例的除尘器4包括转轴41和安装在转轴上的清洁刷42,转轴41靠近第一支撑轴77并与第一支撑轴77相平行,第一支撑轴77带动转轴41转动,清洁刷42始终与初效过滤网2相接触,清洁刷42的旋转方向与第一支撑轴77的旋转方向相同。As shown in FIG. 4 , the driving mechanism of this embodiment includes a geared motor 76 , a first support shaft 77 , a second support shaft 78 and a third support shaft 79 . The output shaft of the geared motor 76 is connected to the first support shaft 77 , the second support shaft 78 The bearing shaft 78 and the third support shaft 79 are coaxially arranged, and the
工作时,本实施例的初效过滤网2可以形成双极过滤,可以避免初效过滤网2上的第一过滤面21上粘附的污染物旋转至第二过滤面22时直接吹入高效过滤网3,大大提升净化效果。本实施例的其余结构与实施例一相同,在此不再展开描述。During operation, the
Claims (10)
Priority Applications (1)
| Application Number | Priority Date | Filing Date | Title |
|---|---|---|---|
| CN201810713532.8A CN110657540B (en) | 2018-06-29 | 2018-06-29 | A fresh air purification device |
Applications Claiming Priority (1)
| Application Number | Priority Date | Filing Date | Title |
|---|---|---|---|
| CN201810713532.8A CN110657540B (en) | 2018-06-29 | 2018-06-29 | A fresh air purification device |
Publications (2)
| Publication Number | Publication Date |
|---|---|
| CN110657540A true CN110657540A (en) | 2020-01-07 |
| CN110657540B CN110657540B (en) | 2025-02-21 |
Family
ID=69027730
Family Applications (1)
| Application Number | Title | Priority Date | Filing Date |
|---|---|---|---|
| CN201810713532.8A Active CN110657540B (en) | 2018-06-29 | 2018-06-29 | A fresh air purification device |
Country Status (1)
| Country | Link |
|---|---|
| CN (1) | CN110657540B (en) |
Cited By (11)
| Publication number | Priority date | Publication date | Assignee | Title |
|---|---|---|---|---|
| CN112393353A (en) * | 2020-11-17 | 2021-02-23 | 南京邮电大学 | Intelligent ventilation evolution system on building |
| CN112999785A (en) * | 2021-02-03 | 2021-06-22 | 江苏丰尚智能科技有限公司 | Fodder drying-machine and filter screen self-cleaning device thereof |
| CN112999784A (en) * | 2021-02-03 | 2021-06-22 | 江苏丰尚智能科技有限公司 | Fodder drying-machine and filter screen self-cleaning device thereof |
| CN113280436A (en) * | 2021-06-04 | 2021-08-20 | 北京格林贝斯装饰工程有限公司 | Indoor ventilation and air purification system |
| CN113405188A (en) * | 2021-06-24 | 2021-09-17 | 北京中海文设备安装有限公司 | Environment-friendly fresh air handling unit mounting structure and construction process thereof |
| CN113654164A (en) * | 2021-08-25 | 2021-11-16 | 周海龙 | Energy-saving and environment-friendly air purifier |
| CN114791131A (en) * | 2022-04-08 | 2022-07-26 | 珠海格力电器股份有限公司 | Air conditioner indoor unit and air conditioner with fresh air function |
| EP4035758A1 (en) * | 2021-01-29 | 2022-08-03 | Huawei Digital Power Technologies Co., Ltd. | Filter cleaning system, filter cleaning method, and data center |
| CN115264721A (en) * | 2022-06-16 | 2022-11-01 | 安徽理工大学 | A new healthy and energy-saving air purification system |
| CN115468255A (en) * | 2022-08-22 | 2022-12-13 | 森鹰窗业南京有限公司 | A window with a fresh air system |
| FR3148531A1 (en) * | 2023-05-09 | 2024-11-15 | Welter’s Co., Ltd. | EXHAUST GAS EMISSION CIRCULATION FILTERING APPARATUS FOR PREVENTION OF AIR POLLUTION |
Citations (7)
| Publication number | Priority date | Publication date | Assignee | Title |
|---|---|---|---|---|
| WO2005028965A1 (en) * | 2003-09-25 | 2005-03-31 | Lexi Yang | An air cleaner |
| CN205208748U (en) * | 2015-10-21 | 2016-05-04 | 广州快净环保科技有限公司 | Fresh air purifier |
| CN107131602A (en) * | 2017-05-26 | 2017-09-05 | 山东泰朗禾通风设备有限公司 | A kind of wall-mounted fresh air purifying all-in-one |
| CN107166519A (en) * | 2017-05-25 | 2017-09-15 | 泰豪科技股份有限公司 | A kind of high purification efficiency fan coil units |
| CN206637745U (en) * | 2017-03-31 | 2017-11-14 | 浙江地球村环保科技有限公司 | A kind of automatically cleaning fresh air purification device and automatically cleaning New-air purifying system |
| KR20180003833A (en) * | 2016-07-01 | 2018-01-10 | 최옥선 | Air cleanning System |
| CN208735831U (en) * | 2018-06-29 | 2019-04-12 | 宁波方太厨具有限公司 | A kind of fresh air purification device |
-
2018
- 2018-06-29 CN CN201810713532.8A patent/CN110657540B/en active Active
Patent Citations (7)
| Publication number | Priority date | Publication date | Assignee | Title |
|---|---|---|---|---|
| WO2005028965A1 (en) * | 2003-09-25 | 2005-03-31 | Lexi Yang | An air cleaner |
| CN205208748U (en) * | 2015-10-21 | 2016-05-04 | 广州快净环保科技有限公司 | Fresh air purifier |
| KR20180003833A (en) * | 2016-07-01 | 2018-01-10 | 최옥선 | Air cleanning System |
| CN206637745U (en) * | 2017-03-31 | 2017-11-14 | 浙江地球村环保科技有限公司 | A kind of automatically cleaning fresh air purification device and automatically cleaning New-air purifying system |
| CN107166519A (en) * | 2017-05-25 | 2017-09-15 | 泰豪科技股份有限公司 | A kind of high purification efficiency fan coil units |
| CN107131602A (en) * | 2017-05-26 | 2017-09-05 | 山东泰朗禾通风设备有限公司 | A kind of wall-mounted fresh air purifying all-in-one |
| CN208735831U (en) * | 2018-06-29 | 2019-04-12 | 宁波方太厨具有限公司 | A kind of fresh air purification device |
Cited By (13)
| Publication number | Priority date | Publication date | Assignee | Title |
|---|---|---|---|---|
| CN112393353A (en) * | 2020-11-17 | 2021-02-23 | 南京邮电大学 | Intelligent ventilation evolution system on building |
| EP4035758A1 (en) * | 2021-01-29 | 2022-08-03 | Huawei Digital Power Technologies Co., Ltd. | Filter cleaning system, filter cleaning method, and data center |
| CN112999785A (en) * | 2021-02-03 | 2021-06-22 | 江苏丰尚智能科技有限公司 | Fodder drying-machine and filter screen self-cleaning device thereof |
| CN112999784A (en) * | 2021-02-03 | 2021-06-22 | 江苏丰尚智能科技有限公司 | Fodder drying-machine and filter screen self-cleaning device thereof |
| CN113280436A (en) * | 2021-06-04 | 2021-08-20 | 北京格林贝斯装饰工程有限公司 | Indoor ventilation and air purification system |
| CN113405188A (en) * | 2021-06-24 | 2021-09-17 | 北京中海文设备安装有限公司 | Environment-friendly fresh air handling unit mounting structure and construction process thereof |
| CN113654164B (en) * | 2021-08-25 | 2022-12-23 | 佛山市香莱诗香薰有限公司 | Energy-saving and environment-friendly air purifier |
| CN113654164A (en) * | 2021-08-25 | 2021-11-16 | 周海龙 | Energy-saving and environment-friendly air purifier |
| CN114791131A (en) * | 2022-04-08 | 2022-07-26 | 珠海格力电器股份有限公司 | Air conditioner indoor unit and air conditioner with fresh air function |
| CN115264721A (en) * | 2022-06-16 | 2022-11-01 | 安徽理工大学 | A new healthy and energy-saving air purification system |
| CN115264721B (en) * | 2022-06-16 | 2023-09-15 | 安徽理工大学 | Novel healthy energy-saving air purification system |
| CN115468255A (en) * | 2022-08-22 | 2022-12-13 | 森鹰窗业南京有限公司 | A window with a fresh air system |
| FR3148531A1 (en) * | 2023-05-09 | 2024-11-15 | Welter’s Co., Ltd. | EXHAUST GAS EMISSION CIRCULATION FILTERING APPARATUS FOR PREVENTION OF AIR POLLUTION |
Also Published As
| Publication number | Publication date |
|---|---|
| CN110657540B (en) | 2025-02-21 |
Similar Documents
| Publication | Publication Date | Title |
|---|---|---|
| CN110657540A (en) | A fresh air purification device | |
| CN208735831U (en) | A kind of fresh air purification device | |
| CN104895469B (en) | mechanical ventilation window | |
| CN105201924B (en) | A kind of self-cleaning negative pressure blower fan | |
| CN108571455B (en) | A kind of industrial dust removal formula exhaust blower | |
| CN204485524U (en) | A kind of air-conditioning filter net deduster | |
| CN220303826U (en) | Sample indoor air purification device | |
| CN207745640U (en) | Automatic cleaning formula dedusting mechanism | |
| CN211189482U (en) | A separator for flue gas is administered | |
| CN220958815U (en) | Self-cleaning type air purifier | |
| CN2922995Y (en) | Filter screen cleaning device and filter with same | |
| CN110657542A (en) | A fresh air purification device | |
| CN110657539A (en) | A fresh air purification device | |
| CN214841303U (en) | Device for purifying return air of central air-conditioning system | |
| CN108626180B (en) | Method for improving exhaust efficiency of exhaust fan | |
| CN209795110U (en) | A vehicle air conditioning system | |
| CN212068065U (en) | Soot desulfurization dust remover | |
| CN210951637U (en) | A filter mechanism for a fresh air system that is convenient for cleaning dust | |
| CN114877452A (en) | High efficiency compact new trend purifies smart machine | |
| CN112546782A (en) | Dust collection and removal structure capable of achieving automatic cleaning of filter screen through rotation | |
| CN216977080U (en) | Warm logical air conditioner filter equipment that leads to for engineering | |
| CN117847668B (en) | A ventilation duct with dust removal and filtering structure | |
| CN110657541A (en) | Fresh air purification device | |
| CN200982716Y (en) | Air conditioner with filtering net automatic cleaning device | |
| CN221858729U (en) | A clean room fresh air device |
Legal Events
| Date | Code | Title | Description |
|---|---|---|---|
| PB01 | Publication | ||
| PB01 | Publication | ||
| SE01 | Entry into force of request for substantive examination | ||
| SE01 | Entry into force of request for substantive examination | ||
| GR01 | Patent grant | ||
| GR01 | Patent grant |
