CN110500931B - A jig and measuring method for measuring blade profile size and blade tip size - Google Patents

A jig and measuring method for measuring blade profile size and blade tip size Download PDF

Info

Publication number
CN110500931B
CN110500931B CN201910737601.3A CN201910737601A CN110500931B CN 110500931 B CN110500931 B CN 110500931B CN 201910737601 A CN201910737601 A CN 201910737601A CN 110500931 B CN110500931 B CN 110500931B
Authority
CN
China
Prior art keywords
blade
pressure surface
positioning block
measuring
arc side
Prior art date
Legal status (The legal status is an assumption and is not a legal conclusion. Google has not performed a legal analysis and makes no representation as to the accuracy of the status listed.)
Active
Application number
CN201910737601.3A
Other languages
Chinese (zh)
Other versions
CN110500931A (en
Inventor
金海龙
俞瑞昕
贺文庆
Current Assignee (The listed assignees may be inaccurate. Google has not performed a legal analysis and makes no representation or warranty as to the accuracy of the list.)
Wuxi Hyatech Technology Co ltd
Original Assignee
Wuxi Hyatech Technology Co ltd
Priority date (The priority date is an assumption and is not a legal conclusion. Google has not performed a legal analysis and makes no representation as to the accuracy of the date listed.)
Filing date
Publication date
Application filed by Wuxi Hyatech Technology Co ltd filed Critical Wuxi Hyatech Technology Co ltd
Priority to CN201910737601.3A priority Critical patent/CN110500931B/en
Publication of CN110500931A publication Critical patent/CN110500931A/en
Application granted granted Critical
Publication of CN110500931B publication Critical patent/CN110500931B/en
Active legal-status Critical Current
Anticipated expiration legal-status Critical

Links

Images

Classifications

    • GPHYSICS
    • G01MEASURING; TESTING
    • G01BMEASURING LENGTH, THICKNESS OR SIMILAR LINEAR DIMENSIONS; MEASURING ANGLES; MEASURING AREAS; MEASURING IRREGULARITIES OF SURFACES OR CONTOURS
    • G01B5/00Measuring arrangements characterised by the use of mechanical techniques
    • G01B5/0002Arrangements for supporting, fixing or guiding the measuring instrument or the object to be measured
    • GPHYSICS
    • G01MEASURING; TESTING
    • G01BMEASURING LENGTH, THICKNESS OR SIMILAR LINEAR DIMENSIONS; MEASURING ANGLES; MEASURING AREAS; MEASURING IRREGULARITIES OF SURFACES OR CONTOURS
    • G01B5/00Measuring arrangements characterised by the use of mechanical techniques
    • G01B5/004Measuring arrangements characterised by the use of mechanical techniques for measuring coordinates of points
    • G01B5/008Measuring arrangements characterised by the use of mechanical techniques for measuring coordinates of points using coordinate measuring machines
    • GPHYSICS
    • G01MEASURING; TESTING
    • G01BMEASURING LENGTH, THICKNESS OR SIMILAR LINEAR DIMENSIONS; MEASURING ANGLES; MEASURING AREAS; MEASURING IRREGULARITIES OF SURFACES OR CONTOURS
    • G01B5/00Measuring arrangements characterised by the use of mechanical techniques
    • G01B5/02Measuring arrangements characterised by the use of mechanical techniques for measuring length, width or thickness

Landscapes

  • Physics & Mathematics (AREA)
  • General Physics & Mathematics (AREA)
  • A Measuring Device Byusing Mechanical Method (AREA)

Abstract

本发明提供了一种叶片叶型尺寸和叶尖尺寸的测量用夹具,其能解决现有航空动叶叶片的叶型尺寸和叶尖尺寸的测量需要对每个叶片都在压力面采点建立测量基准,大批量测量时效率低下的问题。其包括底座、定位组件和夹紧组件,定位组件包括用于定位叶片榫头的压力面的压力面定位块,以及用于定位叶片榫头的背弧侧面的背弧侧定位块;夹紧组件包括顶针和内弧侧压紧杆;顶针由底座上的驱动机构一驱动并向上顶紧叶片的缘板肩膀面,使叶片榫头的压力面与压力面定位块贴紧;内弧侧压紧杆由底座上的驱动机构二驱动并压紧叶片榫头的内弧侧面,使叶片榫头的背弧侧面与背弧侧定位块贴紧。同时,本发明还提供了航空叶片叶型尺寸和叶尖尺寸的测量方法。

Figure 201910737601

The invention provides a jig for measuring the blade profile size and blade tip size, which can solve the need for measuring the blade profile size and blade tip size of the existing aerodynamic blade blades, which needs to be established at the pressure surface for each blade. Measurement benchmarks, inefficiencies in high volume measurements. It includes a base, a positioning assembly and a clamping assembly, the positioning assembly includes a pressure surface positioning block for positioning the pressure surface of the blade tenon, and a back arc side positioning block for positioning the back arc side of the blade tenon; The clamping assembly includes a thimble and the inner arc side pressing rod; the thimble is driven by the driving mechanism on the base and pushes up the edge plate shoulder surface of the blade, so that the pressure surface of the blade tenon and the pressure surface positioning block are in close contact; the inner arc side pressing rod is driven by the base. The second driving mechanism on the top drives and compresses the inner arc side of the blade tenon, so that the back arc side of the blade tenon is in close contact with the positioning block on the back arc side. At the same time, the present invention also provides a method for measuring the dimensions of the airfoil shape and the tip of the aviation blade.

Figure 201910737601

Description

Clamp and method for measuring blade profile size and blade tip size of blade
Technical Field
The invention relates to the field of machining and measuring of aviation precision forging blades, in particular to a clamp and a measuring method for measuring blade profile size and blade tip size of a blade.
Background
The aviation movable blade is a key part of an aircraft engine, and the blade profile size and the blade tip size of the aviation movable blade have great influence on the performance of the engine, so the blade profile size and the blade tip size of the whole number of the movable blade are usually detected in the industry. The detection method adopted in the industry at present comprises the following steps: a three-coordinate measuring instrument is used for firstly sampling points on a pressure surface or a datum plane of a blade tenon and repeatedly fitting to establish a measuring datum, and then the blade profile size and the blade tip size are measured.
Disclosure of Invention
The invention provides a clamp for measuring blade profile size and blade tip size, which can enable blades clamped on the clamp to have the same measuring reference without independently establishing the measuring reference for each blade, greatly improves the measuring efficiency during large-scale measurement, and simultaneously provides a method for measuring the blade profile size and the blade tip size of an aviation blade.
The technical scheme is as follows:
the utility model provides a measuring anchor clamps of blade profile size and apex size which characterized in that: the positioning assembly is fixedly arranged on the base and comprises a pressure surface positioning block for positioning a pressure surface of a blade tenon and a back arc side positioning block for positioning a back arc side surface of the blade tenon; the clamping assembly is movably mounted on the positioning assembly and comprises a thimble and an inner arc side pressing rod; the thimble is driven by a driving mechanism I on the base and pushes up the flange plate shoulder surface of the blade tightly so that the pressure surface of the blade tenon is tightly attached to the pressure surface positioning block; the inner arc side pressing rod is driven by a second driving mechanism on the base and presses the inner arc side face of the blade tenon, so that the back arc side face of the blade tenon is tightly attached to the back arc side positioning block.
It is further characterized in that:
the pressure surface positioning block comprises an air inlet side pressure surface positioning block and an air outlet side pressure surface positioning block which are arranged oppositely, profile modeling positioning surfaces which are matched with the shapes of the air inlet side pressure surface and the air outlet side pressure surface of the blade tenon are respectively arranged on the inner sides of the upper parts of the air inlet side pressure surface positioning block and the air outlet side pressure surface positioning block, and the air inlet side pressure surface positioning block and the air outlet side pressure surface positioning block are fixedly connected into a whole and fixedly arranged on the base.
The back arc side positioning block is fixedly arranged at the rear side of the pressure surface positioning block, and a positioning plane for being attached to the back arc side surface of the blade tenon is arranged on the back arc side positioning block.
A cavity is formed between the air inlet side pressure surface positioning block and the air outlet side pressure surface positioning block in a surrounding manner, the cavity is positioned below the profiling positioning surface, a thimble sliding block is arranged in the cavity in a vertically sliding fit manner, two ends of the thimble sliding block are respectively fixedly provided with thimbles, and the upper ends of the two thimbles respectively penetrate through the air inlet side pressure surface positioning block and the air outlet side pressure surface positioning block in a clearance fit manner and are respectively used for tightly jacking the flange plate shoulder surfaces positioned on two sides of the blade tenon; the first driving mechanism is a vertical cylinder which is fixedly installed on the base, and a piston rod of the vertical cylinder is fixedly connected with the bottom of the ejector pin sliding block through a vertical connecting rod and used for driving the ejector pin sliding block to move up and down.
The top surfaces of the two thimbles are spherical surfaces.
The inner arc side pressing rod is vertically arranged on the front side of the pressure surface positioning block, the upper end of the inner arc side pressing rod is provided with a pressing part extending backwards, and the pressing part is used for pressing the inner arc side face of the blade tenon; the bottom of the inner arc side pressing rod is provided with a vertical slot which is communicated with the front and the back, the left side and the right side of the middle of the inner arc side pressing rod are respectively symmetrically provided with a vertical waist-shaped hole communicated with the vertical slot, the front side surface of the pressure surface positioning block is fixedly provided with a pressing rod support, the front end of the pressing rod support is inserted into the vertical slot in a matched manner, and a first pin shaft penetrates through the front end of the pressing rod support, and the two ends of the first pin shaft are respectively inserted into the two vertical waist-shaped holes in a clearance fit manner; the second driving mechanism is a transverse cylinder which is fixedly arranged on the base positioned at the rear side of the pressure surface positioning block, and a piston rod of the transverse cylinder penetrates through the pressure surface positioning block through a transverse connecting rod and is hinged with the lower end of the inner arc side pressing rod.
The vertical connecting rod is provided with a vertical long hole which is through from front to back, the transverse connecting rod can penetrate through the vertical long hole in a sliding fit mode, and the transverse connecting rod is hinged with the lower end of the inner arc side pressing rod through a second pin shaft.
The rear side surface of the pressing part is an arc surface.
The method for measuring the blade profile size and the blade tip size of the aviation blade by adopting the clamp is characterized in that: which comprises the following steps:
step 1, correcting a reference, namely fixing the clamp on a workbench of a three-coordinate measuring instrument, clamping and positioning a standard sample piece of the aviation blade on the clamp, establishing a measuring reference coordinate system by using the three-coordinate measuring instrument according to the position of the clamp on the workbench, measuring the blade profile size and the blade tip size of the standard sample piece, comparing the measuring result with the actual value of the standard sample piece, if the difference value between the measuring result of the standard sample piece and the actual value of the standard sample piece is not within an acceptable range, adding a compensation value to the measuring reference coordinate system, re-measuring the standard sample piece, and repeating the above operations until the difference value between the measuring result of the standard sample piece and the actual value of the standard sample piece is within the acceptable range, wherein the measuring reference coordinate system at the moment is the corrected measuring reference coordinate system;
and 2, measuring the blade, clamping and positioning the aviation blade to be measured on the clamp, and directly measuring the blade profile size and the blade tip size of the aviation blade by using the corrected measurement reference coordinate system by using the three-coordinate measuring instrument.
The invention has the beneficial effects that:
according to the fixture, the positioning assembly and the clamping assembly can be used for automatically and accurately positioning and clamping the blades, the clamping is rapid, stable and reliable, and the same measurement reference is ensured to be provided for each blade after the blade is clamped; during the primary measurement, after the primary standard correction is completed by using the standard sample piece, the blade profile size and the blade tip size of the blade can be directly measured in batches, and the time for establishing the measurement standard of the pressure surface sampling point of each part in the traditional measurement mode is effectively saved, so that the measurement efficiency of the blade profile size and the blade tip size is greatly improved.
Drawings
FIG. 1 is a front view of the clamp of the present invention;
FIG. 2 is a left side view of FIG. 1;
FIG. 3 is a cross-sectional view taken along line A-A of FIG. 1;
FIG. 4 is a cross-sectional view taken along line B-B of FIG. 2;
FIG. 5 is a schematic view of the overall structure of the jig of the present invention;
fig. 6 is a schematic view of the overall structure of the blade.
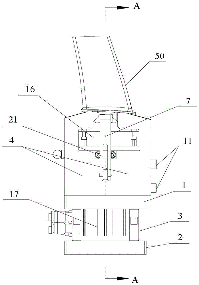
Reference numerals: 1-upper base plate; 2-lower bottom plate; 3-base upright column; 4-pressure surface positioning blocks; 5-a back arc side positioning block; 6-a thimble; 7-inner arc side compression bar; 8-an air inlet side pressure surface positioning block; 9-an exhaust side pressure surface positioning block; 10-profiling positioning surface; 11-a first socket head cap screw; 12-cylindrical locating pins; 13-a second socket head cap screw; 14-a positioning plane; 15-a cavity; 16-a thimble slider; 17-a vertical cylinder; 18-a vertical link; 19-hexagon socket head cap screw III; 20-a compacting section; 21-a vertical slot; 22-vertical waist-shaped hole; 23-a hold down bar support; 24-pin shaft one; 25-a transverse cylinder; 26-transverse cylinder bottom plate; 27-a transverse link; 28-vertical long hole; 29-pin shaft two; 30-processing reference; 50-blade; 51-blade tenon; 52-pressure side of the inlet side; 53-exhaust side pressure surface; 54-platform shoulder surface; 55-inner arc side.
Detailed Description
Referring to fig. 1 to 6, the fixture for measuring blade profile size and blade tip size of the blade of the present invention comprises a base, a positioning assembly and a clamping assembly, wherein the base comprises an upper base plate 1, a lower base plate 2 and a base upright post 3, the positioning assembly is fixedly installed on the upper base plate 1 of the base, and the positioning assembly comprises a pressure surface positioning block 4 for positioning a pressure surface of a blade tenon 51 and a back arc side positioning block 5 for positioning a back arc side surface of the blade tenon 51; the clamping assembly is movably arranged on the positioning assembly and comprises a thimble 6 and an inner arc side pressing rod 7; the thimble 6 is driven by a driving mechanism I on the base and pushes up and tightly leans against the flange plate shoulder surface 54 of the blade 50, so that the pressure surface of the blade tenon 51 is tightly attached to the pressure surface positioning block 4; the inner arc side pressing rod 7 is driven by a second driving mechanism on the base and presses the inner arc side face 55 of the blade tenon 51, so that the back arc side face of the blade tenon 51 is tightly attached to the back arc side positioning block 5.
Referring to fig. 3 to 4, the pressure surface positioning block 4 includes an air inlet side pressure surface positioning block 8 and an air outlet side pressure surface positioning block 9 which are oppositely arranged, the inner sides of the upper portions of the air inlet side pressure surface positioning block 8 and the air outlet side pressure surface positioning block 9 are respectively provided with a profiling positioning surface 10 which is matched with the shapes of an air inlet side pressure surface 52 and an air outlet side pressure surface 53 of a blade tenon 51, the air inlet side pressure surface positioning block 8 and the air outlet side pressure surface positioning block 9 are fixedly connected into a whole through a first hexagon socket head cap screw 11 and a cylindrical positioning pin 12, and are respectively fixedly installed on the upper base plate 1 of the base through a second hexagon socket head cap screw 13. By the design, the pressure surface positioning block is convenient to process, and the accurate positioning of the pressure surface of the blade tenon can be ensured.
Referring to fig. 2 to 3, two ends of the back arc side positioning block 5 are respectively and fixedly mounted on the upper portions of the rear sides of the air inlet side pressure surface positioning block 8 and the air outlet side pressure surface positioning block 9 through screws, and a positioning plane 14 for adhering to the back arc side surface of the blade tenon 51 is arranged in the middle of the inner side of the back arc side positioning block 5. So design, simple structure is convenient for install and processing.
Referring to fig. 4, a cavity 15 is formed between an air inlet side pressure surface positioning block 8 and an air outlet side pressure surface positioning block 9 in a surrounding manner, the cavity 15 is located below a profiling positioning surface 10, a thimble slider 16 is installed in the cavity 15 in a vertically sliding fit manner, two ends of the thimble slider 16 are respectively fixedly provided with thimbles 6 through screws, top surfaces of the two thimbles 6 are spherical, upper ends of the two thimbles 6 respectively penetrate through the air inlet side pressure surface positioning block 8 and the air outlet side pressure surface positioning block 9 in a clearance fit manner and are respectively used for tightly jacking flange plate shoulder surfaces 54 located at the air inlet side and the air outlet side of a blade tenon 51; the first driving mechanism is a vertical cylinder 17, the vertical cylinder 17 is arranged between the upper base plate 1 and the lower base plate 2 of the base and fixedly mounted on the upper base plate 1, a vertical connecting rod 18 is coaxially and fixedly connected to the upper end of a piston rod of the vertical cylinder 17, the upper end of the vertical connecting rod 18 is fixedly connected with the bottom of the ejector pin slider 16 through a third hexagon socket head cap screw 19, and the vertical cylinder 17 is used for driving the ejector pin slider 16 to move up and down. So design, under the drive of vertical cylinder, the marginal plate shoulder face of blade tenon both sides can be automatic, quick top by two thimbles.
Referring to fig. 1 to 4, the inner arc side pressing rod 7 is vertically arranged at the front side of the pressure surface positioning block 4, and the upper end thereof is provided with a pressing part 20 extending backwards, and the rear side surface of the pressing part 20 is an arc surface for pressing an inner arc side surface 55 of the blade tenon 51; the bottom of the inner arc side pressing rod 7 is provided with a vertical slot 21 which is through from front to back, the left side and the right side of the middle of the inner arc side pressing rod 7 are respectively symmetrically provided with a vertical waist-shaped hole 22 communicated with the vertical slot 21, the front side surface of the pressure surface positioning block 4 is fixedly provided with a pressing rod support 23, the front end of the pressing rod support 23 is inserted into the vertical slot 21 in a matched manner, and a pin shaft I24 penetrates through the front end of the pressing rod support 23 and two ends of the pin shaft I are respectively inserted into the two vertical waist-shaped holes 22 in a clearance fit; the driving mechanism II is a transverse cylinder 25, a transverse cylinder bottom plate 26 is fixedly mounted on the upper bottom plate 1 located on the rear side of the pressure surface positioning block 4, the transverse cylinder 25 is fixedly mounted on the transverse cylinder bottom plate 26, a piston rod of the transverse cylinder 25 is coaxially and fixedly connected with a transverse connecting rod 27, a vertical long hole 28 which is through from front to back is formed in the vertical connecting rod 18, the transverse connecting rod 27 can penetrate through the vertical long hole 28 in a sliding fit mode, and the front end of the transverse connecting rod 27 is hinged to the lower end of the inner arc side pressing rod 7 through a second pin shaft 29. So design, under the drive of horizontal cylinder, the inner arc side compresses tightly the inner arc side that the pole can compress tightly or loosen the blade tenon automatically, quick rotation, and structural design is compact, is convenient for processing and equipment.
The spherical structure on the pressure side positioning block 8 of the inlet side in fig. 4 is a machining reference 30.
The method for measuring the blade profile size and the blade tip size of the aviation blade by adopting the clamp comprises the following steps:
step 1, correcting a reference, namely fixing the clamp on a workbench of a three-coordinate measuring instrument, clamping and positioning a standard sample piece of the aviation blade on the clamp, establishing a measuring reference coordinate system by using the three-coordinate measuring instrument according to the position of the clamp on the workbench, measuring the blade profile size and the blade tip size of the standard sample piece, comparing the measuring result with the actual value of the standard sample piece, if the difference value between the measuring result of the standard sample piece and the actual value of the standard sample piece is not within an acceptable range, adding a compensation value to the measuring reference coordinate system, re-measuring the standard sample piece, repeating the above operations until the difference value between the measuring result of the standard sample piece and the actual value of the standard sample piece is within the acceptable range so as to offset the manufacturing error and the assembling error of the clamp, wherein the measuring reference coordinate system at the moment is the corrected measuring reference coordinate system;
and 2, measuring the blade, clamping and positioning the aviation blade to be measured on the clamp, and directly measuring the blade profile size and the blade tip size of the aviation blade by using the corrected measurement reference coordinate system by using the three-coordinate measuring instrument.

Claims (6)

1. The utility model provides a measuring anchor clamps of blade profile size and apex size which characterized in that: the positioning assembly is fixedly arranged on the base and comprises a pressure surface positioning block for positioning a pressure surface of a blade tenon and a back arc side positioning block for positioning a back arc side surface of the blade tenon; the clamping assembly is movably mounted on the positioning assembly and comprises a thimble and an inner arc side pressing rod; the thimble is driven by a driving mechanism I on the base and pushes up the flange plate shoulder surface of the blade tightly so that the pressure surface of the blade tenon is tightly attached to the pressure surface positioning block; the inner arc side pressing rod is driven by a second driving mechanism on the base and presses the inner arc side surface of the blade tenon, so that the back arc side surface of the blade tenon is tightly attached to the back arc side positioning block;
the pressure surface positioning block comprises an air inlet side pressure surface positioning block and an air outlet side pressure surface positioning block which are arranged oppositely, the inner sides of the upper parts of the air inlet side pressure surface positioning block and the air outlet side pressure surface positioning block are respectively provided with a profiling positioning surface which is adaptive to the shapes of the air inlet side pressure surface and the air outlet side pressure surface of the blade tenon, and the air inlet side pressure surface positioning block and the air outlet side pressure surface positioning block are fixedly connected into a whole and fixedly arranged on the base;
a cavity is formed between the air inlet side pressure surface positioning block and the air outlet side pressure surface positioning block in a surrounding manner, the cavity is positioned below the profiling positioning surface, a thimble sliding block is arranged in the cavity in a vertically sliding fit manner, two ends of the thimble sliding block are respectively fixedly provided with thimbles, and the upper ends of the two thimbles respectively penetrate through the air inlet side pressure surface positioning block and the air outlet side pressure surface positioning block in a clearance fit manner and are respectively used for tightly jacking the flange plate shoulder surfaces positioned on two sides of the blade tenon; the first driving mechanism is a vertical cylinder which is fixedly installed on the base, and a piston rod of the vertical cylinder is fixedly connected with the bottom of the thimble sliding block through a vertical connecting rod and used for driving the thimble sliding block to move up and down;
the inner arc side pressing rod is vertically arranged on the front side of the pressure surface positioning block, the upper end of the inner arc side pressing rod is provided with a pressing part extending backwards, and the pressing part is used for pressing the inner arc side face of the blade tenon; the bottom of the inner arc side pressing rod is provided with a vertical slot which is communicated with the front and the back, the left side and the right side of the middle of the inner arc side pressing rod are respectively symmetrically provided with a vertical waist-shaped hole communicated with the vertical slot, the front side surface of the pressure surface positioning block is fixedly provided with a pressing rod support, the front end of the pressing rod support is inserted into the vertical slot in a matched manner, and a first pin shaft penetrates through the front end of the pressing rod support, and the two ends of the first pin shaft are respectively inserted into the two vertical waist-shaped holes in a clearance fit manner; the second driving mechanism is a transverse cylinder which is fixedly arranged on the base positioned at the rear side of the pressure surface positioning block, and a piston rod of the transverse cylinder penetrates through the pressure surface positioning block through a transverse connecting rod and is hinged with the lower end of the inner arc side pressing rod.
2. The jig for measuring blade profile dimensions and blade tip dimensions according to claim 1, wherein: the back arc side positioning block is fixedly arranged at the rear side of the pressure surface positioning block, and a positioning plane for being attached to the back arc side surface of the blade tenon is arranged on the back arc side positioning block.
3. The jig for measuring blade profile dimensions and blade tip dimensions according to claim 1, wherein: the top surfaces of the two thimbles are spherical surfaces.
4. The jig for measuring blade profile dimensions and blade tip dimensions according to claim 1, wherein: the vertical connecting rod is provided with a vertical long hole which is through from front to back, the transverse connecting rod can penetrate through the vertical long hole in a sliding fit mode, and the transverse connecting rod is hinged with the lower end of the inner arc side pressing rod through a second pin shaft.
5. The jig for measuring blade profile dimensions and blade tip dimensions according to claim 1, wherein: the rear side surface of the pressing part is an arc surface.
6. The method for measuring the blade profile size and the blade tip size of the blade by using the clamp of any one of claims 1 to 5, wherein the method comprises the following steps: which comprises the following steps:
step 1, correcting a reference, namely fixing the clamp on a workbench of a three-coordinate measuring instrument, clamping and positioning a standard sample piece of the aviation blade on the clamp, establishing a measuring reference coordinate system by using the three-coordinate measuring instrument according to the position of the clamp on the workbench, measuring the blade profile size and the blade tip size of the standard sample piece, comparing the measuring result with the actual value of the standard sample piece, if the difference value between the measuring result of the standard sample piece and the actual value of the standard sample piece is not within an acceptable range, adding a compensation value to the measuring reference coordinate system, re-measuring the standard sample piece, and repeating the above operations until the difference value between the measuring result of the standard sample piece and the actual value of the standard sample piece is within the acceptable range, wherein the measuring reference coordinate system at the moment is the corrected measuring reference coordinate system;
and 2, measuring the blade, clamping and positioning the aviation blade to be measured on the clamp, and directly measuring the blade profile size and the blade tip size of the aviation blade by using the corrected measurement reference coordinate system by using the three-coordinate measuring instrument.
CN201910737601.3A 2019-08-12 2019-08-12 A jig and measuring method for measuring blade profile size and blade tip size Active CN110500931B (en)

Priority Applications (1)

Application Number Priority Date Filing Date Title
CN201910737601.3A CN110500931B (en) 2019-08-12 2019-08-12 A jig and measuring method for measuring blade profile size and blade tip size

Applications Claiming Priority (1)

Application Number Priority Date Filing Date Title
CN201910737601.3A CN110500931B (en) 2019-08-12 2019-08-12 A jig and measuring method for measuring blade profile size and blade tip size

Publications (2)

Publication Number Publication Date
CN110500931A CN110500931A (en) 2019-11-26
CN110500931B true CN110500931B (en) 2021-07-16

Family

ID=68586305

Family Applications (1)

Application Number Title Priority Date Filing Date
CN201910737601.3A Active CN110500931B (en) 2019-08-12 2019-08-12 A jig and measuring method for measuring blade profile size and blade tip size

Country Status (1)

Country Link
CN (1) CN110500931B (en)

Families Citing this family (9)

* Cited by examiner, † Cited by third party
Publication number Priority date Publication date Assignee Title
CN110940255B (en) * 2019-12-10 2021-07-06 株洲凯丰实业股份有限公司 Blade profile analyzer measuring tool
CN111895883B (en) * 2020-08-03 2021-11-19 无锡航亚科技股份有限公司 Device and method for detecting blade tip length
CN112484660B (en) * 2020-11-12 2022-08-26 中国航发南方工业有限公司 Non-contact type engine blade profile detection method
CN112484659B (en) * 2020-11-12 2022-09-16 中国航发南方工业有限公司 Non-contact type engine blade profile detection device
CN112504657A (en) * 2020-12-21 2021-03-16 成都市鸿侠科技有限责任公司 Aeroengine blade inspection frock
CN113579806A (en) * 2021-07-20 2021-11-02 贵州安吉华元科技发展有限公司 Special part fixture for intelligently manufacturing and machining blades
CN114383489B (en) * 2022-03-21 2022-06-17 南通海泰科特精密材料有限公司 Automobile turbine blade size testing fixture
CN115143860B (en) * 2022-06-22 2023-03-14 中国航发贵州黎阳航空动力有限公司 Fan blade tip arc measuring tool and method
CN116604374B (en) * 2023-07-20 2023-09-15 沈阳强航时代精密科技有限公司 Clamp for positioning and compacting turbine guide blade of aero-engine

Citations (7)

* Cited by examiner, † Cited by third party
Publication number Priority date Publication date Assignee Title
US4146967A (en) * 1977-08-15 1979-04-03 The Boeing Company Rotor blade inspection fixture
CN201540106U (en) * 2009-11-13 2010-08-04 中国航空工业集团公司北京航空材料研究院 A Measuring Fixture for Precision Casting Turbine Blades
CN201876213U (en) * 2010-11-20 2011-06-22 无锡透平叶片有限公司 Novel clamping tool for three-coordinate detection of static blade surface
CN102773733A (en) * 2012-07-18 2012-11-14 西安航空动力股份有限公司 Method and clamp for moulding surface positioning clamping of finish forge blade
CN102962694A (en) * 2012-11-21 2013-03-13 四川成发航空科技股份有限公司 Clamping positioning device for finish machining aero-engine turbine blade
CN104369020A (en) * 2014-11-13 2015-02-25 四川成发航空科技股份有限公司 Fixture for machining of high-temperature alloy precision casting blade
CN207035988U (en) * 2017-07-25 2018-02-23 哈尔滨哈汽叶片加工有限公司 A kind of internal combustion engine crop leaf measuring positioner

Patent Citations (7)

* Cited by examiner, † Cited by third party
Publication number Priority date Publication date Assignee Title
US4146967A (en) * 1977-08-15 1979-04-03 The Boeing Company Rotor blade inspection fixture
CN201540106U (en) * 2009-11-13 2010-08-04 中国航空工业集团公司北京航空材料研究院 A Measuring Fixture for Precision Casting Turbine Blades
CN201876213U (en) * 2010-11-20 2011-06-22 无锡透平叶片有限公司 Novel clamping tool for three-coordinate detection of static blade surface
CN102773733A (en) * 2012-07-18 2012-11-14 西安航空动力股份有限公司 Method and clamp for moulding surface positioning clamping of finish forge blade
CN102962694A (en) * 2012-11-21 2013-03-13 四川成发航空科技股份有限公司 Clamping positioning device for finish machining aero-engine turbine blade
CN104369020A (en) * 2014-11-13 2015-02-25 四川成发航空科技股份有限公司 Fixture for machining of high-temperature alloy precision casting blade
CN207035988U (en) * 2017-07-25 2018-02-23 哈尔滨哈汽叶片加工有限公司 A kind of internal combustion engine crop leaf measuring positioner

Also Published As

Publication number Publication date
CN110500931A (en) 2019-11-26

Similar Documents

Publication Publication Date Title
CN110500931B (en) A jig and measuring method for measuring blade profile size and blade tip size
CN108747520B (en) A debuggable fixture based on blade root bevel positioning
CN201392163Y (en) Gantry measuring tool
CN102601752A (en) Aircraft wing wall panel butt joint stringer locating device
CN205834839U (en) A kind of processing jig of mobile phone gadget inner chamber
CN201073735Y (en) Gripping device for processing crystallizer brass tube
CN112461093A (en) Blade space angle measuring device of blade ring structure part
CN205834840U (en) A kind of processing jig of mobile phone frame inner chamber
CN205032979U (en) A milling fixture that is used for square tenon blade of inclination
CN116689553A (en) Size correction tool and shape correction method for multi-connected blade precision casting
CN203534382U (en) Detection structure of rotary shaft cover plate of vehicle seat
CN116604374B (en) Clamp for positioning and compacting turbine guide blade of aero-engine
CN102889870B (en) Positioning and centering mechanism
CN102554826A (en) Positioning and clamping device
CN108981526B (en) Clamp for measuring straightness of dovetail-shaped tenon of blade of aero-engine
CN204807057U (en) Finish forge blade three -coordinates measuring anchor clamps
CN209485180U (en) A kind of Quick detection tool of ornament for steering wheel
CN221959452U (en) A tooling device for detecting ceramic core size
CN208811024U (en) A multi-spacing riveting beam tooling device
CN207548272U (en) A vertical rotary fixture applied to milling peripheral side holes of hardware mobile phone shells
CN222222311U (en) An error-proof device for positioning and clamping the tenon of an aviation turbine blade with full teeth
CN223476972U (en) A clamping tool for machining excavator arms
CN221211384U (en) Fir type tenon blade positioning and clamping device
CN209793140U (en) Special fixing device for end face position hole machined by support frame
CN223130090U (en) Hydraulic clamp for cross-shaped workpiece

Legal Events

Date Code Title Description
PB01 Publication
PB01 Publication
SE01 Entry into force of request for substantive examination
SE01 Entry into force of request for substantive examination
GR01 Patent grant
GR01 Patent grant