CN109746204B - A tug-of-war rope dust collector - Google Patents

A tug-of-war rope dust collector Download PDF

Info

Publication number
CN109746204B
CN109746204B CN201811577496.3A CN201811577496A CN109746204B CN 109746204 B CN109746204 B CN 109746204B CN 201811577496 A CN201811577496 A CN 201811577496A CN 109746204 B CN109746204 B CN 109746204B
Authority
CN
China
Prior art keywords
spring
tug
belt pulley
plate
rope
Prior art date
Legal status (The legal status is an assumption and is not a legal conclusion. Google has not performed a legal analysis and makes no representation as to the accuracy of the status listed.)
Expired - Fee Related
Application number
CN201811577496.3A
Other languages
Chinese (zh)
Other versions
CN109746204A (en
Inventor
李伟
Current Assignee (The listed assignees may be inaccurate. Google has not performed a legal analysis and makes no representation or warranty as to the accuracy of the list.)
Individual
Original Assignee
Individual
Priority date (The priority date is an assumption and is not a legal conclusion. Google has not performed a legal analysis and makes no representation as to the accuracy of the date listed.)
Filing date
Publication date
Application filed by Individual filed Critical Individual
Priority to CN201811577496.3A priority Critical patent/CN109746204B/en
Publication of CN109746204A publication Critical patent/CN109746204A/en
Application granted granted Critical
Publication of CN109746204B publication Critical patent/CN109746204B/en
Expired - Fee Related legal-status Critical Current
Anticipated expiration legal-status Critical

Links

Images

Landscapes

  • Nozzles For Electric Vacuum Cleaners (AREA)
  • Transmission Devices (AREA)

Abstract

本发明涉及一种除尘机,尤其涉及一种拔河绳除尘机。本发明的目的是提供一种能够更方便对拔河绳的除尘,提高除尘效率,并且还能隔绝灰尘飘入工作人员鼻子内的拔河绳除尘机。技术方案为:一种拔河绳除尘机,包括有箱体、支腿、弹性环、支撑杆、第一固定板、橡胶软板、第一弹簧、毛刷辊、支杆、滚筒、橡胶圈、第二弹簧等;箱体外底部左右两侧对称式的安装有支腿,箱体底部左侧开有出料口,箱体内底部右侧对称式的安装有支撑杆。本发明通过将拔河绳移动至上下两侧毛刷辊之间,再踩动踏板即可使毛刷辊与拔河绳接触,操作人员不断的拉动拔河绳即可通过毛刷辊进行除尘,提高了工作效率,并且通过箱体的作用,还能避免灰尘飘入工作人员鼻子内影响身体健康。

Figure 201811577496

The invention relates to a dust remover, in particular to a tug-of-war rope dust remover. The purpose of the present invention is to provide a tug-of-war rope dedusting machine that can more conveniently dedust the tug-of-war rope, improve the dedusting efficiency, and can also prevent dust from floating into the nose of the staff. The technical scheme is: a tug-of-war rope dedusting machine, comprising a box body, outriggers, elastic rings, support rods, a first fixing plate, a soft rubber plate, a first spring, a brush roller, a support rod, a roller, a rubber ring, The second spring, etc.; the left and right sides of the bottom of the box are symmetrically installed with legs, the left side of the bottom of the box is provided with a discharge port, and the right side of the bottom of the box is symmetrically installed with support rods. The invention moves the tug-of-war rope between the brush rollers on the upper and lower sides, and then steps on the pedal to make the brush roller contact the tug-of-war rope. Work efficiency, and through the function of the box, it can also prevent dust from floating into the nose of the staff and affect their health.

Figure 201811577496

Description

Tug-of-war rope dust shaker
Technical Field
The invention relates to a dust remover, in particular to a tug-of-war rope dust remover.
Background
Tug of a river is as an amusement activity, the accessible tug of a river match knows both sides strength who big who is little, nevertheless the tug of a river rope uses the back, it glues on the tug of a river rope to have a large amount of dust, then need clear away the dust of tug of a river rope, when people remove dust to the tug of a river rope usually, all remove dust to the tug of a river rope with the brush, because the tug of a river rope ratio is longer, lead to the dust collection efficiency low, and the dust that appears easily wafts into the staff nose, influence healthy, so people can directly throw into the tug of a river rope in the water and clean, so long-time drying of the clean back of tug of a river rope needs, lead to the tug of a river rope can.
Disclosure of Invention
The invention aims to overcome the defects that the tug-of-war rope is dedusted by a brush, the dedusting efficiency is low due to the fact that the tug-of-war rope ratio is longer, and the generated dust is easy to float into the nose of a worker to influence the health of the worker.
The technical scheme is as follows: a tug-of-war rope dust remover comprises a box body, supporting legs, elastic rings, supporting rods, first fixing plates, rubber soft plates, first springs, a brush roller, a supporting rod, a roller, a rubber ring, a second spring, a first belt pulley, a vertical rod, a cam, a second belt pulley, a first flat belt, a transverse plate, a third spring, a movable plate, a binding belt, a pulley, a guide wheel, a second fixing plate, a pull rope, a pedal and a fourth spring, wherein the supporting legs are symmetrically installed on the left side and the right side of the outer bottom of the box body, a discharge hole is formed in the left side of the bottom of the box body, the supporting rods are symmetrically installed on the right side of the inner bottom of the box body, two first fixing plates are arranged above the supporting rods on the left side and the right side of the left side and the right side, the elastic rings are connected between the left side and the right side of, brush rollers are uniformly arranged at intervals at the outer bottom of the upper rubber soft plate and the outer top of the lower rubber soft plate, first springs are uniformly arranged at intervals between the inner bottom of the upper rubber soft plate and the bottom of the upper first fixed plate, first springs are also uniformly arranged at intervals between the inner top of the lower rubber soft plate and the top of the lower first fixed plate, supporting rods are arranged between the inner top and the bottom of the box body, rollers are arranged at the inner ends of the supporting rods at the upper side and the lower side, rubber rings are arranged on the outer sides of the rollers, second springs are uniformly arranged at intervals between the inner side surfaces of the rubber rings and the outer side surfaces of the rollers, a first belt pulley is arranged at the circle center position of the front side surface of the lower roller, a vertical rod is arranged at the left side of the inner bottom of the box body, a cam is rotatably arranged at the top end of the vertical, the left side of the left side supporting leg is provided with a second fixing plate, the left side of the left side supporting leg is provided with a guide hole, a pull rope is arranged in the guide hole, one end of the pull rope is provided with a pedal, a fourth spring is connected between the top of the pedal and the bottom of the second fixing plate, the fourth spring is sleeved on the pull rope, the other end of the pull rope is wound around the guide wheel and the pulley, the other end of the pull rope passes through the right side of the bottom of the box body and is connected with the middle of the bottom of the binding belt, the middle of the left side of the box body is provided with a symmetrical through hole, and the right side through hole is positioned on the right side of an elastic ring.
As the improvement of above-mentioned scheme, still including clamping device, clamping device is including the sleeve pipe, the fifth spring, the movable rod, draw the piece, sixth spring and clamping bar, be equipped with the sleeve pipe between the left and right sides through-hole, the intraductal movable rod that is equipped with of cover, the movable rod left end is installed and is drawn the piece, draw and be connected with the sixth spring between piece right flank and the sleeve pipe left surface, sixth spring housing is on the movable rod, the opening of bilateral symmetry formula about the sleeve pipe medial surface right side has the recess, two clamping bars are installed to movable rod right-hand member rotary type, be connected with the fifth spring between the upper and lower both sides clamping bar medial surface left side.
As the improvement of the scheme, the improved rotary drum further comprises a fixed rod, a rotary blade, a third belt pulley, a fourth belt pulley and a second flat belt, wherein the fixed rod is installed on the left side of the inner top of the case, the rotary blade is installed in a rotary mode at the bottom end of the fixed rod, the third belt pulley is installed at the circle center position of the front side face of the rotary blade, the fourth belt pulley is installed at the circle center position of the front side face of the upper drum, and the second flat belt is connected between the fourth belt pulley.
Firstly, an operator penetrates the head end of the tug-of-war rope through the right through hole, then penetrates through the two elastic rings, then penetrates through the left through hole, and further the tug-of-war rope is contacted with the rubber ring, the operator can step on the pedal to move downwards, the pedal moves downwards to drive the pull rope to move downwards, the fourth spring is stretched, the pull rope moves downwards to drive the binding belt to move downwards, the binding belt moves downwards to drive the movable plate to move downwards, the third spring is stretched, the movable plate moves downwards to drive the upper first fixing plate to move downwards, the elastic rings are compressed, the upper first fixing plate moves downwards to drive the upper rubber soft plate to move downwards, the upper rubber soft plate moves downwards to drive the upper hairbrush roller to move downwards, the upper hairbrush roller moves downwards to move downwards to be contacted with the lower hairbrush roller, and the operator can pull the tug-of-war rope to move, the tug-of-war rope moves leftwards to drive the brush roller to rotate, and then the brush roller rotates to remove dust of the tug-of-war rope, because of the action of the first spring, the brush roller can be always contacted with the tug-of-war rope to remove dust of the tug-of-war rope, meanwhile, the tug-of-war rope moves leftwards to drive the upper rubber ring to rotate forwards and the lower rubber ring to rotate backwards, because of the action of the second spring, the rubber ring is always contacted with the tug-of-war rope, the lower rubber ring rotates backwards and drives the lower roller to rotate backwards through the second spring, the lower roller rotates backwards and drives the first belt pulley to rotate backwards, the first belt pulley rotates backwards and drives the second belt pulley to rotate backwards through the first flat belt, the second belt pulley rotates backwards and drives the cam to rotate backwards, when the cam rotates backwards and is contacted with the tug-of-war rope, the tug-of-war rope drives, the fallen dust is discharged through the discharge hole. When the whole backs of removing dust of tug-of-war rope, operating personnel can loosen the footboard, and because of the effect of fourth spring, the footboard rebound resumes to the normal position, and the stay cord is loosened, and because of the effect of third spring, the fly leaf rebound loosens the first fixed plate in top, and because of the effect of elastic ring, the first fixed plate in top rebound resumes to the normal position.
Firstly, an operator places the head end of the tug-of-war rope between the upper and lower clamping bars, then pulls the pull block to move leftwards, the pull block moves leftwards to drive the movable rod to move leftwards, the movable rod moves leftwards to drive the upper and lower clamping bars to move leftwards, when the clamping rods on the upper side and the lower side move leftwards into the groove, the fifth spring is compressed, the clamping rods on the upper side and the lower side swing inwards to be in contact with the tug-of-war rope to clamp the tug-of-war rope, the pulling block is stopped to be pulled, the sleeve can be pulled to move leftwards, the sleeve moves leftwards to drive the movable rod to move leftwards, and then the tug-of-war rope is driven to move leftwards to penetrate through the right through hole and then penetrate through the elastic ring and the left through hole, an operator can loosen the pull block, the movable rod moves rightwards to drive the clamping rod to move rightwards due to the action of the sixth spring, the clamping rod moves rightwards to separate from the groove, the clamping rods on the upper side and the lower side swing outwards to loosen the tug-of-war rope due to the action of the fifth spring, and the operator can start to remove dust. So, make things convenient for operating personnel to pass left and right sides through-hole with the tug-of-war rope more.
When an operator pulls the tug-of-war rope to move leftwards to remove dust, the upper roller rotates positively to drive the fourth belt pulley to rotate positively, the fourth belt pulley rotates positively to drive the third belt pulley to rotate positively through the second flat belt, the third belt pulley rotates positively to drive the rotating blades to rotate positively, and the rotating blades rotate positively to blow out the appearing dust out of the box body through the discharge port. Thus, dust can be prevented from remaining in the case.
According to the invention, the tug-of-war rope is moved between the upper and lower brush rollers, and then the pedal is stepped to enable the brush rollers to be in contact with the tug-of-war rope, so that the operating personnel can continuously pull the tug-of-war rope to remove dust through the brush rollers, the working efficiency is improved, the dust can be prevented from floating into the nose of the operating personnel to influence the body health under the action of the box body, and the tug-of-war rope can better penetrate through the through hole and between the upper and lower brush rollers through the clamping device.
Drawings
Fig. 1 is a schematic front view of the present invention.
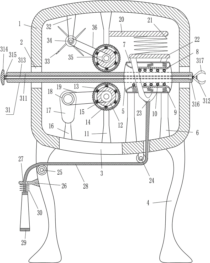
Number designation in the figures: 1. the device comprises a box body, a through hole, a discharge hole, a support leg, an elastic ring, a support rod, a supporting rod, a first fixing plate, a rubber soft plate, a first spring, a brush roller, a supporting rod, a roller, a rubber ring, a second spring, a belt pulley, a vertical rod, a cam, a second belt pulley, a first flat belt, a transverse plate, a third spring, a movable plate, a belt pulley, a guide wheel, a second fixing plate, a guide hole, a pull rope, a pedal, a fourth spring, a clamping device, a sleeve, a fifth spring, a movable rod, a pull block, a sixth spring, a groove, a clamping rod, a fixing rod, a rotating blade, a third belt pulley, a fourth belt pulley, a clamping rod, a fixing rod, a rotating blade, 36. a second flat belt.
Detailed Description
The above-described scheme is further illustrated below with reference to specific examples. It should be understood that these examples are for illustrative purposes and are not intended to limit the scope of the present application. The conditions used in the examples may be further adjusted according to the conditions of the particular manufacturer, and the conditions not specified are generally the conditions in routine experiments.
Example 1
A tug-of-war rope dust remover is shown in figure 1 and comprises a box body 1, supporting legs 4, elastic rings 5, supporting rods 6, a first fixing plate 7, a rubber soft plate 8, a first spring 9, a brush roller 10, a supporting rod 11, a roller 12, a rubber ring 13, a second spring 14, a first belt pulley 15, a vertical rod 16, a cam 17, a second belt pulley 18, a first flat belt 19, a transverse plate 20, a third spring 21, a movable plate 22, a binding band 23, a pulley 24, a guide wheel 25, a second fixing plate 26, a pull rope 28, a pedal 29 and a fourth spring 30, wherein the supporting legs 4 are symmetrically arranged on the left side and the right side of the outer bottom of the box body 1, the supporting rods 6 are symmetrically arranged on the right side of the inner bottom of the box body 1, the two first fixing plates 7 are arranged above the supporting rods 6 on the left side and the right side, the elastic rings 5 are connected between the left side and the right side of the two first fixing plates 7, the left side and right side, the inner side surfaces of first fixed plates 7 on the upper side and the lower side are respectively provided with a rubber soft plate 8, the outer bottom of the upper rubber soft plate 8 and the outer top of the lower rubber soft plate 8 are respectively provided with a brush roller 10 at uniform intervals, the inner bottom of the upper rubber soft plate 8 and the bottom of the upper first fixed plate 7 are respectively connected with a first spring 9 at uniform intervals, the inner top of the lower rubber soft plate 8 and the top of the lower first fixed plate 7 are respectively connected with a first spring 9 at uniform intervals, a supporting rod 11 is arranged between the inner top and the bottom of a box body 1, rollers 12 are respectively arranged at the inner ends of the supporting rods 11 on the upper side and the lower side, the outer side of each roller 12 is provided with a rubber ring 13, the inner side surface of each rubber ring 13 and the outer side surface of each roller 12 are respectively connected with a second spring 14 at uniform intervals, a first belt pulley 15 is arranged at the center, a second belt pulley 18 is arranged at the center of the circle of the front side of the cam 17, a first flat belt 19 is connected between the second belt pulley 18 and the first belt pulley 15, a transverse plate 20 is arranged in the middle of the right side of the upper support rod 11, a third spring 21 is connected to the right side of the bottom of the transverse plate 20, a movable plate 22 is connected to the tail end of the third spring 21, the movable plate 22 is positioned above the upper first fixing plate 7, a binding band 23 is connected to the left side of the bottom of the movable plate 22, the tail end of the binding band 23 bypasses the lower first fixing plate 7 and is connected to the right side of the bottom of the movable plate 22, a pulley 24 is arranged at the right side of the outer bottom of the box body 1, a guide wheel 25 is arranged at the upper part of the front side of the left side supporting leg 4, a second fixing plate 26 is arranged at the upper part of the left, the fourth spring 30 is sleeved on the pull rope 28, the other end of the pull rope 28 bypasses the guide wheel 25 and the pulley 24, then penetrates through the right side of the bottom of the box body 1 to be connected with the middle of the bottom of the binding band 23, through holes 2 are symmetrically formed in the middle of the left side and the right side of the box body 1, and the through holes 2 on the right side are located on the right side of the elastic ring 5.
Example 2
A tug-of-war rope dust remover is shown in figure 1 and comprises a box body 1, supporting legs 4, elastic rings 5, supporting rods 6, a first fixing plate 7, a rubber soft plate 8, a first spring 9, a brush roller 10, a supporting rod 11, a roller 12, a rubber ring 13, a second spring 14, a first belt pulley 15, a vertical rod 16, a cam 17, a second belt pulley 18, a first flat belt 19, a transverse plate 20, a third spring 21, a movable plate 22, a binding band 23, a pulley 24, a guide wheel 25, a second fixing plate 26, a pull rope 28, a pedal 29 and a fourth spring 30, wherein the supporting legs 4 are symmetrically arranged on the left side and the right side of the outer bottom of the box body 1, the supporting rods 6 are symmetrically arranged on the right side of the inner bottom of the box body 1, the two first fixing plates 7 are arranged above the supporting rods 6 on the left side and the right side, the elastic rings 5 are connected between the left side and the right side of the two first fixing plates 7, the left side and right side, the inner side surfaces of first fixed plates 7 on the upper side and the lower side are respectively provided with a rubber soft plate 8, the outer bottom of the upper rubber soft plate 8 and the outer top of the lower rubber soft plate 8 are respectively provided with a brush roller 10 at uniform intervals, the inner bottom of the upper rubber soft plate 8 and the bottom of the upper first fixed plate 7 are respectively connected with a first spring 9 at uniform intervals, the inner top of the lower rubber soft plate 8 and the top of the lower first fixed plate 7 are respectively connected with a first spring 9 at uniform intervals, a supporting rod 11 is arranged between the inner top and the bottom of a box body 1, rollers 12 are respectively arranged at the inner ends of the supporting rods 11 on the upper side and the lower side, the outer side of each roller 12 is provided with a rubber ring 13, the inner side surface of each rubber ring 13 and the outer side surface of each roller 12 are respectively connected with a second spring 14 at uniform intervals, a first belt pulley 15 is arranged at the center, a second belt pulley 18 is arranged at the center of the circle of the front side of the cam 17, a first flat belt 19 is connected between the second belt pulley 18 and the first belt pulley 15, a transverse plate 20 is arranged in the middle of the right side of the upper support rod 11, a third spring 21 is connected to the right side of the bottom of the transverse plate 20, a movable plate 22 is connected to the tail end of the third spring 21, the movable plate 22 is positioned above the upper first fixing plate 7, a binding band 23 is connected to the left side of the bottom of the movable plate 22, the tail end of the binding band 23 bypasses the lower first fixing plate 7 and is connected to the right side of the bottom of the movable plate 22, a pulley 24 is arranged at the right side of the outer bottom of the box body 1, a guide wheel 25 is arranged at the upper part of the front side of the left side supporting leg 4, a second fixing plate 26 is arranged at the upper part of the left, the fourth spring 30 is sleeved on the pull rope 28, the other end of the pull rope 28 bypasses the guide wheel 25 and the pulley 24, then penetrates through the right side of the bottom of the box body 1 to be connected with the middle of the bottom of the binding band 23, through holes 2 are symmetrically formed in the middle of the left side and the right side of the box body 1, and the through holes 2 on the right side are located on the right side of the elastic ring 5.
Still including clamping device 31, clamping device 31 is including sleeve pipe 311, fifth spring 312, movable rod 313, draw piece 314, sixth spring 315 and clamping bar 317, be equipped with sleeve pipe 311 between the left and right sides through-hole 2, be equipped with movable rod 313 in the sleeve pipe 311, the movable rod 313 left end is installed and is drawn piece 314, it is connected with sixth spring 315 to draw between piece 314 right flank and the sleeve pipe 311 left surface, sixth spring 315 overlaps on movable rod 313, the opening of sleeve pipe 311 medial surface right side bilateral symmetry formula has recess 316, two clamping bars 317 are installed to movable rod 313 right-hand member rotary type, be connected with fifth spring 312 between the left side of the medial surface of upper and lower both sides clamping bar 317.
Example 3
A tug-of-war rope dust remover is shown in figure 1 and comprises a box body 1, supporting legs 4, elastic rings 5, supporting rods 6, a first fixing plate 7, a rubber soft plate 8, a first spring 9, a brush roller 10, a supporting rod 11, a roller 12, a rubber ring 13, a second spring 14, a first belt pulley 15, a vertical rod 16, a cam 17, a second belt pulley 18, a first flat belt 19, a transverse plate 20, a third spring 21, a movable plate 22, a binding band 23, a pulley 24, a guide wheel 25, a second fixing plate 26, a pull rope 28, a pedal 29 and a fourth spring 30, wherein the supporting legs 4 are symmetrically arranged on the left side and the right side of the outer bottom of the box body 1, the supporting rods 6 are symmetrically arranged on the right side of the inner bottom of the box body 1, the two first fixing plates 7 are arranged above the supporting rods 6 on the left side and the right side, the elastic rings 5 are connected between the left side and the right side of the two first fixing plates 7, the left side and right side, the inner side surfaces of first fixed plates 7 on the upper side and the lower side are respectively provided with a rubber soft plate 8, the outer bottom of the upper rubber soft plate 8 and the outer top of the lower rubber soft plate 8 are respectively provided with a brush roller 10 at uniform intervals, the inner bottom of the upper rubber soft plate 8 and the bottom of the upper first fixed plate 7 are respectively connected with a first spring 9 at uniform intervals, the inner top of the lower rubber soft plate 8 and the top of the lower first fixed plate 7 are respectively connected with a first spring 9 at uniform intervals, a supporting rod 11 is arranged between the inner top and the bottom of a box body 1, rollers 12 are respectively arranged at the inner ends of the supporting rods 11 on the upper side and the lower side, the outer side of each roller 12 is provided with a rubber ring 13, the inner side surface of each rubber ring 13 and the outer side surface of each roller 12 are respectively connected with a second spring 14 at uniform intervals, a first belt pulley 15 is arranged at the center, a second belt pulley 18 is arranged at the center of the circle of the front side of the cam 17, a first flat belt 19 is connected between the second belt pulley 18 and the first belt pulley 15, a transverse plate 20 is arranged in the middle of the right side of the upper support rod 11, a third spring 21 is connected to the right side of the bottom of the transverse plate 20, a movable plate 22 is connected to the tail end of the third spring 21, the movable plate 22 is positioned above the upper first fixing plate 7, a binding band 23 is connected to the left side of the bottom of the movable plate 22, the tail end of the binding band 23 bypasses the lower first fixing plate 7 and is connected to the right side of the bottom of the movable plate 22, a pulley 24 is arranged at the right side of the outer bottom of the box body 1, a guide wheel 25 is arranged at the upper part of the front side of the left side supporting leg 4, a second fixing plate 26 is arranged at the upper part of the left, the fourth spring 30 is sleeved on the pull rope 28, the other end of the pull rope 28 bypasses the guide wheel 25 and the pulley 24, then penetrates through the right side of the bottom of the box body 1 to be connected with the middle of the bottom of the binding band 23, through holes 2 are symmetrically formed in the middle of the left side and the right side of the box body 1, and the through holes 2 on the right side are located on the right side of the elastic ring 5.
Still including clamping device 31, clamping device 31 is including sleeve pipe 311, fifth spring 312, movable rod 313, draw piece 314, sixth spring 315 and clamping bar 317, be equipped with sleeve pipe 311 between the left and right sides through-hole 2, be equipped with movable rod 313 in the sleeve pipe 311, the movable rod 313 left end is installed and is drawn piece 314, it is connected with sixth spring 315 to draw between piece 314 right flank and the sleeve pipe 311 left surface, sixth spring 315 overlaps on movable rod 313, the opening of sleeve pipe 311 medial surface right side bilateral symmetry formula has recess 316, two clamping bars 317 are installed to movable rod 313 right-hand member rotary type, be connected with fifth spring 312 between the left side of the medial surface of upper and lower both sides clamping bar 317.
The novel rotary drum is characterized by further comprising a fixing rod 32, a rotating blade 33, a third belt pulley 34, a fourth belt pulley 35 and a second flat belt 36, wherein the fixing rod 32 is installed on the left side of the inner top of the case body 1, the rotating blade 33 is installed at the bottom end of the fixing rod 32 in a rotating mode, the third belt pulley 34 is installed at the circle center of the front side face of the rotating blade 33, the fourth belt pulley 35 is installed at the circle center of the front side face of the upper drum 12, and the second flat belt 36 is connected between the fourth belt pulley 35 and.
Firstly, an operator penetrates the head end of the tug-of-war rope through the right through hole 2, then penetrates through the two elastic rings 5, and then penetrates through the left through hole 2, and then the tug-of-war rope is contacted with the rubber ring 13, the operator can step on the pedal 29 to move downwards, the pedal 29 moves downwards to drive the pull rope 28 to move downwards, the fourth spring 30 is stretched, the pull rope 28 moves downwards to drive the binding belt 23 to move downwards, the binding belt 23 moves downwards to drive the movable plate 22 to move downwards, the third spring 21 is stretched, the movable plate 22 moves downwards to drive the upper first fixing plate 7 to move downwards, the elastic rings 5 are compressed, the upper first fixing plate 7 moves downwards to drive the upper rubber soft plate 8 to move downwards, the upper rubber soft plate 8 moves downwards to drive the upper brush roller 10 to move downwards, the upper brush roller 10 moves downwards to move downwards to be contacted with the tug-of-war rope, and then the upper brush roller 10 moves downwards, an operator can pull the tug-of-war rope to move leftwards, the tug-of-war rope moves leftwards to drive the brush roller 10 to rotate, and then the brush roller 10 rotates to remove dust from the tug-of-war rope, because of the action of the first spring 9, the brush roller 10 can always contact with the tug-of-war rope to remove dust from the tug-of-war rope, meanwhile, the tug-of-war rope moves leftwards to drive the upper rubber ring 13 to rotate forwards and the lower rubber ring 13 to rotate backwards, because of the action of the second spring 14, the rubber ring 13 always contacts with the tug-of-war rope, the lower rubber ring 13 rotates backwards to drive the lower roller 12 to rotate backwards through the second spring 14, the lower roller 12 rotates backwards to drive the first belt pulley 15 to rotate backwards, the first belt pulley 15 rotates backwards to drive the second belt pulley 18 to rotate backwards through the first flat belt 19, the second belt pulley 18 rotates backwards to drive the cam 17 to rotate backwards, when the cam 17 rotates, because the tugging of the operator makes the tug-of-war rope tense and vibrate, and then the tug-of-war rope vibrations will remain the dust vibrations and fall, and the dust that shakes falls is discharged through discharge gate 3. After the tug-of-war rope is completely dedusted, the operator can release the pedal 29, the pedal 29 moves upwards to return to the original position under the action of the fourth spring 30, the pull rope 28 is released, the movable plate 22 moves upwards to release the upper first fixing plate 7 under the action of the third spring 21, and the upper first fixing plate 7 moves upwards to return to the original position under the action of the elastic ring 5.
Firstly, an operator places the head end of the tug-of-war rope between the upper clamping bar 317 and the lower clamping bar 317, pulls the pull block 314 to move leftwards, the pull block 314 moves leftwards to drive the movable rod 313 to move leftwards, the movable rod 313 moves leftwards to drive the upper clamping bar 317 and the lower clamping bar 317 to move leftwards, when the upper clamping bar 317 and the lower clamping bar 317 move leftwards to the groove 316, the fifth spring 312 is compressed, the upper clamping bar 317 and the lower clamping bar 317 swing inwards to contact with the tug-of-war rope to clamp the tug-of-war rope, the pull block 314 is stopped to pull, the sleeve 311 can be pulled to move leftwards, the sleeve 311 moves leftwards to drive the movable rod 313 to move leftwards, the tug-of-war rope is further driven to move leftwards to pass through the right through hole 2 and then pass through the elastic ring 5 and the left through hole 2, the clamping rods 317 on the upper side and the lower side swing outwards to loosen the tug-of-war rope, and an operator can start to remove dust from the tug-of-war rope. So, make things convenient for operating personnel to pass left and right sides through-hole 2 with the tug-of-war rope more.
When an operator pulls the tug-of-war rope to move leftwards for dust removal, the upper roller 12 rotates forwards to drive the fourth belt pulley 35 to rotate forwards, the fourth belt pulley 35 rotates forwards to drive the third belt pulley 34 to rotate forwards through the second flat belt 36, the third belt pulley 34 rotates forwards to drive the rotating blades 33 to rotate forwards, and the rotating blades 33 rotate forwards to discharge air to blow out the dust which appears out of the box body 1 through the discharge port 3. Thus, dust can be prevented from remaining in the case 1.
While the disclosure has been shown and described with reference to certain exemplary embodiments thereof, it will be understood by those skilled in the art that various changes in form and details may be made therein without departing from the spirit and scope of the disclosure as defined by the appended claims and their equivalents. Accordingly, the scope of the present disclosure should not be limited to the above-described embodiments, but should be defined not only by the appended claims, but also by equivalents thereof.

Claims (3)

1. The utility model provides a tug-of-war rope dust shaker, including box (1), landing leg (4), elastic ring (5), bracing piece (6), first fixed plate (7), rubber soft board (8), first spring (9) and brush roller (10), landing leg (4) are installed to box (1) outer bottom left and right sides symmetrical formula, open in box (1) bottom left side has discharge gate (3), the bracing piece (6) are installed to box (1) inner bottom right side symmetrical formula, left and right sides bracing piece (6) top is equipped with two first fixed plates (7), be connected with elastic ring (5) between two first fixed plate (7) left and right sides, both sides are connected with left and right sides bracing piece (6) top about below first fixed plate (7) bottom, rubber soft board (8) are all installed to upper and lower both sides first fixed plate (7) medial surface, brush roller (10) are all installed to top evenly spaced outside top and below rubber soft board (8) outer bottom of top above rubber soft board (8) The novel rubber soft board is characterized by further comprising supporting rods (11), a roller (12), a rubber ring (13), a second spring (14), a first belt wheel (15), a vertical rod (16), a cam (17), a second belt wheel (18), a first flat belt (19), a transverse plate (20), a third spring (21), a movable plate (22), a binding band (23), a pulley (24), a guide wheel (25), a second fixed plate (26), a pull rope (28), a pedal (29) and a fourth spring (30), wherein the supporting rods (11) are arranged between the top and the bottom in the box body (1), the rollers (12) are arranged at the inner ends of the supporting rods (11) on the upper side and the lower side, a rubber ring (13) is arranged on the outer side of the roller (12), second springs (14) are uniformly connected between the inner side surface of the rubber ring (13) and the outer side surface of the roller (12) at intervals, a first belt pulley (15) is installed at the circle center position of the front side surface of the roller (12) below, a vertical rod (16) is installed on the left side of the bottom in the box body (1), a cam (17) is rotatably installed at the top end of the vertical rod (16), a second belt pulley (18) is installed at the circle center position of the front side surface of the cam (17), a first flat belt (19) is connected between the second belt pulley (18) and the first belt pulley (15), a transverse plate (20) is installed in the middle of the right side of the upper support rod (11), a third spring (21) is connected to the right side of the bottom of the transverse plate (20), a movable plate (22) is connected to the tail, the tail end of a binding belt (23) bypasses a first fixing plate (7) below and is connected with the right side of the bottom of a movable plate (22), a pulley (24) is installed on the right side of the outer bottom of a box body (1), a guide wheel (25) is installed on the upper portion of the front side face of a left side supporting leg (4), a second fixing plate (26) is installed on the upper portion of the left side face of the left side supporting leg (4), a guide hole (27) is formed in the left side of the second fixing plate (26), a pull rope (28) is arranged in the guide hole (27), a pedal (29) is installed at one end of the pull rope (28), a fourth spring (30) is connected between the top of the pedal (29) and the bottom of the second fixing plate (26), the fourth spring (30) is sleeved on the pull rope (28), the other end of the pull rope (28) bypasses the guide wheel (25) and the pulley (24) and, the right through hole (2) is positioned on the right side of the elastic ring (5).
2. The tug-of-war rope dust collector as claimed in claim 1, further comprising a clamping device (31), wherein the clamping device (31) comprises a sleeve (311), a fifth spring (312) and a movable rod (313), draw piece (314), sixth spring (315) and clamping bar (317), be equipped with sleeve pipe (311) between left and right sides through-hole (2), be equipped with movable rod (313) in sleeve pipe (311), draw piece (314) is installed to movable rod (313) left end, draw and be connected with sixth spring (315) between piece (314) right flank and sleeve pipe (311) left surface, sixth spring (315) cover is on movable rod (313), the opening of bilateral symmetry formula has recess (316) about sleeve pipe (311) medial surface right side, two clamping bar (317) are installed to movable rod (313) right end rotary type, be connected with fifth spring (312) between upper and lower both sides clamping bar (317) medial surface left side.
3. The tug-of-war rope dust remover according to claim 2, further comprising a fixing rod (32), a rotating blade (33), a third belt pulley (34), a fourth belt pulley (35) and a second flat belt (36), wherein the fixing rod (32) is installed on the left side of the inner top of the box body (1), the rotating blade (33) is rotatably installed at the bottom end of the fixing rod (32), the third belt pulley (34) is installed at the circle center position of the front side face of the rotating blade (33), the fourth belt pulley (35) is installed at the circle center position of the front side face of the upper roller (12), and the second flat belt (36) is connected between the fourth belt pulley (35) and the third belt pulley (34).
CN201811577496.3A 2018-12-24 2018-12-24 A tug-of-war rope dust collector Expired - Fee Related CN109746204B (en)

Priority Applications (1)

Application Number Priority Date Filing Date Title
CN201811577496.3A CN109746204B (en) 2018-12-24 2018-12-24 A tug-of-war rope dust collector

Applications Claiming Priority (1)

Application Number Priority Date Filing Date Title
CN201811577496.3A CN109746204B (en) 2018-12-24 2018-12-24 A tug-of-war rope dust collector

Publications (2)

Publication Number Publication Date
CN109746204A CN109746204A (en) 2019-05-14
CN109746204B true CN109746204B (en) 2021-06-25

Family

ID=66402906

Family Applications (1)

Application Number Title Priority Date Filing Date
CN201811577496.3A Expired - Fee Related CN109746204B (en) 2018-12-24 2018-12-24 A tug-of-war rope dust collector

Country Status (1)

Country Link
CN (1) CN109746204B (en)

Families Citing this family (3)

* Cited by examiner, † Cited by third party
Publication number Priority date Publication date Assignee Title
CN111330917B (en) * 2020-04-21 2024-01-02 南通芯盟测试研究院运营管理有限公司 Dust removing device for microelectronic device braiding
CN112452954B (en) * 2020-11-02 2021-10-12 青岛农业大学 A deep sea cage cleaning device
CN114306685B (en) * 2022-01-13 2024-07-12 丰都县三合街道社区卫生服务中心(丰都县三合街道计划生育服务站) A multifunctional sterilization cart for obstetrics

Family Cites Families (7)

* Cited by examiner, † Cited by third party
Publication number Priority date Publication date Assignee Title
JP4471419B2 (en) * 1999-08-23 2010-06-02 株式会社トーエネック Cable cleaning device
WO2004000473A1 (en) * 2002-06-21 2003-12-31 Neumeyer Erwin S Device and method for treating a cable
CN204208873U (en) * 2014-10-31 2015-03-18 青岛富润玻璃有限公司 A kind of dust arrester of glass processing line
CN108212842B (en) * 2017-12-26 2019-11-08 浙江郑林机械股份有限公司 A kind of home electric wire cleaning device
CN108249217A (en) * 2018-01-29 2018-07-06 山东博发智能科技有限公司 A kind of electric wire collecting dust-removing device
CN108163677B (en) * 2018-02-02 2024-07-26 吴江骏达电梯部件有限公司 Steel wire maintenance device for elevator
CN108906690A (en) * 2018-06-08 2018-11-30 张志成 A kind of hardware goes insulated hull equipment with aluminum steel recycling with aluminum steel

Also Published As

Publication number Publication date
CN109746204A (en) 2019-05-14

Similar Documents

Publication Publication Date Title
CN109746204B (en) A tug-of-war rope dust collector
CN204866641U (en) Dust extraction that textile material used
CN207047571U (en) A kind of leather production and processing high effect dust cleaner
CN114984661A (en) Paper pulp sewage treatment plant of papermaking usefulness
CN115874435B (en) Plush toy cutting equipment
CN210458654U (en) A depilatory device for textile processing
CN111318073A (en) Sewage treatment device based on cam circulating type oscillation hair collection
CN207308487U (en) A kind of clothes processing waste material collection device
CN211420430U (en) A spandex yarn edulcoration device for textile production
CN109156168A (en) One kind drying rear sesame straw thresher
CN209662898U (en) High-effective dust-removing machine
CN109130641B (en) Self-cleaning blackboard eraser
CN216786646U (en) Dust collector for textile processing that dust removal effect is good
CN113323530B (en) Convenient detachable window pulley
CN117484350A (en) A brake pad detection device
CN110512456A (en) Dryer is used in a kind of production of recycled writing paper
CN220503509U (en) Fabric dust removal equipment
CN209618566U (en) A kind of novel spooler
CN211965010U (en) A kind of clematis finished seedling screening equipment
CN219792495U (en) Down filling tube structure of a down filling machine
CN211079714U (en) A high-efficient environmental protection dust shaker for pure cotton weaving cloth production line
CN210636224U (en) A lint removal device for textile fabric production
CN113322651A (en) Fabric dust suction device for textile processing
CN207806073U (en) A kind of air cleaner filter pulp cleaning equipment
CN217460032U (en) A dust-removing cooling device for textiles that is easy to clean

Legal Events

Date Code Title Description
PB01 Publication
PB01 Publication
SE01 Entry into force of request for substantive examination
SE01 Entry into force of request for substantive examination
CB02 Change of applicant information

Address after: No.104, Yuncheng West Road, Baiyun District, Guangzhou City, Guangdong Province 510080

Applicant after: Zheng Zhipeng

Address before: Room 1006, 10th Floor, China New Media Advertising Industry Park, 3030 Fuqiang Road, Shatou Street, Futian District, Shenzhen City, Guangdong Province

Applicant before: Zheng Zhipeng

CB02 Change of applicant information
CB03 Change of inventor or designer information

Inventor after: Li Wei

Inventor before: Zheng Zhipeng

CB03 Change of inventor or designer information
GR01 Patent grant
GR01 Patent grant
CF01 Termination of patent right due to non-payment of annual fee

Granted publication date: 20210625

CF01 Termination of patent right due to non-payment of annual fee