CN109374932B - Pin clamping device of capacitance detection system - Google Patents
Pin clamping device of capacitance detection system Download PDFInfo
- Publication number
- CN109374932B CN109374932B CN201811249454.7A CN201811249454A CN109374932B CN 109374932 B CN109374932 B CN 109374932B CN 201811249454 A CN201811249454 A CN 201811249454A CN 109374932 B CN109374932 B CN 109374932B
- Authority
- CN
- China
- Prior art keywords
- adjusting
- groove
- fixedly connected
- spring
- inner cavity
- Prior art date
- Legal status (The legal status is an assumption and is not a legal conclusion. Google has not performed a legal analysis and makes no representation as to the accuracy of the status listed.)
- Active
Links
Images
Classifications
-
- G—PHYSICS
- G01—MEASURING; TESTING
- G01R—MEASURING ELECTRIC VARIABLES; MEASURING MAGNETIC VARIABLES
- G01R1/00—Details of instruments or arrangements of the types included in groups G01R5/00 - G01R13/00 and G01R31/00
- G01R1/02—General constructional details
- G01R1/04—Housings; Supporting members; Arrangements of terminals
- G01R1/0408—Test fixtures or contact fields; Connectors or connecting adaptors; Test clips; Test sockets
- G01R1/0425—Test clips, e.g. for IC's
Landscapes
- Physics & Mathematics (AREA)
- General Physics & Mathematics (AREA)
- Measurement Of Resistance Or Impedance (AREA)
Abstract
本发明的一种电容检测系统的引脚夹持装置,涉及检测领域,包括基座、调节块和驱动机构,所述基座的内部设有开口向上的调节槽,所述调节槽外部的一侧设有调节机构,所述调节块的内部设有内腔,所述调节槽内部一侧的调节块与调节槽的侧壁固定连接,所述调节槽内部另一侧的调节块与调节机构固定连接,所述内腔内部的上方位置对称设有夹持机构,内腔内部的下方位置与联动机构滑动连接,所述夹持机构的下端位置与联动机构的一端活动连接,所述驱动机构的上端与联动机构活动连接,该装置测量电容的电容值时可以适应不同长度和直径的引脚,不需要测量人员用手固定和松开电容,提高了测量效率,避免了人手在与电容引脚接触后,产生的测量误差。
The present invention relates to a pin clamping device for a capacitance detection system, which relates to the field of detection and includes a base, an adjustment block and a drive mechanism. An adjustment groove with an upward opening is provided inside the base, and an adjustment groove outside the adjustment groove is provided. There is an adjustment mechanism on the side, an inner cavity is arranged inside the adjustment block, the adjustment block on one side of the adjustment groove is fixedly connected with the side wall of the adjustment groove, and the adjustment block on the other side of the adjustment groove is connected with the adjustment mechanism Fixed connection, the upper position inside the inner cavity is symmetrically provided with a clamping mechanism, the lower position inside the inner cavity is slidably connected with the linkage mechanism, the lower end position of the clamping mechanism is movably connected with one end of the linkage mechanism, the drive mechanism The upper end of the device is movably connected with the linkage mechanism. The device can adapt to pins of different lengths and diameters when measuring the capacitance value of the capacitor. It does not require the measuring personnel to fix and loosen the capacitor by hand, which improves the measurement efficiency and avoids the need for human hands to lead the capacitor with the capacitor. Measurement error after foot contact.
Description
技术领域technical field
本发明属于检测领域,具体涉及一种电容检测系统的引脚夹持装置。The invention belongs to the field of detection, and in particular relates to a pin clamping device of a capacitance detection system.
背景技术Background technique
电容的电容值是表现电容器容纳电荷本领的物理量,电容在生产过程中,产线的质量人员一般都会以一定的频率抽检电容的电容值参数,在电容经过高温试验冷却后,也需要测量其电容值来判断电容是否通过高温试验。The capacitance value of a capacitor is a physical quantity that expresses the ability of the capacitor to hold charge. During the production process of the capacitor, the quality personnel of the production line will generally check the capacitance value parameter of the capacitor at a certain frequency. After the capacitor is cooled by the high temperature test, it is also necessary to measure its capacitance value to judge whether the capacitor passes the high temperature test.
在现有技术中,在上述测量批量电容的电容值时,测量人员一般用手将电容的引脚与测量仪器的输入端固定后,再进行测量,这种方法需要不断的用手固定,再用手松开,需要花费大量的时间和精力,而且效率不高,另外,人手一般都会有静电和污染物,在与电容引脚接触后,容易产生测量误差。In the prior art, when measuring the capacitance value of bulk capacitors, the measurement personnel generally fix the pins of the capacitors with the input end of the measuring instrument by hand, and then perform the measurement. This method requires constant hand fixation, and then It takes a lot of time and energy to release it by hand, and the efficiency is not high. In addition, human hands generally have static electricity and pollutants, which are prone to measurement errors after contact with the capacitor pins.
发明内容SUMMARY OF THE INVENTION
本发明的目的在于提供一种电容检测系统的引脚夹持装置,致力于解决背景技术中的全部问题或之一。The purpose of the present invention is to provide a pin clamping device of a capacitance detection system, which is dedicated to solving all or one of the problems in the background art.
为了解决上述技术问题,本发明采用的技术方案为:一种电容检测系统的引脚夹持装置,包括基座、调节块和驱动机构,所述基座的内部设有开口向上的调节槽,基座的上表面设有按钮,所述调节槽外部的一侧设有调节机构,调节槽的底部设有矩形通槽,所述调节块与调节槽滑动连接,调节块的内部设有内腔,所述调节槽内部一侧的调节块与调节槽的侧壁固定连接,所述调节槽内部另一侧的调节块与调节机构固定连接,所述内腔的顶部设设有用于电容器引脚插入的插孔,内腔内部的上方位置对称设有夹持机构,内腔内部的下方位置与联动机构滑动连接,所述夹持机构的下端位置与联动机构的一端活动连接,所述驱动机构位于内腔的下方位置,驱动机构的上端与联动机构活动连接,驱动机构的下端与矩形通槽滑动连接,所述联动机构与按钮和夹持机构电连接。In order to solve the above-mentioned technical problems, the technical solution adopted in the present invention is: a pin clamping device of a capacitance detection system, comprising a base, an adjustment block and a driving mechanism, and an adjustment groove with an upward opening is arranged inside the base, The upper surface of the base is provided with a button, the outer side of the adjustment slot is provided with an adjustment mechanism, the bottom of the adjustment slot is provided with a rectangular through slot, the adjustment block is slidably connected with the adjustment slot, and the inside of the adjustment block is provided with an inner cavity , the adjusting block on one side of the adjusting groove is fixedly connected with the side wall of the adjusting groove, the adjusting block on the other side inside the adjusting groove is fixedly connected with the adjusting mechanism, and the top of the inner cavity is provided with pins for capacitors For the inserted jack, the upper position inside the inner cavity is symmetrically provided with a clamping mechanism, the lower position inside the inner cavity is slidably connected with the linkage mechanism, the lower end position of the clamping mechanism is movably connected with one end of the linkage mechanism, and the driving mechanism Located below the inner cavity, the upper end of the driving mechanism is movably connected with the linkage mechanism, the lower end of the driving mechanism is slidably connected with the rectangular through groove, and the linkage mechanism is electrically connected with the button and the clamping mechanism.
进一步的,所述夹持机构包括导电端头和转动柱,所述内腔内部靠近上方的位置对称设有所述的转动柱,所述转动柱的中间位置设有环形导向槽,转动柱的顶端中间位置设有缓冲腔,转动柱靠近底端的位置与转轴转动连接,所述导电端头的底部端面设有T形端头,所述T形端头与缓冲腔滑动连接,所述缓冲腔的底部设有压力传感器,所述压力传感器的受力端面与第一弹簧的一端固定连接,所述第一弹簧的另一端与T形端头的端面固定连接,所述转轴的两端与内腔的前后侧壁固定连接,所述环形导向槽与环形导向柱滑动连接,所述环形导向柱上套有拉力弹簧,所述拉力弹簧的一端与内腔的侧壁固定连接,拉力弹簧的另一端与转动柱的外表面固定连接,所述调节槽内部左侧的调节块内部的导电端头与电源正极电连接,所述调节槽内部右侧的调节块内部的导电端头与电源负极电连接。Further, the clamping mechanism includes a conductive end and a rotating column, the rotating column is symmetrically arranged at a position close to the upper part of the inner cavity, an annular guide groove is arranged in the middle of the rotating column, and the rotating column is provided with an annular guide groove. A buffer cavity is provided in the middle of the top end, the position of the rotating column close to the bottom end is rotatably connected with the rotating shaft, the bottom end face of the conductive end is provided with a T-shaped end, and the T-shaped end is slidably connected with the buffer cavity, and the buffer cavity There is a pressure sensor at the bottom of the pressure sensor, the force end surface of the pressure sensor is fixedly connected to one end of the first spring, the other end of the first spring is fixedly connected to the end surface of the T-shaped end, and the two ends of the rotating shaft are connected to the inner The front and rear side walls of the cavity are fixedly connected, the annular guide groove is slidably connected with the annular guide column, the annular guide column is sleeved with a tension spring, one end of the tension spring is fixedly connected with the side wall of the inner cavity, and the other end of the tension spring is fixedly connected. One end is fixedly connected to the outer surface of the rotating column, the conductive terminal inside the adjustment block on the left side of the adjustment groove is electrically connected to the positive pole of the power supply, and the conductive terminal inside the adjustment block on the right side of the adjustment groove is electrically connected to the negative pole of the power supply. connect.
进一步的,所述联动机构包括驱动块、锁紧杆和牵引绳,所述驱动块的中间位置设有滑孔,驱动块左右两端的前后侧面对称设有侧板,驱动块下端面对称设有第二弹簧,驱动块下方位置的左右两侧对称设有定滑轮,所述滑孔外部左右两侧对称设有空腔,所述侧板与设在内腔前后侧壁的侧边槽滑动连接,所述第二弹簧的一端与驱动块的下端面固定连接,第二弹簧的另一端与内腔的底部固定连接,所述定滑轮转动轴的两端与内腔的前后侧壁固定连接,所述牵引绳的一端与驱动块的侧端面铰接,牵引绳的另一端穿过定滑轮并与转动柱的外表面铰接,所述锁紧杆的底端与空腔滑动连接,锁紧杆的前端与驱动机构活动连接,锁紧杆的底端面与第三弹簧的一端固定连接,所述第三弹簧的另一端与空腔的底部固定连接,所述空腔的底部与电磁铁固定连接,所述电磁铁与压力传感器电连接。Further, the linkage mechanism includes a driving block, a locking rod and a traction rope, a sliding hole is provided in the middle of the driving block, side plates are symmetrically provided on the front and rear sides of the left and right ends of the driving block, and a lower end surface of the driving block is symmetrically provided. There is a second spring, fixed pulleys are symmetrically arranged on the left and right sides of the lower position of the driving block, cavities are symmetrically arranged on the left and right sides outside the sliding hole, and the side plates slide with the side grooves arranged on the front and rear side walls of the inner cavity. One end of the second spring is fixedly connected to the lower end surface of the drive block, the other end of the second spring is fixedly connected to the bottom of the inner cavity, and the two ends of the rotating shaft of the fixed pulley are fixedly connected to the front and rear side walls of the inner cavity. , one end of the traction rope is hinged with the side end surface of the drive block, the other end of the traction rope passes through the fixed pulley and is hinged with the outer surface of the rotating column, the bottom end of the locking rod is slidably connected with the cavity, and the locking rod The front end of the locking rod is movably connected with the driving mechanism, the bottom end surface of the locking rod is fixedly connected with one end of the third spring, the other end of the third spring is fixedly connected with the bottom of the cavity, and the bottom of the cavity is fixedly connected with the electromagnet , the electromagnet is electrically connected with the pressure sensor.
进一步的,所述驱动机构包括滑动杆、螺纹杆和调节螺杆,所述内腔的正下方位置设有滑动腔,所述滑动腔的左右两侧对称设有翼板槽,所述滑动杆内部的下方位置设有开口向下的螺纹孔,滑动杆内部的上方位置设有开口向上的螺纹通孔,所述螺纹孔与螺纹通孔相连通,所述滑动杆靠近上端面位置的左右对称设有锁紧槽,滑动杆与滑孔滑动连接,所述锁紧槽与锁紧杆活动连接,滑动杆底端的左右两侧对称设有翼板,所述翼板与翼板槽滑动连接,所述滑动杆位于滑动腔的部分套有第四弹簧,所述第四弹簧的上端与滑动腔的上侧壁固定连接,第四弹簧的下端与翼板的上端面固定连接,所述调节螺杆与螺纹孔螺纹连接,调节螺杆的下端穿过矩形通槽且调节螺杆的下端与矩形通槽滑动连接,调节螺杆的中轴线位置设有圆形通孔,所述螺纹杆与螺纹通孔螺纹连接,螺纹杆的上端与用于支撑电容器引脚的支撑台固定连接,螺纹杆的下端与圆形通孔滑动连接。Further, the drive mechanism includes a sliding rod, a threaded rod and an adjusting screw, a sliding cavity is provided directly below the inner cavity, and wing plate grooves are symmetrically provided on the left and right sides of the sliding cavity, and the interior of the sliding rod is provided with a sliding cavity. The lower position of the sliding rod is provided with a threaded hole with a downward opening, and the upper position inside the sliding rod is provided with a threaded through hole with an upward opening, and the threaded hole is communicated with the threaded through hole. There is a locking groove, the sliding rod is slidably connected with the sliding hole, the locking groove is movably connected with the locking rod, the left and right sides of the bottom end of the sliding rod are symmetrically provided with wings, and the wings are slidably connected with the wing groove, so The part of the sliding rod located in the sliding cavity is covered with a fourth spring, the upper end of the fourth spring is fixedly connected with the upper side wall of the sliding cavity, the lower end of the fourth spring is fixedly connected with the upper end surface of the wing plate, and the adjusting screw is connected to the upper end surface of the wing plate. The threaded hole is threadedly connected, the lower end of the adjusting screw passes through the rectangular through groove and the lower end of the adjusting screw is slidably connected with the rectangular through groove, the central axis of the adjusting screw is provided with a circular through hole, and the threaded rod is threadedly connected with the threaded through hole, The upper end of the threaded rod is fixedly connected with the support table for supporting the capacitor pins, and the lower end of the threaded rod is slidably connected with the circular through hole.
进一步的,所述调节机构包括调节杆和丝杆,所述调节槽外部的右侧位置设有调节腔,所述调节槽内部右侧调节块的前后侧壁对称设有矩形板,所述调节槽的前后侧壁设有与矩形板滑动连接的矩形槽,所述矩形板与调节块固定连接,矩形板的内部设有螺纹孔,所述丝杆与螺纹孔螺纹连接,丝杆的左端与矩形槽的左侧壁通过轴承连接,丝杆的右端穿过矩形槽的右侧壁并与从动轮键连接,所述调节杆的右端位于基座右侧,调节杆的右端穿过调节腔的左右侧壁,调节杆与调节腔的左右侧壁通过轴承连接,所述调节杆位于调节腔内部的部分与主动轮键连接,所述主动轮与从动轮啮合。Further, the adjustment mechanism includes an adjustment rod and a screw rod, an adjustment cavity is provided at the right position outside the adjustment groove, and rectangular plates are symmetrically arranged on the front and rear side walls of the right adjustment block inside the adjustment groove. The front and rear side walls of the groove are provided with a rectangular groove slidingly connected with a rectangular plate, the rectangular plate is fixedly connected with the adjusting block, the interior of the rectangular plate is provided with a threaded hole, the screw rod is threadedly connected with the screw hole, and the left end of the screw rod is connected to the threaded hole. The left side wall of the rectangular groove is connected by a bearing, the right end of the screw rod passes through the right side wall of the rectangular groove and is connected with the driven wheel key, the right end of the adjusting rod is located on the right side of the base, and the right end of the adjusting rod passes through the adjusting cavity. The left and right side walls, the adjusting rod and the left and right side walls of the adjusting cavity are connected by bearings, and the part of the adjusting rod inside the adjusting cavity is connected with the driving wheel key, and the driving wheel is engaged with the driven wheel.
进一步的,所述环形导向柱的圆心和环形导向槽的圆心均与转轴的圆心重合。Further, the circle center of the annular guide column and the circle center of the annular guide groove are both coincident with the circle center of the rotating shaft.
进一步的,所述滑孔的中轴线和插孔的中轴线重合。Further, the central axis of the sliding hole coincides with the central axis of the socket.
进一步的,所述支撑台上表面设有橡胶层。Further, the upper surface of the support table is provided with a rubber layer.
进一步的,所述基座上表面设有刻度尺,所述刻度尺与调节槽开口处的上边缘平行,所述调节槽内部右侧的调节块上朝向刻度尺的侧面设有指针。Further, a scale is provided on the upper surface of the base, the scale is parallel to the upper edge of the opening of the adjustment groove, and a pointer is provided on the side of the adjustment block on the right side of the adjustment groove facing the scale.
进一步的,所述指针固定连接在相对应的调节块靠近上表面的中心位置,所述刻度尺的零刻度线与另一个调节块上端面的插孔圆心之间的连线平行于基座的左边缘。Further, the pointer is fixedly connected to the center position of the corresponding adjustment block close to the upper surface, and the connection line between the zero scale line of the scale and the center of the socket on the upper end surface of the other adjustment block is parallel to the center of the base. left edge.
本发明有益效果是:采用本发明的一种电容检测系统的引脚夹持装置,在测量电容值之前,先通过调节机构调节两个插孔之间圆心距,使圆心距与电容的引脚间距相等,然后根据引脚长度适当调节驱动机构,使引脚在插入插孔时,能够使驱动机构正常驱动联动机构,在测量电容值时,在电容插入插孔后,通过驱动机构带动联动机构运动,进而带动驱动机构与引脚紧密接触,使测量电源与电容接通,完成测量,该装置可以适应不同长度和直径的引脚,不需要测量人员用手固定和松开电容,提高了测量效率,避免了人手在与电容引脚接触后,产生的测量误差。The beneficial effects of the present invention are: using the pin clamping device of the capacitance detection system of the present invention, before measuring the capacitance value, the center-to-center distance between the two jacks is adjusted by the adjusting mechanism, so that the center-to-center distance is the same as that of the pins of the capacitor. The distance is equal, and then the driving mechanism is appropriately adjusted according to the length of the pin, so that when the pin is inserted into the jack, the driving mechanism can normally drive the linkage mechanism. When measuring the capacitance value, after the capacitor is inserted into the jack, the linkage mechanism is driven by the driving mechanism. The device moves, and then drives the driving mechanism to be in close contact with the pins, so that the measurement power supply is connected to the capacitor, and the measurement is completed. Efficiency, avoiding the measurement error caused by the human hand in contact with the capacitor pin.
附图说明Description of drawings
下面对本说明书附图所表达的内容及图中的标记作简要说明:The following is a brief description of the content expressed in the drawings of this specification and the symbols in the drawings:
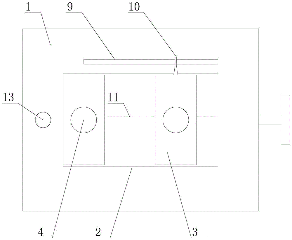
图1是本发明的具体实施方式的俯视图;1 is a top view of an embodiment of the present invention;
图2是本发明的具体实施方式的俯视剖视图;Figure 2 is a top cross-sectional view of an embodiment of the present invention;
图3是沿图2中A-A线的剖视图;Fig. 3 is a sectional view along line A-A in Fig. 2;
图4是本发明的具体实施方式的调节块的侧面剖视图;4 is a side cross-sectional view of an adjustment block according to an embodiment of the present invention;
图5是图4中夹持机构的结构示意图;Fig. 5 is the structural representation of the clamping mechanism in Fig. 4;
图6是图4中固定机构的结构示意图;Fig. 6 is the structural representation of the fixing mechanism in Fig. 4;
图7是图5中驱动块的俯视图;Fig. 7 is the top view of the driving block in Fig. 5;
图8是图4中驱动机构的结构示意图。FIG. 8 is a schematic structural diagram of the driving mechanism in FIG. 4 .
其中,1-基座、2-调节槽、3-调节块、4-插孔、5-夹持机构、6-联动机构、7-驱动机构、8-调节机构、9-刻度尺、10-指针、11-矩形通槽、12-内腔、13-按钮、14-检测样本、51-导电端头、52-缓冲腔、53-第一弹簧、54-压力传感器、55-转动柱、56-环形导向槽、57-环形导向柱、58-拉力弹簧、59-转轴、61-驱动块、62-定滑轮、63-第二弹簧、64-滑孔、65-侧边槽、66-锁紧杆、67-第三弹簧、68-电磁铁、69-空腔、610-牵引绳、611-侧板、71-滑动杆、72-螺纹杆、73-螺纹通孔、74-支撑台、75-锁紧槽、76-第四弹簧、77-翼板、78-滑动腔、79-翼板槽、710-调节螺杆、711-圆形通孔、712-螺纹孔、81-调节杆、82-调节腔、83-主动轮、85-丝杆、86-矩形板、87-螺纹孔、88-矩形槽、89-限位板。Among them, 1-base, 2-adjustment groove, 3-adjustment block, 4-socket, 5-clamping mechanism, 6-linkage mechanism, 7-drive mechanism, 8-adjustment mechanism, 9-scale, 10- Pointer, 11-rectangular through slot, 12-inner cavity, 13-button, 14-test sample, 51-conductive end, 52-buffer cavity, 53-first spring, 54-pressure sensor, 55-rotating column, 56 -Annular guide groove, 57-ring guiding post, 58-tension spring, 59-rotating shaft, 61-driving block, 62-fixed pulley, 63-second spring, 64-sliding hole, 65-side groove, 66-lock Tightening rod, 67-third spring, 68-electromagnet, 69-cavity, 610-traction rope, 611-side plate, 71-slide rod, 72-threaded rod, 73-threaded through hole, 74-support table, 75-Lock groove, 76-Fourth spring, 77-Wing plate, 78-Sliding cavity, 79-Wing plate groove, 710-Adjusting screw, 711-Circular through hole, 712-Threaded hole, 81-Adjusting rod, 82-adjustment cavity, 83-drive wheel, 85-screw rod, 86-rectangular plate, 87-threaded hole, 88-rectangular groove, 89-limiting plate.
具体实施方式Detailed ways
下面通过对实施例的描述,本发明的具体实施方式如所涉及的各构件的形状、构造、各部分之间的相互位置及连接关系、各部分的作用及工作原理、制造工艺及操作使用方法等,作进一步详细的说明,以帮助本领域技术人员对本发明的发明构思、技术方案有更完整、准确和深入的理解。The following describes the embodiments of the present invention, such as the shape and structure of each component involved, the mutual position and connection relationship between each part, the function and working principle of each part, the manufacturing process and the operation and use method. etc., further detailed descriptions are provided to help those skilled in the art to have a more complete, accurate and in-depth understanding of the inventive concept and technical solutions of the present invention.
如图1至图8所示,一种电容检测系统的引脚夹持装置,包括基座1、调节块3和驱动机构7,所述基座1的内部设有开口向上的调节槽2,基座1的上表面设有按钮13,所述调节槽2外部的一侧设有调节机构8,调节槽2的底部设有矩形通槽11,所述调节块3与调节槽2滑动连接,调节块3的内部设有内腔12,所述调节槽2内部一侧的调节块3与调节槽2的侧壁固定连接,所述调节槽2内部另一侧的调节块3与调节机构8固定连接,所述内腔12的顶部设设有用于电容器引脚插入的插孔4,内腔12内部的上方位置对称设有夹持机构5,内腔12内部的下方位置与联动机构6滑动连接,所述夹持机构5的下端位置与联动机构6的一端活动连接,所述驱动机构7位于内腔12的下方位置,驱动机构7的上端与联动机构6活动连接,驱动机构7的下端与矩形通槽11滑动连接,所述联动机构6与按钮13和夹持机构5电连接。As shown in Figures 1 to 8, a pin clamping device of a capacitance detection system includes a
在本实施例中,所述夹持机构5包括导电端头51和转动柱55,所述内腔12内部靠近上方的位置对称设有所述的转动柱55,所述转动柱55的中间位置设有环形导向槽56,转动柱55的顶端中间位置设有缓冲腔52,转动柱55靠近底端的位置与转轴59转动连接,所述导电端头51的底部端面设有T形端头,所述T形端头与缓冲腔52滑动连接,所述缓冲腔52的底部设有压力传感器54,所述压力传感器54的受力端面与第一弹簧53的一端固定连接,所述第一弹簧53的另一端与T形端头的端面固定连接,所述转轴59的两端与内腔12的前后侧壁固定连接,所述环形导向槽56与环形导向柱57滑动连接,所述环形导向柱57上套有拉力弹簧58,所述拉力弹簧58的一端与内腔12的侧壁固定连接,拉力弹簧58的另一端与转动柱55的外表面固定连接,所述调节槽2内部左侧的调节块3内部的导电端头51与电源正极电连接,所述调节槽2内部右侧的调节块3内部的导电端头51与电源负极电连接,在电容的引脚通过插孔4逐渐插入到内腔12中时,需要将引脚逐渐夹持固定,并在引脚完全插入到内腔12中后,将引脚完全固定并与测量的电源连接。当电容引脚完全插入内腔12中时,在联动机构6的带动下,通过夹持机构5使夹持机构5中的导电端头51与电容的引脚紧密接触连接并实现与测量电源的电性连接,从而完成测量电容值的过程。In this embodiment, the
在本实施例中,所述联动机构6包括驱动块61、锁紧杆66和牵引绳610,所述驱动块61的中间位置设有滑孔64,驱动块61左右两端的前后侧面对称设有侧板611,驱动块61下端面对称设有第二弹簧63,驱动块61下方位置的左右两侧对称设有定滑轮62,所述滑孔64外部左右两侧对称设有空腔69,所述侧板611与设在内腔12前后侧壁的侧边槽65滑动连接,所述第二弹簧63的一端与驱动块61的下端面固定连接,第二弹簧63的另一端与内腔12的底部固定连接,所述定滑轮62转动轴的两端与内腔12的前后侧壁固定连接,所述牵引绳610的一端与驱动块61的侧端面铰接,牵引绳610的另一端穿过定滑轮62并与转动柱55的外表面铰接,所述锁紧杆66的底端与空腔69滑动连接,锁紧杆66的前端与驱动机构7活动连接,锁紧杆66的底端面与第三弹簧67的一端固定连接,所述第三弹簧67的另一端与空腔69的底部固定连接,所述空腔69的底部与电磁铁68固定连接,所述电磁铁68与压力传感器54电连接。由于夹持机构5需要从外部获取提供固定和电容引脚的动力,本装置的唯一动力是电容引脚插入内腔12后推动驱动机构7向下移动的作用力,通过联动机构6,在电容引脚插入内腔12时,联动机构6的锁紧杆66位于驱动机构7的内部并与驱动机构7运动状态相同,这时一方面为夹持机构5提供固定电容引脚的作用力,另一方面给第二弹簧63储能,在电容测量完成后,联动机构6与驱动机构7分离,在联动机构6中第二弹簧63储存的弹簧力作用下,使固定机构5松开电容引脚。联动机构6的作用主要是为夹持机构5提供夹持引脚和松开引脚的动力。In this embodiment, the
在本实施例中,所述驱动机构7包括滑动杆71、螺纹杆72和调节螺杆710,所述内腔12的正下方位置设有滑动腔78,所述滑动腔78的左右两侧对称设有翼板槽79,所述滑动杆71内部的下方位置设有开口向下的螺纹孔712,滑动杆71内部的上方位置设有开口向上的螺纹通孔73,所述螺纹孔712与螺纹通孔73相连通,所述滑动杆71靠近上端面位置的左右对称设有锁紧槽75,滑动杆71与滑孔64滑动连接,所述锁紧槽75与锁紧杆66活动连接,滑动杆71底端的左右两侧对称设有翼板77,所述翼板77与翼板槽79滑动连接,所述滑动杆71位于滑动腔78的部分套有第四弹簧76,所述第四弹簧76的上端与滑动腔78的上侧壁固定连接,第四弹簧76的下端与翼板77的上端面固定连接,所述调节螺杆710与螺纹孔712螺纹连接,调节螺杆710的下端穿过矩形通槽11且调节螺杆710的下端与矩形通槽11滑动连接,调节螺杆710的中轴线位置设有圆形通孔711,所述螺纹杆72与螺纹通孔73螺纹连接,螺纹杆72的上端与用于支撑电容器引脚的支撑台74固定连接,螺纹杆72的下端与圆形通孔711滑动连接,另外由于电容的引脚长短不同,由于电容插入内腔12时,需要从该插入过程中获取驱动联动机构6的驱动力,如果需要获取足够的驱动力,获取驱动力的装置应与电容的引脚长度相适应,通过驱动机构7,在适应不同引脚长度的基础上可以为联动机构6提供足够的驱动力。In this embodiment, the
在本实施例中,所述调节机构8包括调节杆81和丝杆85,所述调节槽2外部的右侧位置设有调节腔82,所述调节槽2内部右侧调节块3的前后侧壁对称设有矩形板86,所述调节槽2的前后侧壁设有与矩形板86滑动连接的矩形槽88,所述矩形板86与调节块3固定连接,矩形板86的内部设有螺纹孔87,所述丝杆85与螺纹孔87螺纹连接,丝杆85的左端与矩形槽88的左侧壁通过轴承连接,丝杆85的右端穿过矩形槽88的右侧壁并与从动轮键连接,所述调节杆81的右端位于基座1右侧,调节杆81的右端穿过调节腔82的左右侧壁,调节杆81与调节腔82的左右侧壁通过轴承连接,所述调节杆81位于调节腔82内部的部分与主动轮83键连接,所述主动轮83与从动轮啮合,由于电容引脚间距不同,通过调节机构适应不同类型的电容引脚间距的变化,使整个夹持装置可以测量各种不同类型的电容。In this embodiment, the
在本实施例中,所述环形导向柱57的圆心和环形导向槽56的圆心均与转轴59的圆心重合,使转动柱55正常在环形导向柱57上滑动,环形导向柱57对转动柱55起到定位导向支撑的作用。In this embodiment, the center of the
在本实施例中,所述滑孔64的中轴线和插孔4的中轴线重合,使电容引脚顺利插入内腔12中。In this embodiment, the central axis of the sliding
在本实施例中,所述支撑台74上表面设有橡胶层,由于电容引脚的顶端在插入内腔12后与支撑台74接触,通过橡胶层对电容引脚的顶端起到保护的作用。In this embodiment, the upper surface of the support table 74 is provided with a rubber layer. Since the top of the capacitor pin contacts with the support table 74 after being inserted into the
在本实施例中,所述基座1上表面设有刻度尺9,所述刻度尺9与调节槽2开口处的上边缘平行,所述调节槽2内部右侧的调节块3上朝向刻度尺9的侧面设有指针10,通过刻度尺9和指针10方便调节两个调节块3之间的距离,使调节块3之间的距离适应电容引脚的间距。In this embodiment, a
此外,所述指针10固定连接在相对应的调节块3靠近上表面的中心位置,所述刻度尺9的零刻度线与另一个调节块3上端面的插孔4圆心之间的连线平行于基座1的左边缘,用来方便测量人员在调节调节块3之间的间距时观察间距。In addition, the
工作过程及原理:在测量电容容值之前,首先根据检测样本14的引脚间距调整插孔4的中心距,调整的过程是:手动转动调节杆81,调节杆81通过主动轮83带动从动轮转动,进而带动丝杆85转动,由于丝杆与螺纹孔87螺纹连接,进而通过矩形板86带动相对应的调节块3在矩形槽88上移动,此时观察指针10在刻度尺9上的位置,当指针10所指的刻度尺9上的刻度与检测样本14的引脚间距相等时,停止转动调节杆81。完成后,在将检测样本14通过插孔4插入到内腔12中,检测样本14的引脚在插入过程中,可能会出现如下情况:当检测样本14的引脚完全插入到内腔12中时,当检测样本14的引脚接触到支撑台74后,通过调节螺杆710,带动滑动杆71克服第四弹簧76的弹力在滑动腔78内向下移动,同时翼板77在翼板槽79内移动,保证滑动杆71不会转动,在滑动杆71向下移动过程中,由于锁紧杆66位于锁紧槽75内部,因此,滑动杆77带动驱动块61克服第二弹簧63的推力沿着侧边槽65向内腔12的下部移动,由于驱动块61向下移动,牵引绳610将会有趋于松弛的状态,这时在拉力弹簧58的拉力作用下,使转动柱55向上沿着环形导向柱57转动,当导电端头51开始对引脚夹持时,导电端头51会对第一弹簧53进行压缩,这时压力传感器54的压力值会随着第一弹簧53的压缩而升高,当引脚完全插入到内腔12中后,压力传感器54感受到的压力值维持不便,在测量电容时,为保证导电端头51与引脚紧密接触,保证通电的稳定性,同时需要兼顾导电端头51对引脚的压力不能过大,压力过大会造成引脚的损伤,因此压力传感器54设有一个阈值,当检测样本14完全插入到内腔12中后,如果压力传感器54感受的阈值未超过压力阈值,说明导电端头51对检测样本14的引脚压力不足,此时拧动调节螺杆710,使其带动滑动杆71向下移动,这时就会通过联动机构6带动导电端头对检测样本14的引脚施加压力,当所施加的压力达到压力传感器54的阈值时,停止调节调节螺杆710,如果压力传感器54感受的阈值超过压力阈值,使调节螺杆710反转,直到压力传感器54感受到的压力达到阈值;当检测样本14的引脚完全插入到内腔12中时,引脚还是无法触碰到支撑台74,这时,首先通过转动螺纹杆72,使螺纹杆72带动支撑台74触碰到引脚,这时联动机构6还是无法向下移动,从而无法使夹持机构5对引脚形成夹持固定作用,此时将检测样本14拿出,再次通过螺纹杆72使支撑台面继续向上提高适当距离,然后再次将检测样本14插入到内腔12中,使夹持机构5对引脚形成夹持作用,这时再通过调节螺杆710调整压力传感器54的压力。调节完成后,将待测的电容器引脚通过插孔4插入到内腔12中进行测量,当测量完毕后,按下按钮14,这时电磁铁68得电产生磁力,对锁紧杆66产生吸力,使其克服第三弹簧67的弹力向靠近电磁铁68的方向移动,当锁紧杆66完全脱离锁紧槽75时,在第二弹簧63的拉力下,将会带动驱动块61向内腔12的上方移动,从而使导电端头51松开电容器的引脚,这时松开按钮13后取出测量好的电容器,在松开按钮13时,电磁铁68失电,锁紧杆66在第三弹簧67的推力下与滑动杆71的表面接触,当取出电容器后,在第四弹簧76的弹力下,滑动杆71向上移动,在移动过程中,当锁紧槽75与锁紧杆66正对时,锁紧杆66在第三弹簧67的作用下,移动到锁紧槽75中,完成后,在测量下一个电容器。Working process and principle: Before measuring the capacitance value, first adjust the center distance of the
基于上述,采用本发明的一种电容检测系统的引脚夹持装置,在测量电容值之前,先通过调节机构调节两个插孔之间圆心距,使圆心距与电容的引脚间距相等,然后根据引脚长度适当调节驱动机构,使引脚在插入插孔时,能够使驱动机构正常驱动联动机构,在测量电容值时,在电容插入插孔后,通过驱动机构带动联动机构运动,进而带动驱动机构与引脚紧密接触,使测量电源与电容接通,完成测量,该装置可以适应不同长度和直径的引脚,不需要测量人员用手固定和松开电容,提高了测量效率,避免了人手在与电容引脚接触后,产生的测量误差。Based on the above, using the pin clamping device of a capacitance detection system of the present invention, before measuring the capacitance value, the center-to-center distance between the two jacks is adjusted by the adjustment mechanism, so that the center-to-center distance is equal to the distance between the pins of the capacitor, Then adjust the drive mechanism appropriately according to the length of the pin, so that when the pin is inserted into the jack, the drive mechanism can normally drive the linkage mechanism. When measuring the capacitance value, after the capacitor is inserted into the jack, the linkage mechanism is driven by the drive mechanism to move, and then Drive the drive mechanism to be in close contact with the pins, so that the measurement power supply is connected to the capacitor, and the measurement is completed. The device can adapt to pins of different lengths and diameters, and does not require the measurement personnel to fix and loosen the capacitor by hand, which improves the measurement efficiency and avoids the need for The measurement error caused by the human hand in contact with the capacitor pin is eliminated.
上面对本发明进行了示例性描述,显然本发明具体实现并不受上述方式的限制,只要采用了本发明的方法构思和技术方案进行的各种非实质性的改进,或未经改进将本发明的构思和技术方案直接应用于其它场合的,均在本发明的保护范围之内。本发明的保护范围应该以权利要求书所限定的保护范围为准。The present invention has been exemplarily described above, and it is obvious that the specific implementation of the present invention is not limited by the above-mentioned manner, as long as various insubstantial improvements made by the method concept and technical solution of the present invention are adopted, or the present invention is not improved without improvement. It is within the protection scope of the present invention that the ideas and technical solutions of the invention are directly applied to other occasions. The protection scope of the present invention should be based on the protection scope defined by the claims.
Claims (9)
Priority Applications (1)
| Application Number | Priority Date | Filing Date | Title |
|---|---|---|---|
| CN201811249454.7A CN109374932B (en) | 2018-10-25 | 2018-10-25 | Pin clamping device of capacitance detection system |
Applications Claiming Priority (1)
| Application Number | Priority Date | Filing Date | Title |
|---|---|---|---|
| CN201811249454.7A CN109374932B (en) | 2018-10-25 | 2018-10-25 | Pin clamping device of capacitance detection system |
Publications (2)
| Publication Number | Publication Date |
|---|---|
| CN109374932A CN109374932A (en) | 2019-02-22 |
| CN109374932B true CN109374932B (en) | 2020-11-06 |
Family
ID=65401945
Family Applications (1)
| Application Number | Title | Priority Date | Filing Date |
|---|---|---|---|
| CN201811249454.7A Active CN109374932B (en) | 2018-10-25 | 2018-10-25 | Pin clamping device of capacitance detection system |
Country Status (1)
| Country | Link |
|---|---|
| CN (1) | CN109374932B (en) |
Families Citing this family (7)
| Publication number | Priority date | Publication date | Assignee | Title |
|---|---|---|---|---|
| CN110320390B (en) * | 2019-08-08 | 2021-12-10 | 深圳市研测科技有限公司 | Clamping tool for pin protection type diode test |
| CN114236370B (en) * | 2021-11-11 | 2023-08-29 | 国网湖北省电力有限公司直流运检公司 | Capacitor capacity value detection device for flexible direct-current transmission converter valve submodule |
| CN116165409B (en) * | 2023-04-21 | 2023-06-30 | 深圳市国王科技有限公司 | Automatic withstand voltage test machine of nano-capacitor |
| CN117110669B (en) * | 2023-10-23 | 2024-01-05 | 中规院城市更新(山东)有限公司 | Current measuring device for circuit inspection |
| CN117697658B (en) * | 2023-12-21 | 2025-11-21 | 安徽蓝锐电子科技有限公司 | Molding fixture |
| CN117848534B (en) * | 2024-03-05 | 2024-05-31 | 无锡众测传感器技术有限公司 | Thermosensitive sensor, pin processing mechanism and detection device |
| CN120177841B (en) * | 2025-05-22 | 2025-07-22 | 南通江海储能技术有限公司 | A lithium capacitor SOC detection device and method |
Citations (8)
| Publication number | Priority date | Publication date | Assignee | Title |
|---|---|---|---|---|
| US6449167B1 (en) * | 2000-10-13 | 2002-09-10 | Arthur F. Seymour | Method and apparatus for building and testing electronic circuits |
| CN106199207A (en) * | 2016-07-15 | 2016-12-07 | 吴江佳亿电子科技有限公司 | A kind of high-voltage ceramic capacitor capacitance measuring tester adapting to different wire length |
| CN206248695U (en) * | 2016-12-14 | 2017-06-13 | 益阳艾华富贤电子有限公司 | A kind of vertical SMD aluminium electrolutic capacitor high temperature load experiment tool |
| CN206420909U (en) * | 2016-12-30 | 2017-08-18 | 天津威斯康电能补偿系统有限公司 | A kind of capacitor voltage withstanding test platform automatic lifting termination |
| CN107750097A (en) * | 2017-11-24 | 2018-03-02 | 天津美森电子有限公司 | A kind of digital pin welding clamping device |
| CN207571212U (en) * | 2017-11-24 | 2018-07-03 | 长兴衡鑫仪表科技有限公司 | A kind of axial legs capacitance detecting platform |
| CN207882395U (en) * | 2018-03-12 | 2018-09-18 | 厦门广汇田电子设备有限公司 | A kind of charactron universal test tooling |
| CN207982091U (en) * | 2018-03-14 | 2018-10-19 | 浙江索特电气有限公司 | A kind of spring self-lock formula stamping die |
Family Cites Families (1)
| Publication number | Priority date | Publication date | Assignee | Title |
|---|---|---|---|---|
| US9857394B2 (en) * | 2013-10-04 | 2018-01-02 | Microchip Technology Incorporated | Multiple channel capacitive voltage divider scanning method and apparatus |
-
2018
- 2018-10-25 CN CN201811249454.7A patent/CN109374932B/en active Active
Patent Citations (8)
| Publication number | Priority date | Publication date | Assignee | Title |
|---|---|---|---|---|
| US6449167B1 (en) * | 2000-10-13 | 2002-09-10 | Arthur F. Seymour | Method and apparatus for building and testing electronic circuits |
| CN106199207A (en) * | 2016-07-15 | 2016-12-07 | 吴江佳亿电子科技有限公司 | A kind of high-voltage ceramic capacitor capacitance measuring tester adapting to different wire length |
| CN206248695U (en) * | 2016-12-14 | 2017-06-13 | 益阳艾华富贤电子有限公司 | A kind of vertical SMD aluminium electrolutic capacitor high temperature load experiment tool |
| CN206420909U (en) * | 2016-12-30 | 2017-08-18 | 天津威斯康电能补偿系统有限公司 | A kind of capacitor voltage withstanding test platform automatic lifting termination |
| CN107750097A (en) * | 2017-11-24 | 2018-03-02 | 天津美森电子有限公司 | A kind of digital pin welding clamping device |
| CN207571212U (en) * | 2017-11-24 | 2018-07-03 | 长兴衡鑫仪表科技有限公司 | A kind of axial legs capacitance detecting platform |
| CN207882395U (en) * | 2018-03-12 | 2018-09-18 | 厦门广汇田电子设备有限公司 | A kind of charactron universal test tooling |
| CN207982091U (en) * | 2018-03-14 | 2018-10-19 | 浙江索特电气有限公司 | A kind of spring self-lock formula stamping die |
Also Published As
| Publication number | Publication date |
|---|---|
| CN109374932A (en) | 2019-02-22 |
Similar Documents
| Publication | Publication Date | Title |
|---|---|---|
| CN109374932B (en) | Pin clamping device of capacitance detection system | |
| CN109085393B (en) | Capacitance detection and clamping device for capacitance | |
| CN109358210B (en) | Automatic clamping device of capacitance detection system | |
| CN111470241A (en) | Height Adjuster Durability MSA Tester | |
| CN214010503U (en) | Metering device for irregular surface | |
| CN219607873U (en) | Steel tape verification platform machine | |
| CN216657722U (en) | Universal tool for testing electronic test equipment | |
| CN116520000A (en) | Resistance imitating battery appearance and testing jig thereof | |
| CN115143911A (en) | Semiconductor device measuring device | |
| CN210981148U (en) | Simple and easy detection device of precision machine part | |
| CN209570105U (en) | A mechanical workpiece diagonal detection device | |
| CN115420165A (en) | A diameter inspection tool suitable for semiconductor components | |
| CN210834754U (en) | A vibrating plate electrode connector | |
| CN221959439U (en) | A device for measuring shape deviation of elliptical head | |
| CN114963942A (en) | An improved motor stator and rotor air gap measurement tool | |
| CN217688182U (en) | Novel carton resistance to compression detects machine | |
| CN221959405U (en) | Cylindric part external diameter detection device | |
| CN216309423U (en) | Bearing seat detection device | |
| CN219694749U (en) | A precision injection molded part measuring device | |
| CN218727635U (en) | Multi-gear grounding resistance adjusting test device | |
| CN222689808U (en) | Magnetic attraction test rack | |
| CN206131917U (en) | Location degree detection tool | |
| CN218675030U (en) | Vehicle speed detection device | |
| CN223611584U (en) | An electrical kit | |
| CN213633611U (en) | Resistance value measuring device |
Legal Events
| Date | Code | Title | Description |
|---|---|---|---|
| PB01 | Publication | ||
| PB01 | Publication | ||
| SE01 | Entry into force of request for substantive examination | ||
| SE01 | Entry into force of request for substantive examination | ||
| GR01 | Patent grant | ||
| GR01 | Patent grant | ||
| PE01 | Entry into force of the registration of the contract for pledge of patent right | ||
| PE01 | Entry into force of the registration of the contract for pledge of patent right |
Denomination of invention: A pin clamping device for a capacitance detection system Granted publication date: 20201106 Pledgee: China Postal Savings Bank Limited by Share Ltd. Linquan branch Pledgor: ANHUI LINQUAN KANGYUE ELECTRONIC TECHNOLOGY Co.,Ltd. Registration number: Y2025980036784 |
