CN108655143B - A medical test tube drying and cleaning integrated device - Google Patents

A medical test tube drying and cleaning integrated device Download PDF

Info

Publication number
CN108655143B
CN108655143B CN201810524274.9A CN201810524274A CN108655143B CN 108655143 B CN108655143 B CN 108655143B CN 201810524274 A CN201810524274 A CN 201810524274A CN 108655143 B CN108655143 B CN 108655143B
Authority
CN
China
Prior art keywords
side wall
box body
rod
rotating
wall
Prior art date
Legal status (The legal status is an assumption and is not a legal conclusion. Google has not performed a legal analysis and makes no representation as to the accuracy of the status listed.)
Expired - Fee Related
Application number
CN201810524274.9A
Other languages
Chinese (zh)
Other versions
CN108655143A (en
Inventor
蒋大勇
张敬春
Current Assignee (The listed assignees may be inaccurate. Google has not performed a legal analysis and makes no representation or warranty as to the accuracy of the list.)
Southwest Medical University
Original Assignee
Southwest Medical University
Priority date (The priority date is an assumption and is not a legal conclusion. Google has not performed a legal analysis and makes no representation as to the accuracy of the date listed.)
Filing date
Publication date
Application filed by Southwest Medical University filed Critical Southwest Medical University
Priority to CN201810524274.9A priority Critical patent/CN108655143B/en
Publication of CN108655143A publication Critical patent/CN108655143A/en
Application granted granted Critical
Publication of CN108655143B publication Critical patent/CN108655143B/en
Expired - Fee Related legal-status Critical Current
Anticipated expiration legal-status Critical

Links

Images

Classifications

    • BPERFORMING OPERATIONS; TRANSPORTING
    • B08CLEANING
    • B08BCLEANING IN GENERAL; PREVENTION OF FOULING IN GENERAL
    • B08B9/00Cleaning hollow articles by methods or apparatus specially adapted thereto
    • B08B9/08Cleaning containers, e.g. tanks
    • B08B9/20Cleaning containers, e.g. tanks by using apparatus into or on to which containers, e.g. bottles, jars, cans are brought
    • B08B9/36Cleaning containers, e.g. tanks by using apparatus into or on to which containers, e.g. bottles, jars, cans are brought the apparatus cleaning by using brushes
    • BPERFORMING OPERATIONS; TRANSPORTING
    • B08CLEANING
    • B08BCLEANING IN GENERAL; PREVENTION OF FOULING IN GENERAL
    • B08B13/00Accessories or details of general applicability for machines or apparatus for cleaning
    • FMECHANICAL ENGINEERING; LIGHTING; HEATING; WEAPONS; BLASTING
    • F26DRYING
    • F26BDRYING SOLID MATERIALS OR OBJECTS BY REMOVING LIQUID THEREFROM
    • F26B21/00Arrangements or duct systems, e.g. in combination with pallet boxes, for supplying and controlling air or gases for drying solid materials or objects
    • F26B21/001Drying-air generating units, e.g. movable, independent of drying enclosure
    • FMECHANICAL ENGINEERING; LIGHTING; HEATING; WEAPONS; BLASTING
    • F26DRYING
    • F26BDRYING SOLID MATERIALS OR OBJECTS BY REMOVING LIQUID THEREFROM
    • F26B21/00Arrangements or duct systems, e.g. in combination with pallet boxes, for supplying and controlling air or gases for drying solid materials or objects
    • F26B21/004Nozzle assemblies; Air knives; Air distributors; Blow boxes
    • FMECHANICAL ENGINEERING; LIGHTING; HEATING; WEAPONS; BLASTING
    • F26DRYING
    • F26BDRYING SOLID MATERIALS OR OBJECTS BY REMOVING LIQUID THEREFROM
    • F26B9/00Machines or apparatus for drying solid materials or objects at rest or with only local agitation; Domestic airing cupboards
    • F26B9/04Machines or apparatus for drying solid materials or objects at rest or with only local agitation; Domestic airing cupboards in presses or clamping devices

Landscapes

  • Engineering & Computer Science (AREA)
  • Mechanical Engineering (AREA)
  • General Engineering & Computer Science (AREA)
  • Sampling And Sample Adjustment (AREA)

Abstract

本发明公开了一种医疗用试管干燥清洗一体装置,包括箱体,所述箱体为中空结构,所述箱体的一侧内壁通过第一转动件转动连接有横向设置的安装杆,所述安转杆远离第一转动件的一端横向设有转杆,且转杆贯穿箱体的侧壁设置,所述安装杆的侧壁固定连接有多个竖直设置的固定座,所述固定座的两侧侧壁均设有凹槽,且凹槽的侧壁通过多个弹簧连接有竖直设置的夹板,两个所述夹板之间竖直设有试管,所述箱体中横向设有承载板,且承载板位于转杆的下方设置,所述承载板的两侧侧壁均通过竖直设置的伸缩杆与箱体的下端内壁连接。本发明可实现医疗用试管的自动清洗和干燥,减少医务人员的工作量,提高清洗的效率。

Figure 201810524274

The invention discloses an integrated device for drying and cleaning medical test tubes, comprising a box body, wherein the box body is a hollow structure, and an inner wall of one side of the box body is rotatably connected with a laterally arranged installation rod through a first rotating member. One end of the mounting rod away from the first rotating member is laterally provided with a rotating rod, and the rotating rod is arranged through the side wall of the box body. The side wall of the mounting rod is fixedly connected with a plurality of vertically arranged fixing seats. There are grooves on both side walls of the groove, and the side walls of the groove are connected with a vertically arranged splint through a plurality of springs, a test tube is vertically arranged between the two splints, and the box is horizontally provided with The bearing plate is arranged below the rotating rod, and both side walls of the bearing plate are connected to the inner wall of the lower end of the box body through vertically arranged telescopic rods. The invention can realize the automatic cleaning and drying of the medical test tube, reduce the workload of medical personnel, and improve the cleaning efficiency.

Figure 201810524274

Description

Medical treatment is with integrative device of dry washing of test tube
Technical Field
The invention relates to the technical field of medical equipment, in particular to a medical test tube drying and cleaning integrated device.
Background
Test tubes, instruments commonly used in chemical laboratories, which are used as reaction vessels for small amounts of reagents, are used at normal temperature or under heating (the test tubes should be preheated before heating, otherwise the test tubes are prone to burst), and are classified into various types, such as ordinary test tubes, test tubes with a support, centrifugal test tubes, etc., the specification of the ordinary test tubes is expressed by the outer diameter x the length, the test tubes have many uses, such as containing liquid or solid reagents, heating a small amount of solid or liquid, dissolving a small amount of gas, liquid or solid solutes, etc., and the fields of application of the test tubes are wide, wherein in the medical field, the test tubes can contain blood or detection liquid medicine to be assayed, because the test tubes are used for many times, the test tubes are cleaned after each use, the current test tubes are cleaned by manually brushing the brushes, and then the test tubes are placed in a drying oven to be dried after brushing, which not only increases the workload of medical staff, but also reduces the cleaning efficiency by performing two steps, therefore, the medical test tube drying and cleaning integrated device is provided to solve the problems.
Disclosure of Invention
The invention aims to solve the problems that the work load of medical staff is increased and the cleaning efficiency is reduced by performing two steps in order to solve the problems that the test tube is cleaned by a brush or manually and then placed in a drying box for drying after being cleaned in the prior art, so that the cleaning efficiency is reduced.
In order to achieve the purpose, the invention adopts the following technical scheme:
the utility model provides a dry integrative device that washs of test tube for medical treatment, includes the box, the box is hollow structure, one side inner wall of box rotates through first rotating member to be connected with the mounting panel of horizontal setting, the one end that first rotating member was kept away from to the mounting panel transversely is equipped with the bull stick, and the bull stick runs through the lateral wall setting of box, the fixing base of a plurality of vertical settings of lateral wall fixedly connected with of mounting panel, the both sides lateral wall of fixing base all is equipped with the recess, and the lateral wall of recess has the splint of vertical setting through a plurality of spring coupling, two vertically be equipped with the test tube between the splint, transversely be equipped with the loading board in the box, and the below setting that the loading board is located the mounting panel, the both sides lateral wall of loading board all is connected with the lower extreme inner wall of box through the telescopic link of vertical setting, upper end one side lateral wall of loading board is equipped with driving motor, and another lateral wall of upper end of loading board rotates through the second and is connected with the drive that matches with driving motor's output shaft The lateral wall of the driving shaft is sleeved with a plurality of first bevel gears, the lateral wall of the upper end of the bearing plate is rotatably connected with a plurality of vertically arranged rotating shafts through a third rotating member, the lateral wall of each rotating shaft is sleeved with a second bevel gear matched with the first bevel gear, one end of each rotating shaft, far away from the third rotating member, is provided with a brush, the brushes are arranged in test tubes, the lateral wall of the upper end of the bearing plate is also vertically provided with a plurality of water pipes, the upper ends of the water pipes extend into the test tubes, the lateral wall of the lower end of the bearing plate is fixedly connected with a pressure tank, the water pipes are communicated with the pressure tank, the inner wall of the upper end of the box body is provided with a shell, the shell is of a hollow structure, resistance wires are transversely arranged in the shell, the lateral wall of the lower end of the shell is provided with a plurality of ventilation openings, the ventilation openings are arranged above the test tubes, fans are arranged in the plurality of ventilation openings, and the rotating rods are of hollow structures, the inner wall of bull stick rotates through the fourth and is connected with the worm that transversely sets up, and the one end that the fourth rotated piece was kept away from to the worm runs through the lateral wall setting of bull stick, the both sides inner wall of bull stick all rotates the threaded rod that is connected with vertical setting through the fifth, and two threaded rods are located the both sides of worm respectively, two the one end that the fifth rotated piece was kept away from to the threaded rod all is equipped with the worm wheel that matches with the worm, two the lateral wall of threaded rod all overlaps and is equipped with the nut rather than matching, and the vertical kelly that is equipped with of lateral wall of nut, the kelly runs through the lateral wall setting of bull stick, the lateral wall of box is equipped with the draw-in groove that matches with the kelly.
Preferably, one side lateral wall of loading board transversely is equipped with first connecting rod, the open slot has been seted up to the lateral wall of box, and first connecting rod runs through the open slot setting, is located the box outside first connecting rod one end is equipped with and pushes away the handle.
Preferably, the lateral wall of the bearing plate far away from the first connecting rod is transversely provided with a second connecting rod, the inner wall of the box body close to the second connecting rod is provided with a sliding groove, and the second connecting rod is connected with the sliding groove in a sliding mode through a sliding block.
Preferably, a crank is arranged at one end of the rotating rod positioned outside the box body.
Preferably, the lateral wall of splint is equipped with the rubber pad, and the rubber pad is located between splint and the test tube.
Preferably, the worm located on the outer side of the rotating rod is wrapped with a sponge protective sleeve.
Preferably, the side wall of the lower end of the box body is provided with a plurality of water drainage holes.
The device can realize the integrated cleaning of the test tube by arranging the cleaning device and the drying device together, simplify the process and save the time, can save physical strength by manually driving the brush to scrub the test tube back and forth, can improve the cleaning cleanliness by driving the brush to rotate through the driving motor, ensures the scrubbing to be more thorough, can realize the drying of the test tube by turning over the test tube to align the test tube opening to the fan after the cleaning is finished, and can simultaneously clean and dry a plurality of test tubes, thereby not only reducing the workload of medical staff, but also improving the working efficiency.
Drawings
FIG. 1 is a schematic structural diagram of an integrated device for drying and cleaning medical test tubes according to the present invention;
FIG. 2 is a schematic view of the structure at A in FIG. 1;
FIG. 3 is a schematic view of the structure at B in FIG. 1;
FIG. 4 is a schematic view of the structure at C in FIG. 1
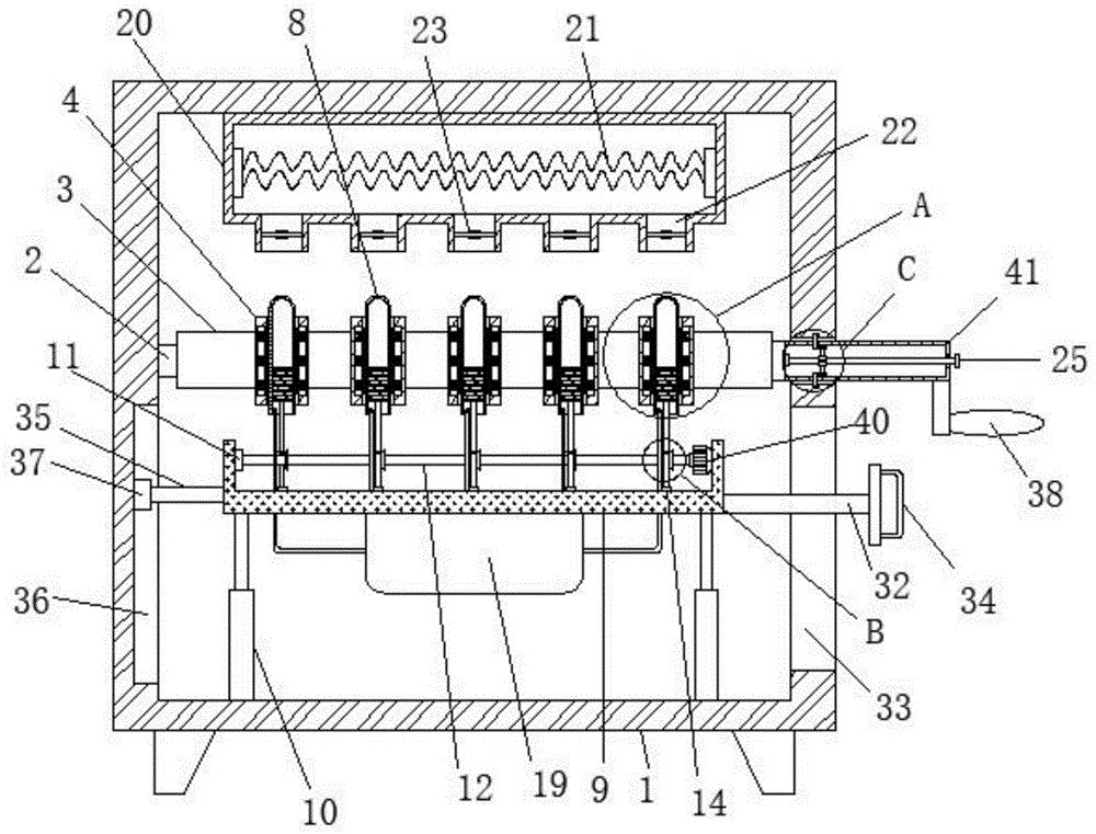
In the figure: the test tube testing device comprises a box body 1, a first rotating member 2, a mounting plate 3, a fixed seat 4, a groove 5, a spring 6, a clamping plate 7, a test tube 8, a bearing plate 9, a telescopic rod 10, a second rotating member 11, a driving shaft 12, a first helical gear 13, a third rotating member 14, a rotating shaft 15, a second helical gear 16, a brush 17, a water pipe 18, a pressure tank 19, a shell 20, a resistance wire 21, a vent 22, a fan 23, a fourth rotating member 24, a worm 25, a fifth rotating member 26, a threaded rod 27, a worm wheel 28, a nut 29, a clamping rod 30, a clamping groove 31, a first connecting rod 32, an open groove 33, a pushing handle 34, a second connecting rod 35, a sliding groove 36, a sliding block 37, a crank 38, a rubber pad 39, a driving motor 40 and a rotating rod 41.
Detailed Description
The technical solutions in the embodiments of the present invention will be clearly and completely described below with reference to the drawings in the embodiments of the present invention, and it is obvious that the described embodiments are only a part of the embodiments of the present invention, and not all of the embodiments.
Referring to fig. 1-4, a medical test tube drying and cleaning integrated device comprises a box body 1, wherein a plurality of drainage holes are formed in the side wall of the lower end of the box body 1, cleaned sewage can flow out of the box body 1 through the drainage holes, so that pollution discharge is facilitated, and the trouble of cleaning the box body 1 is eliminated, the box body 1 is of a hollow structure, the inner wall of one side of the box body 1 is rotatably connected with a transversely arranged mounting plate 3 through a first rotating member 2, a rotating rod 41 is transversely arranged at one end, away from the first rotating member 2, of the mounting plate 3, a crank 38 is arranged at one end of the rotating rod 41, which is positioned outside the box body 1, and the rotating rod 41 can be rotated by shaking the crank 38, so that much labor is saved when the rotating rod 41 is rotated, and the rotating rod 41 penetrates through the side wall of the box body 1;
the side wall of the mounting plate 3 is fixedly connected with a plurality of vertically arranged fixing seats 4, grooves 5 are formed in the side walls of two sides of each fixing seat 4, the side walls of the grooves 5 are connected with vertically arranged clamping plates 7 through a plurality of springs 6, rubber pads 39 are arranged on the side walls of the clamping plates 7, the rubber pads 39 are located between the clamping plates 7 and the test tubes 8, the rubber pads 39 are made of soft materials, so that a buffering effect can be achieved, the test tubes 8 are prevented from being clamped and broken by the clamping plates 7, and the test tubes 8 are vertically arranged between the two clamping plates 7;
the bearing plate 9 is transversely arranged in the box body 1, a first connecting rod 32 is transversely arranged on the side wall of one side of the bearing plate 9, an open slot 33 is formed in the side wall of the box body 1, the first connecting rod 32 penetrates through the open slot 33, a push handle 34 is arranged at one end of the first connecting rod 32 positioned outside the box body 1, the push handle 34 is fixedly connected with the bearing plate 9, the bearing plate 9 can be driven to move up and down by pushing the push handle 34, the bearing plate 9 can be operated by a hand at the outer side of the box body 1, a second connecting rod 35 is transversely arranged on the side wall of the bearing plate 9 far away from the first connecting rod 32, a sliding groove 36 is formed in the inner wall of the box body 1 close to the second connecting rod 35, the second connecting rod 35 is in sliding connection with the sliding groove 36 through a sliding block 37, when the push handle 34 is pushed to drive the bearing plate 9 to move up and down, the two sides of the bearing plate 9 can deviate due to different stresses, the moving process is not smooth, and therefore, the second connecting rod 35 is connected with the sliding block 37, therefore, the loading plate 9 can move up and down smoothly, the loading plate 9 is arranged below the mounting plate 3, the side walls of the two sides of the loading plate 9 are connected with the inner wall of the lower end of the box body 1 through the vertically arranged telescopic rods 10, the telescopic rods 10 can support the loading plate 9, and the loading plate 9 can move up and down conveniently due to the fact that the telescopic rods can stretch out and draw back per se, so that the loading plate 9 is operated more laborsavingly;
a driving motor 40 is arranged on one side wall of the upper end of the bearing plate 9, the other side wall of the upper end of the bearing plate 9 is rotatably connected with a driving shaft 12 matched with an output shaft of the driving motor 40 through a second rotating part 11, the side wall of the driving shaft 12 is sleeved with a plurality of first helical gears 13, the side wall of the upper end of the bearing plate 9 is rotatably connected with a plurality of vertically arranged rotating shafts 15 through a third rotating part 14, the side wall of each rotating shaft 15 is sleeved with a second helical gear 16 matched with the first helical gear 13, one ends of the rotating shafts 15 far away from the third rotating part 14 are respectively provided with a brush 17, the brushes 17 are arranged in the test tubes 8, the side wall of the upper end of the bearing plate 9 is also vertically provided with a plurality of water pipes 18, the upper ends of the water pipes 18 extend into the test tubes 8, a pressure tank 19 is fixedly connected with the side wall of the lower end of the bearing plate 9, the water pipes 18 are communicated with the pressure tank 19, and a shell 20 is arranged on the inner wall of the upper end of the box body 1, the shell 20 is of a hollow structure, a resistance wire 21 is transversely arranged in the shell 20, electric energy is converted into heat energy after the resistance wire 21 is electrified, so that heat is generated, a plurality of ventilation openings 22 are formed in the side wall of the lower end of the shell 20, the ventilation openings 22 are located above the test tube 8, and fans 23 are arranged in the ventilation openings 22;
bull stick 41 is hollow structure, the inner wall of bull stick 41 rotates through fourth rotation piece 24 and is connected with the worm 25 of horizontal setting, it has the sponge protective sheath to be located the worm 25 in the bull stick 41 outside, prevent that the hand from being scotched, and worm 25 keeps away from the lateral wall setting that the one end of fourth rotation piece 24 runs through bull stick 41, the both sides inner wall of bull stick 41 all rotates the threaded rod 27 that is connected with vertical setting through fifth rotation piece 26, and two threaded rods 27 are located the both sides of worm 25 respectively, the one end that fifth rotation piece 26 was kept away from to two threaded rods 27 all is equipped with the worm wheel 28 that matches with worm 25, the lateral wall of two threaded rods 27 all overlaps and is equipped with the nut 29 rather than matching, and the vertical kelly 30 that is equipped with of lateral wall of nut 29, kelly 30 runs through the lateral wall setting of bull stick 41, the lateral wall of box 1 is equipped with the draw-in groove 31 that matches with kelly 30.
When the invention is operated, the clamping plates 7 are shifted to two sides, the clamping plates 7 extrude the springs 6, the springs 6 are compressed to have elastic force, then the test tube 8 is placed between the two clamping plates 7, the opening of the test tube 8 faces to the brush 17, the elastic force of the springs 6 enables the clamping plates 7 to eject the test tube 8, so that the clamping plates 7 clamp the test tube 8, the pushing handle 34 is pushed upwards, the pushing handle 34 drives the bearing plate 9 to move upwards, the brush 17 extends into the test tube 8, the driving motor 40 and the pressure tank 19 are started, the driving motor 40 drives the driving shaft 12 to rotate, because the first bevel gear 13 is sleeved on the side wall of the driving shaft 12, the driving shaft 12 can drive the first bevel gear 13 to rotate together, the driving shaft 12 drives the first bevel gear 13 to be meshed with the second bevel gear 16, the second bevel gear 16 drives the brush 17 to rotate through the rotating shaft 15, the brush 17 is contacted with the inner wall of the test tube 8, so as to brush the inner wall of the test tube 8, meanwhile, water in the pressure tank 19 is sprayed into the test tube 8 through the water pipe 18, the push handle 34 is pushed up and down through a hand, the push handle 34 drives the bearing plate 9 to move up and down in a reciprocating manner, so that the inner wall of the test tube 8 is washed back and forth by the brush 17, after the test tube 8 is washed, the bearing plate 9 is moved down to move the brush 17 out of the test tube 8, the rotating rod 41 is rotated to turn the mounting plate 3 over 180 degrees, the opening of the test tube 8 is upward, the mounting plate 3 can rotate freely, so that the mounting plate 3 needs to be fixed in order to prevent shaking, the worm 25 is rotated during fixing, the worm 25 is meshed with the worm wheel 28, the worm wheel 28 drives the threaded rod 27 to rotate, because the nut 29 is connected with the clamping rod 30, the clamping rod 30 penetrates through the side wall of the rotating rod 41, the axial rotation of the clamping rod 30 is limited, the indirect axial rotation of the nut 29 is limited, and when the threaded rod 27 rotates, the nut 29 can drive the clamping rod 30 to move on the threaded rod 27, and because the two worm wheels 28 are symmetrically arranged on two sides of the worm 25, when the worm 25 rotates, the rotation directions of the two worm wheels 28 are opposite, the rotation directions of the two threaded rods 27 are also opposite, the moving directions of the two nuts 29 are also opposite, so that the two nuts 29 can simultaneously drive the clamping rod 30 to be clamped with or separated from the clamping groove 31, when the clamping rod 30 is clamped into the clamping groove 31, the rotating rod 41 is fixed, the mounting plate 3 does not rotate any more, electricity is conducted to the resistance wire 21 and the fan 23, the resistance wire 21 converts electric energy into heat energy to generate heat, the fan 23 blows heat energy generated by the resistance wire 21 to the test tube 8, the heat dries moisture on the test tube 8, and the test tube 8 is dried, so that the operation is completed.
The above description is only for the preferred embodiment of the present invention, but the scope of the present invention is not limited thereto, and any person skilled in the art should be considered to be within the technical scope of the present invention, and the technical solutions and the inventive concepts thereof according to the present invention should be equivalent or changed within the scope of the present invention.

Claims (6)

1.一种医疗用试管干燥清洗一体装置,包括箱体(1),其特征在于,所述箱体(1)为中空结构,所述箱体(1)的一侧内壁通过第一转动件(2)转动连接有横向设置的安装板(3),所述安装板(3)远离第一转动件(2)的一端横向设有转杆(41),且转杆(41)贯穿箱体(1)的侧壁设置,所述安装板(3)的侧壁固定连接有多个竖直设置的固定座(4),所述固定座(4)的两侧侧壁均设有凹槽(5),且凹槽(5)的侧壁通过多个弹簧(6)连接有竖直设置的夹板(7),两个所述夹板(7)之间竖直设有试管(8),所述箱体(1)中横向设有承载板(9),且承载板(9)位于安装板(3)的下方设置,所述承载板(9)的两侧侧壁均通过竖直设置的伸缩杆(10)与箱体(1)的下端内壁连接,所述承载板(9)的上端一侧侧壁设有驱动电机(40),且承载板(9)的上端另一侧壁通过第二转动件(11)转动连接有与驱动电机(40)的输出轴匹配的驱动轴(12),所述驱动轴(12)的侧壁套设有多个第一斜齿轮(13),所述承载板(9)的上端侧壁通过第三转动件(14)转动连接有多个竖直设置的转轴(15),且转轴(15)的侧壁套设有与第一斜齿轮(13)匹配的第二斜齿轮(16),多个所述转轴(15)远离第三转动件(14)的一端均设有毛刷(17),且毛刷(17)位于试管(8)中设置,所述承载板(9)的上端侧壁还竖直设有多个水管(18),且水管(18)的上端延伸至试管(8)中设置,所述承载板(9)的下端侧壁固定连接有压力罐(19),且水管(18)与压力罐(19)连通设置,所述箱体(1)的上端内壁设有壳体(20),所述壳体(20)为中空结构,所述壳体(20)中横向设有电阻丝(21),所述壳体(20)的下端侧壁开设有多个通风口(22),且通风口(22)位于试管(8)的上方,多个通风口(22)中均设有风扇(23),所述转杆(41)为中空结构,所述转杆(41)的内壁通过第四转动件(24)转动连接有横向设置的蜗杆(25),且蜗杆(25)远离第四转动件(24)的一端贯穿转杆(41)的侧壁设置,所述转杆(41)的两侧内壁均通过第五转动件(26)转动连接有竖直设置的螺纹杆(27),且两个螺纹杆(27)分别位于蜗杆(25)的两侧,两个所述螺纹杆(27)远离第五转动件(26)的一端均设有与蜗杆(25)匹配的蜗轮(28),两个所述螺纹杆(27)的侧壁均套设有与其匹配的螺母(29),且螺母(29)的侧壁竖直设有卡杆(30),所述卡杆(30)贯穿转杆(41)的侧壁设置,所述箱体(1)的侧壁设有与卡杆(30)匹配的卡槽(31)。1. An integrated device for drying and cleaning medical test tubes, comprising a box body (1), characterized in that the box body (1) is a hollow structure, and an inner wall of one side of the box body (1) passes through a first rotating member (2) A laterally arranged mounting plate (3) is rotatably connected, and the end of the mounting plate (3) away from the first rotating member (2) is laterally provided with a rotating rod (41), and the rotating rod (41) penetrates the box body (1) is arranged on the side wall, the side wall of the mounting plate (3) is fixedly connected with a plurality of vertically arranged fixing seats (4), and grooves are provided on both side walls of the fixing seat (4). (5), and the side wall of the groove (5) is connected with a vertically arranged splint (7) through a plurality of springs (6), and a test tube (8) is vertically arranged between the two splints (7), A carrying plate (9) is laterally provided in the box body (1), and the carrying plate (9) is arranged below the mounting plate (3), and both side walls of the carrying plate (9) are vertically arranged through The telescopic rod (10) is connected to the inner wall of the lower end of the box body (1), a drive motor (40) is provided on one side wall of the upper end of the bearing plate (9), and the other side wall of the upper end of the bearing plate (9) A drive shaft (12) matched with the output shaft of the drive motor (40) is rotatably connected through the second rotating member (11), and a plurality of first helical gears (13) are sleeved on the side wall of the drive shaft (12). , the upper end side wall of the bearing plate (9) is rotatably connected with a plurality of vertically arranged rotating shafts (15) through the third rotating member (14), and the side wall of the rotating shaft (15) is sleeved with the first helical gear (13) A matching second helical gear (16), a brush (17) is provided at one end of the plurality of rotating shafts (15) away from the third rotating member (14), and the brush (17) is located in the test tube (8) ), the upper end side wall of the carrying plate (9) is also vertically provided with a plurality of water pipes (18), and the upper end of the water pipes (18) extends to the test tube (8) and is arranged, the carrying plate (9) A pressure tank (19) is fixedly connected to the side wall of the lower end of the box, and the water pipe (18) is communicated with the pressure tank (19). 20) is a hollow structure, a resistance wire (21) is laterally arranged in the casing (20), a plurality of ventilation openings (22) are opened on the lower end side wall of the casing (20), and the ventilation openings (22) Located above the test tube (8), fans (23) are provided in the plurality of vents (22), the rotating rod (41) is a hollow structure, and the inner wall of the rotating rod (41) passes through the fourth rotating member ( 24) A laterally arranged worm (25) is rotatably connected, and one end of the worm (25) away from the fourth rotating member (24) is arranged through the side wall of the rotating rod (41), and the inner walls on both sides of the rotating rod (41) A vertically arranged threaded rod (27) is rotatably connected to the fifth rotating member (26), and the two threaded rods (27) are located on both sides of the worm (25) respectively, and the two threaded rods (27) are far away from each other. One end of the fifth rotating member (26) is provided with a worm wheel (28) matching the worm (25), and the side walls of the two threaded rods (27) are sleeved with a matching worm gear (28). A nut (29), and a clamping rod (30) is vertically arranged on the side wall of the nut (29). The wall is provided with a clamping slot (31) matched with the clamping rod (30). 2.根据权利要求1所述的一种医疗用试管干燥清洗一体装置,其特征在于,所述承载板(9)的一侧侧壁横向设有第一连杆(32),所述箱体(1)的侧壁开设有开口槽(33),且第一连杆(32)贯穿开口槽(33)设置,位于箱体(1)外侧的所述第一连杆(32)一端设有推把(34)。2 . The integrated device for drying and cleaning medical test tubes according to claim 1 , wherein a first connecting rod ( 32 ) is laterally provided on one side wall of the carrying plate ( 9 ), and the box body The side wall of (1) is provided with an opening groove (33), and the first connecting rod (32) is arranged through the opening groove (33), and one end of the first connecting rod (32) located outside the box (1) is provided with Push handle (34). 3.根据权利要求1所述的一种医疗用试管干燥清洗一体装置,其特征在于,所述承载板(9)远离第一连杆(32)的侧壁横向设有第二连杆(35),所述箱体(1)靠近第二连杆(35)的内壁设有滑槽(36),且第二连杆(35)通过滑块(37)与滑槽(36)滑动连接。3. The integrated device for drying and cleaning medical test tubes according to claim 1, characterized in that a second connecting rod (35) is laterally provided on the side wall of the carrying plate (9) away from the first connecting rod (32). ), the box (1) is provided with a chute (36) near the inner wall of the second connecting rod (35), and the second connecting rod (35) is slidably connected to the chute (36) through the slider (37). 4.根据权利要求1所述的一种医疗用试管干燥清洗一体装置,其特征在于,位于箱体(1)外侧的所述转杆(41)一端设有摇把(38)。4 . The integrated device for drying and cleaning medical test tubes according to claim 1 , wherein a crank handle ( 38 ) is provided at one end of the rotating rod ( 41 ) located outside the box body ( 1 ). 5 . 5.根据权利要求1所述的一种医疗用试管干燥清洗一体装置,其特征在于,所述夹板(7)的侧壁设有橡胶垫(39),且橡胶垫(39)位于夹板(7)与试管(8)之间。5. The integrated device for drying and cleaning medical test tubes according to claim 1, wherein a rubber pad (39) is provided on the side wall of the splint (7), and the rubber pad (39) is located on the splint (7). ) and the test tube (8). 6.根据权利要求1所述的一种医疗用试管干燥清洗一体装置,其特征在于,位于转杆(41)外侧的所述蜗杆(25)上包裹有海绵保护套。6 . The integrated device for drying and cleaning medical test tubes according to claim 1 , wherein the worm ( 25 ) located outside the rotating rod ( 41 ) is wrapped with a sponge protective cover. 7 .
CN201810524274.9A 2018-05-28 2018-05-28 A medical test tube drying and cleaning integrated device Expired - Fee Related CN108655143B (en)

Priority Applications (1)

Application Number Priority Date Filing Date Title
CN201810524274.9A CN108655143B (en) 2018-05-28 2018-05-28 A medical test tube drying and cleaning integrated device

Applications Claiming Priority (1)

Application Number Priority Date Filing Date Title
CN201810524274.9A CN108655143B (en) 2018-05-28 2018-05-28 A medical test tube drying and cleaning integrated device

Publications (2)

Publication Number Publication Date
CN108655143A CN108655143A (en) 2018-10-16
CN108655143B true CN108655143B (en) 2021-10-01

Family

ID=63777838

Family Applications (1)

Application Number Title Priority Date Filing Date
CN201810524274.9A Expired - Fee Related CN108655143B (en) 2018-05-28 2018-05-28 A medical test tube drying and cleaning integrated device

Country Status (1)

Country Link
CN (1) CN108655143B (en)

Families Citing this family (20)

* Cited by examiner, † Cited by third party
Publication number Priority date Publication date Assignee Title
CN109482598B (en) * 2018-11-18 2021-07-20 刘玲 Cleaning and sterilizing device for equipment of clinical laboratory
CN109622532A (en) * 2019-01-17 2019-04-16 毛钿 A kind of fatty test tube washing device after detecting test of biology
CN111317878B (en) * 2020-02-26 2021-08-20 青岛大学附属医院 A kind of post-use cleaning method of immune syringe
CN111674153A (en) * 2020-07-06 2020-09-18 祥恒(嘉善)包装有限公司 Drying device for carton printing and using method
CN112058837B (en) * 2020-08-25 2021-12-07 浙江正鑫齿轮有限公司 High efficiency cosmetics glass bottle wash recovery unit
CN112171486A (en) * 2020-10-22 2021-01-05 查常财 Reinforcing bar rust cleaning device for building
CN112337921A (en) * 2020-11-25 2021-02-09 吉林市圣赢碳纤维制品科技有限公司 Inner cavity high-pressure purging device of carbon fiber gas cylinder
CN112691210B (en) * 2020-12-03 2023-07-21 安徽方达药械股份有限公司 A degassing unit for mercury thermometer production
CN112845287A (en) * 2020-12-29 2021-05-28 中南大学湘雅三医院 Uropoiesis surgical instrument belt cleaning device
CN112827981B (en) * 2021-01-08 2023-09-12 余莲 Intelligent feeding bottle cleaning equipment with drying function
CN112958565A (en) * 2021-02-02 2021-06-15 王秀梅 Medical test tube continuous cleaning device and using method thereof
CN112871919B (en) * 2021-03-15 2022-08-30 陈建和 Feeding bottle belt cleaning device for gynaecology and obstetrics
CN112974449B (en) * 2021-04-12 2024-04-26 湖北粤玻实业有限公司 Glass beverage bottle recycling processing system
CN113102419B (en) * 2021-04-20 2022-05-20 安徽海峰分析测试科技有限公司 An inspection container processing system for soil environmental protection testing
CN113494841B (en) * 2021-09-08 2021-11-09 江苏一影医疗设备有限公司 Low-loss medical test tube drying device
CN113751394A (en) * 2021-09-08 2021-12-07 郭振和 Blood detection equipment with self-cleaning function
CN116833173A (en) * 2023-07-26 2023-10-03 连云港福京石英制品有限公司 Quartz tube mixing type tube washing machine
CN117427968B (en) * 2023-12-21 2024-03-05 泉州医学高等专科学校 Cleaning device and method based on biological sampling
CN117817709B (en) * 2024-03-05 2024-05-24 北京众驰伟业科技发展有限公司 Mechanical arm
CN118848704B (en) * 2024-09-24 2024-12-24 连云港市天元石英制品有限公司 A quartz tube inner hole arc surface grinding device and grinding method

Citations (6)

* Cited by examiner, † Cited by third party
Publication number Priority date Publication date Assignee Title
CN205183273U (en) * 2015-11-13 2016-04-27 山东省青岛疗养院 Clinical laboratory uses tube cleaning device with stoving disinfection function
CN205341424U (en) * 2016-01-27 2016-06-29 陈国良 Automatic belt cleaning device of test tube
CN106733787A (en) * 2016-11-24 2017-05-31 无锡康斯坦特动力科技有限公司 A kind of height-adjustable rack for test tube cleaning machine
CN206810822U (en) * 2017-03-10 2017-12-29 乌兰察布职业学院 A kind of veterinary laboratories chlorination equipment
CN206911876U (en) * 2017-06-07 2018-01-23 王红梅 A kind of hospital laboratory test tube Rapid Cleaning chlorination equipment
CN107931283A (en) * 2017-12-14 2018-04-20 陈鑫利 A kind of medical test tube is cleaned and dried integrated device

Family Cites Families (1)

* Cited by examiner, † Cited by third party
Publication number Priority date Publication date Assignee Title
US7621285B2 (en) * 2005-09-15 2009-11-24 Steris Inc. Tunnel washer system with improved cleaning efficiency

Patent Citations (6)

* Cited by examiner, † Cited by third party
Publication number Priority date Publication date Assignee Title
CN205183273U (en) * 2015-11-13 2016-04-27 山东省青岛疗养院 Clinical laboratory uses tube cleaning device with stoving disinfection function
CN205341424U (en) * 2016-01-27 2016-06-29 陈国良 Automatic belt cleaning device of test tube
CN106733787A (en) * 2016-11-24 2017-05-31 无锡康斯坦特动力科技有限公司 A kind of height-adjustable rack for test tube cleaning machine
CN206810822U (en) * 2017-03-10 2017-12-29 乌兰察布职业学院 A kind of veterinary laboratories chlorination equipment
CN206911876U (en) * 2017-06-07 2018-01-23 王红梅 A kind of hospital laboratory test tube Rapid Cleaning chlorination equipment
CN107931283A (en) * 2017-12-14 2018-04-20 陈鑫利 A kind of medical test tube is cleaned and dried integrated device

Also Published As

Publication number Publication date
CN108655143A (en) 2018-10-16

Similar Documents

Publication Publication Date Title
CN108655143B (en) A medical test tube drying and cleaning integrated device
CN202984225U (en) Full-automatic test tube brush
CN107931283A (en) A kind of medical test tube is cleaned and dried integrated device
CN113172029B (en) Novel medical instrument washs device
CN211425029U (en) Drying device for medical instrument
CN209379608U (en) Test tube cleaning equipment for microbiological experiments
CN212168451U (en) Clinical laboratory uses tube cleaning degassing unit
CN213613183U (en) Test tube cleaning device for medical examination
CN113680719B (en) Cleaning instrument for high-school chemistry experiment glass tube and use method thereof
CN205701775U (en) A kind of test tube clearing and drying device
CN207971174U (en) A kind of test tube cleaning device
CN215584421U (en) Gynaecology and obstetrics is with antenatal equipment
CN207288266U (en) A kind of test tube clearing and drying device for being used for medical treatment
CN207914281U (en) A kind of medical test tube cleaning-drying integrated device
CN214865916U (en) Test tube cleaning and drying device with good cleaning effect
CN214307951U (en) Medical disinfection apparatus device
CN211914892U (en) Beaker cleaning machine for it is biological experiments
CN119792594A (en) Ultrasonic probe disinfection device and operation method thereof
CN212567094U (en) Warm pipeline incrustation scale cleaning device that leads to
CN110026385A (en) A kind of heat treatment workpiece high-efficiency washing device
CN206597562U (en) A kind of test tube for laboratory room
CN216048908U (en) Automobile parts drying device
CN210701576U (en) A test tube cleaning device
CN213591326U (en) Medical treatment inspection test tube is with quick belt cleaning device
CN208680089U (en) A quick cleaning and drying device for chemical instruments

Legal Events

Date Code Title Description
PB01 Publication
PB01 Publication
SE01 Entry into force of request for substantive examination
SE01 Entry into force of request for substantive examination
CB03 Change of inventor or designer information

Inventor after: Jiang Dayong

Inventor after: Zhang Jingchun

Inventor before: Zhang Jingchun

CB03 Change of inventor or designer information
TA01 Transfer of patent application right

Effective date of registration: 20210907

Address after: 646000 No.1, Section 1, Xianglin Road, Longmatan District, Luzhou City, Sichuan Province

Applicant after: SOUTHWEST MEDICAL University

Address before: 723300 group 4, dengjiagou village, Longting Town, Yang County, Hanzhong City, Shaanxi Province

Applicant before: Zhang Jingchun

TA01 Transfer of patent application right
GR01 Patent grant
GR01 Patent grant
CF01 Termination of patent right due to non-payment of annual fee

Granted publication date: 20211001

CF01 Termination of patent right due to non-payment of annual fee