CN108654157B - A mobile sewage treatment device for preventing clogging - Google Patents
A mobile sewage treatment device for preventing clogging Download PDFInfo
- Publication number
- CN108654157B CN108654157B CN201810383391.8A CN201810383391A CN108654157B CN 108654157 B CN108654157 B CN 108654157B CN 201810383391 A CN201810383391 A CN 201810383391A CN 108654157 B CN108654157 B CN 108654157B
- Authority
- CN
- China
- Prior art keywords
- sewage treatment
- shaped plate
- plate
- side wall
- district
- Prior art date
- Legal status (The legal status is an assumption and is not a legal conclusion. Google has not performed a legal analysis and makes no representation as to the accuracy of the status listed.)
- Active
Links
Images
Classifications
-
- B—PERFORMING OPERATIONS; TRANSPORTING
- B01—PHYSICAL OR CHEMICAL PROCESSES OR APPARATUS IN GENERAL
- B01D—SEPARATION
- B01D29/00—Filters with filtering elements stationary during filtration, e.g. pressure or suction filters, not covered by groups B01D24/00 - B01D27/00; Filtering elements therefor
- B01D29/01—Filters with filtering elements stationary during filtration, e.g. pressure or suction filters, not covered by groups B01D24/00 - B01D27/00; Filtering elements therefor with flat filtering elements
- B01D29/03—Filters with filtering elements stationary during filtration, e.g. pressure or suction filters, not covered by groups B01D24/00 - B01D27/00; Filtering elements therefor with flat filtering elements self-supporting
-
- B—PERFORMING OPERATIONS; TRANSPORTING
- B01—PHYSICAL OR CHEMICAL PROCESSES OR APPARATUS IN GENERAL
- B01D—SEPARATION
- B01D29/00—Filters with filtering elements stationary during filtration, e.g. pressure or suction filters, not covered by groups B01D24/00 - B01D27/00; Filtering elements therefor
- B01D29/62—Regenerating the filter material in the filter
- B01D29/64—Regenerating the filter material in the filter by scrapers, brushes, nozzles, or the like, acting on the cake side of the filtering element
- B01D29/6469—Regenerating the filter material in the filter by scrapers, brushes, nozzles, or the like, acting on the cake side of the filtering element scrapers
- B01D29/6484—Regenerating the filter material in the filter by scrapers, brushes, nozzles, or the like, acting on the cake side of the filtering element scrapers with a translatory movement with respect to the filtering element
-
- B—PERFORMING OPERATIONS; TRANSPORTING
- B01—PHYSICAL OR CHEMICAL PROCESSES OR APPARATUS IN GENERAL
- B01D—SEPARATION
- B01D29/00—Filters with filtering elements stationary during filtration, e.g. pressure or suction filters, not covered by groups B01D24/00 - B01D27/00; Filtering elements therefor
- B01D29/76—Handling the filter cake in the filter for purposes other than for regenerating
Landscapes
- Chemical & Material Sciences (AREA)
- Chemical Kinetics & Catalysis (AREA)
- Processing Of Solid Wastes (AREA)
- Filtration Of Liquid (AREA)
Abstract
本发明公开了一种移动式防止堵塞的生活污水处理装置,包括底座,所述底座的下侧壁设有多个行走机构,所述底座的上侧壁上设有污水处理箱,所述污水处理箱内设有污水处理区、清水区和排油区,所述清水区和排油区位于污水处理箱的内底部,所述污水处理区与清水区和排油区之间设有第一隔板和第二隔板,所述清水区和排油区之间设有第三隔板,所述第三隔板的上侧贯穿第二隔板与第一隔板的下侧壁固定连接。本发明通过咋地第一隔板上方进行污水处理后留下的浮渣进行推出处理,避免了浮渣堵塞初级滤网影响生活污水的处理,同时对浮渣中的油脂进行吸附后挤出进行集中处理,加快污水处理进程,结构简单,方便实用。
The invention discloses a mobile domestic sewage treatment device for preventing clogging, comprising a base, a plurality of walking mechanisms are arranged on the lower side wall of the base, a sewage treatment tank is arranged on the upper side wall of the base, and the sewage The treatment tank is provided with a sewage treatment area, a clean water area and an oil discharge area, the clean water area and the oil discharge area are located at the inner bottom of the sewage treatment tank, and a first area is arranged between the sewage treatment area and the clean water area and the oil discharge area. A partition plate and a second partition plate, a third partition plate is arranged between the clean water area and the oil discharge area, and the upper side of the third partition plate penetrates the second partition plate and is fixedly connected to the lower side wall of the first partition plate . The invention pushes out the scum left after the sewage treatment is carried out on the top of the first clapboard, so as to avoid the scum clogging the primary filter screen and affecting the treatment of domestic sewage, and at the same time, the grease in the scum is adsorbed and then extruded. Centralized treatment, speed up the process of sewage treatment, simple structure, convenient and practical.
Description
技术领域technical field
本发明涉及污水处理技术领域,尤其涉及一种移动式防止堵塞的生活污水处理装置。The present invention relates to the technical field of sewage treatment, in particular to a mobile domestic sewage treatment device for preventing clogging.
背景技术Background technique
生活污水是居民日常生活中排出的废水,主要来源于居住建筑和公共建筑,如住宅、机关、学校、医院、商店、公共场所及工业企业卫生间等。生活污水所含的污染物主要是有机物和大量病原微生物。细菌和病原体以生活污水中有机物为营养而大量繁殖,可导致传染病蔓延流行,因此,生活污水排放前必须进行处理,生活污水中含有多种杂质,在对生活污水进行过滤处理时易发生堵塞的现象,从而影响对生活污水进行处理的进程。Domestic sewage is the waste water discharged from the daily life of residents, mainly from residential buildings and public buildings, such as residences, institutions, schools, hospitals, shops, public places and toilets of industrial enterprises. The pollutants contained in domestic sewage are mainly organic matter and a large number of pathogenic microorganisms. Bacteria and pathogens multiply with organic matter in domestic sewage as nutrition, which can lead to the spread of infectious diseases. Therefore, domestic sewage must be treated before being discharged. Domestic sewage contains various impurities, which are prone to blockage when filtering and treating domestic sewage. phenomenon, thus affecting the process of domestic sewage treatment.
发明内容SUMMARY OF THE INVENTION
本发明的目的是为了解决现有技术中的生活污水中含有多种杂质,在对生活污水进行过滤处理时易发生堵塞的现象,从而影响对生活污水进行处理的进程的问题,而提出的一种移动式防止堵塞的生活污水处理装置。The purpose of the present invention is to solve the problem that the domestic sewage in the prior art contains a variety of impurities, and the phenomenon of clogging easily occurs when the domestic sewage is filtered and processed, thereby affecting the process of the treatment of the domestic sewage. A mobile sewage treatment device that prevents clogging.
为了实现上述目的,本发明采用了如下技术方案:In order to achieve the above object, the present invention adopts the following technical solutions:
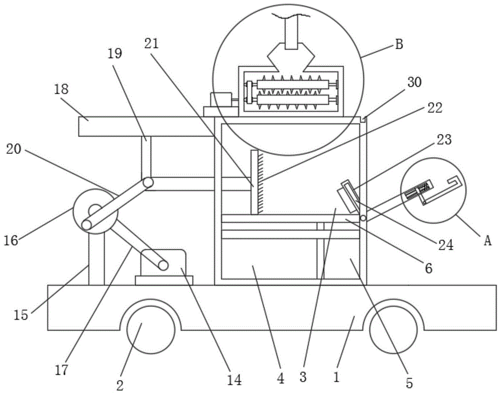
一种移动式防止堵塞的生活污水处理装置,包括底座,所述底座的下侧壁设有多个行走机构,所述底座的上侧壁上设有污水处理箱,所述污水处理箱内设有污水处理区、清水区和排油区,所述清水区和排油区位于污水处理箱的内底部,所述污水处理区与清水区和排油区之间设有第一隔板和第二隔板,所述清水区和排油区之间设有第三隔板,所述第三隔板的上侧贯穿第二隔板与第一隔板的下侧壁固定连接,所述污水处理箱的上侧壁设有粉碎箱,所述粉碎箱与污水处理区的内部连通,所述粉碎箱的上侧壁插设有进料管,所述粉碎箱内设有两个粉碎杆,两个所述粉碎杆的外壁上设有相互啮合的粉碎齿,所述粉碎箱的两侧内壁上均开设有两个安装口,每个所述安装口内均装设有轴承,每个所述粉碎杆的一端均设有转杆,每个所述转杆远离粉碎杆的一端均插设在轴承内,所述污水处理箱的上侧壁设有第一电机,其中两个靠近第一电机的所述转杆上均套设有皮带轮,两个所述皮带轮之间共同套设有第一皮带,所述第一电机的驱动端贯穿粉碎箱的一侧外壁与其中一个转杆远离粉碎杆的一端固定连接,所述底座的上侧壁还设有第二电机和支撑板,所述支撑板上插设有转轴,所述转轴上套设有转轮,所述转轴与第二电机的驱动端之间共同套设有第二皮带,所述污水处理箱靠近第二电机的一侧侧壁上设有固定板,所述固定板的下侧壁开设有滑槽,所述滑槽内滑动连接有第一L型板,所述转轮和第一L型板之间转动连接有连接杆,所述第一L型板远离固定板的一端贯穿污水处理箱的侧壁延伸至污水处理区的内部并连接有推板,所述推板远离第一L型板的一侧设有吸油层,所述污水处理箱远离固定板的一侧开设有出渣口,所述出渣口内转动连接有第二L型板,所述第二L型板的一端与出渣口的大小相匹配,所述第二L型板内开设有空腔,所述空腔内设有两个套杆,每个所述套杆上均套设有弹簧,所述第二L型板的外壁上开设有滑动槽,所述滑动槽内滑动连接有滑板,所述滑板的一端位于滑动槽内并套设在两个套杆上,所述弹簧位于滑板与空腔的上侧内壁之间,所述滑板远离第二L型板的一端转动连接有第三L型板,所述第三L型板远离滑板的一端设有垂直向下的翻边。A mobile domestic sewage treatment device for preventing clogging, comprising a base, the lower side wall of the base is provided with a plurality of walking mechanisms, the upper side wall of the base is provided with a sewage treatment tank, and the sewage treatment tank is provided with a sewage treatment tank. There are a sewage treatment area, a clean water area and an oil discharge area, the clean water area and the oil discharge area are located at the inner bottom of the sewage treatment tank, and a first partition and a second partition are arranged between the sewage treatment area, the clean water area and the oil discharge area. Two partitions, a third partition is arranged between the clean water area and the oil discharge area, the upper side of the third partition penetrates the second partition and is fixedly connected to the lower side wall of the first partition, and the sewage The upper side wall of the treatment box is provided with a crushing box, the crushing box is communicated with the interior of the sewage treatment area, a feeding pipe is inserted into the upper side wall of the crushing box, and two crushing rods are arranged in the crushing box, The outer walls of the two pulverizing rods are provided with mutually meshing pulverizing teeth, and the inner walls on both sides of the pulverizing box are provided with two installation openings, each of the installation openings is equipped with a bearing, and each of the One end of the pulverizing rod is provided with a rotating rod, and the end of each rotating rod away from the pulverizing rod is inserted into the bearing. The upper side wall of the sewage treatment tank is provided with a first motor, two of which are close to the first motor. The rotating rods are all sleeved with pulleys, and a first belt is jointly sleeved between the two pulleys. The driving end of the first motor runs through one side of the outer wall of the crushing box and one of the rotating rods is away from the crushing rod. One end of the base is fixedly connected, the upper side wall of the base is further provided with a second motor and a support plate, a rotating shaft is inserted on the support plate, a rotating wheel is sleeved on the rotating shaft, and the rotating shaft is connected to the second motor. A second belt is jointly sleeved between the driving ends, a fixing plate is arranged on the side wall of the sewage treatment tank close to the second motor, and a chute is opened on the lower side wall of the fixing plate, and the chute is arranged in the chute. A first L-shaped plate is slidably connected, a connecting rod is rotatably connected between the runner and the first L-shaped plate, and one end of the first L-shaped plate away from the fixed plate extends through the side wall of the sewage treatment tank to the sewage treatment A push plate is connected to the inside of the area, the side of the push plate away from the first L-shaped plate is provided with an oil absorbing layer, and the side of the sewage treatment tank away from the fixed plate is provided with a slag outlet, and the slag outlet rotates inside A second L-shaped plate is connected, one end of the second L-shaped plate matches the size of the slag outlet, a cavity is opened in the second L-shaped plate, and two sleeve rods are arranged in the cavity , each of the sleeve rods is sleeved with a spring, the outer wall of the second L-shaped plate is provided with a sliding groove, a sliding plate is slidably connected in the sliding groove, and one end of the sliding plate is located in the sliding groove and sleeved Set on two sleeve rods, the spring is located between the sliding plate and the inner wall of the upper side of the cavity, and the end of the sliding plate away from the second L-shaped plate is rotatably connected with a third L-shaped plate, and the third L-shaped plate is connected. The end away from the slide plate is provided with a vertically downward flange.
优选地,每个所述行走机构均为带刹车装置的万向轮。Preferably, each of the running gears is a universal wheel with a braking device.
优选地,所述滑槽的两侧内壁上均设有限位槽,所述第一L型板位于滑槽内的一端两侧侧壁上均设有限位板,每个所述限位板均位于其中一个限位槽内与限位槽的内壁滑动连接。Preferably, limit slots are provided on both inner walls of the chute, limit plates are provided on both side walls of one end of the first L-shaped plate located in the chute, and each limit plate is It is located in one of the limiting grooves and is slidably connected with the inner wall of the limiting groove.
优选地,所述污水处理箱的上侧壁靠近第三L型板的一侧设有与翻边大小相匹配的卡槽。Preferably, the side of the upper side wall of the sewage treatment tank close to the third L-shaped plate is provided with a card slot matching the size of the flange.
优选地,所述第一隔板的上侧壁开设有第一安装口和放置口,所述第一安装口内装设有初级滤网,所述放置口的两侧内壁上开设有限位槽。Preferably, the upper side wall of the first partition plate is provided with a first installation port and a placement port, the first installation port is provided with a primary filter screen, and the inner walls of both sides of the placement port are provided with limit slots.
优选地,所述第二L型板远离第三L型板的一端两侧侧壁上均设有延伸板,所述第二L型板靠近第一隔板的一侧设有挤压板,所述所述第二L型板远离第三L型板的一端与放置口的大小相匹配,所述延伸板与限位槽的大小相匹配。Preferably, extension plates are provided on both side walls of one end of the second L-shaped plate away from the third L-shaped plate, and an extrusion plate is provided on the side of the second L-shaped plate close to the first partition plate, One end of the second L-shaped plate away from the third L-shaped plate matches the size of the placement opening, and the extension plate matches the size of the limiting groove.
优选地,所述第二隔板的上侧壁开设有第二安装口和连通口,所述第二安装口内装设有次级滤网,所述连通口与放置口的内部连通。Preferably, the upper side wall of the second partition plate is provided with a second installation port and a communication port, a secondary filter screen is installed in the second installation port, and the communication port communicates with the inside of the placement port.
优选地,所述第一L型板与污水处理箱的连接处、第二L型板与出渣口和放置口的连接处均设有密封层。Preferably, a sealing layer is provided at the connection between the first L-shaped plate and the sewage treatment tank, and at the connection between the second L-shaped plate and the slag outlet and the placement port.
本发明中,生活污水通过进料管进入粉碎箱中,启动第一电机,通过转杆和第一皮带带动两个粉碎杆相互啮合转动,对生活污水中的大型杂质进行粉碎后再流入污水处理区中进行污水过滤,生活污水在污水处理区内经过初级滤网过滤后颗粒较大的杂质留在第一隔板的上方,再经次级滤网过滤后流入清水区,生活污水中的杂质较多,需要对第一隔板的上方进行除渣时,关闭生活污水的排入,启动第二电机,通过第二皮带带动转轮转动,随着转轮的转动,带动连接杆的一端做圆周运动,连接杆的另一端即可拉动第一L型板做左右往复运动,即可将第一隔板上方的浮渣推到放置口上方的第二L型板的上侧,同时吸油层将浮渣中的油脂吸附,向上拉动第三L型板使翻边从卡槽中脱离,往外侧转动使第三L型板的一端转离出渣口,第三L型板的另一端堵住出渣口,第三L型板上侧壁的浮渣即可导出污水处理箱的外壁,推板继续运动,与挤压板进行挤压,吸油层中的油脂随着挤压落下落到排油区中,进行集中处理。本发明通过咋地第一隔板上方进行污水处理后留下的浮渣进行推出处理,避免了浮渣堵塞初级滤网影响生活污水的处理,同时对浮渣中的油脂进行吸附后挤出进行集中处理,加快污水处理进程,结构简单,方便实用。In the present invention, the domestic sewage enters the crushing box through the feeding pipe, starts the first motor, and drives the two crushing rods to mesh and rotate with each other through the rotating rod and the first belt, so as to crush the large impurities in the domestic sewage and then flow into the sewage treatment Sewage filtration is carried out in the sewage treatment area. After the domestic sewage is filtered by the primary filter in the sewage treatment area, the impurities with larger particles stay above the first partition, and then pass through the secondary filter and flow into the clean water area. The impurities in the domestic sewage When it is necessary to remove the slag above the first partition, turn off the discharge of domestic sewage, start the second motor, and drive the runner to rotate through the second belt. With the rotation of the runner, one end of the connecting rod is driven to Circular motion, the other end of the connecting rod can pull the first L-shaped plate to reciprocate left and right, and the scum above the first partition can be pushed to the upper side of the second L-shaped plate above the placement port, and the oil-absorbing layer Absorb the grease in the scum, pull up the third L-shaped plate to disengage the flange from the groove, and turn it to the outside so that one end of the third L-shaped plate is turned away from the slag outlet, and the other end of the third L-shaped plate is blocked. By staying at the slag outlet, the scum on the side wall of the third L-shaped plate can be led out to the outer wall of the sewage treatment tank. In the oil discharge area, centralized treatment is carried out. The invention pushes out the scum left after the sewage treatment is carried out on the top of the first clapboard, so as to avoid the scum clogging the primary filter screen and affecting the treatment of domestic sewage, and at the same time, the grease in the scum is adsorbed and then extruded for processing. Centralized treatment, speed up the process of sewage treatment, simple structure, convenient and practical.
附图说明Description of drawings
图1为本发明提出的一种移动式防止堵塞的生活污水处理装置主视的结构示意图;1 is a schematic structural diagram of the front view of a mobile domestic sewage treatment device for preventing clogging proposed by the present invention;
图2为本发明提出的一种移动式防止堵塞的生活污水处理装置B部分放大的结构示意图;Fig. 2 is the enlarged structural schematic diagram of part B of a mobile blockage-preventing domestic sewage treatment device proposed by the present invention;
图3为本发明提出的一种移动式防止堵塞的生活污水处理装置A部分放大的结构示意图;Fig. 3 is the enlarged structural schematic diagram of part A of a mobile type anti-clogging domestic sewage treatment device proposed by the present invention;
图4为本发明提出的一种移动式防止堵塞的生活污水处理装置固定板与第一L型板连接处侧视的结构示意图;4 is a schematic structural diagram of a side view of the connection between the fixed plate and the first L-shaped plate of a mobile type of blockage-preventing domestic sewage treatment device proposed by the present invention;
图5为本发明提出的一种移动式防止堵塞的生活污水处理装置隔板俯视的结构示意图。FIG. 5 is a schematic top view of the structure of a movable clogging-preventing partition of a domestic sewage treatment device proposed by the present invention.
图中:1底座、2万向轮、3污水处理区、4清水区、5排油区、6第一隔板、7粉碎箱、8进料管、9粉碎杆、10轴承、11皮带轮、12第一皮带、13第一电机、14第二电机、15支撑板、16转轮、17第二皮带、18固定板、19第一L型板、20连接杆、21推板、22吸油层、23第二L型板、24延伸板、25套杆、26弹簧、27滑板、28第三L型板、29翻边、30卡槽、31初级滤网、32放置口、33限位槽、34滑槽、35限位板。In the picture: 1 base, 2 universal wheel, 3 sewage treatment area, 4 clean water area, 5 oil discharge area, 6 first partition, 7 crushing box, 8 feeding pipe, 9 crushing rod, 10 bearing, 11 pulley, 12 first belt, 13 first motor, 14 second motor, 15 support plate, 16 runner, 17 second belt, 18 fixed plate, 19 first L-shaped plate, 20 connecting rod, 21 push plate, 22 oil absorption layer , 23 second L-shaped plate, 24 extension plate, 25 set of rods, 26 spring, 27 sliding plate, 28 third L-shaped plate, 29 flanging, 30 card slot, 31 primary filter, 32 placement port, 33 limit slot , 34 chute, 35 limit plate.
具体实施方式Detailed ways
下面将结合本发明实施例中的附图,对本发明实施例中的技术方案进行清楚、完整地描述,显然,所描述的实施例仅仅是本发明一部分实施例,而不是全部的实施例。The technical solutions in the embodiments of the present invention will be clearly and completely described below with reference to the accompanying drawings in the embodiments of the present invention. Obviously, the described embodiments are only a part of the embodiments of the present invention, but not all of the embodiments.
在本发明的描述中,需要理解的是,术语“上”、“下”、“前”、“后”、“左”、“右”、“顶”、“底”、“内”、“外”等指示的方位或位置关系为基于附图所示的方位或位置关系,仅是为了便于描述本发明和简化描述,而不是指示或暗示所指的装置或元件必须具有特定的方位、以特定的方位构造和操作,因此不能理解为对本发明的限制。In the description of the present invention, it should be understood that the terms "upper", "lower", "front", "rear", "left", "right", "top", "bottom", "inside", " The orientation or positional relationship indicated by "outside" is based on the orientation or positional relationship shown in the accompanying drawings, and is only for the convenience of describing the present invention and simplifying the description, rather than indicating or implying that the indicated device or element must have a specific orientation, so as to The specific orientation configuration and operation are therefore not to be construed as limitations of the present invention.
参照图1-5,一种移动式防止堵塞的生活污水处理装置,包括底座1,底座1的下侧壁设有多个行走机构,每个行走机构均为带刹车装置的万向轮2,通过万向轮2便于污水处理装置的移动,适用性更广,通过刹车装置保证了处理装置的稳定性,底座1的上侧壁上设有污水处理箱,污水处理箱内设有污水处理区3、清水区4和排油区5,清水区4和排油区5位于污水处理箱的内底部,污水处理区3与清水区4和排油区5之间设有第一隔板6和第二隔板,清水区4和排油区5之间设有第三隔板,第三隔板的上侧贯穿第二隔板与第一隔板6的下侧壁固定连接,污水处理箱的上侧壁设有粉碎箱7,粉碎箱7与污水处理区3的内部连通,粉碎箱7的上侧壁插设有进料管8,粉碎箱7内设有两个粉碎杆9,两个粉碎杆9的外壁上设有相互啮合的粉碎齿,粉碎箱7的两侧内壁上均开设有两个安装口,每个安装口内均装设有轴承10,每个粉碎杆9的一端均设有转杆,每个转杆远离粉碎杆9的一端均插设在轴承内,通过轴承对转杆以及粉碎杆9进行限位,保证了转动的平稳性,污水处理箱的上侧壁设有第一电机13,其中两个靠近第一电机13的转杆上均套设有皮带轮11,两个皮带轮11之间共同套设有第一皮带12,第一电机13的驱动端贯穿粉碎箱7的一侧外壁与其中一个转杆远离粉碎杆9的一端固定连接,生活污水通过进料管8进入粉碎箱7中,启动第一电机13,通过转杆和第一皮带12带动两个粉碎杆9相互啮合转动,对生活污水中的大型杂质进行粉碎后再流入污水处理区3中进行污水过滤,生活污水在污水处理区3内经过初级滤网31过滤后颗粒较大的杂质留在第一隔板6的上方,底座1的上侧壁还设有第二电机14和支撑板15,支撑板15上插设有转轴,转轴上套设有转轮,转轴与第二电机14的驱动端之间共同套设有第二皮带17,污水处理箱靠近第二电机14的一侧侧壁上设有固定板18,固定板18的下侧壁开设有滑槽34,滑槽34内滑动连接有第一L型板19,滑槽34的两侧内壁上均设有限位槽,第一L型板19位于滑槽内的一端两侧侧壁上均设有限位板35,每个限位板35均位于其中一个限位槽内与限位槽的内壁滑动连接,第一L型板19在滑槽34内滑动时通过限位板35与限位板的配合避免了第一L型板19脱离滑槽34,转轮16和第一L型板19之间转动连接有连接杆20,第一L型板19远离固定板18的一端贯穿污水处理箱的侧壁延伸至污水处理区3的内部并连接有推板21,推板21远离第一L型板19的一侧设有吸油层22,污水处理箱远离固定板18的一侧开设有出渣口,出渣口内转动连接有第二L型板23,第二L型板23的一端与出渣口的大小相匹配,保证了第二L型板23与出渣口之间连接的密封性,第二L型板23内开设有空腔,空腔内设有两个套杆25,每个套杆25上均套设有弹簧26,第二L型板23的外壁上开设有滑动槽,滑动槽内滑动连接有滑板27,滑板27的一端位于滑动槽内并套设在两个套杆25上,弹簧26位于滑板27与空腔的上侧内壁之间,滑板27远离第二L型板23的一端转动连接有第三L型板28,第三L型板28远离滑板27的一端设有垂直向下的翻边29,污水处理箱的上侧壁靠近第三L型板28的一侧设有与翻边29大小相匹配的卡槽30,向上拉动第三L型板28,滑板27在套杆25上往上滑动,翻边29放入卡槽30中,借助弹簧26的反向弹力使第二L型板23固定在出渣口内,需要对第一隔板6的上方进行除渣时,关闭生活污水的排入,启动第二电机14,通过第二皮带17带动转轮16转动,随着转轮16的转动,带动连接杆20的一端做圆周运动,连接杆20的另一端即可拉动第一L型板19做左右往复运动,即可将第一隔板6上方的浮渣推到放置口32上方的第二L型板23的上侧,同时吸油层22将浮渣中的油脂吸附,第一隔板6的上侧壁开设有第一安装口和放置口32,第一安装口内装设有初级滤网31,放置口32的两侧内壁上开设有限位槽33,第二L型板23远离第三L型板28的一端两侧侧壁上均设有延伸板24,第二L型板23靠近第一隔板6的一侧设有挤压板,第二L型板23远离第三L型板28的一端与放置口32的大小相匹配,延伸板24与限位槽33的大小相匹配,保证了第二L型板23和延伸板24对放置口32和限位槽33之间连接的密封性,第二隔板的上侧壁开设有第二安装口和连通口,第二安装口内装设有次级滤网,连通口与放置口32的内部连通,第一L型板19与污水处理箱的连接处、第二L型板23与出渣口和放置口32的连接处均设有密封层,通过设置密封层避免了进行污水处理时发生渗漏的现象,保证了污水处理工作的有序进行,进行浮渣和油脂处理时,向上拉动第三L型板28使翻边29从卡槽中脱离,往外侧转动使第三L型板28的一端转离出渣口,第三L型板28的另一端堵住出渣口,第三L型板28上侧壁的浮渣即可导出污水处理箱的外壁,推板21继续运动,与挤压板进行挤压,吸油层22中的油脂随着挤压落下落到排油区5中,进行油脂的集中处理。1-5, a mobile sewage treatment device for preventing clogging, comprising a
本发明中,生活污水通过进料管8进入粉碎箱7中,启动第一电机13,通过转杆和第一皮带12带动两个粉碎杆9相互啮合转动,对生活污水中的大型杂质进行粉碎后再流入污水处理区3中进行污水过滤,生活污水在污水处理区3内经过初级滤网31过滤后颗粒较大的杂质留在第一隔板6的上方,再经次级滤网过滤后流入清水区4,生活污水中的杂质较多,需要对第一隔板6的上方进行除渣时,关闭生活污水的排入,启动第二电机14,通过第二皮带17带动转轮16转动,随着转轮16的转动,带动连接杆20的一端做圆周运动,连接杆20的另一端即可拉动第一L型板19做左右往复运动,即可将第一隔板6上方的浮渣推到放置口32上方的第二L型板23的上侧,同时吸油层22将浮渣中的油脂吸附,向上拉动第三L型板28使翻边29从卡槽中脱离,往外侧转动使第三L型板28的一端转离出渣口,第三L型板28的另一端堵住出渣口,第三L型板28上侧壁的浮渣即可导出污水处理箱的外壁,推板21继续运动,与挤压板进行挤压,吸油层22中的油脂随着挤压落下落到排油区5中,进行集中处理。In the present invention, the domestic sewage enters the crushing
以上所述,仅为本发明较佳的具体实施方式,但本发明的保护范围并不局限于此,任何熟悉本技术领域的技术人员在本发明揭露的技术范围内,根据本发明的技术方案及其发明构思加以等同替换或改变,都应涵盖在本发明的保护范围之内。The above description is only a preferred embodiment of the present invention, but the protection scope of the present invention is not limited to this. The equivalent replacement or change of the inventive concept thereof shall be included within the protection scope of the present invention.
Claims (5)
Priority Applications (1)
| Application Number | Priority Date | Filing Date | Title |
|---|---|---|---|
| CN201810383391.8A CN108654157B (en) | 2018-04-26 | 2018-04-26 | A mobile sewage treatment device for preventing clogging |
Applications Claiming Priority (1)
| Application Number | Priority Date | Filing Date | Title |
|---|---|---|---|
| CN201810383391.8A CN108654157B (en) | 2018-04-26 | 2018-04-26 | A mobile sewage treatment device for preventing clogging |
Publications (2)
| Publication Number | Publication Date |
|---|---|
| CN108654157A CN108654157A (en) | 2018-10-16 |
| CN108654157B true CN108654157B (en) | 2020-10-02 |
Family
ID=63781066
Family Applications (1)
| Application Number | Title | Priority Date | Filing Date |
|---|---|---|---|
| CN201810383391.8A Active CN108654157B (en) | 2018-04-26 | 2018-04-26 | A mobile sewage treatment device for preventing clogging |
Country Status (1)
| Country | Link |
|---|---|
| CN (1) | CN108654157B (en) |
Families Citing this family (6)
| Publication number | Priority date | Publication date | Assignee | Title |
|---|---|---|---|---|
| CN110180231A (en) * | 2019-06-17 | 2019-08-30 | 蔡茜茜 | A kind of kitchen basin sewage separating device |
| CN110384967B (en) * | 2019-07-22 | 2022-02-18 | 深圳市正东厨房设备有限公司 | For kitchen use polymer film sewage residue separator |
| CN110812913A (en) * | 2019-11-07 | 2020-02-21 | 湖南大源环境科技有限公司 | Glass fiber domestic sewage treatment equipment |
| CN110711428A (en) * | 2019-11-15 | 2020-01-21 | 湖南省大湾古方红糖食品有限公司 | Sugarcane juice deposits filter equipment |
| CN110952629B (en) * | 2019-12-20 | 2021-04-13 | 中弘泰建设集团有限公司 | Pipeline for civil construction |
| CN111013219B (en) * | 2020-02-05 | 2020-11-13 | 山东国晟环境科技有限公司 | Domestic sewage is with automatic quick mud-water separation device |
Citations (5)
| Publication number | Priority date | Publication date | Assignee | Title |
|---|---|---|---|---|
| CN106673082A (en) * | 2016-11-26 | 2017-05-17 | 南京途酷信息科技有限公司 | Efficient domestic sewage separation device |
| CN106944210A (en) * | 2017-04-27 | 2017-07-14 | 合肥图腾龙企业管理事务所(有限合伙) | A kind of kitchen waste crushing and oily water separating equipment |
| CN107572701A (en) * | 2017-09-21 | 2018-01-12 | 李纯志 | Environment-friendly type sanitary wastewater waste treatment equipment |
| CN107827272A (en) * | 2017-11-03 | 2018-03-23 | 邱杨舒 | A kind of full-automatic sewage processing system |
| CN207238198U (en) * | 2017-07-31 | 2018-04-17 | 新昌县甄派农业发展有限公司 | A kind of construction waste bricks breaker |
-
2018
- 2018-04-26 CN CN201810383391.8A patent/CN108654157B/en active Active
Patent Citations (5)
| Publication number | Priority date | Publication date | Assignee | Title |
|---|---|---|---|---|
| CN106673082A (en) * | 2016-11-26 | 2017-05-17 | 南京途酷信息科技有限公司 | Efficient domestic sewage separation device |
| CN106944210A (en) * | 2017-04-27 | 2017-07-14 | 合肥图腾龙企业管理事务所(有限合伙) | A kind of kitchen waste crushing and oily water separating equipment |
| CN207238198U (en) * | 2017-07-31 | 2018-04-17 | 新昌县甄派农业发展有限公司 | A kind of construction waste bricks breaker |
| CN107572701A (en) * | 2017-09-21 | 2018-01-12 | 李纯志 | Environment-friendly type sanitary wastewater waste treatment equipment |
| CN107827272A (en) * | 2017-11-03 | 2018-03-23 | 邱杨舒 | A kind of full-automatic sewage processing system |
Also Published As
| Publication number | Publication date |
|---|---|
| CN108654157A (en) | 2018-10-16 |
Similar Documents
| Publication | Publication Date | Title |
|---|---|---|
| CN108654157B (en) | A mobile sewage treatment device for preventing clogging | |
| WO2024066571A1 (en) | Smart wastewater treatment system and method for using same | |
| CN100553729C (en) | Automatic sewage decontamination machine | |
| CN108726708A (en) | A kind of sewage-treatment plant based on environmental protection | |
| CN208532425U (en) | A kind of glass cleaning effluent settling chamber | |
| CN210278440U (en) | Energy-concerving and environment-protective waste residue filtration equipment | |
| CN210845427U (en) | Filter equipment that waste water treatment used | |
| CN110127908A (en) | A kind of industrial production sewage disposal device | |
| CN110685244A (en) | Urban domestic garbage collection device with excellent deodorization effect | |
| CN114477400A (en) | An environmentally friendly domestic sewage treatment and reuse device for community use | |
| CN111573931A (en) | Urban environment river sewage treatment device and working method thereof | |
| CN220486662U (en) | Dirt absorbing and purifying vehicle | |
| CN218553267U (en) | Prevent multi-stage filter for sewage treatment of jam | |
| CN218188185U (en) | A kind of urban sewage treatment device | |
| CN205222749U (en) | Area meal kitchen solid -liquid separation equipment's waste water filtering separation device | |
| CN211255478U (en) | A waste water treatment tank | |
| CN116531835A (en) | Municipal wastewater treatment device | |
| CN204073636U (en) | Roll grinder lubricating oil filter | |
| CN109748435A (en) | A kind of Domestic water purifying and wastewater treatment equipment | |
| CN211400907U (en) | Waste water waste heat recovery system of recycling of printing and dyeing mill | |
| CN211311150U (en) | Waste water filtering device | |
| CN211311087U (en) | Environment-friendly sewage treatment plant with separation function | |
| CN207468328U (en) | A kind of municipal sewage system | |
| CN219023562U (en) | A waste water waste gas purification processor | |
| CN211419927U (en) | An integrated and easy-to-maintain sewage treatment equipment |
Legal Events
| Date | Code | Title | Description |
|---|---|---|---|
| PB01 | Publication | ||
| PB01 | Publication | ||
| SE01 | Entry into force of request for substantive examination | ||
| SE01 | Entry into force of request for substantive examination | ||
| TA01 | Transfer of patent application right | ||
| TA01 | Transfer of patent application right |
Effective date of registration: 20200910 Address after: 710000 Room 11605, Langchen Building, 13 Hi-tech Fourth Road, Xi'an Hi-tech District, Shaanxi Province Applicant after: Shaanxi Biaoyuan Environmental Protection Technology Co.,Ltd. Address before: 116033 No. 2, Linggong Road, Ganjinzi District, Dalian City, Liaoning Province Applicant before: Liu Xinghai |
|
| GR01 | Patent grant | ||
| GR01 | Patent grant | ||
| PE01 | Entry into force of the registration of the contract for pledge of patent right | ||
| PE01 | Entry into force of the registration of the contract for pledge of patent right |
Denomination of invention: A mobile sewage treatment device for preventing clogging Granted publication date: 20201002 Pledgee: Bank of China Limited Xi'an Nanjiao Branch Pledgor: Shaanxi Biaoyuan Environmental Protection Technology Co.,Ltd. Registration number: Y2025980038291 |
