CN107643218B - Wellhead connector large-load tension-compression bending test experimental device and method - Google Patents
Wellhead connector large-load tension-compression bending test experimental device and method Download PDFInfo
- Publication number
- CN107643218B CN107643218B CN201710811757.2A CN201710811757A CN107643218B CN 107643218 B CN107643218 B CN 107643218B CN 201710811757 A CN201710811757 A CN 201710811757A CN 107643218 B CN107643218 B CN 107643218B
- Authority
- CN
- China
- Prior art keywords
- load
- hydraulic cylinder
- hydraulic
- hinge
- beam frame
- Prior art date
- Legal status (The legal status is an assumption and is not a legal conclusion. Google has not performed a legal analysis and makes no representation as to the accuracy of the status listed.)
- Expired - Fee Related
Links
Images
Landscapes
- Investigation Of Foundation Soil And Reinforcement Of Foundation Soil By Compacting Or Drainage (AREA)
- Investigating Strength Of Materials By Application Of Mechanical Stress (AREA)
Abstract
本发明涉及一种井口连接器大载荷拉压弯测试实验装置及实验方法,其特征在于:其包括辅助工装系统、铰链力放大结构系统、液压动力加载系统、输入数据采集分析系统和输出数据采集分析系统;辅助工装系统设置在现有井口连接器系统上;铰链力放大结构系统与辅助工装系统相连,为辅助工装系统提供输出载荷;液压动力加载系统与铰链力放大结构系统相连,为铰链力放大结构提供输入载荷;输入数据采集分析系统设置在铰链力放大结构系统上,采集铰链力放大结构上的应变力作为实际输入载荷;输出数据采集分析系统设置在井口连接器系统上,采集井口连接器系统中的应变力作为实际输出载荷。本发明可以广泛应用于水下油气开采技术领域。
The invention relates to a large-load tensile-compression-bending test experimental device and experimental method for a wellhead connector. Analysis system; the auxiliary tooling system is set on the existing wellhead connector system; the hinge force amplifying structure system is connected with the auxiliary tooling system to provide output load for the auxiliary tooling system; the hydraulic power loading system is connected with the hinge force amplifying structure system, which is the hinge force The amplification structure provides the input load; the input data acquisition and analysis system is set on the hinge force amplification structure system, and the strain force on the hinge force amplification structure is collected as the actual input load; the output data acquisition and analysis system is set on the wellhead connector system, and the wellhead connection is collected. The strain force in the system is used as the actual output load. The invention can be widely used in the technical field of underwater oil and gas exploitation.
Description
技术领域technical field
本发明涉及水下油气开采技术领域,特别是关于一种井口连接器大载荷拉压弯测试实验装置及实验方法。The invention relates to the technical field of underwater oil and gas exploitation, in particular to an experimental device and an experimental method for a large-load tension-compression-bending test of a wellhead connector.
背景技术Background technique
水下采油树是由放置在海床水下井口上的由阀门、管线、连接器和配件组成的一个采油系统,而水下采油树井口连接器是水下采油树的重要零部件,其能够将水下采油树等水下生产设施连接到水下井口,实现水下采油树与水下井口连接处的密封,并防止油气泄露,承载内外载荷。井口连接器和水下采油树之间一般通过特种梯形螺纹连接,该特种梯形螺纹具有较好的承压能力。但是由于水下采油树中管线等在海流作用下摆动或振动会导致井口连接器受到较大的包括拉压弯在内的大载荷作用,因此,保证井口连接器能够在大载荷拉压弯作用下依然可以较好的工作,是包括水下采油树在内的水下生产系统安全可靠生产的必要保障,因而对井口连接器进行大载荷测试以观察其性能显得非常重要。The subsea Christmas tree is an oil production system composed of valves, pipelines, connectors and accessories placed on the subsea wellhead of the seabed, and the subsea Christmas tree wellhead connector is an important part of the subsea Christmas tree, which can Connect underwater production facilities such as underwater Christmas tree to the underwater wellhead, realize the sealing of the connection between the underwater Christmas tree and the underwater wellhead, prevent oil and gas leakage, and carry internal and external loads. The wellhead connector and the subsea tree are generally connected by a special trapezoidal thread, which has a good pressure bearing capacity. However, due to the swing or vibration of the pipelines in the underwater Christmas tree under the action of the ocean current, the wellhead connector will be subjected to a large load including tension, compression and bending. It is necessary to ensure the safe and reliable production of the underwater production system including the underwater Christmas tree, so it is very important to conduct a large load test on the wellhead connector to observe its performance.
目前国内有大量关于拉压弯综合实验装置,中国专利文献200520029374.2提出的一种多功能试验机平台组件,其可以在平台上增加各种辅助装置用于实现拉压弯扭四种载荷下的多种材料与结构试验,但是该实验装置没能将构件的误差考虑在内。中国专利文献201420622826.7提出的一种能够进行横梁的弯曲正应力测定、压弯组合变形实验、桁架的内力测定实验、静定结构内力测定、超静定结构内力测定等多种实验的力学实验装置,虽然实验考虑了制造误差的影响,但是并不能实现较大载荷的实验。而且,目前国内外尚无对井口连接器及类似机构进行大载荷实验的简易经济的实验装置的研究。除此之外,现有技术中拉压弯实验装置还存在以下缺点:At present, there are a large number of comprehensive experimental devices for tension, compression and bending in China. A multi-functional testing machine platform component proposed in Chinese Patent Document 200520029374.2 can be added to the platform for various auxiliary devices to realize multi-functional testing under four loads of tension, compression, bending and torsion. A variety of material and structural tests were performed, but the experimental setup failed to take into account the errors of the components. Chinese patent document 201420622826.7 proposes a mechanical experimental device that can perform various experiments such as the measurement of the bending normal stress of the beam, the compression-bending combined deformation experiment, the measurement of the internal force of the truss, the measurement of the internal force of a statically indeterminate structure, and the measurement of the internal force of a statically indeterminate structure. Although the effects of manufacturing errors were considered in the experiments, experiments with larger loads could not be realized. Moreover, there is no research on a simple and economical experimental device for carrying out large-load experiments on wellhead connectors and similar mechanisms at home and abroad. In addition, the tension-compression-bending experimental device in the prior art also has the following shortcomings:
1、进行不同实验时,通常需要制作不同的实验装置,增加了实验场地和实验的费用,降低了实验效率。1. When conducting different experiments, it is usually necessary to make different experimental devices, which increases the cost of the experimental site and the experiment, and reduces the experimental efficiency.
2、在做大载荷实验时,需要有较大的输入载荷才能完成任务,对载荷输入系统要求较高,这也会增加实验的费用。2. When doing a large load experiment, a large input load is required to complete the task, and the load input system is required to be higher, which will also increase the cost of the experiment.
3、现有的拉压弯实验装置在测量方面通常只考虑了被测试件的变形测量,而没有考虑输入载荷是否满足要求。3. The existing tensile-compression-bending experimental device usually only considers the deformation measurement of the test piece in measurement, but does not consider whether the input load meets the requirements.
发明内容SUMMARY OF THE INVENTION
针对上述问题,本发明的目的是提供一种井口连接器大载荷拉压弯测试实验装置及实验方法,能够对井口连接器及类似机构进行大载荷拉压弯实验,具有低载荷输入,大载荷输出的特点,且安装拆除方便。In view of the above problems, the purpose of the present invention is to provide a high-load tensile-compression-bending test device and an experimental method for wellhead connectors, which can perform high-load tensile-compression-bending experiments on wellhead connectors and similar mechanisms, with low load input and high load. The characteristics of the output, and the installation and removal is convenient.
为实现上述目的,本发明采取以下技术方案:一种井口连接器大载荷拉压弯测试实验装置,其特征在于:其包括辅助工装系统、铰链力放大结构系统、液压动力加载系统、输入数据采集分析系统和输出数据采集分析系统;所述辅助工装系统设置在现有井口连接器系统上;所述铰链力放大结构系统与所述辅助工装系统相连,为所述辅助工装系统提供输出载荷;所述液压动力加载系统与所述铰链力放大结构系统相连,为所述铰链力放大结构提供输入载荷;所述输入数据采集分析系统设置在所述铰链力放大结构系统上,采集所述铰链力放大结构上的应变力作为实际输入载荷;所述输出数据采集分析系统设置在所述井口连接器系统上,采集所述井口连接器系统中的应变力作为实际输出载荷。In order to achieve the above purpose, the present invention adopts the following technical solutions: a large-load tensile-compression-bending test device for wellhead connectors, characterized in that it includes an auxiliary tooling system, a hinge force amplification structure system, a hydraulic power loading system, and an input data acquisition system. an analysis system and an output data acquisition and analysis system; the auxiliary tooling system is arranged on the existing wellhead connector system; the hinge force amplification structure system is connected with the auxiliary tooling system, and provides an output load for the auxiliary tooling system; The hydraulic power loading system is connected with the hinge force amplifying structure system, and provides input load for the hinge force amplifying structure; the input data acquisition and analysis system is arranged on the hinge force amplifying structure system, and collects the hinge force amplifying structure. The strain force on the structure is used as the actual input load; the output data acquisition and analysis system is set on the wellhead connector system, and the strain force in the wellhead connector system is collected as the actual output load.
所述辅助工装系统包括上工字钢架子、上工字钢架子连接组件、连接焊板、下工字钢架子、下工字钢架子连接组件、安装夹具、下工字钢架子固定块以及两对称设置在所述下工字钢架子两侧的液压缸支撑系统;所述上工字钢架子两端通过所述上工字钢连接组件与所述铰链力放大结构系统连接,所述上工字钢架子底部通过所述连接焊板与所述井口连接器系统的上部连接;所述下工字钢架子两端通过所述下工字钢连接组件与所述铰链力放大结构系统连接,所述下工字钢架子上部通过所述安装夹具与所述井口连接器系统的下部连接,所述下工字钢架子下部通过所述下工字钢架子固定块固定在地面上;两所述液压缸底座的底部分别通过所述液压缸底座垫板固定设置在所述下工字钢架子两侧的地面上,两所述液压缸底座的顶部分别螺栓连接两所述液压缸上盖板。The auxiliary tooling system includes an upper I-beam frame, an upper I-beam frame connection assembly, a connecting welding plate, a lower I-beam frame, a lower I-beam frame connection assembly, an installation fixture, and a lower I-beam frame. A sub-fixing block and two hydraulic cylinder support systems symmetrically arranged on both sides of the lower I-beam frame; both ends of the upper I-beam frame are connected to the hinge force amplification structure through the upper I-beam connecting assembly system connection, the bottom of the upper I-beam frame is connected to the upper part of the wellhead connector system through the connecting welding plate; The hinge force amplifying structure system is connected, the upper part of the lower I-beam frame is connected with the lower part of the wellhead connector system through the installation fixture, and the lower part of the lower I-beam frame passes through the lower I-beam frame. The sub-fixing blocks are fixed on the ground; the bottoms of the two hydraulic cylinder bases are respectively fixed on the ground on both sides of the lower I-beam frame through the hydraulic cylinder base pads, and the bottoms of the two hydraulic cylinder bases are respectively fixed on the ground on both sides of the lower I-beam frame. The tops are respectively bolted to connect the upper cover plates of the two hydraulic cylinders.
所述上工字钢架子连接组件包括两表面设置有若干卡槽的焊接槽板、两不规则垫块、若干规则垫块和两耳板;两所述焊接槽板表面带有卡槽的一侧与所述上工字钢架子螺栓连接,两所述不规则垫块插设在所述上工字钢架子外侧面的两直槽口与所述焊接槽板之间,且所述不规则垫块的上表面与所述上工字钢架子外侧表面相匹配;若干所述规则垫块插设在所述上工字钢架子的其他直槽口与所述焊接槽板之间;两所述耳板与两所述焊接槽板螺栓连接,其表面另一侧设置有用于与所述铰链力放大结构系统连接的安装孔;所述下工字钢架子连接组件包括两焊接耳板,两所述焊接耳板分别焊接在所述下工字钢架子两端,且两所述焊接耳板表面设置有若干用于与所述铰链力放大结构系统连接的安装孔。The upper I-beam frame connection assembly includes a welding groove plate with a plurality of clamping grooves on both surfaces, two irregular spacers, a number of regular spacers and two lug plates; the surfaces of the two welding groove plates are provided with clamping grooves. One side is bolted to the upper I-beam frame, and the two irregular spacers are inserted between the two straight slots on the outer side of the upper I-beam frame and the welding groove plate, and the The upper surface of the irregular spacer is matched with the outer surface of the upper I-beam frame; a number of the regular spacers are inserted into other straight slots of the upper I-beam frame and the welding groove plate between the two ear plates and the two welding groove plates are bolted, and the other side of the surface is provided with a mounting hole for connecting with the hinge force amplifying structure system; the lower I-beam frame connection assembly includes Two welding lugs, the two welding lugs are respectively welded on both ends of the lower I-beam frame, and the surfaces of the two welding lugs are provided with a number of mounting holes for connecting with the hinge force amplification structure system .
两所述液压缸支撑系统均包括一液压缸底座、一高度可变的液压缸底座垫板以及一液压缸上盖板;两所述液压缸底座的底部分别通过两所述液压缸底座垫板对称设置在所述下工字钢架子两侧的地面上,两所述液压缸底座的顶部分别螺栓连接两所述液压缸上盖板,且两所述液压缸底座顶部设置有用于放置液压缸的三个通腔,两所述液压缸上盖板下表面设置有与该通腔相匹配的凹槽。Both the hydraulic cylinder support systems include a hydraulic cylinder base, a hydraulic cylinder base pad with a variable height, and a hydraulic cylinder upper cover; the bottoms of the two hydraulic cylinder bases pass through the two hydraulic cylinder bases respectively. The backing plates are symmetrically arranged on the ground on both sides of the lower I-beam frame, the tops of the two hydraulic cylinder bases are respectively bolted to the upper cover plates of the two hydraulic cylinders, and the tops of the two hydraulic cylinder bases are provided with The three through cavities of the hydraulic cylinder are placed, and the lower surfaces of the upper cover plates of the two hydraulic cylinders are provided with grooves matching the through cavities.
所述铰链力放大结构系统包括两对称设置的铰链力放大结构,且每一所述铰链力放大结构均包括三根并排设置的横向杆和两对间隔设置在所述横向杆之间的铰链;所述各横向杆和两对铰链端部通过一中销铰接,且两对所述铰链中上、下铰链与各所述横向杆的夹角相同;各所述横向杆的另一端通过小销与所述液压动力加载系统铰接,各对所述铰链中上、下铰链的另一端分别通过中销与所述辅助工装系统中上、下工字钢架子组件中的耳板和焊接耳板铰接。The hinge force amplifying structure system includes two symmetrically arranged hinge force amplifying structures, and each of the hinge force amplifying structures includes three lateral rods arranged side by side and two pairs of hinges arranged between the lateral rods at intervals; The ends of each of the transverse rods and the two pairs of hinges are hinged through a middle pin, and the upper and lower hinges of the two pairs of the hinges have the same angle with each of the transverse rods; the other end of each of the transverse rods is connected to each other through a small pin. The hydraulic power loading system is hinged, and the other ends of the upper and lower hinges in each pair of the hinges are respectively hinged with the lugs and the welding lugs in the upper and lower I-beam subassemblies of the auxiliary tooling system through middle pins. .
所述液压动力加载系统包括若干液压缸和液压控制系统;各所述液压缸分别设置在所述辅助工装系统两侧的两所述液压缸底座内,且各所述液压缸的一端通过小销与所述铰链力放大结构系统中的各横向杆连接;另一端端面由所述液压缸底座与液压缸上盖板内表面固定;所述液压控制系统包括步进电机控制器和含泵液压回路组件;所述步进电机控制器通过信号线与各所述液压缸连接,用于为各液压缸提供控制信号;所述含泵液压回路组件连接各所述液压缸和液压泵站,用于为各所述液压缸提供液压。The hydraulic power loading system includes a number of hydraulic cylinders and a hydraulic control system; each of the hydraulic cylinders is respectively arranged in the two hydraulic cylinder bases on both sides of the auxiliary tooling system, and one end of each of the hydraulic cylinders passes through a small pin It is connected with each transverse rod in the hinge force amplification structure system; the other end face is fixed by the hydraulic cylinder base and the inner surface of the upper cover plate of the hydraulic cylinder; the hydraulic control system includes a stepper motor controller and a hydraulic circuit including a pump components; the stepper motor controller is connected with each of the hydraulic cylinders through signal lines to provide control signals for each hydraulic cylinder; the pump-containing hydraulic circuit component is connected to each of the hydraulic cylinders and the hydraulic pump station for use in Hydraulic pressure is provided to each of the hydraulic cylinders.
所述输入数据采集分析系统包括若干横向杆拉压应变片、若干铰链拉压应变片和第一静态电阻应变仪;所述横向杆拉压应变片设置在所述铰链力放大结构系统的各横向杆的上表面,所述铰链拉压应变片设置在所述铰链力放大结构的各对铰链的上铰链的上表面和下铰链的下表面;各所述横向杆拉压应变片和铰链拉压应变片均通过导线连接构成测量电桥后与所述第一静态电阻应变仪连接,实时采集各所述横向杆和铰链上的应变力。The input data acquisition and analysis system includes a number of transverse rod tension and compression strain gauges, a number of hinge tension and compression strain gauges, and a first static resistance strain gauge; On the upper surface of the rod, the hinge tension and compression strain gauges are arranged on the upper surface of the upper hinge and the lower surface of the lower hinge of each pair of hinges of the hinge force amplification structure; each of the transverse rod tension and compression strain gauges and hinge tension and compression The strain gauges are connected with wires to form a measurement bridge and then connected to the first static resistance strain gauge, and real-time acquisition of the strain force on each of the transverse rods and hinges.
所述输出数据采集分析系统包括连接器轴向应变片、连接器径向应变片和第二静态电阻仪;所述连接器轴向应变片设置在所述井口连接器系统中的连接器本体上,所述连接器径向应变片设置在所述井口连接器系统中的中心环上;各所述连接器轴向应变片和连接器径向应变片均通过导线连接构成测量电桥后与所述第二静态电阻应变仪连接,实时采集所述井口连接器系统的应变力。The output data acquisition and analysis system includes a connector axial strain gauge, a connector radial strain gauge and a second static resistance instrument; the connector axial strain gauge is arranged on the connector body in the wellhead connector system , the connector radial strain gauge is arranged on the center ring in the wellhead connector system; the connector axial strain gauge and the connector radial strain gauge are connected by wires to form a measurement bridge and then connected to the The second static resistance strain gauge is connected to collect the strain force of the wellhead connector system in real time.
一种采用所述装置的井口连接器大载荷拉压弯测试实验方法,其特征在于包括以下步骤:1)分别将井口连接器系统与辅助工装系统、铰链力放大结构系统以及液压动力加载系统连接好;2)将输入数据采集分析系统和输出数据采集分析系统分别安装在铰链力放大结构系统和井口连接器系统上;3)根据实验要求的所需载荷,以及铰链力放大结构系统的初始倍力放大系数,得到液压缸的输出载荷计算值;4)液压控制系统根据得到的输出载荷计算值发送控制信号到两侧液压缸,进行拉、压、弯载荷测试实验;5)根据输入、输出数据分析采集系统采集的应力数据以及液压缸的输出载荷计算值,得到该载荷下的各种误差值;6)在保持液压缸输出载荷不变的前提下,改变铰链力放大结构系统的倍力放大系数,重复步骤4~5),观察在不同输出载荷下井口连接器系统的力学行为。An experimental method for high-load tension-compression-bending test of a wellhead connector using the device, which is characterized by comprising the following steps: 1) respectively connecting the wellhead connector system with the auxiliary tooling system, the hinge force amplification structure system and the hydraulic power loading system Good; 2) The input data acquisition and analysis system and the output data acquisition and analysis system are installed on the hinge force amplification structure system and the wellhead connector system respectively; 3) The required load according to the experimental requirements, and the initial times of the hinge force amplification structure system The force amplification factor is used to obtain the calculated value of the output load of the hydraulic cylinder; 4) The hydraulic control system sends a control signal to the hydraulic cylinders on both sides according to the obtained calculated value of the output load, and performs tensile, compressive and bending load test experiments; 5) According to the input and output The stress data collected by the data analysis and acquisition system and the calculated value of the output load of the hydraulic cylinder are used to obtain various error values under the load; 6) On the premise of keeping the output load of the hydraulic cylinder unchanged, change the double force of the hinge force amplification structure system Increase the amplification factor, repeat steps 4-5), and observe the mechanical behavior of the wellhead connector system under different output loads.
所述步骤4)中,液压控制系统根据得到的输出载荷计算值发送控制信号到两侧液压缸,进行拉、压、弯载荷测试实验的方法为:当进行拉载荷实验时:通过液压控制系统和步进电机控制器控制左侧液压缸向右运动、右侧液压缸向左运动;当进行压载荷实验时:试运行后,通过液压控制系统和步进电机控制器控制左侧液压缸向左运动、右侧液压缸向右运动;当进行弯载荷实验时:通过液压控制系统和步进电机控制器控制左侧液压缸向左运动、右侧液压缸向右运动。In the step 4), the hydraulic control system sends a control signal to the hydraulic cylinders on both sides according to the obtained calculated value of the output load, and the method for carrying out the tensile, compressive and bending load test experiments is: when carrying out the tensile load test: through the hydraulic control system and the stepper motor controller to control the left hydraulic cylinder to move to the right and the right hydraulic cylinder to move to the left; when the pressure load experiment is performed: after the test run, the left hydraulic cylinder is controlled by the hydraulic control system and the stepper motor controller to move to the left. Left and right hydraulic cylinders move to the right; when the bending load experiment is performed: the left hydraulic cylinder is controlled to move left and the right hydraulic cylinder is moved to the right through the hydraulic control system and the stepper motor controller.
本发明由于采取以上技术方案,其具有以下优点:1、本发明由于设置有铰链力放大结构系统,其能够将输入载荷放大20倍,且通过改变铰链长度及水平方向夹角即可改变倍力放大系数,降低了对液压缸的输出载荷要求,能够满足进行拉压弯测试实验的各种载荷需求。2、本发明辅助工装系统与实验对象之间采用铰接方式,拆除方便,当需要对不同的实验对象进行拉压弯实验时,只需将辅助工装系统吊起,将过渡装置模拟井口扭下即可,然后根据不同的被测试件使用不同的过渡装置。3、本发明由于上工字钢连接组件中设置有焊接槽板,通过调整规则垫块和不规则垫块的结构和高度,进而上下调整焊接槽板,即可消除安装误差和铰链等的制造误差,保证正确安装。4、本发明中铰链力放大结构中铰链的长度,以及液压缸底部垫块的高度均可调,实现了对井口连接器或者类似机构的大载荷拉压弯实验的不同要求,适用范围更广。5、本实验装置结构简单,设计合理,占用空间小,实验装置重复利用率较高,具有低载荷输入、大载荷输出的特点,经济适用,对生产现场具有较好的指导作用。The present invention has the following advantages due to the adoption of the above technical solutions: 1. The present invention can amplify the input load by 20 times due to the provision of a hinge force amplifying structure system, and the multiplying force can be changed by changing the hinge length and the included angle in the horizontal direction. The amplification factor reduces the output load requirements of the hydraulic cylinder, and can meet the various load requirements of the tension-compression-bending test experiment. 2. The auxiliary tooling system of the present invention adopts a hinged connection method with the experimental object, which is convenient for dismantling. When it is necessary to perform tension, compression and bending experiments on different experimental objects, it is only necessary to hoist the auxiliary tooling system and twist down the simulated wellhead of the transition device. Yes, and then use different transition devices according to different test pieces. 3. In the present invention, since the upper I-beam connecting component is provided with a welding groove plate, by adjusting the structure and height of the regular spacer block and the irregular spacer block, and then adjusting the welding groove plate up and down, the installation error and the manufacture of hinges can be eliminated. error, ensure correct installation. 4. The length of the hinge in the hinge force amplification structure of the present invention and the height of the cushion block at the bottom of the hydraulic cylinder can be adjusted, which realizes different requirements for the large-load tension-compression-bending experiment of wellhead connectors or similar mechanisms, and has a wider application range . 5. The experimental device is simple in structure, reasonable in design, small in occupied space, high in repeated utilization rate of the experimental device, has the characteristics of low load input and large load output, is economical and applicable, and has a good guiding effect on the production site.
附图说明Description of drawings
图1为本发明的主视整体结构剖视示意图;Fig. 1 is the front view overall structure sectional schematic diagram of the present invention;
图2为本发明的俯视整体结构剖视示意图;FIG. 2 is a schematic cross-sectional view of the overall structure of the present invention;
图3为本发明下工字钢架子与固定块立体示意图;3 is a three-dimensional schematic diagram of an I-beam frame and a fixing block under the present invention;
图4为本发明下工字钢架子与固定块侧视示意图;4 is a schematic side view of the I-beam frame and the fixing block under the present invention;
图5为本发明中槽板与上工字钢架子装配结构示意图;5 is a schematic diagram of the assembly structure of the groove plate and the upper I-beam shelf in the present invention;
图6为本发明中槽板立体结构示意图;6 is a schematic diagram of the three-dimensional structure of the groove plate in the present invention;
图7为本发明中槽板的主视图;Fig. 7 is the front view of the groove plate in the present invention;
图8为本发明中槽板的俯视图;Fig. 8 is the top view of the groove plate in the present invention;
图9为本发明中槽板的侧视图;Fig. 9 is the side view of the groove plate in the present invention;
图10为本发明中耳板立体结构示意图;10 is a schematic diagram of the three-dimensional structure of the middle ear plate of the present invention;
图11为本发明中耳板主视图;Fig. 11 is the front view of the middle ear plate of the present invention;
图12为本发明铰链力放大构件的结构示意图;12 is a schematic structural diagram of the hinge force amplification member of the present invention;
图13为图12的铰链力放大构件主视图。FIG. 13 is a front view of the hinge force amplifying member of FIG. 12 .
具体实施方式Detailed ways
下面结合附图和实施例对本发明的进行详细的描述。The present invention will be described in detail below with reference to the accompanying drawings and embodiments.
如图1~图5所示,本发明提供的一种井口连接器大载荷拉压弯测试实验装置,包括辅助工装系统、铰链力放大结构系统、液压动力加载系统、输入数据采集分析系统和输出数据采集分析系统;其中,辅助工装系统设置在现有井口连接器系统或类似机构上,铰链力放大结构系统与辅助工装系统相连,为辅助工装系统提供输出载荷;液压动力加载系统与铰链力放大结构系统相连,为铰链力放大结构提供输入载荷;输入数据采集分析系统设置在铰链力放大结构系统上,采集铰链力放大结构上的应变力作为实际输入载荷;输出数据采集分析系统设置在井口连接器系统上,采集井口连接器系统中的应变力作为实际输出载荷。As shown in Figures 1 to 5, the present invention provides a large-load tensile-compression-bending test device for a wellhead connector, including an auxiliary tooling system, a hinge force amplification structure system, a hydraulic power loading system, an input data acquisition and analysis system, and an output Data acquisition and analysis system; wherein, the auxiliary tooling system is set on the existing wellhead connector system or similar mechanism, and the hinge force amplification structure system is connected with the auxiliary tooling system to provide output load for the auxiliary tooling system; the hydraulic power loading system is connected with the hinge force amplification system The structure system is connected to provide input load for the hinge force amplification structure; the input data acquisition and analysis system is set on the hinge force amplification structure system, and the strain force on the hinge force amplification structure is collected as the actual input load; the output data acquisition and analysis system is set in the wellhead connection On the connector system, the strain force in the wellhead connector system is collected as the actual output load.
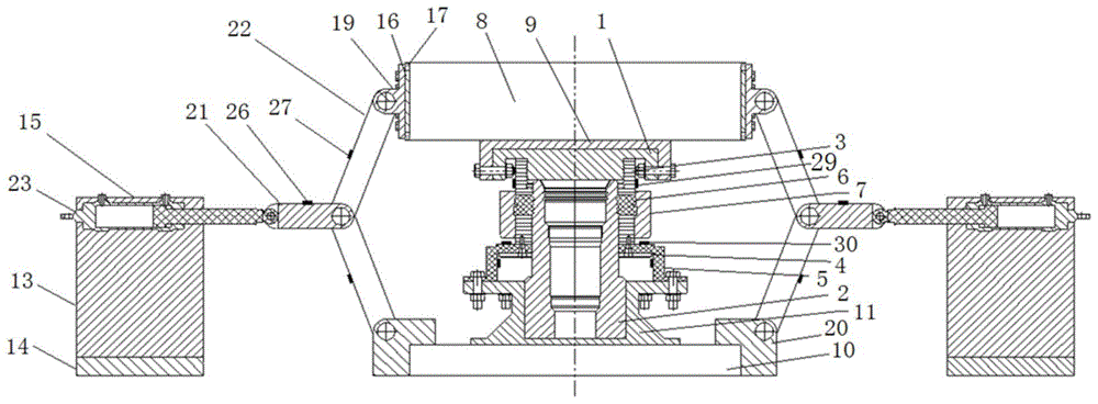
井口连接器系统包括模拟树体1、采油树测试桩2、连接器本体3、支撑环4、中心环5、锁块6和驱动环7。其中,模拟树体1设置在采油树测试桩2上部,两者通过连接器本体3密封连接。连接器本体3上部与模拟树体1下部固定连接,连接器本体3下部通过支撑环4与套设在采油树测试桩2外部的中心环5上部固定连接。连接器本体3的空腔内间隔设置若干锁块6,各锁块6通过内螺纹与采油树测试桩2外壁连接。连接器本体3外部套设有驱动环7,且连接器本体3与驱动环7之间为斜面接触,用于在液压驱动下上下运动,推动锁块6卡入/出采油树测试桩2的螺纹槽内/外以锁紧/解锁井口与井口以上设备。The wellhead connector system includes a
辅助工装系统包括上工字钢架子8、连接焊板9、下工字钢架子10、安装夹具11、下工字钢架子固定块12、上工字钢架子连接组件、下工字钢架子连接组件以及对称设置在下工字钢架子10两侧的液压缸支撑系统。其中,上工字钢架子8两端通过上工字钢连接组件与铰链力放大结构系统连接,上工字钢架子8底部通过焊接的连接焊板9与井口连接器系统上部的模拟树体1连接。下工字钢架子10两端通过下工字钢连接组件与铰链力放大结构系统连接,下工字钢架子10上部通过安装夹具11与井口连接器系统下部的采油树测试桩2下部连接,下工字钢架子10下部通过下工字钢架子固定块12固定在地面上。The auxiliary tooling system includes an upper I-
两液压缸支撑系统均包括一液压缸底座13、一高度可变的液压缸底座垫板14以及一液压缸上盖板15。两液压缸底座13的底部分别通过两液压缸底座垫板14对称设置在下工字钢架子10两侧的地面上,两液压缸底座13的顶部分别螺栓连接两液压缸上盖板15,且两液压缸底座13顶部设置有用于放置液压缸的三个通腔,两液压缸上盖板15下表面设置有与该通腔相匹配的凹槽。Both hydraulic cylinder support systems include a
如图6~图11所示,上工字钢架子连接组件包括两表面设置有若干卡槽的焊接槽板16、两不规则垫块17、若干规则垫块18和两耳板19。两焊接槽板16表面带有卡槽的一侧与上工字钢架子8螺栓连接,两不规则垫块17插设在上工字钢架子8外侧面的两直槽口与焊接槽板16之间,且不规则垫块17的上表面与上工字钢架子8外侧表面相匹配;若干规则垫块18插设在上工字钢架子8的其他直槽口与焊接槽板16之间。两耳板19与两焊接槽板16螺栓连接,且两耳板19表面另一侧设置有用于与铰链力放大结构系统连接的安装孔。As shown in FIGS. 6 to 11 , the upper I-beam frame connection assembly includes a welded
下工字钢架子连接组件包括两焊接耳板20,两焊接耳板20分别焊接在下工字钢架子10两端,且两焊接耳板20的表面设置有若干用于与铰链力放大结构系统连接的安装孔。The lower I-beam frame connecting assembly includes two welding lugs 20, the two welding lugs 20 are respectively welded on both ends of the lower I-
如图12、图13所示,铰链力放大结构系统包括两对称设置的铰链力放大结构,且每一铰链力放大结构均包括三根并排设置的横向杆21和两对间隔设置在各横向杆之间的铰链22。各横向杆21和两对铰链22端部通过一中销铰接,且两对铰链中上、下铰链与横向杆21的夹角相同。各横向杆21另一端通过小销与液压动力加载系统铰接,各对所述铰链22中上、下铰链的另一端分别通过一中销与辅助工装系统中上、下工字钢架子组件中的耳板19和焊接耳板20连接。As shown in Figures 12 and 13, the hinge force amplifying structure system includes two symmetrically arranged hinge force amplifying structures, and each hinge force amplifying structure includes three
液压动力加载系统包括若干液压缸23和由步进电机控制器24和含泵液压回路组件25构成的液压控制系统。各液压缸23分别设置在辅助工装系统两侧的液压缸底座13内,且各液压缸23的一端通过小销与铰链力放大结构系统中的横向杆21相连,另一端端面被液压缸底座13与液压缸上盖板15内表面固定。步进电机控制器24通过信号线与各液压缸23连接,用于为各液压缸23提供控制信号;含泵液压回路组件25连接各液压缸23和液压泵站,用于为各液压缸23提供液压。The hydraulic power loading system includes several
输入数据采集分析系统包括若干横向杆拉压应变片26、若干铰链拉压应变片27和第一静态电阻应变仪28。横向杆拉压应变片26设置在铰链力放大结构系统内各横向杆21的上表面,铰链拉压应变片27设置在铰链力放大结构系统内各上铰链22的上表面和下铰链22的下表面上。各横向杆拉压应变片26和铰链拉压应变片27均通过导线连接构成测量电桥后与第一静态电阻应变仪28连接,实时采集各横向杆21和铰链22上的应变力。The input data acquisition and analysis system includes several transverse rod tension and
输出数据采集分析系统包括连接器轴向应变片29、连接器径向应变片30和第二静态电阻仪31。连接器轴向应变片29设置在井口连接器系统中的连接器本体3上,连接器径向应变片30设置在井口连接器系统中的中心环5上。各连接器轴向应变片29和连接器径向应变片30均通过导线连接构成测量电桥后与第二静态电阻应变仪31连接,实时采集井口连接器系统中连接器本体轴向和径向的应变力。The output data acquisition and analysis system includes a connector
基于上述井口连接器大载荷拉压弯测试实验装置,本发明还提供一种井口连接器大载荷拉压弯测试实验方法,包括以下步骤:Based on the above-mentioned large-load tensile-compression-bending test device for wellhead connectors, the present invention also provides a large-load tensile-compression-bending test method for wellhead connectors, comprising the following steps:
1)分别将井口连接器系统辅助工装系统、铰链力放大结构系统以及液压动力加载系统安装好。1) Install the wellhead connector system auxiliary tooling system, hinge force amplification structure system and hydraulic power loading system respectively.
安装方法包括以下步骤:The installation method includes the following steps:
①将下工字钢架子10摆放在地面上,并通过下工字钢架子固定块12上的安装孔将其固定在地面上。①Place the lower I-
②根据预先计算好的距离依次将两液压缸底座13摆放在下工字钢架子10两侧的地面上,并通过液压缸底座垫板14上的安装孔固定在地面上。② Place the two hydraulic cylinder bases 13 on the ground on both sides of the lower I-
③将各液压缸23放置在两液压缸底座13顶部的通腔内,并用螺栓将液压缸上盖板15固定在液压缸底座13顶部。③ Place each
④将井口连接器系统放置在上、下工字钢架子8、10之间,上部通过连接焊板9固定,下部通过安装夹具11固定。④ Place the wellhead connector system between the upper and lower I-
⑤依次用销将各横向杆21与液压缸23、横向杆21与上下铰链22、上部铰链22与耳板19、下部铰链22与焊接耳板20连接。⑤ Connect each
⑥安装上工字钢架子8与两焊接槽板16,安装时在上工字钢架子8两个外侧面上的每个直槽口中分别装两个螺栓,如果焊接槽板16与直槽口之间有错位,需要上下移动焊接槽板16进行调整,然后依次在焊接槽板16上表面与上工字钢架子8内表面之间插入非规则垫块17和规则垫块18。⑥ Install the upper I-
2)将输入数据采集分析系统和输出数据采集分析系统分别安装在铰链力放大结构系统和井口连接器系统上。2) The input data acquisition and analysis system and the output data acquisition and analysis system are respectively installed on the hinge force amplification structure system and the wellhead connector system.
具体的,分别在横向杆21上表面、上部铰链22上表面和下部铰链22下表面上分别粘贴应变片,每个应变片分别通过导线构成测量电桥后与第一静态电阻应变仪28连接;井口连接器系统上的连接器轴向应变片29和连接器径向应变片30分别通过导线构成测量电桥后与第二静态电阻应变仪31连接。根据预设的液压控制线路图将液压缸的进油口、出油口接口和含泵液压组件接入线路中。Specifically, strain gauges are respectively pasted on the upper surface of the
3)根据实验要求的所需载荷,以及铰链力放大结构系统的初始倍力放大系数,得到液压缸的输出载荷计算值。3) According to the required load required by the experiment and the initial multiplication factor of the hinge force amplification structure system, the calculated value of the output load of the hydraulic cylinder is obtained.
铰链力放大结构系统的倍力放大系数由铰链长度及其与水平方向的夹角决定,本发明中首先使用与水平方向夹角为84.3°的铰链,此时的铰链力放大结构系统理论上的倍力放大系数为10,根据实验要求的所需载荷以及初始倍力放大系数,计算得到液压缸的输出载荷值。The force magnification factor of the hinge force amplifying structural system is determined by the length of the hinge and its included angle with the horizontal direction. In the present invention, a hinge with an included angle of 84.3 ° with the horizontal direction is used first. At this time, the hinge force amplifying structure system is theoretically The multiplier magnification factor is 10. According to the required load required by the experiment and the initial multiplier magnification factor, the output load value of the hydraulic cylinder is calculated.
4)液压控制系统根据得到的输出载荷计算值发送控制信号到两侧液压缸23,进行拉、压、弯载荷测试实验。4) The hydraulic control system sends a control signal to the
在进行拉压弯测试实验前,首先进行试运行,通过液压控制系统发送控制信号到两侧液压缸,给较小的输入液压信号,观察第一、第二静态电阻应变仪28、31示值是否变化。Before carrying out the tension-compression-bending test experiment, first carry out a trial operation, send control signals to the hydraulic cylinders on both sides through the hydraulic control system, and input hydraulic signals to the smaller ones, and observe the indications of the first and second static resistance strain gauges 28 and 31. change.
之后,当进行拉载荷实验时:通过液压控制系统和步进电机控制器控制左侧液压缸向右运动、右侧液压缸向左运动;Afterwards, when carrying out the tensile load experiment: control the left hydraulic cylinder to move to the right and the right hydraulic cylinder to the left through the hydraulic control system and the stepper motor controller;
当进行压载荷实验时:通过液压控制系统和步进电机控制器控制左侧液压缸向左运动、右侧液压缸向右运动;When carrying out the pressure load experiment: control the left hydraulic cylinder to move to the left and the right hydraulic cylinder to the right through the hydraulic control system and the stepper motor controller;
当进行弯载荷实验时:通过液压控制系统和步进电机控制器控制左侧和右侧液压缸同时向左运动,或左侧和右侧液压缸同时向右运动。When the bending load experiment is performed: the left and right hydraulic cylinders are controlled to move to the left at the same time through the hydraulic control system and the stepper motor controller, or the left and right hydraulic cylinders to move to the right at the same time.
5)根据输入、输出数据分析采集系统采集的应力数据以及液压缸的输出载荷计算值,得到该载荷下的各种误差值;5) According to the stress data collected by the input and output data analysis and acquisition system and the calculated value of the output load of the hydraulic cylinder, various error values under the load are obtained;
本发明中涉及的井口连接器的力学行为参数主要包括:上下部铰链应变力、The mechanical behavior parameters of the wellhead connector involved in the present invention mainly include: upper and lower hinge strain force,
读出并记录第一静态电阻应变仪28上显示的横向杆和上/下部铰链上的应变片的应变值和第二静态电阻应变仪31上显示的连接器轴向应变片29和连接器径向应变片30示值,观察上下部铰链上应变片示值以判断是否存在误差;按照σ=Eε计算横向杆和上/下部铰链的应力,然后按照F=σA计算横向杆和上/下部铰链受到的力,计算此时倍力机构倍力系数是否为计算值,并计算力放大系数相对误差;根据液压缸23的输出载荷,利用材料力学拉伸理论计算横向杆变形,并与第一静态电阻应变仪上显示的横向杆应变示值对比,计算液压缸在存在泄漏等情况下输出载荷的误差。Read and record the strain values of the transverse rods and the strain gauges on the upper/lower hinges displayed on the first static resistance strain gauge 28 and the connector
6)在保持液压缸加载负荷不变的前提下,更换与水平方向夹角大小不同的铰链,重复步骤5),即在保证输入载荷不变的情况下,改变力放大机构的放大系数进而改变输出载荷的大小,以观察在不同输出载荷下井口连接器及类似机构的力学行为。6) Under the premise of keeping the loading load of the hydraulic cylinder unchanged, replace the hinge with a different angle from the horizontal direction, and repeat step 5), that is, under the condition that the input load remains unchanged, change the amplification factor of the force amplification mechanism and then change The magnitude of the output load to observe the mechanical behavior of wellhead connectors and similar mechanisms under different output loads.
上述各实施例仅用于说明本发明,其中各部件的结构、连接方式和制作工艺等都是可以有所变化的,凡是在本发明技术方案的基础上进行的等同变换和改进,均不应排除在本发明的保护范围之外。The above-mentioned embodiments are only used to illustrate the present invention, and the structure, connection method and manufacturing process of each component can be changed to some extent. Any equivalent transformation and improvement based on the technical solution of the present invention should not be used. Excluded from the scope of protection of the present invention.
Claims (9)
Priority Applications (1)
| Application Number | Priority Date | Filing Date | Title |
|---|---|---|---|
| CN201710811757.2A CN107643218B (en) | 2017-09-11 | 2017-09-11 | Wellhead connector large-load tension-compression bending test experimental device and method |
Applications Claiming Priority (1)
| Application Number | Priority Date | Filing Date | Title |
|---|---|---|---|
| CN201710811757.2A CN107643218B (en) | 2017-09-11 | 2017-09-11 | Wellhead connector large-load tension-compression bending test experimental device and method |
Publications (2)
| Publication Number | Publication Date |
|---|---|
| CN107643218A CN107643218A (en) | 2018-01-30 |
| CN107643218B true CN107643218B (en) | 2020-02-14 |
Family
ID=61111047
Family Applications (1)
| Application Number | Title | Priority Date | Filing Date |
|---|---|---|---|
| CN201710811757.2A Expired - Fee Related CN107643218B (en) | 2017-09-11 | 2017-09-11 | Wellhead connector large-load tension-compression bending test experimental device and method |
Country Status (1)
| Country | Link |
|---|---|
| CN (1) | CN107643218B (en) |
Families Citing this family (5)
| Publication number | Priority date | Publication date | Assignee | Title |
|---|---|---|---|---|
| CN109577901A (en) * | 2018-11-23 | 2019-04-05 | 重庆前卫科技集团有限公司 | A kind of subsea wellhead connector and its pilot system and test method |
| CN110579408B (en) * | 2019-09-16 | 2022-03-08 | 哈尔滨工程大学 | A kind of marine flexible umbilical helically wound armored steel wire bending-slip experiment device and test method with arbitrary curvature |
| CN110718123B (en) * | 2019-10-10 | 2021-05-25 | 常州大学 | Non-metallic rod tensile-bending combined deformation experimental platform |
| CN113533079B (en) * | 2021-08-03 | 2024-03-15 | 上海乐橘科技有限公司 | Plastic pallet mechanical strength check out test set |
| CN114991698B (en) * | 2022-05-31 | 2024-05-03 | 中海油研究总院有限责任公司 | System and method for testing underwater wellhead connector in locking state |
Citations (7)
| Publication number | Priority date | Publication date | Assignee | Title |
|---|---|---|---|---|
| JP2001004511A (en) * | 1999-06-17 | 2001-01-12 | Shimadzu Corp | Method of conducting material test on demand and material testing machine |
| DE20216861U1 (en) * | 2002-10-30 | 2003-01-02 | Hegewald & Peschke Meß- und Prüftechnik GmbH, 01683 Nossen | Tension, compression and bending test unit has orthogonal traverses for eccentric measurements |
| CN101788379A (en) * | 2010-01-27 | 2010-07-28 | 北京航空航天大学 | Testing and measuring device and measuring method of low-cycle fatigue failure of hinge at root part of sailboard |
| CN202485989U (en) * | 2012-03-16 | 2012-10-10 | 江汉石油钻头股份有限公司 | Underwater well-mouth-head hydrostatic pressure testing device |
| CN103884495A (en) * | 2012-12-20 | 2014-06-25 | 核工业西南物理研究院 | A Closed Loading Frame for Multidimensional Force Testing of Large Structural Parts |
| CN104833577A (en) * | 2015-04-07 | 2015-08-12 | 昆明理工大学 | A comprehensive test and detection device for plastic inspection wells |
| CN205665109U (en) * | 2016-05-18 | 2016-10-26 | 西安建筑科技大学 | Portable two -way load combined action capability test device of node that passes through mutually |
-
2017
- 2017-09-11 CN CN201710811757.2A patent/CN107643218B/en not_active Expired - Fee Related
Patent Citations (7)
| Publication number | Priority date | Publication date | Assignee | Title |
|---|---|---|---|---|
| JP2001004511A (en) * | 1999-06-17 | 2001-01-12 | Shimadzu Corp | Method of conducting material test on demand and material testing machine |
| DE20216861U1 (en) * | 2002-10-30 | 2003-01-02 | Hegewald & Peschke Meß- und Prüftechnik GmbH, 01683 Nossen | Tension, compression and bending test unit has orthogonal traverses for eccentric measurements |
| CN101788379A (en) * | 2010-01-27 | 2010-07-28 | 北京航空航天大学 | Testing and measuring device and measuring method of low-cycle fatigue failure of hinge at root part of sailboard |
| CN202485989U (en) * | 2012-03-16 | 2012-10-10 | 江汉石油钻头股份有限公司 | Underwater well-mouth-head hydrostatic pressure testing device |
| CN103884495A (en) * | 2012-12-20 | 2014-06-25 | 核工业西南物理研究院 | A Closed Loading Frame for Multidimensional Force Testing of Large Structural Parts |
| CN104833577A (en) * | 2015-04-07 | 2015-08-12 | 昆明理工大学 | A comprehensive test and detection device for plastic inspection wells |
| CN205665109U (en) * | 2016-05-18 | 2016-10-26 | 西安建筑科技大学 | Portable two -way load combined action capability test device of node that passes through mutually |
Also Published As
| Publication number | Publication date |
|---|---|
| CN107643218A (en) | 2018-01-30 |
Similar Documents
| Publication | Publication Date | Title |
|---|---|---|
| CN107643218B (en) | Wellhead connector large-load tension-compression bending test experimental device and method | |
| Xie et al. | Experimental study on failure modes and retrofitting method of latticed transmission tower | |
| CN105277441B (en) | A kind of large scale cuboid coal petrography sample long-time bearing test monitoring device | |
| CN110823612B (en) | Tunnel surrounding rock lining composite structure stress waterproof test system and method | |
| CN109839440A (en) | A kind of bridge damnification localization method based on standing vehicle testing | |
| CN103499495A (en) | Shield segment erosion test device under chlorine salt environment and load coupling effects | |
| CN103884495A (en) | A Closed Loading Frame for Multidimensional Force Testing of Large Structural Parts | |
| CN102966125A (en) | Transmission and transformation project foundation load test system | |
| CN110514523B (en) | A stress loading combined device | |
| CN202928888U (en) | Lifting point or anchoring point load testing device for nuclear power plant | |
| CN115452572A (en) | A test device and method for testing neutral axis position and longitudinal equivalent bending stiffness of shield tunnel | |
| CN205665109U (en) | Portable two -way load combined action capability test device of node that passes through mutually | |
| CN106979888A (en) | Study the test apparatus and test method of ore pillar digging process obturation carrying mechanism | |
| CN203414358U (en) | Erosion testing device for shield segment under chlorine salt environment and load coupling effect | |
| CN109060512B (en) | Assembled superposed pipe gallery quasi-static force loading test device and test method | |
| CN104634661B (en) | Three-dimensional model apparatus for testing rock masses in deep tunnel and using method of testing apparatus | |
| CN115979911A (en) | Dynamic and static load complex environment crack rock body mechanical response simulation test method | |
| CN202502009U (en) | Displacement and force dual control column compression bending performance self-balancing test device | |
| CN107589031B (en) | A kind of checking tension and compression reaction frame | |
| CN203203877U (en) | Turbine partition plate deflection testing machine | |
| CN1173163C (en) | Discretized multi-principal stress surface loading method and device in model test | |
| CN111829878A (en) | A device and method for testing the mechanical properties of an angle steel reinforcement of a transmission tower | |
| CN106052996A (en) | Seismic test device and test method for UHV DC composite wall bushing | |
| CN205562298U (en) | Interior enhancement crescent moon rib shaped steel bifurcated pipe hydrostatic test monitoring system | |
| CN110108562A (en) | A kind of bearing diagonal node slip resistance experiment static force loading device and loading method |
Legal Events
| Date | Code | Title | Description |
|---|---|---|---|
| PB01 | Publication | ||
| PB01 | Publication | ||
| SE01 | Entry into force of request for substantive examination | ||
| SE01 | Entry into force of request for substantive examination | ||
| GR01 | Patent grant | ||
| GR01 | Patent grant | ||
| CF01 | Termination of patent right due to non-payment of annual fee | ||
| CF01 | Termination of patent right due to non-payment of annual fee |
Granted publication date: 20200214 Termination date: 20210911 |
