CN107381872B - Industrial sewage high efficiency processing device - Google Patents
Industrial sewage high efficiency processing device Download PDFInfo
- Publication number
- CN107381872B CN107381872B CN201710738999.3A CN201710738999A CN107381872B CN 107381872 B CN107381872 B CN 107381872B CN 201710738999 A CN201710738999 A CN 201710738999A CN 107381872 B CN107381872 B CN 107381872B
- Authority
- CN
- China
- Prior art keywords
- reservoir
- tank
- sedimentation tank
- conduit
- welded
- Prior art date
- Legal status (The legal status is an assumption and is not a legal conclusion. Google has not performed a legal analysis and makes no representation as to the accuracy of the status listed.)
- Active
Links
Images
Classifications
-
- C—CHEMISTRY; METALLURGY
- C02—TREATMENT OF WATER, WASTE WATER, SEWAGE, OR SLUDGE
- C02F—TREATMENT OF WATER, WASTE WATER, SEWAGE, OR SLUDGE
- C02F9/00—Multistage treatment of water, waste water or sewage
-
- C—CHEMISTRY; METALLURGY
- C02—TREATMENT OF WATER, WASTE WATER, SEWAGE, OR SLUDGE
- C02F—TREATMENT OF WATER, WASTE WATER, SEWAGE, OR SLUDGE
- C02F1/00—Treatment of water, waste water, or sewage
- C02F1/001—Processes for the treatment of water whereby the filtration technique is of importance
-
- C—CHEMISTRY; METALLURGY
- C02—TREATMENT OF WATER, WASTE WATER, SEWAGE, OR SLUDGE
- C02F—TREATMENT OF WATER, WASTE WATER, SEWAGE, OR SLUDGE
- C02F1/00—Treatment of water, waste water, or sewage
- C02F1/52—Treatment of water, waste water, or sewage by flocculation or precipitation of suspended impurities
- C02F1/5281—Installations for water purification using chemical agents
-
- C—CHEMISTRY; METALLURGY
- C02—TREATMENT OF WATER, WASTE WATER, SEWAGE, OR SLUDGE
- C02F—TREATMENT OF WATER, WASTE WATER, SEWAGE, OR SLUDGE
- C02F2201/00—Apparatus for treatment of water, waste water or sewage
- C02F2201/002—Construction details of the apparatus
-
- C—CHEMISTRY; METALLURGY
- C02—TREATMENT OF WATER, WASTE WATER, SEWAGE, OR SLUDGE
- C02F—TREATMENT OF WATER, WASTE WATER, SEWAGE, OR SLUDGE
- C02F2203/00—Apparatus and plants for the biological treatment of water, waste water or sewage
- C02F2203/006—Apparatus and plants for the biological treatment of water, waste water or sewage details of construction, e.g. specially adapted seals, modules, connections
-
- C—CHEMISTRY; METALLURGY
- C02—TREATMENT OF WATER, WASTE WATER, SEWAGE, OR SLUDGE
- C02F—TREATMENT OF WATER, WASTE WATER, SEWAGE, OR SLUDGE
- C02F2303/00—Specific treatment goals
- C02F2303/14—Maintenance of water treatment installations
-
- C—CHEMISTRY; METALLURGY
- C02—TREATMENT OF WATER, WASTE WATER, SEWAGE, OR SLUDGE
- C02F—TREATMENT OF WATER, WASTE WATER, SEWAGE, OR SLUDGE
- C02F3/00—Biological treatment of water, waste water, or sewage
- C02F3/32—Biological treatment of water, waste water, or sewage characterised by the animals or plants used, e.g. algae
Landscapes
- Life Sciences & Earth Sciences (AREA)
- Hydrology & Water Resources (AREA)
- Engineering & Computer Science (AREA)
- Environmental & Geological Engineering (AREA)
- Water Supply & Treatment (AREA)
- Chemical & Material Sciences (AREA)
- Organic Chemistry (AREA)
- Separation Of Suspended Particles By Flocculating Agents (AREA)
Abstract
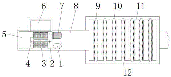
本发明公开了一种工业污水高效处理装置,包括沉降池,所述沉降池的左侧设置有蓄水池,并且蓄水池与沉降池之间通过导管连通,所述蓄水池的一侧设置有集渣池,所述集渣池与蓄水池之间安装有隔板,隔板的底部开设有通槽,所述通槽内设置有滤网,所述导管远离蓄水池的一端内壁等距离焊接有不少于三个的支杆,不少于三个的支杆之间焊接有轴承。该工业污水高效处理装置,利用转轴的转动带动筛板转动,利用筛板的转动能够对蓄水池内的大型杂质进行打捞,打捞后的杂质在离心力的作用下甩入到集渣池内,达到自动打捞的目的,工作人员只需定期对集渣池内的残渣进行清理即可,不会造成堵塞,减少了人工多次清理的麻烦。
The invention discloses a high-efficiency treatment device for industrial sewage, comprising a sedimentation tank, a reservoir is arranged on the left side of the sedimentation tank, and the reservoir and the sedimentation tank are communicated through a conduit, and one side of the reservoir is arranged There is a slag collecting pool, a separator is installed between the slag collecting pool and the reservoir, a through slot is opened at the bottom of the separator, a filter screen is arranged in the through slot, and the conduit is far away from the inner wall of one end of the reservoir, etc. There are no less than three struts welded from the distance, and bearings are welded between the no less than three struts. The high-efficiency treatment device for industrial sewage uses the rotation of the rotating shaft to drive the sieve plate to rotate, and the rotation of the sieve plate can salvage large impurities in the reservoir. For the purpose of salvage, the staff only needs to regularly clean the residue in the slag collecting tank, which will not cause blockage and reduce the trouble of manual cleaning for many times.
Description
Claims (3)
Priority Applications (1)
| Application Number | Priority Date | Filing Date | Title |
|---|---|---|---|
| CN201710738999.3A CN107381872B (en) | 2017-08-25 | 2017-08-25 | Industrial sewage high efficiency processing device |
Applications Claiming Priority (1)
| Application Number | Priority Date | Filing Date | Title |
|---|---|---|---|
| CN201710738999.3A CN107381872B (en) | 2017-08-25 | 2017-08-25 | Industrial sewage high efficiency processing device |
Publications (2)
| Publication Number | Publication Date |
|---|---|
| CN107381872A CN107381872A (en) | 2017-11-24 |
| CN107381872B true CN107381872B (en) | 2021-02-19 |
Family
ID=60346840
Family Applications (1)
| Application Number | Title | Priority Date | Filing Date |
|---|---|---|---|
| CN201710738999.3A Active CN107381872B (en) | 2017-08-25 | 2017-08-25 | Industrial sewage high efficiency processing device |
Country Status (1)
| Country | Link |
|---|---|
| CN (1) | CN107381872B (en) |
Families Citing this family (6)
| Publication number | Priority date | Publication date | Assignee | Title |
|---|---|---|---|---|
| CN108974303B (en) * | 2018-07-13 | 2023-07-14 | 浙江海洋大学 | Ship water jet thruster |
| CN110104835A (en) * | 2019-05-30 | 2019-08-09 | 锐彤环境科技南京有限公司 | Buried type integrated medical waste water processing system |
| CN110422921A (en) * | 2019-09-04 | 2019-11-08 | 山东和正环保工程有限公司 | A kind of anaerobic system PH buffer unit |
| CN111533299B (en) * | 2020-05-22 | 2022-05-13 | 贵州巨美环境科技有限公司 | Industrial sewage treatment is with filtering mechanism who has isolating construction |
| CN111659184B (en) * | 2020-06-08 | 2021-11-02 | 芜湖职业技术学院 | A sewage pretreatment device |
| CN111732279A (en) * | 2020-06-29 | 2020-10-02 | 安徽海沃特水务股份有限公司 | Environment-friendly domestic water processing apparatus |
Citations (5)
| Publication number | Priority date | Publication date | Assignee | Title |
|---|---|---|---|---|
| CN205773641U (en) * | 2016-05-22 | 2016-12-07 | 重庆喜尔创科技有限责任公司 | A kind of sewage sedimentation device |
| JP6067268B2 (en) * | 2012-07-26 | 2017-01-25 | 株式会社西原環境 | Water treatment system |
| CN206188594U (en) * | 2016-11-14 | 2017-05-24 | 李艳梅 | Effluent treatment plant for bio -pharmaceuticals |
| CN106865871A (en) * | 2016-12-20 | 2017-06-20 | 银山科技有限公司 | Centrifugal magnetic separation two-stage sewage treatment device easy to clean |
| CN206266246U (en) * | 2016-11-09 | 2017-06-20 | 南昌大学 | A kind of adjustable curved surface grilling trash remover of grizzly bar spacing |
-
2017
- 2017-08-25 CN CN201710738999.3A patent/CN107381872B/en active Active
Patent Citations (5)
| Publication number | Priority date | Publication date | Assignee | Title |
|---|---|---|---|---|
| JP6067268B2 (en) * | 2012-07-26 | 2017-01-25 | 株式会社西原環境 | Water treatment system |
| CN205773641U (en) * | 2016-05-22 | 2016-12-07 | 重庆喜尔创科技有限责任公司 | A kind of sewage sedimentation device |
| CN206266246U (en) * | 2016-11-09 | 2017-06-20 | 南昌大学 | A kind of adjustable curved surface grilling trash remover of grizzly bar spacing |
| CN206188594U (en) * | 2016-11-14 | 2017-05-24 | 李艳梅 | Effluent treatment plant for bio -pharmaceuticals |
| CN106865871A (en) * | 2016-12-20 | 2017-06-20 | 银山科技有限公司 | Centrifugal magnetic separation two-stage sewage treatment device easy to clean |
Also Published As
| Publication number | Publication date |
|---|---|
| CN107381872A (en) | 2017-11-24 |
Similar Documents
| Publication | Publication Date | Title |
|---|---|---|
| CN107381872B (en) | Industrial sewage high efficiency processing device | |
| CN218709543U (en) | Multistage filter equipment is used in gardens water treatment | |
| CN208327752U (en) | A kind of sewage purification processing system | |
| CN111039458B (en) | Ecological prosthetic devices in plateau lake fishery waters | |
| CN209554933U (en) | A kind of drainage system sewage-treatment plant | |
| CN209662801U (en) | A farm sewage filter device | |
| CN115581951A (en) | Environment-friendly sewage treatment device | |
| CN211921174U (en) | Sewage grading cleaning environment-friendly device | |
| CN211462305U (en) | Efficient sewage treatment plant | |
| CN222274301U (en) | A multi-stage wastewater treatment device | |
| CN213407981U (en) | Water purification device for rapidly treating factory discharged wastewater | |
| CN210764763U (en) | Sewage treatment device | |
| CN221579968U (en) | Combined sewage treatment device | |
| CN221275549U (en) | Environment-friendly engineering sewage precipitation purification device | |
| CN221267406U (en) | Sewage treatment device | |
| CN216785852U (en) | Farmland irrigation drainage purification treatment circulating device | |
| CN205115166U (en) | A clarification plant for sewage treatment | |
| CN208898701U (en) | Glass reinforced plastic biochemistry pool | |
| CN222182023U (en) | Industrial wastewater treatment device | |
| CN218910093U (en) | Water quality purifying device | |
| CN223522391U (en) | A wastewater treatment device | |
| CN219031947U (en) | Dissolved air flotation machine for wastewater treatment | |
| CN221235460U (en) | A water purification device for ecological environment protection | |
| CN214680471U (en) | An IoT-based bioengineering environmental protection device | |
| CN220056489U (en) | Sewage purification cyclic utilization device of power plant |
Legal Events
| Date | Code | Title | Description |
|---|---|---|---|
| PB01 | Publication | ||
| PB01 | Publication | ||
| SE01 | Entry into force of request for substantive examination | ||
| SE01 | Entry into force of request for substantive examination | ||
| TA01 | Transfer of patent application right |
Effective date of registration: 20210112 Address after: Room 2202, 22 / F, Wantong building, No. 3002, Sungang East Road, Sungang street, Luohu District, Shenzhen City, Guangdong Province Applicant after: SHENZHEN LOTUT INNOVATION DESIGN Co.,Ltd. Address before: 235099 6 506 of Changshan South Road, Xiangshan District, Huaibei, Anhui Applicant before: HUAIBEI QINGRONG GAOGUANG BUILDING TECHNOLOGY Co.,Ltd. |
|
| TA01 | Transfer of patent application right | ||
| TA01 | Transfer of patent application right |
Effective date of registration: 20210128 Address after: 236600 B District, Taihe County Economic Development Zone, Fuyang, Anhui Applicant after: ANHUI HENGYU ENVIRONMENTAL PROTECTION EQUIPMENT MANUFACTURING LIMITED BY SHARE Ltd. Address before: Room 2202, 22 / F, Wantong building, No. 3002, Sungang East Road, Sungang street, Luohu District, Shenzhen City, Guangdong Province Applicant before: SHENZHEN LOTUT INNOVATION DESIGN Co.,Ltd. |
|
| TA01 | Transfer of patent application right | ||
| GR01 | Patent grant | ||
| GR01 | Patent grant | ||
| PE01 | Entry into force of the registration of the contract for pledge of patent right |
Denomination of invention: An efficient industrial sewage treatment device Effective date of registration: 20221214 Granted publication date: 20210219 Pledgee: China Construction Bank Taihe sub branch Pledgor: ANHUI HENGYU ENVIRONMENTAL PROTECTION EQUIPMENT MANUFACTURING LIMITED BY SHARE Ltd. Registration number: Y2022980027420 |
|
| PE01 | Entry into force of the registration of the contract for pledge of patent right | ||
| PC01 | Cancellation of the registration of the contract for pledge of patent right |
Granted publication date: 20210219 Pledgee: China Construction Bank Taihe sub branch Pledgor: ANHUI HENGYU ENVIRONMENTAL PROTECTION EQUIPMENT MANUFACTURING LIMITED BY SHARE Ltd. Registration number: Y2022980027420 |
|
| PC01 | Cancellation of the registration of the contract for pledge of patent right | ||
| PE01 | Entry into force of the registration of the contract for pledge of patent right |
Denomination of invention: An efficient industrial sewage treatment device Granted publication date: 20210219 Pledgee: China Construction Bank Taihe sub branch Pledgor: ANHUI HENGYU ENVIRONMENTAL PROTECTION EQUIPMENT MANUFACTURING LIMITED BY SHARE Ltd. Registration number: Y2025980042795 |
|
| PE01 | Entry into force of the registration of the contract for pledge of patent right |
