CN103082924A - Cleaning machine having push-pull structure - Google Patents

Cleaning machine having push-pull structure Download PDF

Info

Publication number
CN103082924A
CN103082924A CN201210149841XA CN201210149841A CN103082924A CN 103082924 A CN103082924 A CN 103082924A CN 201210149841X A CN201210149841X A CN 201210149841XA CN 201210149841 A CN201210149841 A CN 201210149841A CN 103082924 A CN103082924 A CN 103082924A
Authority
CN
China
Prior art keywords
casing
flexible axle
shaft coupling
pallet
motor
Prior art date
Legal status (The legal status is an assumption and is not a legal conclusion. Google has not performed a legal analysis and makes no representation as to the accuracy of the status listed.)
Granted
Application number
CN201210149841XA
Other languages
Chinese (zh)
Other versions
CN103082924B (en
Inventor
于大国
孟晓华
蒿风花
宁磊
于晓慧
Current Assignee (The listed assignees may be inaccurate. Google has not performed a legal analysis and makes no representation or warranty as to the accuracy of the list.)
North University of China
Original Assignee
North University of China
Priority date (The priority date is an assumption and is not a legal conclusion. Google has not performed a legal analysis and makes no representation as to the accuracy of the date listed.)
Filing date
Publication date
Application filed by North University of China filed Critical North University of China
Priority to CN201210149841.XA priority Critical patent/CN103082924B/en
Publication of CN103082924A publication Critical patent/CN103082924A/en
Application granted granted Critical
Publication of CN103082924B publication Critical patent/CN103082924B/en
Expired - Fee Related legal-status Critical Current
Anticipated expiration legal-status Critical

Links

Images

Landscapes

  • Body Washing Hand Wipes And Brushes (AREA)

Abstract

本发明涉及一种自动擦洗人体的机械。目前,人们沐浴过程主要由人工完成,缺乏自动化、专用化工具,沐浴时本人很难擦洗自己的背部。现有为数不多的相关工具存在容易漏电、损坏电池、制造成本高等不足,产品实用性不够。本发明主要包括电动机、调速器、联轴器、加长调速旋钮、钢丝软轴、手柄、擦洗材料、清洗圆盘等零件。电动机驱动软轴,带动清洗圆盘及与之相连的擦洗材料运动。擦洗材料可以更换,使用方便。本发明电动机置于沐浴间内,操作方便,采用推拉式结构,擦洗动作有旋转运动和往复运动。工具防水功能强,使用安全,结构简单成本低。

Figure 201210149841

The invention relates to a machine for automatically scrubbing the human body. At present, people's bathing process is mainly completed manually, lacking automation and specialized tools, and it is difficult for the person to scrub his or her back during bathing. The existing few related tools have the disadvantages of easy leakage, battery damage, high manufacturing cost, etc., and the product is not practical enough. The invention mainly includes parts such as a motor, a speed governor, a shaft coupling, an extended speed regulating knob, a flexible steel wire shaft, a handle, a scrubbing material, and a cleaning disc. The motor drives the flexible shaft to drive the cleaning disc and the scrubbing material connected with it. The scrubbing material can be replaced, which is convenient to use. The electric motor of the present invention is placed in the shower room, and the operation is convenient. The push-pull structure is adopted, and the scrubbing action includes rotary motion and reciprocating motion. The tool has strong waterproof function, safe use, simple structure and low cost.

Figure 201210149841

Description

A kind of push-pull configuration cleaning machine
Technical field
The present invention relates to a kind of machine tool of scrubbing body.
Background technology
People need to wash by rubbing with the hands parts of body when having a bath, but for the back, having a bath is difficult to get in person, often needs other people's help, cumbersome like this.Existing various designs about bath devices are generally promoted the use of, and are not that people do not want to use bath devices, but its technical scheme Shortcomings, such as, the water capacity is easily invaded motor, due to the existence of water, and easily electric leakage, or damage battery.And for example, the technical scheme manufacturing cost is too high.For another example, existing bath devices technical scheme is complicated, and product flexibility is poor, and practicality is inadequate.
Summary of the invention
Purpose of the present invention is intended to overcome the shortcoming on above-mentioned prior art, provide a kind of having a bath conveniently to wash the back by rubbing with the hands in person, but automatic operation, can change at any time the bath devices of wash towel, in the process of taking a shower, the present invention also the artificial hand at it massage effect, can allow gives a rubdown with a damp towel arbitrarily regulates its massage amplitude in person, reaches the different requirements of different people.Simple in structure, easy to use.The present invention is achieved by the following technical solutions:
The present invention includes the parts such as motor 1, shaft coupling 9, speed regulator 2, lengthening knob 5, flexible axle 6, cleaning disk.
The basic principle of work of the present invention is: staff is held handle, and Bowden cable bears the power of motor, passes handle, and final the driving cleaned disk and scouring material motion, and scrubbing body is realized automatic bathing.
As shown in Figure 1, motor 1 of the present invention, shaft coupling 9, speed regulator 2, shaft coupling 4 are installed in casing 3, hang together on the wall, and the position is higher than human body, or directly are positioned over ground, table top.Also can select like this: be suspended to when having a bath on wall, take off when not having a bath.
The power of motor 1 of the present invention passes to Bowden cable 6 by shaft coupling 9, then passes to main shaft by shaft coupling, then passes to the cleaning disk, cleans the scouring material that disk is covered with the suitable scouring human body made from soft materials such as cloth, sponge, fiber crops.Scouring material is fixed by its peripheral elastic ring.Scouring material can dismounting and change.
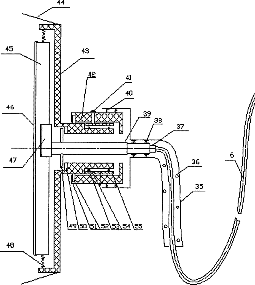
Motor 1 is connected with Bowden cable 6 by shaft coupling 9, Bowden cable 6 passes the endoporus of handle 35, is connected with main shaft 39, and main shaft 39 is connected with eccentric wheel 47, clean disk 45 and be supported on pallet 43 by several springs 48, eccentric wheel 47 is placed in the rectangle or square hole of cleaning disk 45;
The present invention adopts the power of Bowden cable 6 transmission motor 1, advantages.Bowden cable 6 comprises pipe and is placed on manages interior core, and when pipe maintained static, inner core can rotate.Bowden cable, similar to telephone wire in form, inside is core, and core is outward pipe (being sheath), and difference is, and the core in telephone wire can not be with respect to pipe (being sheath) motion, and the core of Bowden cable can rotate with respect to pipe.The pipe of Bowden cable and core are all softer, and core can change with pipe, and they can be rectilinear forms, also can be more crooked, have lubricatedly between Bowden cable Guan Yuxin, so long-term the use, core also is not easy to damage, manage very solid, so pipe also is not easy to damage.Although Bowden cable 6 is uncommon, existing factory produces specially.The length of Bowden cable can more freely be chosen, and utilizes the flexible axle transferring power very flexible.
The axle of motor 1 of the present invention is connected by shaft coupling 9 with Bowden cable 6, shaft coupling 9 centers porose (seeing Fig. 5, Fig. 6), the hole structurally, adapt with Bowden cable axle head, motor reel axle head respectively on size, shaft coupling one side cuts, and leaves opening.After filling in the axle head of motor reel, Bowden cable in shaft coupling 9 holes, tighten set screw nut 20 (seeing Fig. 5), above-mentioned opening shrinks, through clamping element 21 clamp motor axles and Bowden cable axle head.The material of shaft coupling 9 is insulating materials, and Bowden cable 6 directly do not contact with motor 1 axle, and flexible axle can be not charged like this, and is very safe.
Motor 1 rotating speed of the present invention is adjustable, as shown in Figure 1, is connected by shaft coupling 4 between machine governor 2 and lengthening knob 5 that practical operation is used.The shaft coupling here, with the previously described shaft coupling 9 that is connected motor reel and Bowden cable, similar on structure, operation principle, material is also insulating materials, and like this, electricity can not pass to the lengthening knob 5 that practical operation is used, and lengthen knob 5 and also adopt insulating materials, very safe.
Should note the impact of anti-sealing.
From casing 3 position out, the flexible axle sealing device is set at flexible axle 6, enters the position of casing at power line 78, the power line sealing device is set, 5 places arrange the knob sealing device at the lengthening knob.Concrete scheme is as follows.From casing 3 position out, be provided with flexible axle seal 75 at flexible axle 6, flexible axle seal 75 is fixed in casing 3 outer surfaces, and flexible axle 6 passes the hole in the middle of seal.Under nature, the diameter in flexible axle seal 75 holes can play sealing function like this less than the diameter of flexible axle 6 outsides, and anti-sealing enters in casing, affects motor.Because does not rotate the outside (being previously described pipe) of flexible axle 6, just the core in pipe is rotating, so the sealing here is static seal, sealing can keep for a long time.Be provided with the flexible axle catch 74 that is fixed in casing above flexible axle 6, flexible axle seal 75, make flexible axle from casing out after, be bent downwardly, from high to low, can prevent that further sealing enters in casing like this.Pass the casing position at power line 78, be provided with wire seals 79, its sealing principle is with the flexible axle seal.The electric wire catch 80 that is fixed in casing also is set at this place, make electric wire from casing out after, be bent downwardly, from high to low, can prevent that further sealing enters in casing like this.The lengthening knob 5 of using in practical operation is provided with knob seal 81 from casing position out, its operation principle is similar to the flexible axle seal, and the speed governing rotation axis is high near the casing place here, and the place is low away from casing, design like this, purpose are also to prevent that water from flowing into casing.
Be provided with air inlet 8 below casing, purpose is to make the inside and outside gaseous state of casing to approach, and prevents set transparent windows (not shown) on the fuzzy casing 3 of steam.Air inlet is set, also can be beneficial to motor heat dissipation.The characteristics of air inlet 8 are into and out of gas, can not intake.Air inlet is provided with staggered several tilted-putted block water plates 76 from top to bottom, with its special construction and arrangement, can effectively stop water to enter casing.The water of sputter is characterized in movement locus near straight line, and the block water plate that is crisscross arranged like this can play the effect that stops water to be splashed into casing really.Specifically, on perpendicular to the paper direction, the size of block water plate 76 and air inlet 8 be in the consistent size of this direction, and the unsettled end points of top block water plate near wall, but has ventilative gap between following block water plate unsettled end points and fixing lower block water plate wall; The block water plate stiff end is higher than free end.
As shown in drawings, a plurality of osculums are arranged on handle, if water is arranged in handle, water can go out from orifice flow.
Bearing adopts stainless steel bearing, or plastic bearing, or ceramic ball bearing, gets rusty preventing.Spring adopts stainless steel spring.Other part material preferentially adopts stainless steel or plastics, prevents from getting rusty.
Scouring material is fixed by its peripheral elastic ring, can change.
Main shaft 39 is connected with eccentric wheel 47, pedestal 42 is supported in the large end of handle 35 by some biserial springs 40, main shaft 39 is supported in the small end of handle 35 by bearing 38, pallet 43 is supported in cover 55 at its right-hand member by bearing 53, cover 55 is placed in pedestal 42 endoporus, keep matched in clearance with the hole, utilize pin 41 to snap in the annular groove 54 of cover 55 outer round surface;
When pin 41 is in cover 55 left side first groove, the bayonet lock 52 that is fixed on pallet 43 engages with the corresponding kidney groove 51 with it that is positioned at that pedestal 42 processes, being fixed in the corresponding kidney groove 50 with it that processes on bayonet lock 49 and the pallet 43 on main shaft breaks away from, when pin 41 is locked in cover 55 left side second groove, kidney groove 50 in pallet 43 engages with the bayonet lock 49 on being fixed in main shaft 39, and this moment, pallet bayonet lock 52 broke away from pedestal kidney groove 51;
Clean disk 45 and be positioned at pallet 43, but its end face and scouring material 46 of being used for scrubbing body be positioned at outside pallet 43, be fixed with taper retaining ring 44 at pallet 43 circumference, circular cone circle oral area is large, and is inner little.The large end of taper retaining ring 44 is positioned at and cleans outside disk 45, scouring material 46, opens several roads narrow slit on taper retaining ring 44, is beneficial to distortion, makes human body contact scouring material.
Motor in the present invention has speed adjusting gear, and namely speed regulator 2, also can realize rotating.
All shaft couplings in the present invention can be insulating materials, increase safety coefficient.
The present invention is easy to use, and is multiple functional, and cost is lower.Concrete beneficial effect has: the first, adopt flexible axle, but flexible operating has satisfied the complicated motion requirement of having a bath.The second, good seal.The 3rd motor radiating is good.The 4th, cleaning motion can be simple motion, can be also complicated motion, has avoided the dullness of having a bath and moving.The 5th, have massage effect.The 6th, having a bath, I can conveniently wash the back by rubbing with the hands.
Description of drawings
Fig. 1 is power section structural representation of the present invention.
In figure: 1-motor, 2-speed regulator, 3-casing, 4-shaft coupling, 5-lengthen knob, 6-Bowden cable, 8-air inlet, 9~shaft coupling, 74-flexible axle catch, 75-flexible axle seal, 76-block water plate, 77-supporting leg, 78-power line, 79-wire seals, 80-electric wire catch, 81-knob seal.
Fig. 2 is cleaning part structural representation of the present invention.
In figure: 6-Bowden cable, 35-handle, 36-osculum, 37-shaft coupling, 38-bearing, 39-main shaft, 40-spring, 41-pin, 42-pedestal, 43-pallet, 44-taper retaining ring, 45-clean disk, 46-scouring material, 47-eccentric block, 48-spring, 49-bayonet lock, 50-kidney groove, 51-kidney groove, 52-bayonet lock, 53-bearing, 54-annular groove, the 55-collar.
Fig. 3 is the square hole schematic diagram.
In figure: 45-cleans disk, 47-eccentric block.
Fig. 4 is the slot schematic diagram.
In figure: 45-cleans disk, 47-eccentric block.
Fig. 5 is the front view of shaft coupling.
In figure: the 9-shaft coupling.
Fig. 6 is the clamping schematic diagram of shaft coupling.
In figure: 20-bolt, 21-iron sheet.
The specific embodiment
Embodiment 1
The invention is not restricted to following embodiment.
The present invention includes the parts such as motor 1, shaft coupling 9, speed regulator 2, lengthening knob 5, flexible axle 6, cleaning disk.
The basic principle of work of the present invention is: staff is held handle, and Bowden cable bears the power of motor, passes handle, and final the driving cleaned disk and scouring material motion, and scrubbing body is realized automatic bathing.
As shown in Figure 1, motor 1 of the present invention, shaft coupling 9, speed regulator 2, shaft coupling 4 are installed in casing 3, hang together on the wall, and the position is higher than human body, or directly are positioned over ground, table top.Also can select like this: be suspended to when having a bath on wall, take off when not having a bath.
The power of motor 1 of the present invention passes to Bowden cable 6 by shaft coupling 9, then passes to main shaft by shaft coupling, then passes to the cleaning disk, cleans the scouring material that disk is covered with the suitable scouring human body made from soft materials such as cloth, sponge, fiber crops.Scouring material is fixed by its peripheral elastic ring.Scouring material can dismounting and change.
The user can according to hobby, make the cleaning disk make circular motion or make planar movement, conversion at any time.
Pedestal 42 is supported in the large end of handle 35 by some biserial springs 40, main shaft 39 is supported in the small end of handle 35 by bearing 38.Adopt prior art that main shaft 39 can only be rotated with respect to handle 35, can not move with respect to handle 35.Pallet 43 is supported in the collar 55 at its right-hand member by bearing 53, and the collar 55 is placed in pedestal 42 endoporus, keeps matched in clearance with the hole.So the collar 55 can move left and right with respect to pedestal 42, utilize pin 41 to snap in the annular groove 54 of the collar 55 outer round surface, make the collar remain on fixing position with respect to pedestal at axis direction.
When pin 41 was in position shown in Figure 2, the corresponding kidney groove 51 with it that is fixed in that bayonet lock 52 on pallet 43 is arranged in that pedestal 42 processes was fixed in corresponding kidney groove 50 disengagings with it that process on bayonet lock 49 and the pallet 43 on main shaft.Under the driving of Bowden cable 6, main shaft 39 band movable eccentric wheel 47 rotations.Be supported on pallet 43 by several springs 48 owing to cleaning disk 45, and eccentric wheel 47 is placed in the square hole that cleans disk 45, thereby makes cleaning disk 45 do one dimension or two-dimensional movement; When square hole is as shown in Figure 5 rectangle, clean disk 45 and do motion in one dimension, when square hole be as shown in Figure 6 square, cleaning disk 45 was made two dimensional motion.The effect that it rubs is cleaned totally health, feels again comfortable.
If the people who has a bath, wish that the forms of motion conversion that will clean disk 45 rotatablely moves, the people that has a bath only needs to transfer to pin 41 from the first annular groove of the collar 55, to move (namely moving to left) outside pallet 43 in Fig. 2, kidney groove 50 in pallet is engaged with bayonet lock 49 on being fixed in main shaft 39, in conjunction with after, then advance pin 41, and be locked in second annular groove.This moment, pallet bayonet lock 52 broke away from pedestal kidney groove 51.In the case, main shaft 39 drives pallet 43 and rotates, and further drives cleaning disk 45 and is rotated motion.
The present invention adopts the power of Bowden cable 6 transmission motor 1, advantages.Bowden cable 6 comprises pipe and is placed on manages interior core, and when pipe maintained static, inner core can rotate.Bowden cable, similar to telephone wire in form, inside is core, and core is outward pipe (being sheath), and difference is, and the core in telephone wire can not be with respect to pipe (being sheath) motion, and the core of Bowden cable can rotate with respect to pipe.The pipe of Bowden cable and core are all softer, and core can change with pipe, and they can be rectilinear forms, also can be more crooked, have lubricatedly between Bowden cable Guan Yuxin, so long-term the use, core also is not easy to damage, manage very solid, so pipe also is not easy to damage.Although Bowden cable 6 is uncommon, existing factory produces specially.The length of Bowden cable can more freely be chosen, and utilizes the flexible axle transferring power very flexible.
The axle of motor 1 of the present invention is connected by shaft coupling 9 with Bowden cable 6, shaft coupling 9 centers porose (seeing Fig. 5, Fig. 6), the hole structurally, adapt with Bowden cable axle head, motor reel axle head respectively on size, shaft coupling one side cuts, and leaves opening.After filling in the axle head of motor reel, Bowden cable in shaft coupling 9 holes, tighten set screw nut 20 (seeing Fig. 5), above-mentioned opening shrinks, through clamping element 21 clamp motor axles and Bowden cable axle head.The material of shaft coupling 9 is insulating materials, and Bowden cable 6 directly do not contact with motor 1 axle, and flexible axle can be not charged like this, and is very safe.
Motor 1 rotating speed of the present invention is adjustable, as shown in Figure 1, is connected by shaft coupling 4 between machine governor 2 and lengthening knob 5 that practical operation is used.The shaft coupling here, with the previously described shaft coupling 9 that is connected motor reel and Bowden cable, similar on structure, operation principle, material is also insulating materials, and like this, electricity can not pass to the lengthening knob 5 that practical operation is used, and lengthen knob 5 and also adopt insulating materials, very safe.
Should note the impact of anti-sealing.
From casing 3 position out, the flexible axle sealing device is set at flexible axle 6, enters the position of casing at power line 78, the power line sealing device is set, 5 places arrange the knob sealing device at the lengthening knob.Concrete scheme is as follows.From casing 3 position out, be provided with flexible axle seal 75 at flexible axle 6, flexible axle seal 75 is fixed in casing 3 outer surfaces, and flexible axle 6 passes the hole in the middle of seal.Under nature, the diameter in flexible axle seal 75 holes can play sealing function like this less than the diameter of flexible axle 6 outsides, and anti-sealing enters in casing, affects motor.Because does not rotate the outside (being previously described pipe) of flexible axle 6, just the core in pipe is rotating, so the sealing here is static seal, sealing can keep for a long time.Be provided with the flexible axle catch 74 that is fixed in casing above flexible axle 6, flexible axle seal 75, make flexible axle from casing out after, be bent downwardly, from high to low, can prevent that further sealing enters in casing like this.Pass the casing position at power line 78, be provided with wire seals 79, its sealing principle is with the flexible axle seal.The electric wire catch 80 that is fixed in casing also is set at this place, make electric wire from casing out after, be bent downwardly, from high to low, can prevent that further sealing enters in casing like this.The lengthening knob 5 of using in practical operation is provided with knob seal 81 from casing position out, its operation principle is similar to the flexible axle seal, and the speed governing rotation axis is high near the casing place here, and the place is low away from casing, design like this, purpose are also to prevent that water from flowing into casing.
Be provided with air inlet 8 below casing, purpose is to make the inside and outside gaseous state of casing to approach, and prevents set transparent windows (not shown) on the fuzzy casing 3 of steam.Air inlet is set, also can be beneficial to motor heat dissipation.The characteristics of air inlet 8 are into and out of gas, can not intake.Air inlet is provided with staggered several tilted-putted block water plates 76 from top to bottom, with its special construction and arrangement, can effectively stop water to enter casing.The water of sputter is characterized in movement locus near straight line, and the block water plate that is crisscross arranged like this can play the effect that stops water to be splashed into casing really.Specifically, on perpendicular to the paper direction, the size of block water plate 76 and air inlet 8 be in the consistent size of this direction, and the unsettled end points of top block water plate near wall, but has ventilative gap between following block water plate unsettled end points and fixing lower block water plate wall; The block water plate stiff end is higher than free end.
As shown in drawings, a plurality of osculums are arranged on handle, if water is arranged in handle, water can go out from orifice flow.
Bearing adopts stainless steel bearing, or plastic bearing, or ceramic ball bearing, gets rusty preventing.Spring adopts stainless steel spring.Other part material preferentially adopts stainless steel or plastics, prevents from getting rusty.
Scouring material is fixed by its peripheral elastic ring, can change.
Motor in the present invention has speed adjusting gear, and namely speed regulator 2, also can realize rotating.
All shaft couplings in the present invention can be insulating materials, increase safety coefficient.

Claims (10)

1. a push-pull configuration cleaning machine comprises motor, shaft coupling, flexible axle, cleaning disk, it is characterized in that: motor (1), shaft coupling (9) are installed on casing (3), casing (3) hangs on wall or puts on ground, table top by supporting leg (77), at flexible axle (6) from casing (3) position out, the flexible axle sealing device is set, enter the position of casing at power line (78), the power line sealing device is set, locates to arrange the knob sealing device at lengthening knob (5); Motor (1) is connected with Bowden cable (6) by shaft coupling (9), Bowden cable (6) passes the endoporus of handle (35), be connected with main shaft (39), main shaft (39) is connected with eccentric wheel (47), clean disk (45) and be supported on pallet (43) by several springs (48), eccentric wheel (47) is placed in the rectangle or square hole of cleaning disk (45); Be provided with air inlet (8) below casing, air inlet is provided with staggered several tilted-putted block water plates (76) from top to bottom, on perpendicular to the paper direction, the size of block water plate (76) and air inlet (8) are in the consistent size of this direction, and the unsettled end points of top block water plate reaches between fixing lower block water plate wall at the unsettled end points of following block water plate, near wall, but ventilative gap is arranged; The block water plate stiff end is higher than free end; Main shaft (39) is connected with eccentric wheel (47), pedestal (42) is supported in the large end of handle (35) by some biserial springs (40), main shaft (39) is supported in the small end of handle (35) by bearing (38), pallet (43) is supported in cover (55) at its right-hand member by bearing (53), cover (55) is placed in pedestal (42) endoporus, keep matched in clearance with the hole, utilize pin (41) to snap in the annular groove (54) of cover (55) outer round surface; when pin (41) is in cover (55) left side first groove, the bayonet lock (52) that is fixed on pallet (43) engages with the corresponding kidney groove (51) with it that is positioned at that pedestal (42) processes, being fixed in the corresponding kidney groove (50) with it that processes on bayonet lock (49) and the pallet (43) on main shaft breaks away from, when pin (41) is locked in cover (55) left side second groove, kidney groove (50) in pallet (43) engages with the bayonet lock (49) on being fixed in main shaft (39), pallet bayonet lock this moment (52) breaks away from pedestal kidney groove (51), clean disk (45) and be positioned at pallet (43), but its end face and scouring material (46) of being used for scrubbing body are positioned at outside pallet (43), be fixed with taper retaining ring (44) at pallet (43) circumference, circular cone circle oral area is large, and is inner little.The large end of taper retaining ring (44) is positioned at and cleans outside disk (45), scouring material (46), opens several roads narrow slit on taper retaining ring (44).
2. a kind of push-pull configuration cleaning machine according to claim 1, it is characterized in that: the flexible axle sealing device comprises flexible axle seal (75), flexible axle seal (75) is fixed in casing (3) outer surface, flexible axle (6) passes the hole in the middle of seal, under nature, the diameter in flexible axle seal (75) hole is less than the outside diameter of flexible axle (6), in flexible axle (6), flexible axle seal (75) top is provided with the flexible axle catch (74) that is fixed in casing, make flexible axle from casing out after, be bent downwardly, from high to low, the power line sealing device comprises wire seals (79), enters the position of casing at power line (78), and the electric wire catch (80) that is fixed in casing is set, and makes bending under casing dispatch from foreign news agency alignment, from high to low, the knob sealing device is included in and lengthens speed governing knob (5) from the knob seal (81) of casing position setting out, and the close casing of speed governing rotation axis place is high, and the place is low away from casing.
3. a kind of push-pull configuration cleaning machine according to claim 1, it is characterized in that: shaft coupling (9) is insulating materials, during installation, Bowden cable does not directly contact with motor reel and motor other positions, the speed regulator (2) of motor (1) is connected by shaft coupling (4) with lengthening between speed governing knob (5), shaft coupling (4) and lengthening speed governing knob (5) are insulating materials, during installation, speed regulator (2) does not directly contact with lengthening speed governing knob (5).
4. a kind of push-pull configuration cleaning machine according to claim 1, it is characterized in that: pallet (43) is rotary shell part, one end is large, the other end is little, pedestal (42) is supported in the large end of handle (35) by several radial springs (40), main shaft (39) is installed in handle (35) small end by bearing (38).
5. a kind of push-pull configuration cleaning machine according to claim 1, is characterized in that: bearing employing stainless steel bearing, or plastic bearing, or ceramic ball bearing, spring employing stainless steel spring.
6. a kind of push-pull configuration cleaning machine according to claim 1, it is characterized in that: a plurality of osculums (36) are arranged on handle (35), and being positioned on the casing (3) in the bathroom has transparent windows.
7. a kind of push-pull configuration cleaning machine according to claim 1, it is characterized in that: eccentric wheel (47) and cleaning disk (45) decentraction, when the hole in the middle part of cleaning disk (45) is square, eccentric wheel (47) is concentric with the square hole that cleans on disk (45), the eccentric wheel diameter equates with the square length of side, 4 edge joints of eccentric wheel and square touch, when the hole in the middle part of cleaning disk (45) was rectangle, eccentric wheel only touched with rectangular 3 edge joints.
8. a kind of push-pull configuration cleaning machine according to claim 1, it is characterized in that: scouring material (46) contacts with human body, and scouring material is fixed by its peripheral elastic ring.
9. a kind of push-pull configuration cleaning machine according to claim 1, it is characterized in that: motor (1), shaft coupling (9), speed regulator (2), shaft coupling (4), be installed in casing (3), hang on the wall together, the position is higher than human body.
10. a kind of push-pull configuration cleaning machine according to claim 1, it is characterized in that: shaft coupling (9) center is porose, the hole structurally, adapt with Bowden cable axle head, motor reel axle head respectively on size, shaft coupling one side cuts, leave opening, screw nut (20) connects motor reel and Bowden cable axle head through clamping element (21), shaft coupling (9).
CN201210149841.XA 2012-05-15 2012-05-15 Cleaning machine having push-pull structure Expired - Fee Related CN103082924B (en)

Priority Applications (1)

Application Number Priority Date Filing Date Title
CN201210149841.XA CN103082924B (en) 2012-05-15 2012-05-15 Cleaning machine having push-pull structure

Applications Claiming Priority (1)

Application Number Priority Date Filing Date Title
CN201210149841.XA CN103082924B (en) 2012-05-15 2012-05-15 Cleaning machine having push-pull structure

Publications (2)

Publication Number Publication Date
CN103082924A true CN103082924A (en) 2013-05-08
CN103082924B CN103082924B (en) 2015-04-22

Family

ID=48196449

Family Applications (1)

Application Number Title Priority Date Filing Date
CN201210149841.XA Expired - Fee Related CN103082924B (en) 2012-05-15 2012-05-15 Cleaning machine having push-pull structure

Country Status (1)

Country Link
CN (1) CN103082924B (en)

Citations (7)

* Cited by examiner, † Cited by third party
Publication number Priority date Publication date Assignee Title
CN2214791Y (en) * 1994-10-19 1995-12-13 张宝生 Bathing rubbing implement
CN2405532Y (en) * 2000-01-14 2000-11-15 赵国柱 Electric rubbing-massaging device for bathing
CN2601616Y (en) * 2003-01-29 2004-02-04 黄振国 Hand-held chobber for showers
CN200942052Y (en) * 2006-09-08 2007-09-05 丁伟敏 Sanitary equipment after stool
CN201171644Y (en) * 2008-04-15 2008-12-31 闫晓虎 Multifunctional electric bathing device
CN201337964Y (en) * 2008-10-08 2009-11-04 罗汉成 Multifunctional shower nozzle
CN202739871U (en) * 2012-05-15 2013-02-20 中北大学 Push-pull structure cleaner

Patent Citations (7)

* Cited by examiner, † Cited by third party
Publication number Priority date Publication date Assignee Title
CN2214791Y (en) * 1994-10-19 1995-12-13 张宝生 Bathing rubbing implement
CN2405532Y (en) * 2000-01-14 2000-11-15 赵国柱 Electric rubbing-massaging device for bathing
CN2601616Y (en) * 2003-01-29 2004-02-04 黄振国 Hand-held chobber for showers
CN200942052Y (en) * 2006-09-08 2007-09-05 丁伟敏 Sanitary equipment after stool
CN201171644Y (en) * 2008-04-15 2008-12-31 闫晓虎 Multifunctional electric bathing device
CN201337964Y (en) * 2008-10-08 2009-11-04 罗汉成 Multifunctional shower nozzle
CN202739871U (en) * 2012-05-15 2013-02-20 中北大学 Push-pull structure cleaner

Also Published As

Publication number Publication date
CN103082924B (en) 2015-04-22

Similar Documents

Publication Publication Date Title
CN101905225B (en) Computer keyboard cleaner
CN207506230U (en) Outdoor public seat series with cleaning function
CN202821142U (en) Automatic washing machine
CN202739869U (en) Moveable cleaning machine
CN202801425U (en) External mobile cleaning machine
CN202739870U (en) Rotary cleaner
CN202821141U (en) Externally-arranged type cleaning machine with push-pull structure
CN103082924A (en) Cleaning machine having push-pull structure
CN202739871U (en) Push-pull structure cleaner
CN103082922B (en) Movable cleaning machine
US20130014322A1 (en) Massage Apparatus for the Shower
CN105709950B (en) a shower
CN202739868U (en) Thread adjusting type cleaning machine
CN202714773U (en) External rotary cleaning machine
CN201172878Y (en) Squatting closet equipment for toilet
CN103082926B (en) External rotation-type cleaning machine
CN112064730A (en) Conveniently carry out gondola water faucet that sprays of adjustment to gondola water faucet height
CN103082920A (en) External cleaning machine having push-pull structure
CN103082919B (en) External movable cleaning machine
CN103082925B (en) Automatic washing machine
CN108338495B (en) a test tube brush
CN103082923B (en) Rotary cleaning machine
CN103082921B (en) Threaded regulating type washing machine
CN212816023U (en) Rubbing device for bath
CN203662658U (en) Power-driven rubbing machine

Legal Events

Date Code Title Description
C06 Publication
PB01 Publication
C10 Entry into substantive examination
SE01 Entry into force of request for substantive examination
GR01 Patent grant
CF01 Termination of patent right due to non-payment of annual fee

Granted publication date: 20150422

Termination date: 20190515

CF01 Termination of patent right due to non-payment of annual fee