CN202801425U - External mobile cleaning machine - Google Patents

External mobile cleaning machine Download PDF

Info

Publication number
CN202801425U
CN202801425U CN 201220215733 CN201220215733U CN202801425U CN 202801425 U CN202801425 U CN 202801425U CN 201220215733 CN201220215733 CN 201220215733 CN 201220215733 U CN201220215733 U CN 201220215733U CN 202801425 U CN202801425 U CN 202801425U
Authority
CN
China
Prior art keywords
shaft coupling
pallet
motor
cleaning machine
external mobile
Prior art date
Legal status (The legal status is an assumption and is not a legal conclusion. Google has not performed a legal analysis and makes no representation as to the accuracy of the status listed.)
Expired - Fee Related
Application number
CN 201220215733
Other languages
Chinese (zh)
Inventor
于大国
于晓慧
孟晓华
黎志刚
张洪严
Current Assignee (The listed assignees may be inaccurate. Google has not performed a legal analysis and makes no representation or warranty as to the accuracy of the list.)
North University of China
Original Assignee
North University of China
Priority date (The priority date is an assumption and is not a legal conclusion. Google has not performed a legal analysis and makes no representation as to the accuracy of the date listed.)
Filing date
Publication date
Application filed by North University of China filed Critical North University of China
Priority to CN 201220215733 priority Critical patent/CN202801425U/en
Application granted granted Critical
Publication of CN202801425U publication Critical patent/CN202801425U/en
Anticipated expiration legal-status Critical
Expired - Fee Related legal-status Critical Current

Links

Images

Landscapes

  • Body Washing Hand Wipes And Brushes (AREA)

Abstract

本实用新型涉及一种自动擦洗人体的机械。目前,人们沐浴过程主要由人工完成,缺乏自动化、专用化工具,沐浴时本人很难擦洗自己的背部。现有为数不多的相关工具存在容易漏电、损坏电池、制造成本高等不足,产品实用性不够。本实用新型主要包括电动机、调速器、联轴器、加长调速旋钮、钢丝软轴、手柄、擦洗材料、清洗圆盘等零件。电动机驱动软轴,带动清洗圆盘及与之相连的擦洗材料运动。擦洗材料可以更换,使用方便。本实用新型电动机置于沐浴间外,使用安全,擦洗动作主要有往复运动。工具防水功能强,操作方便,结构简单成本低。

Figure 201220215733

The utility model relates to a machine for automatically scrubbing a human body. At present, people's bathing process is mainly completed manually, lacking automation and specialized tools, and it is difficult for the person to scrub his or her back during bathing. The existing few related tools have the disadvantages of easy leakage, battery damage, high manufacturing cost, etc., and the product is not practical enough. The utility model mainly includes parts such as a motor, a governor, a shaft coupling, an extended speed regulating knob, a flexible steel wire shaft, a handle, a scrubbing material, and a cleaning disc. The motor drives the flexible shaft to drive the cleaning disc and the scrubbing material connected with it. The scrubbing material can be replaced, which is convenient to use. The electric motor of the utility model is placed outside the shower room, which is safe to use, and the scrubbing action mainly includes reciprocating motion. The tool has strong waterproof function, convenient operation, simple structure and low cost.

Figure 201220215733

Description

A kind of external mobile cleaning machine
Technical field
The utility model relates to a kind of machine tool of scrubbing body.
Background technology
People need to wash by rubbing with the hands parts of body when having a bath, but for the back, having a bath is difficult to get in person, often needs other people's help, cumbersome like this.Existing various designs about bath devices are generally promoted the use of, and are not that people do not want to use bath devices, but its technical scheme Shortcomings, such as, the water capacity is easily invaded motor, and since the existence of water, easily electric leakage, or damage battery.And for example, the technical scheme manufacturing cost is too high.For another example, existing bath devices technical scheme is complicated, and product flexibility is poor, and practicality is inadequate.
Summary of the invention
The purpose of this utility model is intended to overcome the shortcoming on the above-mentioned prior art, provides a kind of and has a bath that I can conveniently wash the back by rubbing with the hands, but automatic operation, can change at any time the bath devices of wash towel.It is simple in structure, and is easy to use.The utility model is achieved through the following technical solutions:
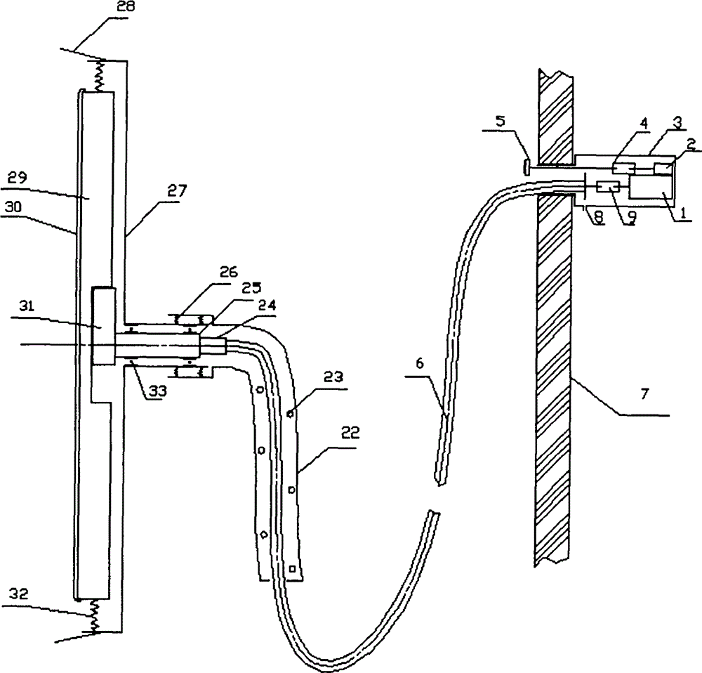
The utility model comprises the parts such as motor 1, shaft coupling 9, speed regulator 2, lengthening knob 5, flexible axle 6, cleaning disk.
The basic principle of the utility model work is: staff is held handle, and Bowden cable bears the power of motor, passes handle, and final the driving cleaned disk and scouring material motion, and scrubbing body is realized automatic bathing.
Motor (1), shaft coupling (9), speed regulator (2) are installed in the casing (3), are positioned at bathroom wall (7) in addition, and the position is higher than human body.
The power of the utility model motor 1 passes to Bowden cable 6 by shaft coupling 9, passes to main shaft by shaft coupling again, passes to the cleaning disk again, cleans the scouring material that disk is covered with the suitable scouring human body made from soft materials such as cloth, sponge, fiber crops.Scouring material is fixed by its peripheral elastic ring.Scouring material can dismounting and change.
Pallet (27) is rotary shell part, its end is large, an other end is little, in the hole of the large end of handle (22) some double springs (26) are arranged, supporting the small end of pallet (27), by bearing (33) main shaft (25) is installed in the small end of pallet (27), main shaft (25) is fixedly connected with eccentric wheel (31), and eccentric wheel (31) is placed in the rectangle square hole or square square hole that cleans disk (29).The axis of the axis of eccentric wheel (31) and main shaft (25) is inconsistent, mutually staggers, and cleans disk (29) and is supported in the pallet (27) with several springs (32).
Main shaft 25 drives eccentric wheel 31.When eccentric wheel 31 rotates with main shaft 25, will drive and clean the disk motion.When the hole of cleaning disk (29) middle part is rectangle, when its three limit contacts with eccentric wheel, move back and forth, namely carry out motion in one dimension, human body is cleaned.When the square hole that cleans disk 29 was square, its four limit contacted with eccentric wheel, and cleaning disk 29 is done the two dimensional motion in the plane, was similar to " rubbing " motion, can have a bath, and massage effect is arranged again, made the people very comfortable.
Clean disk (29) and totally be positioned at pallet (27), but its outer face and scouring material (30) be positioned at outside the pallet (27), could contact human body skin like this.Be fixed with dash circular cone circle (28) at pallet (27) circumference, anti-sealing throws away.The large end of dash circular cone circle (28) is positioned at and cleans outside disk (29) and the scouring material (30), opens several roads narrow slit at dash circular cone circle (28).When having a bath, dash circular cone circle 28 at first contacts human body, but the circular cone circle has been opened narrow slit, thus can be out of shape, and also circular cone circle oral area is large, and inner little, thus outwards distortion, convenient contact human body.
Pallet 27 small ends are supported in the handle 22 large ends by spring 26, and the benefit of design is like this, if the revolving body quality has off-centre, causes vibration, and spring can absorb vibration, prevent that vibration from making staff uncomfortable.
The utility model adopts the power of Bowden cable 6 transmission motor 1, advantages.Bowden cable 6 comprises pipe and is placed on the interior core of pipe that when pipe maintained static, inner core can rotate.Bowden cable, similar to telephone wire in form, inside is core, and core is outward pipe (being sheath), and difference is, and the core in the telephone wire can not be with respect to pipe (being sheath) motion, and the core of Bowden cable can rotate with respect to pipe.The pipe of Bowden cable and core are all softer, and core can change with pipe, and they can be rectilinear forms, also can be more crooked, have lubricatedly between the Bowden cable Guan Yuxin, so long-term the use, core also is not easy to damage, manage very solid, so pipe also is not easy to damage.Although Bowden cable 6 is uncommon, existing factory produces specially.The length of Bowden cable can more freely be chosen, and utilizes the flexible axle transferring power very flexible.
The axle of the utility model motor 1 links to each other by shaft coupling 9 with Bowden cable 6, and shaft coupling 9 centers are porose, the hole structurally, adapt with Bowden cable axle head, motor reel axle head respectively on the size, shaft coupling one side cuts, and leaves opening.After filling in the axle head of motor reel, Bowden cable in shaft coupling 9 holes, tighten set screw nut 20, above-mentioned opening shrinks, through clamping element 21 clamp motor axles and Bowden cable axle head.The material of shaft coupling 9 is insulating materials, and Bowden cable 6 directly do not contact with motor 1 axle, and flexible axle can be not charged like this, and is very safe.
The utility model motor 1 rotating speed is adjustable, is connected by shaft coupling 4 between machine governor 2 and the lengthening knob 5 that practical operation is used.The shaft coupling here, with the previously described shaft coupling 9 that is connected motor reel and Bowden cable, similar on structure, operation principle, material also is insulating materials, and like this, electricity can not pass to the lengthening knob 5 that practical operation is used, and lengthen knob 5 and also adopt insulating materials, very safe.
A plurality of osculums are arranged on the handle, if water is arranged in the handle, water can go out from orifice flow.
Bearing adopts stainless steel bearing, or plastic bearing, or ceramic ball bearing, gets rusty preventing.Spring adopts stainless steel spring.Other part material preferentially adopts stainless steel or plastics, prevents from getting rusty.
Scouring material is fixed by its peripheral elastic ring, can change.
Motor in the utility model has speed adjusting gear, and namely speed regulator 2, also can realize rotating.
All shaft couplings in the utility model can be insulating materials, increase safety coefficient.
A kind of external mobile cleaning machine has following characteristics:
1, a kind of external mobile cleaning machine, comprise motor, shaft coupling, flexible axle, cleaning disk, it is characterized in that: motor 1, shaft coupling 9 are installed in the casing 3, are positioned on the bathroom exterior wall 7; Clean disk 29 and totally be positioned at pallet 27, but its outer face and scouring material 30 are positioned at outside the pallet 27, be fixed with dash circular cone circle 28 at pallet 27 circumference, the large end of dash circular cone circle 28 is positioned at and cleans outside disk 29 and the scouring material 30, open several roads narrow slit at dash circular cone circle 28, circular cone circle oral area is large, and is inner little; The hole inner support of handle 22 large ends the small end of pallet 27, main shaft 25 is installed in the small end of pallet 27, and main shaft 25 is connected with eccentric wheel 31, and eccentric wheel 31 is placed in the square hole at the middle part of cleaning disk 29, (25 axis is inconsistent, mutually staggers for the axis of eccentric wheel 31 and main shaft.
2, according to preamble 1 described a kind of external mobile cleaning machine, it is characterized in that: motor 1, shaft coupling 9, speed regulator 2 are installed in the casing 3, are positioned at beyond the bathroom wall 7, and the position is higher than human body.
3, according to preamble 1 described a kind of external mobile cleaning machine, it is characterized in that: shaft coupling 9 is insulating materials, Bowden cable does not directly contact with motor reel and other positions of motor during installation, the speed regulator 2 of motor 1 is connected by shaft coupling 4 with lengthening between the speed governing knob 5, shaft coupling 4 and lengthening speed governing knob 5 are insulating materials, during installation, speed regulator 2 does not directly contact with lengthening speed governing knob 5.
4, according to preamble 1 described a kind of external mobile cleaning machine, it is characterized in that: pallet 27 is rotary shell part, its end is large, an other end is little, in the hole of handle 22 large ends some double springs 26 are arranged, supporting the small end of pallet 27, by bearing 33 main shaft 25 is installed in the small end of pallet 27, main shaft 25 is fixedly connected with eccentric wheel 31, eccentric wheel 31 is placed in the rectangle square hole or square square hole that cleans disk 29, the axis of the axis of eccentric wheel 31 and main shaft 25 is inconsistent, mutually staggers, and cleans several springs of disk 29 usefulness 32 and is supported in the pallet 27.
5, according to preamble 1 described a kind of external mobile cleaning machine, it is characterized in that: bearing adopts stainless steel bearing, or plastic bearing, or ceramic ball bearing, and spring adopts stainless steel spring.
6, according to preamble 1 described a kind of external mobile cleaning machine, it is characterized in that: a plurality of osculums 23 are arranged on the handle 22.
7, according to preamble 1 described a kind of external mobile cleaning machine, it is characterized in that: scouring material is fixed by its peripheral elastic ring.
8, according to preamble 1 described a kind of external mobile cleaning machine, it is characterized in that: shaft coupling 9 centers are porose, the hole structurally, adapt with Bowden cable axle head, motor reel axle head respectively on the size, shaft coupling one side cuts, leave opening, screw nut 20 connects motor reel and Bowden cable axle head through clamping element 21, shaft coupling 9.
The utility model is easy to use, and is multiple functional, and cost is lower.Concrete beneficial effect has: the first, adopt flexible axle, but flexible operating has satisfied the complicated motion requirement of having a bath.The second, Electrical Safety.The 3rd, motor radiating is good.The 4th, scouring movement velocity, direction can be regulated.Avoided the having a bath dullness of action.The 5th, having a bath, I can conveniently wash the back by rubbing with the hands.
Description of drawings
Fig. 1 is the utility model structural representation.
Among the figure: 1-motor, 2-speed regulator, 3-casing, 4-shaft coupling, 5-lengthen knob, 6-Bowden cable, 22-handle, 23-osculum, 24-shaft coupling, 25-main shaft, 26-spring, 27-pallet, 28-taper back-up ring, 29-cleaning disk, 30-scouring material, 31-eccentric block, 32-spring, 33-bearing.
Fig. 2 is the slot schematic diagram.
Fig. 3 is the square hole schematic diagram.
Fig. 4 is the front view of shaft coupling.
Among the figure: the 9-shaft coupling.
Fig. 5 is the clamping schematic diagram of shaft coupling.
Among the figure: 20-bolt, 21-iron sheet.
The specific embodiment
Embodiment 1
The utility model is not limited to following embodiment.
The utility model comprises the parts such as motor 1, shaft coupling 9, speed regulator 2, lengthening knob 5, flexible axle 6, cleaning disk.
The basic principle of the utility model work is: staff is held handle, and Bowden cable bears the power of motor, passes handle, and final the driving cleaned disk and scouring material motion, and scrubbing body is realized automatic bathing.
Motor (1), shaft coupling (9), speed regulator (2) are installed in the casing (3), are positioned at bathroom wall (7) in addition, and the position is higher than human body.
The power of the utility model motor 1 passes to Bowden cable 6 by shaft coupling 9, passes to main shaft by shaft coupling again, passes to the cleaning disk again, cleans the scouring material that disk is covered with the suitable scouring human body made from soft materials such as cloth, sponge, fiber crops.Scouring material is fixed by its peripheral elastic ring.Scouring material can dismounting and change.
Pallet (27) is rotary shell part, its end is large, an other end is little, in the hole of the large end of handle (22) some double springs (26) are arranged, supporting the small end of pallet (27), by bearing (33) main shaft (25) is installed in the small end of pallet (27), main shaft (25) is fixedly connected with eccentric wheel (31), and eccentric wheel (31) is placed in the rectangle square hole or square square hole that cleans disk (29).The axis of the axis of eccentric wheel (31) and main shaft (25) is inconsistent, mutually staggers, and cleans disk (29) and is supported in the pallet (27) with several springs (32).
Main shaft 25 drives eccentric wheel 31.When eccentric wheel 31 rotates with main shaft 25, will drive and clean the disk motion.When the hole of cleaning disk (29) middle part is rectangle, when its three limit contacts with eccentric wheel, move back and forth, namely carry out motion in one dimension, human body is cleaned.When the square hole that cleans disk 29 was square, its four limit contacted with eccentric wheel, and cleaning disk 29 is done the two dimensional motion in the plane, was similar to " rubbing " motion, can have a bath, and massage effect is arranged again, made the people very comfortable.
Clean disk (29) and totally be positioned at pallet (27), but its outer face and scouring material (30) be positioned at outside the pallet (27), could contact human body skin like this.Be fixed with dash circular cone circle (28) at pallet (27) circumference, anti-sealing throws away.The large end of dash circular cone circle (28) is positioned at and cleans outside disk (29) and the scouring material (30), opens several roads narrow slit at dash circular cone circle (28).When having a bath, dash circular cone circle 28 at first contacts human body, but the circular cone circle has been opened narrow slit, thus can be out of shape, and also circular cone circle oral area is large, and inner little, thus outwards distortion, convenient contact human body.
Pallet 27 small ends are supported in the handle 22 large ends by spring 26, and the benefit of design is like this, if the revolving body quality has off-centre, causes vibration, and spring can absorb vibration, prevent that vibration from making staff uncomfortable.
The utility model adopts the power of Bowden cable 6 transmission motor 1, advantages.Bowden cable 6 comprises pipe and is placed on the interior core of pipe that when pipe maintained static, inner core can rotate.Bowden cable, similar to telephone wire in form, inside is core, and core is outward pipe (being sheath), and difference is, and the core in the telephone wire can not be with respect to pipe (being sheath) motion, and the core of Bowden cable can rotate with respect to pipe.The pipe of Bowden cable and core are all softer, and core can change with pipe, and they can be rectilinear forms, also can be more crooked, have lubricatedly between the Bowden cable Guan Yuxin, so long-term the use, core also is not easy to damage, manage very solid, so pipe also is not easy to damage.Although Bowden cable 6 is uncommon, existing factory produces specially.The length of Bowden cable can more freely be chosen, and utilizes the flexible axle transferring power very flexible.
The axle of the utility model motor 1 links to each other by shaft coupling 9 with Bowden cable 6, and shaft coupling 9 centers are porose, the hole structurally, adapt with Bowden cable axle head, motor reel axle head respectively on the size, shaft coupling one side cuts, and leaves opening.After filling in the axle head of motor reel, Bowden cable in shaft coupling 9 holes, tighten set screw nut 20, above-mentioned opening shrinks, through clamping element 21 clamp motor axles and Bowden cable axle head.The material of shaft coupling 9 is insulating materials, and Bowden cable 6 directly do not contact with motor 1 axle, and flexible axle can be not charged like this, and is very safe.
The utility model motor 1 rotating speed is adjustable, is connected by shaft coupling 4 between machine governor 2 and the lengthening knob 5 that practical operation is used.The shaft coupling here, with the previously described shaft coupling 9 that is connected motor reel and Bowden cable, similar on structure, operation principle, material also is insulating materials, and like this, electricity can not pass to the lengthening knob 5 that practical operation is used, and lengthen knob 5 and also adopt insulating materials, very safe.
A plurality of osculums are arranged on the handle, if water is arranged in the handle, water can go out from orifice flow.
Bearing adopts stainless steel bearing, or plastic bearing, or ceramic ball bearing, gets rusty preventing.Spring adopts stainless steel spring.Other part material preferentially adopts stainless steel or plastics, prevents from getting rusty.
Scouring material is fixed by its peripheral elastic ring, can change.
Motor in the utility model has speed adjusting gear, and namely speed regulator 2, also can realize rotating.
All shaft couplings in the utility model can be insulating materials, increase safety coefficient.

Claims (8)

1. external mobile cleaning machine, comprise motor, shaft coupling, flexible axle, cleaning disk, it is characterized in that: motor (1), shaft coupling (9) are installed in the casing (3), are positioned on the bathroom exterior wall (7); Clean disk (29) and totally be positioned at pallet (27), but its outer face and scouring material (30) are positioned at outside the pallet (27), be fixed with dash circular cone circle (28) at pallet (27) circumference, the large end of dash circular cone circle (28) is positioned at and cleans outside disk (29) and the scouring material (30), open several roads narrow slit at dash circular cone circle (28), circular cone circle oral area is large, and is inner little; The hole inner support of the large end of handle (22) the small end of pallet (27), main shaft (25) is installed in the small end of pallet (27), main shaft (25) is connected with eccentric wheel (31), eccentric wheel (31) is placed in the square hole at the middle part of cleaning disk (29), the axis of the axis of eccentric wheel (31) and main shaft (25) is inconsistent, mutually staggers.
2. a kind of external mobile cleaning machine according to claim 1, it is characterized in that: motor (1), shaft coupling (9), speed regulator (2) are installed in the casing (3), be positioned at bathroom wall (7) in addition, the position is higher than human body.
3. a kind of external mobile cleaning machine according to claim 1, it is characterized in that: shaft coupling (9) is insulating materials, Bowden cable does not directly contact with motor reel and other positions of motor during installation, the speed regulator (2) of motor (1) is connected by shaft coupling (4) with lengthening between the speed governing knob (5), shaft coupling (4) and lengthening speed governing knob (5) are insulating materials, during installation, speed regulator (2) does not directly contact with lengthening speed governing knob (5).
4. a kind of external mobile cleaning machine according to claim 1, it is characterized in that: pallet (27) is rotary shell part, its end is large, an other end is little, in the hole of the large end of handle (22) some double springs (26) are arranged, supporting the small end of pallet (27), by bearing (33) main shaft (25) is installed in the small end of pallet (27), main shaft (25) is fixedly connected with eccentric wheel (31), eccentric wheel (31) is placed in the rectangle square hole or square square hole that cleans disk (29), the axis of the axis of eccentric wheel (31) and main shaft (25) is inconsistent, mutually stagger, clean disk (29) and be supported in the pallet (27) with several springs (32).
5. a kind of external mobile cleaning machine according to claim 1 is characterized in that: bearing employing stainless steel bearing, or plastic bearing, or ceramic ball bearing, spring employing stainless steel spring.
6. a kind of external mobile cleaning machine according to claim 1 is characterized in that: a plurality of osculums (23) are arranged on the handle (22).
7. a kind of external mobile cleaning machine according to claim 1, it is characterized in that: scouring material is fixed by its peripheral elastic ring.
8. a kind of external mobile cleaning machine according to claim 1, it is characterized in that: shaft coupling (9) center is porose, the hole structurally, adapt with Bowden cable axle head, motor reel axle head respectively on the size, shaft coupling one side cuts, leave opening, screw nut (20) connects motor reel and Bowden cable axle head through clamping element (21), shaft coupling (9).
CN 201220215733 2012-05-15 2012-05-15 External mobile cleaning machine Expired - Fee Related CN202801425U (en)

Priority Applications (1)

Application Number Priority Date Filing Date Title
CN 201220215733 CN202801425U (en) 2012-05-15 2012-05-15 External mobile cleaning machine

Applications Claiming Priority (1)

Application Number Priority Date Filing Date Title
CN 201220215733 CN202801425U (en) 2012-05-15 2012-05-15 External mobile cleaning machine

Publications (1)

Publication Number Publication Date
CN202801425U true CN202801425U (en) 2013-03-20

Family

ID=47860378

Family Applications (1)

Application Number Title Priority Date Filing Date
CN 201220215733 Expired - Fee Related CN202801425U (en) 2012-05-15 2012-05-15 External mobile cleaning machine

Country Status (1)

Country Link
CN (1) CN202801425U (en)

Cited By (2)

* Cited by examiner, † Cited by third party
Publication number Priority date Publication date Assignee Title
CN103082919A (en) * 2012-05-15 2013-05-08 中北大学 External movable cleaning machine
CN107536544A (en) * 2017-10-23 2018-01-05 李谨钰 Electric scrubbing component and electric cleaner

Cited By (2)

* Cited by examiner, † Cited by third party
Publication number Priority date Publication date Assignee Title
CN103082919A (en) * 2012-05-15 2013-05-08 中北大学 External movable cleaning machine
CN107536544A (en) * 2017-10-23 2018-01-05 李谨钰 Electric scrubbing component and electric cleaner

Similar Documents

Publication Publication Date Title
CN210491161U (en) Earphone self-cleaning device
CN202801425U (en) External mobile cleaning machine
CN207506230U (en) Outdoor public seat series with cleaning function
CN202739868U (en) Thread adjusting type cleaning machine
CN202714773U (en) External rotary cleaning machine
CN202821142U (en) Automatic washing machine
CN201171644Y (en) Multifunctional electric bathing device
CN202739869U (en) Moveable cleaning machine
CN103082919A (en) External movable cleaning machine
CN212788348U (en) Back rubbing machine
CN103082926B (en) External rotation-type cleaning machine
CN202821141U (en) Externally-arranged type cleaning machine with push-pull structure
CN103082922B (en) Movable cleaning machine
CN103082921A (en) Threaded regulating type washing machine
CN112064730A (en) Conveniently carry out gondola water faucet that sprays of adjustment to gondola water faucet height
CN202739870U (en) Rotary cleaner
CN103082920A (en) External cleaning machine having push-pull structure
CN103082924A (en) Cleaning machine having push-pull structure
CN106042013B (en) A kind of full-automatic shaving health care all-in-one of armpit
CN103462546B (en) Bath devices
CN103082925A (en) Automatic washing machine
CN103082923A (en) Rotary cleaning machine
CN201286449Y (en) Electric wall brush
CN201179027Y (en) Hand-hold electric massage apparatus for scrubbing and washing
CN219479931U (en) Splash-proof toilet brush

Legal Events

Date Code Title Description
C14 Grant of patent or utility model
GR01 Patent grant
CF01 Termination of patent right due to non-payment of annual fee

Granted publication date: 20130320

Termination date: 20150515

EXPY Termination of patent right or utility model