CN102568887A - 可防止灰尘附着的按键结构 - Google Patents
可防止灰尘附着的按键结构 Download PDFInfo
- Publication number
- CN102568887A CN102568887A CN2010106226107A CN201010622610A CN102568887A CN 102568887 A CN102568887 A CN 102568887A CN 2010106226107 A CN2010106226107 A CN 2010106226107A CN 201010622610 A CN201010622610 A CN 201010622610A CN 102568887 A CN102568887 A CN 102568887A
- Authority
- CN
- China
- Prior art keywords
- adhering
- dust
- space
- joint pin
- key
- Prior art date
- Legal status (The legal status is an assumption and is not a legal conclusion. Google has not performed a legal analysis and makes no representation as to the accuracy of the status listed.)
- Pending
Links
- 239000000428 dust Substances 0.000 title claims abstract description 45
- 239000000758 substrate Substances 0.000 claims abstract description 40
- 238000009423 ventilation Methods 0.000 claims abstract description 36
- 230000002093 peripheral effect Effects 0.000 claims description 2
- NJPPVKZQTLUDBO-UHFFFAOYSA-N novaluron Chemical compound C1=C(Cl)C(OC(F)(F)C(OC(F)(F)F)F)=CC=C1NC(=O)NC(=O)C1=C(F)C=CC=C1F NJPPVKZQTLUDBO-UHFFFAOYSA-N 0.000 claims 5
- 239000011324 bead Substances 0.000 claims 3
- 230000004308 accommodation Effects 0.000 claims 2
- 238000007789 sealing Methods 0.000 claims 2
- 238000004140 cleaning Methods 0.000 description 18
- 239000004744 fabric Substances 0.000 description 5
- 238000007664 blowing Methods 0.000 description 3
- 230000000694 effects Effects 0.000 description 3
- 238000000034 method Methods 0.000 description 2
- 238000003825 pressing Methods 0.000 description 2
- 238000004891 communication Methods 0.000 description 1
- 238000005516 engineering process Methods 0.000 description 1
- 238000004519 manufacturing process Methods 0.000 description 1
- 238000012986 modification Methods 0.000 description 1
- 230000004048 modification Effects 0.000 description 1
- 239000002245 particle Substances 0.000 description 1
- 230000008054 signal transmission Effects 0.000 description 1
Images
Landscapes
- Push-Button Switches (AREA)
Abstract
一种可防止灰尘附着的按键结构,设置于一基板上,且基板承载一开关组件,用以被可防止灰尘附着的按键结构碰触以产生一触发讯号。可防止灰尘附着的按键结构包含一弹性件及一按键体。弹性件设置于基板上。按键体设置于开关组件上方,且按键体包含一按键帽及一连接柱。按键帽包含一上表面及内凹的一下表面。连接柱的一端连接于下表面,另一端连接于弹性件。连接柱中形成一通气空间,且连接柱具有一连通该通气空间的出气口。连接柱、弹性件及基板之间定义一密闭的充气空间,且连接柱的通气空间连接充气空间。弹性件用以被连接柱挤压而压缩充气空间中的气体,使气体通过通气空间及出气口排出,而移除灰尘。
Description
技术领域
本发明有关于按键结构,特别是一种关于可进行自我清洁的可防止灰尘附着的按键结构。
背景技术
市面上常见的电子装置例如手机,笔记型计算机或是桌上型计算机等,大多具有实体键盘作为使用者与电子装置之间的沟通媒介,虽然现阶段的电子装置渐渐以触控屏幕取代实体键盘。然而,由于实体键盘能带给予使用者实际按压的触感,因此,实体键盘在计算机接口设备中仍占大宗比例。
以一般键盘而言,其结构通常是于盘体上设有多数排列的按键,各相邻按键之间相隔着适当间隙,以不互相干涉各按键的按压操作。由于此种结构设置,于使用一段时间后,空气中的灰尘微粒容易沉落于该些按键及间隙,而造成键盘的脏污,甚至影响键盘的操作,因此必须时常对键盘进行清洁工作,以保持键盘外观上的清洁及操作上的顺畅。
公知清洁键盘时,通常以布清洁键盘各按键的表面,对于其间的间隙清洁,则以尖锐的细长物件包覆清洁布,再伸入于间隙内来回擦拭,以清除其污渍灰尘。然该些清洁方式存有以下缺点,例如,清洁布为片状对象,于清洁操作上较不易握持及施力操作;按键表面并非平面,而且按键的表面及四周侧为多角度的变化,清洁布无法清洁到按键的各部位,其清洁效果不佳;对于清洁按键间的间隙,必须再使用细长对象,使用上极不方便,再者,所挑选的细长对象倘若过粗,则无法顺利伸入按键中的间隙,若细长对象过于尖锐,则可能会损伤键盘。
因此,如何使键盘按键保持清洁,而增进在使用上的便利性,为本案的发明人以及从事此相关行业的技术领域者亟欲改善的课题。
发明内容
公知技术的按键结构必须利用清洁布或是细长对象进行清洁。按键结构中有些地方无法达到清洁效果,如果使用细长对象更是容易造成损伤按键结构。
为了解决上述问题,本发明目的在于提出一种可防止灰尘附着的按键结构,其结构简单、清洁效果佳、且无使用细长对象清洁而造成键盘损伤的问题。
本发明的可防止灰尘附着的按键结构设置于一基板上。基板承载一开关组件,开关组件用以被可防止灰尘附着的按键结构碰触以产生一触发讯号。可防止灰尘附着的按键结构包含一弹性件及一按键体。
弹性件设置于基板上。按键体设置于开关组件上方,且按键体包含一按键帽及一连接柱。按键帽包含一上表面及内凹的一下表面。连接柱的一端连接于下表面,另一端连接于弹性件。连接柱中形成一通气空间,且连接柱具有一连通此通气空间的出气口。连接柱、弹性件及基板之间定义一密闭的充气空间,且连接柱的通气空间连接充气空间。弹性件用以被连接柱挤压而压缩充气空间中的气体,使气体通过通气空间及出气口排出。
本发明透过充气空间的设置,于可防止灰尘附着的按键结构的使用过程中不断吹气,以进行可防止灰尘附着的按键结构的自我清洁,减少使用外力清洁的频率,从而避免公知按键结构所面临的问题。
以下在实施方式中详细叙述本发明的详细特征以及优点,其内容足以使任何熟悉相关技术人员了解本发明的技术内容并据以实施,且根据本说明书所揭露的内容、保护范围及附图,任何熟悉相关技术人员可轻易地理解本发明相关的目的及优点。
附图说明
图1A、图1B及图1C为本发明第一实施例的剖面示意图。
图2为本发明第二实施例的剖面示意图。
图3A及图3B为本发明第三实施例的剖面示意图。
图4A及图4B为本发明第四实施例的剖面示意图。
图5A及图5B为本发明第五实施例的剖面示意图。
符号说明
10 基板 11 开关组件
20 弹性件 21 充气空间
22 气体 23 通气孔
30 按键体 31 按键帽
31a 上表面 31b 下表面
32 连接柱 33 通气空间
34 出气口 35 入气口
36 卡勾 37 突缘
41 出气阀 2 入气阀
50 基座 51 开口
60 斜面
具体实施方式
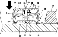
请参阅「图1A」所示,为本发明第一实施例所揭露的可防止灰尘附着的按键结构,本发明的可防止灰尘附着的按键结构设置于基板10上,其中,基板10可为一印刷电路板或配置导线的一般板体,用以提供电力及讯号传递,并承载一开关组件11。开关组件11用以被碰触而产生触发讯号。可防止灰尘附着的按键结构包含一弹性件20及一按键体30。
如「图1A」所示,弹性件20设置于基板10上,且弹性件20形成与基板10形成一充气空间21。充气空间21内充满气体22。基此,弹性件20具有通气孔23,以供气体22流通而进入充气空间21,并通过通气孔23流通而排出于充气空间21外。此外,弹性件20较佳地可由橡胶或具备弹性的塑料所制成。
如「图1A」所示,按键体30设置于开关组件11上方,用以被按压而碰触开关组件11。按键体30包含一按键帽31及一连接柱32。按键帽31包含一上表面31a及内凹的一下表面31b。其中,连接柱32的一端连接于按键帽31的下表面31b,且于连接柱32中形成一通气空间33。其次,连接柱32的另一端则连接于弹性件20,并使通气空间33连通弹性件20的通气孔23。透过弹性件20与连接柱32连接,而使充气空间21内的气体22被挤压后可经由通气孔23流通到通气空间33。
再参阅「图1A」所示,连接柱32具有一出气口34,连通该通气空间33,使得充气空间21中的气体22能经由通气孔23流通而排出于充气空间21外,再通过通气空间33而由出气口34排出。
参阅「图1B」所示,当按键体30受到按压时,例如使用者以手按压按键帽31的上表面31a,连接柱32朝向基板10移动而挤压弹性件20,并直接或透过弹性件20间接地碰触开关组件11。当弹性件20受到挤压时,充气空间21内的气体22就会被压缩而经由通气孔23进入通气空间33。此时,弹性件20中的气体22由出气口34离开吹向基板10,而带走位于基板10表面的灰尘等脏污。
请参阅「图1C」所示,当按键体30被释放而不再受到压迫,弹性件20将通过本身的弹力而回复原状,并带动连接柱32进而将按键体30往上弹。外部气体22受到弹性件20的负压吸引,使气体22透过出气口34填充于弹性件20的充气空间21。
通过通气孔23的设置,于按压按键体30而挤压弹性件20时,充气空间21的气体通过通气孔23及通气空间33,而由出气口34排出,吹拂位于可防止灰尘附着的按键结构底部(基板10上)的污渍,有效地清洁本案的可防止灰尘附着的按键结构,使得可防止灰尘附着的按键结构于按键使用过程中,随时进行自我清洁作业,减少使用者对可防止灰尘附着的按键结构进行清洁的频率。
请参阅「图2」所示,为本发明第二实施例所揭露的可防止灰尘附着的按键结构,包含一弹性件20、一按键体30及一基座50。第二实施例的弹性件20及按键体30与第一实施例所揭露者相同。
如「图2」所示,基座50设置于基板10上,并形成一容置空间以容置弹性件20。基座50具有一开口51,连通该容置空间。连接柱32穿过开口51而连接弹性件20,并以基座50隔离按键帽31与弹性件20。开口51用以限制连接柱32的移动方向,使得按键体30直线地朝向基板10移动或远离基板10。此外,连接柱32于连接该弹性件20的一端设置卡勾36,抵持于基座50的内侧面,使按键体30直线移动时,连接柱32不会通过开口51而脱离基座50。
请参阅「图3A」及「图3B」所示,为本发明第三实施例所揭露的可防止灰尘附着的按键结构,包含一弹性件20、一按键体30、一基座50及一斜面60。第三实施例的弹性件20、按键体30大致与第一、第二实施例所揭露者相同。第三实施例的斜面60设置于基板10上,邻近于按键体30,且斜面60朝向远离按键体30的方向倾斜。
此外,连接柱32具有一出气口34及一入气口35,连通连接柱32的通气空间33,且可防止灰尘附着的按键结构更包含一出气阀41及一入气阀42。出气阀41单向地密封该出气口34,使气体22单向地通过该出气口34离开通气空间33。入气阀42单向地密封该入气口35,使气体22仅能单向地由外部通过入气口35进入通气空间33。
出气阀41及入气阀42的具体实施例为瓣膜;作为出气阀41的瓣膜局部地连接于连接柱32的外表面,而覆盖出气口34;作为入气阀42的瓣膜局部地连接于通气空间33的内壁,而覆盖入气口35。
如「图3A」所示,当按键体30受到按压时,例如使用者以手按压按键帽31的上表面31a,连接柱32朝向基板10移动而挤压弹性件20,并直接或透过弹性件20间接地碰触开关组件11。当弹性件20受到挤压时,充气空间21内的气体22就会被压缩而经由通气孔23进入通气空间33。
此时,受到通气空间33内部的气体22推挤,入气阀42密封入气口35,而出气阀41开放出气口34,使得弹性件20中的气体22由出气口34离开吹向基板10。出气口34的位置对应于斜面60设置,因此吹向基板10的气体22再受到斜面60导引,而朝远离可防止灰尘附着的按键结构及基板10的方向带走位于基板10表面的灰尘等脏污。
如「图3B」所示,当按键体30被释放而不再受到压迫,弹性件20将通过本身的弹力而回复原状,并带动连接柱32进而将按键体30往上弹。由于卡勾36的设置,当按键体30往上弹时,通过卡勾36卡抵于基座50,使得按键体30不会脱离弹性件20而回到原本的定位。于此同时,外部气体22受到弹性件20的负压吸引,而推挤出气阀41及入气阀42;入气阀42开放入气口35,而出气阀41封闭出气口34,使气体22透过入气口35填充于弹性件20的充气空间21。而出气口34不会吸引气体22,从而避免由斜面60被吹离的脏污物再由出气口34被吸入。
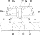
请参阅「图4A」及「图4B」所示,为本发明第四实施例所揭露的可防止灰尘附着的按键结构,包含一弹性件20及一按键体30。
如「图4A」及「图4B」所示,弹性件20为一环状的壁面,设置于基板10上。按键体30包含一按键帽31、一连接柱32及一突缘37。按键帽31包含一上表面31a及一内凹的下表面31b。其中,连接柱32的一端连接于按键帽31的下表面31b,且于连接柱32中形成一通气空间33。突缘37突出于连接柱32的外周面,且突缘37可紧密地压缩弹性件20的充气空间21内的气体22,,如此,充气空间21内的气体22被连接柱32的突缘37压缩后,可经由通气孔23流向通气空间33。
此外,弹性件20、按键帽31、连接柱32及突缘37可为一体成型,从而简化可防止灰尘附着的按键结构的制作过程。
再参阅「图4A」及「图4B 」所示,连接柱32具有一出气口34,可连通通气空间33,使得充气空间21中的气体22能经由通气孔23流通而排出于充气空间21外,再通过通气空间33而由出气口34排出,或是由出气口34进入通气空间33而填充于该充气空间21。
请参阅「图5A」及「图5B」所示,为本发明第五实施例所揭露的可防止灰尘附着的按键结构,一弹性件20、一按键体30、一基座50及一斜面60。第五实施例的弹性件20、按键体30大致与第四实施例所揭露者相同。
如「图5A」及「图5B」所示,基座50设置于基板10上,并形成一容置空间以容置弹性件20。基座50具有一开口51,连通容置空间。连接柱32穿过开口51而连接弹性件20,并以基座50隔离按键帽31与弹性件20。开口51用以限制连接柱32的移动方向,使得按键体30直线地朝向基板10移动或远离基板10。
此外,连接柱32具有一出气口34及一入气口35,连通连接柱32的通气空间33,且可防止灰尘附着的按键结构更包含一出气阀41及一入气阀42。出气阀41单向地密封该出气口34,且入气阀42单向地密封该入气口35。
斜面60设置于基板10上,邻近于该按键体30,且该斜面60朝向远离该按键体30的方向倾斜。出气口34的位置对应于斜面60设置。
如「图5A」及「图5B」所示,当按键体30受到按压时,连接柱32及突缘37朝向基板10移动而挤压弹性件20,使充气空间21内的气体22被压缩而经由通气孔23进入通气空间33。此时,入气阀42密封入气口35,而出气阀41开放出气口34,使得通气空间33中的气体22再由出气口34离开吹向基板10。吹向基板10的气体22再受到斜面60导引,而朝远离可防止灰尘附着的按键结构及基板10的方向带走位于基板10表面的灰尘等脏污。
如「图5A」及「图5B」所示,当按键体30被释放而不再受到压迫,弹性件20将通过本身的弹力而回复原状,并带动连接柱32及突缘37进而将按键体30往上弹。外部气体22受到弹性件20的负压吸引,而推挤出气阀41及入气阀42;入气阀42开放入气口35,而出气阀41封闭出气口34,使气体22透过入气口35填充于弹性件20的充气空间21。
如此一来,即通过使用者平时敲击按键时,顺便使充气空间21的气体不停向外吹出,而使按键基板10或是按键周遭的气体不停流通,而不易附着有灰尘等脏污或湿气,使的本案的可防止灰尘附着的按键结构可有效地防止按键变脏,进而减少清洁的次数,并延长键盘的寿命。
以上所述者,仅为本发明的较佳实施例而已,当不能以此限定本发明实施的范围,即凡依本发明保护范围及发明说明内容所作的简单替换的等效变化与修饰,皆仍属本发明涵盖的范围内。
Claims (10)
1.一种可防止灰尘附着的按键结构,设置于一基板上,且该基板承载一开关组件,该开关组件用以被该可防止灰尘附着的按键结构碰触以产生一触发讯号,其中该可防止灰尘附着的按键结构包含:
一弹性件,设置于该基板上,且该弹性件形成一充气空间;及
一按键体,设置于该开关组件上方,且该按键体包含:
一按键帽,包含一上表面及内凹的一下表面;及
一连接柱,其一端连接于该下表面,另一端连接于该弹性件,该连接柱中形成一通气空间,且该连接柱具有一出气口连通该通气空间;其中,该连接柱的通气空间与该充气空间相连通;该弹性件用以被该连接柱挤压而压缩该充气空间中的气体通过该通气空间及该出气口排出。
2.如权利要求1所述的可防止灰尘附着的按键结构,该弹性件具有一通气孔,且该连接柱的该通气空间可经由该通气孔与该充气空间相连通。
3.如权利要求1所述的可防止灰尘附着的按键结构,更包含一基座,设置于该基板上,并形成一容置空间以容置该弹性件,且该基座包含连通该容置空间的一开口;该连接柱穿过该开口而连接该弹性件。
4.如权利要求3所述的可防止灰尘附着的按键结构,其中该连接柱更包含一卡勾,用以抵持于该基座的内侧面使该连接柱可保持于该基座的内侧作动,而不会通过该开口而脱离该基座。
5.如权利要求1所述的可防止灰尘附着的按键结构,其中该弹性件为一环状的壁面,设置于该基板上;该按键体更包含一突缘,突出于该连接柱的外周面;且该突缘恰可紧密地压缩环状的该弹性件所形成的该充气空间。
6.如权利要求1所述的可防止灰尘附着的按键结构,其中该弹性件、该按键帽、该连接柱及该突缘为一体成型。
7.如权利要求1所述的可防止灰尘附着的按键结构,更包含一斜面,设置于该基板上而邻近于该按键体,且该斜面朝向远离该按键体的方向倾斜。
8.如权利要求1所述的可防止灰尘附着的按键结构,此外,其中该连接柱更具有一入气口。
9.如权利要求8所述的可防止灰尘附着的按键结构,更包含:
一出气阀,单向地密封该出气口,使气体单向地通过该出气口离开该连接柱的该通气空间;及
一入气阀,单向地密封该入气口,使气体单向地通过该入气口进入该连接柱的该通气空间。
10.如权利要求9所述的可防止灰尘附着的按键结构,更包含一斜面,设置于该基板上而邻近于该按键体,且该斜面朝向远离该按键体的方向倾斜,且该出气口的位置对应于该斜面设置。
Priority Applications (1)
| Application Number | Priority Date | Filing Date | Title |
|---|---|---|---|
| CN2010106226107A CN102568887A (zh) | 2010-12-28 | 2010-12-28 | 可防止灰尘附着的按键结构 |
Applications Claiming Priority (1)
| Application Number | Priority Date | Filing Date | Title |
|---|---|---|---|
| CN2010106226107A CN102568887A (zh) | 2010-12-28 | 2010-12-28 | 可防止灰尘附着的按键结构 |
Publications (1)
| Publication Number | Publication Date |
|---|---|
| CN102568887A true CN102568887A (zh) | 2012-07-11 |
Family
ID=46414048
Family Applications (1)
| Application Number | Title | Priority Date | Filing Date |
|---|---|---|---|
| CN2010106226107A Pending CN102568887A (zh) | 2010-12-28 | 2010-12-28 | 可防止灰尘附着的按键结构 |
Country Status (1)
| Country | Link |
|---|---|
| CN (1) | CN102568887A (zh) |
Cited By (5)
| Publication number | Priority date | Publication date | Assignee | Title |
|---|---|---|---|---|
| CN106933378A (zh) * | 2017-04-24 | 2017-07-07 | 习水县西科电脑科技有限公司 | 自洁式键盘 |
| CN110060899A (zh) * | 2019-05-14 | 2019-07-26 | 重庆比蒙电子科技有限公司 | 一种防尘的电脑键盘按键 |
| CN111164719A (zh) * | 2017-11-17 | 2020-05-15 | 奥林巴斯株式会社 | 操作开关 |
| CN113220132A (zh) * | 2021-04-30 | 2021-08-06 | 邵鹏飞 | 一种基于智能制造的可进行自我清理的多功能键盘 |
| CN115440527A (zh) * | 2021-06-03 | 2022-12-06 | 致伸科技股份有限公司 | 键帽以及应用此键帽的按键 |
Citations (6)
| Publication number | Priority date | Publication date | Assignee | Title |
|---|---|---|---|---|
| DE3410846A1 (de) * | 1983-09-19 | 1985-04-11 | Siemens-Albis AG, Zürich | Tastschalter |
| US4596912A (en) * | 1984-02-20 | 1986-06-24 | Alps Electric Co., Ltd. | Push-button switch |
| US6664901B1 (en) * | 1999-02-22 | 2003-12-16 | Alps Electric Co., Ltd. | Keyboard input device |
| CN2662428Y (zh) * | 2003-06-10 | 2004-12-08 | 达方电子股份有限公司 | 按键的弹性元件 |
| CN201048096Y (zh) * | 2006-12-05 | 2008-04-16 | 达方电子股份有限公司 | 具有逃气结构的按键装置 |
| CN201063301Y (zh) * | 2007-01-23 | 2008-05-21 | 梁徽湖 | 一种改进的键盘按键结构 |
-
2010
- 2010-12-28 CN CN2010106226107A patent/CN102568887A/zh active Pending
Patent Citations (6)
| Publication number | Priority date | Publication date | Assignee | Title |
|---|---|---|---|---|
| DE3410846A1 (de) * | 1983-09-19 | 1985-04-11 | Siemens-Albis AG, Zürich | Tastschalter |
| US4596912A (en) * | 1984-02-20 | 1986-06-24 | Alps Electric Co., Ltd. | Push-button switch |
| US6664901B1 (en) * | 1999-02-22 | 2003-12-16 | Alps Electric Co., Ltd. | Keyboard input device |
| CN2662428Y (zh) * | 2003-06-10 | 2004-12-08 | 达方电子股份有限公司 | 按键的弹性元件 |
| CN201048096Y (zh) * | 2006-12-05 | 2008-04-16 | 达方电子股份有限公司 | 具有逃气结构的按键装置 |
| CN201063301Y (zh) * | 2007-01-23 | 2008-05-21 | 梁徽湖 | 一种改进的键盘按键结构 |
Cited By (8)
| Publication number | Priority date | Publication date | Assignee | Title |
|---|---|---|---|---|
| CN106933378A (zh) * | 2017-04-24 | 2017-07-07 | 习水县西科电脑科技有限公司 | 自洁式键盘 |
| CN111164719A (zh) * | 2017-11-17 | 2020-05-15 | 奥林巴斯株式会社 | 操作开关 |
| CN111164719B (zh) * | 2017-11-17 | 2022-09-13 | 奥林巴斯株式会社 | 操作开关和内窥镜 |
| CN110060899A (zh) * | 2019-05-14 | 2019-07-26 | 重庆比蒙电子科技有限公司 | 一种防尘的电脑键盘按键 |
| CN113220132A (zh) * | 2021-04-30 | 2021-08-06 | 邵鹏飞 | 一种基于智能制造的可进行自我清理的多功能键盘 |
| CN113220132B (zh) * | 2021-04-30 | 2022-12-20 | 深圳华一精品科技有限公司 | 一种基于智能制造的可进行自我清理的多功能键盘 |
| CN115440527A (zh) * | 2021-06-03 | 2022-12-06 | 致伸科技股份有限公司 | 键帽以及应用此键帽的按键 |
| CN115440527B (zh) * | 2021-06-03 | 2025-07-25 | 致伸科技股份有限公司 | 键帽以及应用此键帽的按键 |
Similar Documents
| Publication | Publication Date | Title |
|---|---|---|
| KR101194528B1 (ko) | 터치스크린용 키보드 패드 | |
| CN103576880B (zh) | 电子装置的外接键盘与电子装置的护套 | |
| CN102568887A (zh) | 可防止灰尘附着的按键结构 | |
| EP2469557A1 (en) | Dust-free button assembly | |
| CN112335010A (zh) | 键盘按键、键盘及电子设备 | |
| CN105068705B (zh) | 指纹识别装置、触摸屏及移动终端 | |
| CN211858472U (zh) | 电子设备的按键结构 | |
| CN104752085B (zh) | 一种防水按键结构和移动终端设备 | |
| TWM502941U (zh) | 防水薄膜電路板結構及其防水鍵盤 | |
| CN108227985B (zh) | 具有无实体按键边框的行动装置 | |
| TWM536788U (zh) | 按鍵排氣結構改良 | |
| CN204390932U (zh) | 一种音频设备开关 | |
| CN204029675U (zh) | 导电体结构 | |
| CN206976217U (zh) | 可插拨键盘的结构 | |
| CN207067937U (zh) | 一种防尘防水的键盘 | |
| TW201430888A (zh) | 電子裝置 | |
| CN209313817U (zh) | 一种光感触摸键盘、电子设备以及电梯楼层控制器 | |
| CN205121530U (zh) | 指纹识别装置、触摸屏及移动终端 | |
| CN210575649U (zh) | 一种按键结构及电子设备 | |
| CN205177673U (zh) | 防尘键帽 | |
| CN205375391U (zh) | 一种多功能计算机防尘键盘 | |
| CN201387529Y (zh) | 具有压电式按钮的数码相机 | |
| CN206594631U (zh) | 一种具有防尘防水防摔功能的新型计算机键盘 | |
| CN205620954U (zh) | 键盘 | |
| CN221114548U (zh) | 贴膜装置 |
Legal Events
| Date | Code | Title | Description |
|---|---|---|---|
| C06 | Publication | ||
| PB01 | Publication | ||
| C10 | Entry into substantive examination | ||
| SE01 | Entry into force of request for substantive examination | ||
| C02 | Deemed withdrawal of patent application after publication (patent law 2001) | ||
| WD01 | Invention patent application deemed withdrawn after publication |
Application publication date: 20120711 |