CN102528362A - 用于桥式起重机的主梁u形槽拼接点焊的定位顶紧装置 - Google Patents

用于桥式起重机的主梁u形槽拼接点焊的定位顶紧装置 Download PDF

Info

Publication number
CN102528362A
CN102528362A CN2012100196183A CN201210019618A CN102528362A CN 102528362 A CN102528362 A CN 102528362A CN 2012100196183 A CN2012100196183 A CN 2012100196183A CN 201210019618 A CN201210019618 A CN 201210019618A CN 102528362 A CN102528362 A CN 102528362A
Authority
CN
China
Prior art keywords
bridge crane
splicing
girder
main girder
shaped groove
Prior art date
Legal status (The legal status is an assumption and is not a legal conclusion. Google has not performed a legal analysis and makes no representation as to the accuracy of the status listed.)
Pending
Application number
CN2012100196183A
Other languages
English (en)
Inventor
王金生
关红岩
司春雁
Current Assignee (The listed assignees may be inaccurate. Google has not performed a legal analysis and makes no representation or warranty as to the accuracy of the list.)
LIAONING SANYO HEAVY INDUSTRY CRANE EQUIPMENT Co Ltd
Original Assignee
LIAONING SANYO HEAVY INDUSTRY CRANE EQUIPMENT Co Ltd
Priority date (The priority date is an assumption and is not a legal conclusion. Google has not performed a legal analysis and makes no representation as to the accuracy of the date listed.)
Filing date
Publication date
Application filed by LIAONING SANYO HEAVY INDUSTRY CRANE EQUIPMENT Co Ltd filed Critical LIAONING SANYO HEAVY INDUSTRY CRANE EQUIPMENT Co Ltd
Priority to CN2012100196183A priority Critical patent/CN102528362A/zh
Publication of CN102528362A publication Critical patent/CN102528362A/zh
Pending legal-status Critical Current

Links

Images

Landscapes

  • Bridges Or Land Bridges (AREA)
  • Leg Units, Guards, And Driving Tracks Of Cranes (AREA)

Abstract

本发明公开了一种用于桥式起重机的主梁U形槽拼接点焊的定位顶紧装置,包括两条固定轨道和可在这两条固定轨道上行走的顶紧装置,所述桥式起重机的主梁可从所述两条固定轨道和设置在所述两条固定轨道上的所述顶紧装置所围成的通道内通过;所述顶紧装置具有矩形框架,矩形框架的纵梁上相互间隔设有用于顶压所述桥式起重机的主梁U形槽的顶紧螺杆。采用上述结构的用于桥式起重机的主梁U形槽拼接点焊的定位顶紧装置,使用时可把桥式起重机的主梁置于预先设置在两条轨道之间的机架上,之后通过调整设置在顶紧装置上的矩形框架纵梁上的顶紧螺杆来调整较正所述主梁U形槽的拼接位置和尺寸,进而能够有效地保证桥式起重机的主梁U形槽拼接时的拼接直线度和拼接质量。

Description

用于桥式起重机的主梁U形槽拼接点焊的定位顶紧装置
技术领域
本发明涉及一种用于桥式起重机的主梁U形槽拼接点焊的定位顶紧装置。    
背景技术
以往电动单梁桥式起重机的主梁U形槽拼接都是手工拼接,由于主梁的尺寸较长,拼接点较多,特别是青年工人越来越多,生产过程中经常出现拼接直线度较差、拼接质量不好的现象,因此,非常需要一种装置来保正主梁U形槽的拼接质量。    
发明内容
本发明要解决的技术问题是提供一种在电动单梁桥式起重机的主梁U形槽拼接时能够保证拼接直线度和拼接质量并且与拼接工人的技术和经验无关的用于桥式起重机的主梁U形槽拼接点焊的定位顶紧装置。
为解决上述技术问题,本发明用于桥式起重机的主梁U形槽拼接点焊的定位顶紧装置,包括两条固定轨道和可在这两条固定轨道上行走的顶紧装置;所述顶紧装置包括两个矩形框架,每个矩形框架具有纵梁和横梁,每个矩形框架的底部设有与固定轨道相配合的可在轨道上行走的行走机构,两个矩形框架上端的横梁之间连有连接边梁;所述桥式起重机的主梁可从所述两条固定轨道和设置在所述两条固定轨道上的所述顶紧装置所围成的通道内通过;所述每个矩形框架的纵梁上相互间隔设有用于顶压所述桥式起重机的主梁U形槽的顶紧螺杆。 
采用上述结构的用于桥式起重机的主梁U形槽拼接点焊的定位顶紧装置,使用时可把桥式起重机的主梁置于预先设置在两条轨道之间的机架上,之后通过调整设置在顶紧装置上的矩形框架纵梁上的顶紧螺杆来调整较正所述主梁U形槽的拼接位置和尺寸,进而能够有效地保证桥式起重机的主梁U形槽拼接时的拼接直线度和拼接质量。  
附图说明
下面结合附图对本发明作进一步地详细说明。
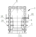
图1是本发明用于桥式起重机的主梁U形槽拼接点焊的定位顶紧装置的使用状态时的主视结构示意图。
图2是图1所示用于桥式起重机的主梁U形槽拼接点焊的定位顶紧装置的使用状态时的俯视结构示意图。
图3是图1所示用于桥式起重机的主梁U形槽拼接点焊的定位顶紧装置的侧视放大结构示意图。
具体实施方式
    参见图1-图3,本发明用于桥式起重机的主梁U形槽拼接点焊的定位顶紧装置,它包括两条固定轨道1、2和可在这两条固定轨道1、2上行走的顶紧装置3;所述顶紧装置3包括两个矩形框架4,每个矩形框架具有纵梁5和横梁6,每个矩形框架4的底部设有与固定轨道相配合的可在轨道上行走的行走机构7,两个矩形框架4上端的横梁6之间连有连接边梁8;所述桥式起重机的主梁9可从所述两条固定轨道1、2和设置在所述两条固定轨道上的所述顶紧装置3所围成的通道内通过;所述每个矩形框架4的纵梁上5相互间隔设有用于顶压所述桥式起重机的主梁9U形槽的顶紧螺杆10。使用时可把桥式起重机的主梁9置于预先设置在两条轨道1、2之间的机架11上,之后通过调整设置在顶紧装置3上的矩形框架纵梁5上的顶紧螺杆10来调整较正所述主梁U形槽的拼接位置和尺寸。

Claims (1)

1.一种用于桥式起重机的主梁U形槽拼接点焊的定位顶紧装置,其特征在于:它包括两条固定轨道和可在这两条固定轨道上行走的顶紧装置;所述顶紧装置包括两个矩形框架,每个矩形框架具有纵梁和横梁,每个矩形框架的底部设有与固定轨道相配合的可在轨道上行走的行走机构,两个矩形框架上端的横梁之间连有连接边梁;所述桥式起重机的主梁可从所述两条固定轨道和设置在所述两条固定轨道上的所述顶紧装置所围成的通道内通过;所述每个矩形框架的纵梁上相互间隔设有用于顶压所述桥式起重机的主梁U形槽的顶紧螺杆。
CN2012100196183A 2012-01-25 2012-01-25 用于桥式起重机的主梁u形槽拼接点焊的定位顶紧装置 Pending CN102528362A (zh)

Priority Applications (1)

Application Number Priority Date Filing Date Title
CN2012100196183A CN102528362A (zh) 2012-01-25 2012-01-25 用于桥式起重机的主梁u形槽拼接点焊的定位顶紧装置

Applications Claiming Priority (1)

Application Number Priority Date Filing Date Title
CN2012100196183A CN102528362A (zh) 2012-01-25 2012-01-25 用于桥式起重机的主梁u形槽拼接点焊的定位顶紧装置

Publications (1)

Publication Number Publication Date
CN102528362A true CN102528362A (zh) 2012-07-04

Family

ID=46337061

Family Applications (1)

Application Number Title Priority Date Filing Date
CN2012100196183A Pending CN102528362A (zh) 2012-01-25 2012-01-25 用于桥式起重机的主梁u形槽拼接点焊的定位顶紧装置

Country Status (1)

Country Link
CN (1) CN102528362A (zh)

Cited By (1)

* Cited by examiner, † Cited by third party
Publication number Priority date Publication date Assignee Title
CN117900672A (zh) * 2024-02-23 2024-04-19 河北正钢钢结构有限公司 一种集装箱房屋快速焊接平台

Citations (4)

* Cited by examiner, † Cited by third party
Publication number Priority date Publication date Assignee Title
SU1380890A1 (ru) * 1986-04-03 1988-03-15 Запорожский Проектно-Конструкторский И Технологический Институт Кондуктор дл сборки и сварки изделий
CN201079895Y (zh) * 2007-08-24 2008-07-02 中国南车集团戚墅堰机车车辆厂 机车构架侧梁组焊用翻转架
CN201849911U (zh) * 2010-10-18 2011-06-01 中冶成工上海五冶建设有限公司 重型设备运输装置
CN202398974U (zh) * 2012-01-25 2012-08-29 辽宁三洋重工起重机装备有限公司 用于桥式起重机的主梁u形槽拼接点焊的定位顶紧装置

Patent Citations (4)

* Cited by examiner, † Cited by third party
Publication number Priority date Publication date Assignee Title
SU1380890A1 (ru) * 1986-04-03 1988-03-15 Запорожский Проектно-Конструкторский И Технологический Институт Кондуктор дл сборки и сварки изделий
CN201079895Y (zh) * 2007-08-24 2008-07-02 中国南车集团戚墅堰机车车辆厂 机车构架侧梁组焊用翻转架
CN201849911U (zh) * 2010-10-18 2011-06-01 中冶成工上海五冶建设有限公司 重型设备运输装置
CN202398974U (zh) * 2012-01-25 2012-08-29 辽宁三洋重工起重机装备有限公司 用于桥式起重机的主梁u形槽拼接点焊的定位顶紧装置

Cited By (1)

* Cited by examiner, † Cited by third party
Publication number Priority date Publication date Assignee Title
CN117900672A (zh) * 2024-02-23 2024-04-19 河北正钢钢结构有限公司 一种集装箱房屋快速焊接平台

Similar Documents

Publication Publication Date Title
CN104060523A (zh) 一种超大型桥箱梁构件、专用胎架及其组装方法
US10138605B2 (en) Railway track sleeper squaring device and self-propelled machine which comprises this device
CN105499878A (zh) 一种定向防变形低残余应力焊接夹具
CN103147409B (zh) 一种钢-混叠合梁斜拉桥合龙施工方法
CN103321247B (zh) 沉管隧道的可调可拆可重复利用的鼻托导向装置及方法
CN202398974U (zh) 用于桥式起重机的主梁u形槽拼接点焊的定位顶紧装置
JP2015078561A (ja) 鋼構造物の建方工法
CN102528362A (zh) 用于桥式起重机的主梁u形槽拼接点焊的定位顶紧装置
CN104625340A (zh) 一种高强度小尺寸h型钢的手工焊接方法
CN104594183A (zh) 组装式钢混t型梁
JP3182485U (ja) 溶接用架台
CN103840347A (zh) 一种轨导式导线压接机托架
CN205907597U (zh) 桁架式梁底移动平台装置
CN204644854U (zh) 简易可拆卸皮带过桥
JP2004300888A (ja) 鉄骨柱の目違い矯正治具
JP2016205043A (ja) アンカーボルト保持治具及びこれを用いたアンカーボルト支持装置
CN104759775A (zh) 一种轮胎吊龙门架焊接方法
CN203296065U (zh) 沉管隧道的可调可拆可重复利用的鼻托导向装置
CN104759773A (zh) 一种轮胎吊龙门架焊接方法
CN203701702U (zh) 一种拼接式防尘棚
CN204186014U (zh) 无梯柱自承式钢梯
CN103061411A (zh) 失稳变形方向可控的支撑及框架
CN103806352B (zh) 排架组装调节方法及装置
CN202925404U (zh) 轨道预埋螺栓的定位辅助装置
CN203610890U (zh) 一种矩形箱式结构焊接固定装置

Legal Events

Date Code Title Description
C06 Publication
PB01 Publication
C10 Entry into substantive examination
SE01 Entry into force of request for substantive examination
C02 Deemed withdrawal of patent application after publication (patent law 2001)
WD01 Invention patent application deemed withdrawn after publication

Application publication date: 20120704