CN102407181A - Ball mill - Google Patents
Ball mill Download PDFInfo
- Publication number
- CN102407181A CN102407181A CN2011104279890A CN201110427989A CN102407181A CN 102407181 A CN102407181 A CN 102407181A CN 2011104279890 A CN2011104279890 A CN 2011104279890A CN 201110427989 A CN201110427989 A CN 201110427989A CN 102407181 A CN102407181 A CN 102407181A
- Authority
- CN
- China
- Prior art keywords
- ball mill
- rotating shaft
- pulley
- discharge
- belt
- Prior art date
- Legal status (The legal status is an assumption and is not a legal conclusion. Google has not performed a legal analysis and makes no representation as to the accuracy of the status listed.)
- Pending
Links
- 230000005540 biological transmission Effects 0.000 claims abstract description 12
- 239000000463 material Substances 0.000 claims description 8
- 238000000498 ball milling Methods 0.000 claims description 7
- 238000007599 discharging Methods 0.000 claims description 4
- 230000001105 regulatory effect Effects 0.000 abstract description 4
- 238000004519 manufacturing process Methods 0.000 description 6
- 239000000843 powder Substances 0.000 description 6
- 238000010298 pulverizing process Methods 0.000 description 6
- 238000000227 grinding Methods 0.000 description 3
- 238000000034 method Methods 0.000 description 3
- 238000005516 engineering process Methods 0.000 description 2
- 239000002994 raw material Substances 0.000 description 2
- 238000010586 diagram Methods 0.000 description 1
- 238000007689 inspection Methods 0.000 description 1
- 230000010354 integration Effects 0.000 description 1
Images
Landscapes
- Crushing And Grinding (AREA)
Abstract
本发明公开了一种球磨机,包括传动机构与回转副,其中,与调速电机联接的小皮带轮通过第一皮带与大皮带轮构成第一皮带传动机构,与大皮带轮通过中心主轴联接并同轴运转的转盘上对称布置有多个球磨罐,每个球磨罐的转轴都与转盘构成回转副,并且转轴的下部联接有行星带轮,该行星带轮又通过第二皮带与同机座联接的中心带轮构成第二皮带传动机构,所述的中心主轴和转轴为空心轴,所述的球磨罐和转轴之间相通,转轴和中心主轴之间联接相通,中心主轴的下端设有出料口。
The present invention discloses a ball mill, comprising a transmission mechanism and a rotary pair, wherein a small pulley connected to a speed regulating motor forms a first belt transmission mechanism with a large pulley through a first belt, a plurality of ball mills are symmetrically arranged on a turntable which is connected to the large pulley through a central main shaft and coaxially rotates, a rotating shaft of each ball mill forms a rotary pair with the turntable, and a planetary belt wheel is connected to the lower part of the rotating shaft, and the planetary belt wheel is connected to the central pulley connected to the machine base through a second belt to form a second belt transmission mechanism, the central main shaft and the rotating shaft are hollow shafts, the ball mill and the rotating shaft are communicated, the rotating shaft and the central main shaft are connected and communicated, and a discharge port is provided at the lower end of the central main shaft.
Description
技术领域 technical field
本发明涉及粉碎机械设备,尤其涉及一种适合需连续运转的球磨机。The invention relates to crushing mechanical equipment, in particular to a ball mill suitable for continuous operation.
背景技术 Background technique
超微粉碎是近20年迅速发展起来的一项高新技术,能把原材料加工成微米甚至纳米级的微粉,已经在化工、医药、食品、农药、化妆品、染料、涂料、电子、航空航天等许多领域得到了广泛的应用。Superfine pulverization is a high-tech developed rapidly in the past 20 years. It can process raw materials into micron or even nanometer powder. field has been widely used.
超微粉碎技术有机械磨、气流磨等多种,其中球磨机是用于超微粉碎的传统设备,其特点是粉碎比大,结构简单,机械可靠性强,磨损零件容易检查和更换,工艺成熟,适应性强,产品粒度小等优点。但球磨机是属于独立式、间歇式的机械设备,其结构上无法与生产线上其他设备连接,难以实现生产工艺上的连续作业要求。There are many kinds of superfine pulverization technology, such as mechanical mill, jet mill, etc. Among them, ball mill is the traditional equipment for superfine pulverization, which is characterized by large pulverization ratio, simple structure, strong mechanical reliability, easy inspection and replacement of worn parts, and mature technology. , strong adaptability, small product size and other advantages. However, the ball mill is an independent and intermittent mechanical equipment, and its structure cannot be connected with other equipment on the production line, so it is difficult to realize the continuous operation requirements of the production process.
发明内容 Contents of the invention
针对现有技术的缺点,本发明的目的是提供一种球磨机,能够适应生产线的连续作业。Aiming at the shortcomings of the prior art, the purpose of the present invention is to provide a ball mill that can adapt to the continuous operation of the production line.
为了实现上述目的,本发明的技术方案为:一种球磨机,包括传动机构与回转副,其中,与调速电机联接的小皮带轮通过第一皮带与大皮带轮构成第一皮带传动机构,与大皮带轮通过中心主轴联接并同轴运转的转盘上对称布置有多个球磨罐,每个球磨罐的转轴都与转盘构成回转副,并且转轴的下部联接有行星带轮,该行星带轮又通过第二皮带与同机座联接的中心带轮构成第二皮带传动机构,所述的中心主轴和转轴为空心轴,所述的球磨罐和转轴之间相通,转轴和中心主轴之间联接相通,中心主轴的下端设有出料口。In order to achieve the above object, the technical solution of the present invention is: a ball mill, including a transmission mechanism and a rotary pair, wherein the small pulley connected to the speed regulating motor forms the first belt transmission mechanism through the first belt and the large pulley, and the large pulley A plurality of ball milling pots are symmetrically arranged on the turntable connected by the central main shaft and running coaxially. The rotating shaft of each ball milling pot forms a rotary pair with the turntable. The belt and the central pulley connected with the machine base form the second belt transmission mechanism. The central main shaft and the rotating shaft are hollow shafts. The ball mill tank and the rotating shaft communicate with each other. The lower end is provided with a discharge port.
优选地,在球磨罐的上方设置入料装置,该入料装置为可绕轴转动的一圆形集料空腔装置,其上部设有一个圆柱形入料口,下部分别设有相应的圆柱形出料口与与各球磨罐联接相通。Preferably, a feeding device is provided above the ball mill tank, and the feeding device is a circular collecting cavity device that can rotate around an axis. The upper part is provided with a cylindrical feeding port, and the lower part is respectively provided with corresponding cylindrical The discharge port is connected with each ball mill tank.
优选地,在所述转轴与球磨罐联接的一端设置出料筛板。Preferably, a discharge sieve plate is provided at one end of the rotating shaft connected to the ball mill tank.
优选地,所述转轴和中心主轴之间通过一出料装置联接相通,该出料装置设有空腔,在中心主轴与出料装置连接的部分分布设有出料槽。Preferably, the rotating shaft and the central main shaft are connected through a discharge device, and the discharge device is provided with a cavity, and a discharge groove is distributed at the part where the central main shaft is connected to the discharge device.
优选地,入料装置内的入料通道以及所述出料装置的出料通道均倾斜一定的角度设置。Preferably, the feed channel in the feed device and the discharge channel of the discharge device are both inclined at a certain angle.
与现有技术相比,本发明既保留了现有技术中行星球磨机的优点,又同时实现了入料与出料一体化,并实现生产工艺的连续性,节省人力物力资源。Compared with the prior art, the present invention not only retains the advantages of the planetary ball mill in the prior art, but also realizes the integration of feeding and discharging, realizes the continuity of the production process, and saves manpower and material resources.
附图说明 Description of drawings
下面结合附图对本发明作进一步的详细说明。The present invention will be further described in detail below in conjunction with the accompanying drawings.
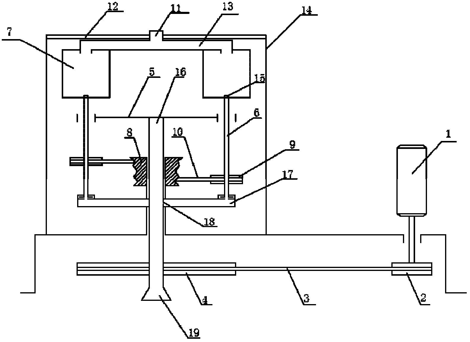
图1是本发明的结构示意图。Fig. 1 is a structural schematic diagram of the present invention.
具体实施方式 Detailed ways
请参阅图1,本发明的球磨机包括传动机构与回转副,其中,与调速电机1联接的小皮带轮2通过第一皮带3与大皮带轮4构成第一皮带传动机构,与大皮带轮4通过中心主轴16联接并同轴运转的转盘5上对称布置有多个球磨罐7,每个球磨罐7的转轴6都与转盘5构成回转副,并且转轴6的下部联接有行星带轮9,该行星带轮9又通过第二皮带10与同机座联接的中心带轮8构成第二皮带传动机构,中心主轴16和转轴6均为空心轴,转轴6用于连接球磨罐7与出料装置17,将球磨罐7内的粉体输送到出料装置17的空腔;球磨罐7的一端与入料装置13嵌套,使之既可以完成自身的自转,又可以带动入料装置公转,转轴6与球磨罐7连接的的另一端设有出料筛板15,用于分离粉碎完成的粉体和未粉碎完成的粉体;球磨罐7和转轴6之间相通,转轴6和中心主轴16之间联接相通,中心主轴16的下端设有出料口19。在球磨罐7的上方设置入料装置13,该入料装置13为可绕轴转动的一圆形集料空腔装置,其上部设有一个圆柱形入料口11,以便与其他工艺设备连接,下部分别设有相应的圆柱形出料口与与各球磨罐7联接相通,入料装置13由球磨罐7带动公转,物料在离心力作用下经入料装置13进入球磨罐7;在入料装置13上方设置机盖12,以防止入料装置13因离心力过大而甩出;转轴6和中心主轴16之间通过一出料装置17联接相通,该出料装置17设有空腔,在中心主轴16与出料装置17连接的部分分布设有出料槽18;入料装置13内的入料通道以及出料装置17的出料通道均倾斜一定的角度设置;以方便物料和粉体的流动。Referring to Fig. 1, the ball mill of the present invention includes a transmission mechanism and a rotary pair, wherein the small pulley 2 connected with the speed regulating motor 1 constitutes the first belt transmission mechanism through the first belt 3 and the large pulley 4, and passes through the center with the large pulley 4. A plurality of ball milling jars 7 are arranged symmetrically on the turntable 5 connected with the main shaft 16 and running coaxially. The rotating shaft 6 of each ball milling jar 7 forms a rotary pair with the turntable 5, and the lower part of the rotating shaft 6 is connected with a planetary pulley 9. The belt pulley 9 forms a second belt transmission mechanism through the second belt 10 and the central pulley 8 connected with the same machine base. The central main shaft 16 and the rotating shaft 6 are both hollow shafts. The rotating shaft 6 is used to connect the ball mill tank 7 and the discharge device 17 , transport the powder in the ball mill tank 7 to the cavity of the discharge device 17; one end of the ball mill tank 7 is nested with the feed device 13, so that it can not only complete its own rotation, but also drive the feed device to revolve, and the rotating shaft 6. The other end connected to the ball milling tank 7 is provided with a discharge sieve plate 15 for separating pulverized powder and unfinished powder; They are connected and connected, and the lower end of the central main shaft 16 is provided with a
工作时,当调速电机启动后,转盘5便会转动起来,同时球磨罐7便开始作行星运动。入料装置13经由磨罐7带动公转。球磨罐内的研磨球在惯性力的作用下对物料形成很大的高频冲击、摩擦力,对物料进行快速细磨。During work, after the speed regulating motor starts, the turntable 5 will rotate, and the ball mill jar 7 will start to do planetary motion simultaneously. The feeding device 13 is driven to revolve via the grinding tank 7 . Under the action of inertial force, the grinding balls in the ball mill form a large high-frequency impact and friction force on the material, and quickly and finely grind the material.
原料碎料由入料口11进入入料装置13,碎料在离心力的作用下甩到入料装置13的一侧落入磨罐7内,碎料经球磨罐微粉碎后由出料筛板15筛选出粉碎完成的粉体,该粉体通过转轴6输送,进入到出料装置17。之后,经由出料装置17的物料粉体由中心主轴16上的出料槽18输出,进入到中心主轴16的腔体内,最终输送到出料口19。The raw material scraps enter the feeding device 13 from the feeding port 11, and the scraps are thrown to the side of the feeding device 13 under the action of centrifugal force and fall into the grinding tank 7. 15 screens out the pulverized powder, which is transported through the rotating shaft 6 and enters the discharge device 17. After that, the material powder passing through the discharge device 17 is output from the discharge trough 18 on the central spindle 16 , enters the cavity of the central spindle 16 , and is finally transported to the
本发明的可连续粉碎球磨集进料、球磨粉碎、出料于一体,能够适应生产上的连续作业要求,缩短了生产周期,节省了人力物力资源。The continuous pulverizing ball mill of the present invention integrates feeding, pulverizing and discharging into one body, can meet the requirements of continuous operation in production, shortens the production cycle, and saves manpower and material resources.
Claims (5)
Priority Applications (1)
| Application Number | Priority Date | Filing Date | Title |
|---|---|---|---|
| CN2011104279890A CN102407181A (en) | 2011-12-19 | 2011-12-19 | Ball mill |
Applications Claiming Priority (1)
| Application Number | Priority Date | Filing Date | Title |
|---|---|---|---|
| CN2011104279890A CN102407181A (en) | 2011-12-19 | 2011-12-19 | Ball mill |
Publications (1)
| Publication Number | Publication Date |
|---|---|
| CN102407181A true CN102407181A (en) | 2012-04-11 |
Family
ID=45909701
Family Applications (1)
| Application Number | Title | Priority Date | Filing Date |
|---|---|---|---|
| CN2011104279890A Pending CN102407181A (en) | 2011-12-19 | 2011-12-19 | Ball mill |
Country Status (1)
| Country | Link |
|---|---|
| CN (1) | CN102407181A (en) |
Cited By (10)
| Publication number | Priority date | Publication date | Assignee | Title |
|---|---|---|---|---|
| CN103252273A (en) * | 2013-04-25 | 2013-08-21 | 陈涛 | Vertical-hopper-type magnetic levitation efficient ball mill |
| CN105080669A (en) * | 2015-09-21 | 2015-11-25 | 江苏天鹏机电制造有限公司 | Planetary ball mill |
| CN106669905A (en) * | 2016-08-11 | 2017-05-17 | 梁如松 | Energy saving method utilizing large belt pulley for decelerated transferring of ball grinder |
| CN108126632A (en) * | 2018-02-19 | 2018-06-08 | 宁波工程学院 | A kind of continous way synchronizes planet mechanico-chemical reaction device |
| CN108405083A (en) * | 2018-03-26 | 2018-08-17 | 宁波工程学院 | A kind of continous way planetary ball mill |
| CN109012895A (en) * | 2018-10-12 | 2018-12-18 | 河南先导机械力化学研究院有限公司 | Ball-milling device for planetary ball mill |
| CN109012894A (en) * | 2018-10-12 | 2018-12-18 | 河南先导机械力化学研究院有限公司 | A kind of rack for planetary ball mill |
| CN109530016A (en) * | 2018-10-17 | 2019-03-29 | 山东交通职业学院 | Temperature control equipment and temprature control method for horizontal planetary ball mill |
| CN111321189A (en) * | 2020-03-19 | 2020-06-23 | 成都六然医疗科技有限公司 | Cordyceps militaris polypeptide and preparation method thereof |
| CN111617847A (en) * | 2020-06-22 | 2020-09-04 | 长沙天创粉末技术有限公司 | A continuous vertical planetary ball mill |
Citations (6)
| Publication number | Priority date | Publication date | Assignee | Title |
|---|---|---|---|---|
| CN2164905Y (en) * | 1993-08-19 | 1994-05-18 | 东南大学 | Wet planetary pulverizer |
| CN2377001Y (en) * | 1999-07-02 | 2000-05-10 | 东南大学 | Continuous dry star ball mill |
| CN2606636Y (en) * | 2003-03-05 | 2004-03-17 | 吉林省农业科学院农副产品加工研究开发中心 | Adjustable parameter planetary ball mill |
| CN1743075A (en) * | 2004-09-02 | 2006-03-08 | 王瑛玮 | Planetary ring-gap type powder superfine disintegrating method and apparatus |
| CN2910352Y (en) * | 2005-12-30 | 2007-06-13 | 中山大学 | Ball grinding pot for planetary ball grinding mill and ball mill having the same |
| CN202683287U (en) * | 2011-12-19 | 2013-01-23 | 仲恺农业工程学院 | ball mill |
-
2011
- 2011-12-19 CN CN2011104279890A patent/CN102407181A/en active Pending
Patent Citations (6)
| Publication number | Priority date | Publication date | Assignee | Title |
|---|---|---|---|---|
| CN2164905Y (en) * | 1993-08-19 | 1994-05-18 | 东南大学 | Wet planetary pulverizer |
| CN2377001Y (en) * | 1999-07-02 | 2000-05-10 | 东南大学 | Continuous dry star ball mill |
| CN2606636Y (en) * | 2003-03-05 | 2004-03-17 | 吉林省农业科学院农副产品加工研究开发中心 | Adjustable parameter planetary ball mill |
| CN1743075A (en) * | 2004-09-02 | 2006-03-08 | 王瑛玮 | Planetary ring-gap type powder superfine disintegrating method and apparatus |
| CN2910352Y (en) * | 2005-12-30 | 2007-06-13 | 中山大学 | Ball grinding pot for planetary ball grinding mill and ball mill having the same |
| CN202683287U (en) * | 2011-12-19 | 2013-01-23 | 仲恺农业工程学院 | ball mill |
Cited By (13)
| Publication number | Priority date | Publication date | Assignee | Title |
|---|---|---|---|---|
| CN103252273A (en) * | 2013-04-25 | 2013-08-21 | 陈涛 | Vertical-hopper-type magnetic levitation efficient ball mill |
| CN103252273B (en) * | 2013-04-25 | 2015-04-01 | 陈涛 | Vertical-hopper-type magnetic levitation efficient ball mill |
| CN105080669A (en) * | 2015-09-21 | 2015-11-25 | 江苏天鹏机电制造有限公司 | Planetary ball mill |
| CN106669905A (en) * | 2016-08-11 | 2017-05-17 | 梁如松 | Energy saving method utilizing large belt pulley for decelerated transferring of ball grinder |
| CN108126632A (en) * | 2018-02-19 | 2018-06-08 | 宁波工程学院 | A kind of continous way synchronizes planet mechanico-chemical reaction device |
| CN108405083A (en) * | 2018-03-26 | 2018-08-17 | 宁波工程学院 | A kind of continous way planetary ball mill |
| CN109012895A (en) * | 2018-10-12 | 2018-12-18 | 河南先导机械力化学研究院有限公司 | Ball-milling device for planetary ball mill |
| CN109012894A (en) * | 2018-10-12 | 2018-12-18 | 河南先导机械力化学研究院有限公司 | A kind of rack for planetary ball mill |
| CN109012894B (en) * | 2018-10-12 | 2024-03-12 | 河南先导机械力化学研究院有限公司 | A frame for planetary ball mill |
| CN109012895B (en) * | 2018-10-12 | 2024-04-09 | 河南先导机械力化学研究院有限公司 | Ball milling device for planetary ball mill |
| CN109530016A (en) * | 2018-10-17 | 2019-03-29 | 山东交通职业学院 | Temperature control equipment and temprature control method for horizontal planetary ball mill |
| CN111321189A (en) * | 2020-03-19 | 2020-06-23 | 成都六然医疗科技有限公司 | Cordyceps militaris polypeptide and preparation method thereof |
| CN111617847A (en) * | 2020-06-22 | 2020-09-04 | 长沙天创粉末技术有限公司 | A continuous vertical planetary ball mill |
Similar Documents
| Publication | Publication Date | Title |
|---|---|---|
| CN102407181A (en) | Ball mill | |
| CN207254384U (en) | A kind of crushing material and drying device | |
| CN103263955B (en) | Production equipment for extracting cotton protein from cottonseed meal | |
| CN203291915U (en) | Ultrafine powder differential swing arm roller grinding machine | |
| CN202683287U (en) | ball mill | |
| CN201026458Y (en) | New Limestone Powder Preparation System | |
| CN203044093U (en) | Flour mill | |
| CN106391211A (en) | Intelligent dry type ball milling system | |
| CN103801430B (en) | Hydraulically-loaded dual-power pulverizer | |
| CN208554447U (en) | A kind of grinding device of automated material | |
| CN206304870U (en) | A kind of ore crushes milling device | |
| CN201791674U (en) | Airflow classifier for bentonite | |
| CN104001582B (en) | Screening, cloth, crushing all-in-one machine | |
| CN204768869U (en) | Circulation grinding screen optional equipment | |
| CN203044077U (en) | Traditional Chinese medicine crushing machine | |
| CN103272674B (en) | A kind of air-flow vortex pulverizing mill for extracting cotton protein from cotton dregs | |
| CN202122983U (en) | Vertical mill | |
| CN209124042U (en) | Planetary ball mill | |
| CN106345577A (en) | Smart online-discharging dry ball mill | |
| CN202336368U (en) | Superfine grinder with slag remover | |
| CN202336374U (en) | Ultrafine smashing machine | |
| CN102380447A (en) | Superfine crushing machine | |
| CN202336372U (en) | Uniform-granularity micro-powder preparation system | |
| CN204710523U (en) | A kind ofly be applied to the ultra-fine wood powder producing machine grinding processing | |
| CN205392639U (en) | An improved recyclable particle crushing equipment |
Legal Events
| Date | Code | Title | Description |
|---|---|---|---|
| C06 | Publication | ||
| PB01 | Publication | ||
| C10 | Entry into substantive examination | ||
| SE01 | Entry into force of request for substantive examination | ||
| C12 | Rejection of a patent application after its publication | ||
| RJ01 | Rejection of invention patent application after publication |
Application publication date: 20120411 |
