CN102337849A - Mechanical lock cylinder - Google Patents

Mechanical lock cylinder Download PDF

Info

Publication number
CN102337849A
CN102337849A CN2011102756630A CN201110275663A CN102337849A CN 102337849 A CN102337849 A CN 102337849A CN 2011102756630 A CN2011102756630 A CN 2011102756630A CN 201110275663 A CN201110275663 A CN 201110275663A CN 102337849 A CN102337849 A CN 102337849A
Authority
CN
China
Prior art keywords
internal cylinder
lock
lock pin
slideway
lock core
Prior art date
Legal status (The legal status is an assumption and is not a legal conclusion. Google has not performed a legal analysis and makes no representation as to the accuracy of the status listed.)
Granted
Application number
CN2011102756630A
Other languages
Chinese (zh)
Other versions
CN102337849B (en
Inventor
樊俞成
韦建葵
Current Assignee (The listed assignees may be inaccurate. Google has not performed a legal analysis and makes no representation or warranty as to the accuracy of the list.)
Zhejiang Tiantian Electronic Co ltd
Original Assignee
Individual
Priority date (The priority date is an assumption and is not a legal conclusion. Google has not performed a legal analysis and makes no representation as to the accuracy of the date listed.)
Filing date
Publication date
Application filed by Individual filed Critical Individual
Priority to CN201110275663.0A priority Critical patent/CN102337849B/en
Publication of CN102337849A publication Critical patent/CN102337849A/en
Priority to PCT/CN2012/081447 priority patent/WO2013037316A1/en
Application granted granted Critical
Publication of CN102337849B publication Critical patent/CN102337849B/en
Expired - Fee Related legal-status Critical Current
Anticipated expiration legal-status Critical

Links

Images

Classifications

    • EFIXED CONSTRUCTIONS
    • E05LOCKS; KEYS; WINDOW OR DOOR FITTINGS; SAFES
    • E05BLOCKS; ACCESSORIES THEREFOR; HANDCUFFS
    • E05B29/00Cylinder locks and other locks with plate tumblers which are set by pushing the key in
    • EFIXED CONSTRUCTIONS
    • E05LOCKS; KEYS; WINDOW OR DOOR FITTINGS; SAFES
    • E05BLOCKS; ACCESSORIES THEREFOR; HANDCUFFS
    • E05B17/00Accessories in connection with locks
    • E05B17/04Devices for coupling the turning cylinder of a single or a double cylinder lock with the bolt operating member
    • E05B17/047Devices for coupling the turning cylinder of a single or a double cylinder lock with the bolt operating member with rotating output elements forming part of cylinder locks, e.g. locking cams of double cylinder locks

Landscapes

  • Physics & Mathematics (AREA)
  • Electromagnetism (AREA)
  • Lock And Its Accessories (AREA)
  • Pinball Game Machines (AREA)

Abstract

The invention discloses a mechanical lock cylinder, comprising an inner lock cylinder with a key hole, wherein the inner lock cylinder is installed in a slideway in an outer lock cylinder; the inner lock cylinder is provided with a plurality of lock pins adjacent to the key hole, and the lock pins are respectively installed in each lock pin slideway; each lock pin is provided with a shift pin part extending into the key hole; the outer lock cylinder is provided with a plurality of lock pin holes which are respectively in butt joint with the outer ends of the plurality of lock pin slideways of the inner lock cylinder when the inner lock cylinder moves to a locking position in the slideway. Compared with the prior art, the mechanical lock cylinder can solve the problems that the burglarproof performance of current mechanical lock cylinder capable of idling for preventing breaking is poor and the size is large.

Description

Mechanical lock
Technical field
The present invention relates to lockset manufacturing technology field, especially a kind of have lock body and a lock core, with key operated mechanical lock.
Background technology
Mechanical lock in the lockset has the advantage of reliable operation, and its typical structure derives various ways thereafter for Yale's cylinder lock of Yale's invention, and its great majority still are the sealed of Yale's cylinder lock and release principle.Yale's cylinder lock is in the circle hole shape lock core hole of lock core body, the internal cylinder that is provided with keyhole in it to be installed; In internal cylinder, be provided with the pellet shot from a slingshot hole that connects keyhole and internal cylinder lateral surface; In lock core body, be provided with and pellet shot from a slingshot hole one to one, the pellet shot from a slingshot hole of internal cylinder; Two cylinder-shaped marbles all are installed in the pellet shot from a slingshot hole of internal cylinder and each butt joint of lock core body; And a spring that acts on the pellet shot from a slingshot is installed in the pellet shot from a slingshot hole of outer lock core; When the institute bitting is inserted in the keyhole of internal cylinder, the different tooth of height is set on the key just in time the outer end of the pellet shot from a slingshot in the keyhole is driven on the hole face that internal cylinder and lock core body engage, internal cylinder can be unblanked with respect to lock core body rotating band moving lock tool; In the time of in internal cylinder or illegal key insertion internal cylinder keyhole are withdrawed from institute's bitting; Because the effect of the spring in the pellet shot from a slingshot hole; The mating face that makes two pellets shot from a slingshot in each pellet shot from a slingshot hole just in time all align and is caused at least one pellet shot from a slingshot to be stuck in this mating face and is realized the sealed of lock core body and internal cylinder in the mating face of lock core body and internal cylinder.The mechanical lock of this structure is because the mating face of lock core body and internal cylinder is a face of cylinder, so two pellets shot from a slingshot in the same pellet shot from a slingshot hole must process the shape of rounding or chamfering at the end that is bonded with each other, cause thus pellet shot from a slingshot in the same pellet shot from a slingshot hole in certain stroke of key actuated its differential can not be too little; General all more than 0.5 millimeter, therefore, the size of key of lock core is big inadequately; On the other hand, the pellet shot from a slingshot that plays locking action receives the active force of a spring all the time, and this structure is illegally unblanked; Or claim technology unlocking with opportunity, theftproof performance is poor, uses the technology unlocking instrument; Only need just can realize pirate of the open several seconds like Unlocking gun or MASTERKRY, rotate with high-intensity illegal key violence and also possibly pried open, although people have carried out a large amount of improvement to Yale's cylinder lock; Even invented and under locked state, can let the mechanical lock of anti-drilling, sled of internal cylinder idle running, but facts have proved that existing arbitrary money includes the pellet shot from a slingshot of spring action in locking action; Or the multiple lock core of other clutch locking bar; Comprise the atomic lock that the market is alleged, in face of the theft of high professional qualification, only need several seconds just can pirate of the open, anti-pirate of the open performance be not strong.In addition, the mechanical lock of existing anti-drilling, sled and technological pirate of the open all can't be processed little diameter, to such an extent as to the mechanical lock of this anti-drilling, sled and technological pirate of the open all can't be applied in the European lockset.
Summary of the invention
It is strong that problem to be solved by this invention provides a kind of anti-pirate of the open performance, the mechanical lock that volume is little.
In order to solve the problems of the technologies described above, the technical scheme that the present invention adopted is: this mechanical lock comprises the internal cylinder that is provided with keyhole, and said internal cylinder is contained in the slideway in the outer lock core; Said internal cylinder is provided with a plurality of lock pins that are contained in each self-lock pin slideway on the keyhole side; Each lock pin is equipped with the finger portion that stretches in the said keyhole, and said outer lock core is provided with a plurality of lock pin sockets that when said internal cylinder moves to latched position in said slideway, dock respectively with the external port of many lock pin slideways of this internal cylinder.When said lock pin stretches out under the state that internal cylinder inserts said outer lock core, lock said internal cylinder and outer lock core axial location at the outer lock core slideway, prevent that said internal cylinder from moving to drive the part of unblanking and unblank in the slideway of said outer lock core; Otherwise; Under released state; Lock pin in the said internal cylinder is all withdrawn in the lock pin slideway of internal cylinder, can let said internal cylinder in the slideway of said outer lock core, move, and slides or stirs the part of unblanking and rotate along axis of rotation and realize unblanking with the part axial that promotes to unblank.
In the technical scheme of above-mentioned mechanical lock; Scheme can also be more specifically: have a said lock pin at least when its end moves to when concordant with its external port of lock pin slideway; Its other end is just in time concordant with another external port of this lock pin slideway; Be that lock pin is when its lock pin slideway of withdrawal is in the release desired location; It is concordant that two of lock pin corrects the external port that engages with the lock pin socket lock pin slideway and outer lock core of internal cylinder, and no matter make lock pin is that which end to the lock pin slideway departs from the release desired location, all constitutes sealed to internal cylinder and outer lock core.Described lock pin slideway can be arranged and be arranged to 1~4 row; The setting that the general employing of each bar lock pin slideway in same row's lock pin slideway is parallel to each other; So that make processing; If do not consider to make the difficulty or the complexity of processing, each the bar lock pin slideway among the same row is obliquely installed each other.The part of unblanking of this mechanical lock can be the part of unblanking that slides, and the part of promptly unblanking through promoting to slide drives lockset and unblanks, and this slip part of unblanking can be contained in the inner set slideway of said internal cylinder; The part of unblanking of this mechanical lock also can be to rotate the part of unblanking; Promptly drive lockset and unblank through driving this rotation part of unblanking; This rotation part of unblanking can be contained in the middle of the inner outer set axis hole of said internal cylinder; When adopting this rotation to unblank part, can be provided with the finger of unblanking said internal cylinder and the said rotation side that part is arranged in the middle of the two in the middle of the two that unblanks, the opposing party is provided with the finger socket; Also can be equipped with chimeric tooth and alveolus structure each other at the unblank abutting end of part of the inner of said internal cylinder and said rotation.
In addition; Said outer lock core in the above-mentioned mechanical lock can also be contained in the circular hole of lock core body; Under this form of structure, in the slideway that said internal cylinder and said outer lock core are bonded with each other, be provided with and limit the two gathering sill and the muscle or the key that embed in this gathering sill in relative rotation.
Because adopt technique scheme, the present invention compared with prior art has following beneficial effect:
1. can abandon spring fully, make the no spring mechanical lock that does not go out as yet since the dawn of human civilization.The mechanical lock of this structure lets illegal theft can't obtain to provoke the feel of lock pin, therefore can stop to adopt the technology unlocking of unlocking tool to this lock fully.
When the lock pin socket of outer lock core be that annular groove is when being provided with; Inside and outside lock core can be under the state of not release rotation relatively like a cork, can prevent further therefore that theft from adopting to bore lock, turn round the picking lock of internal cylinder and by force with the technology unlocking of unlocking tool to this lock.
3. owing to abandoned the spring and the inside and outside billiards structure of existing cylinder lock; The sealed trip(ping) lever or the sealed side column that between interior outer lock core, are provided with as in the existing idle running lock need be set again; Therefore; Lock core diameter of the present invention can make very little size, can directly be loaded in the European lockset, has broken through the technology barrier that existing idle running mechanical lock can not be used for European lockset.
4, in the inner of internal cylinder and unblank that the structure of finger and pin-and-hole is set between the part or be provided with the chimeric each other tooth and the structure of alveolus; Can prevent that theft from adopting violence to impact the effect that internal cylinder realizes that with unblanking part to be connected rotation is unblanked, prevent the pirate of the open performance more by force, firmer.
5. because lock pin is provided with the lock section of stretching in the keyhole of dialling in the lock pin groove, lock pin can not rotate with respect to the lock pin groove, the stretching out the termination and can process the end face that matches with internal cylinder and outer lock core mating face of lock pin; And be not the button-head structure of the pellet shot from a slingshot head of cylinder lock; Lock pin is improved the sealed precision between internal cylinder and the outer lock core greatly, as long as the length that lock pin stretches out internal cylinder just can realize sealed to internal cylinder and outer lock core greater than the joint clearance of internal cylinder and outer lock core, this structure one side has improved the sealed precision of lock core greatly; Prevent technology unlocking; Can let the key actuated lock pin obtain more key rank on the other hand, such as, key actuated lock pin with 0.2 millimeter be one differential; So each lock pin of key actuated in 1.5 millimeters, move just can obtain 7 differential; In internal cylinder, stretch out and realize sealed internal cylinder and outer lock core if lock pin is set to two ends, just so each lock pin can obtain 14 differential, so size of key is huge; Lock core of the present invention can be provided with a plurality of lock pins of many every rows of row in a plurality of sides of keyhole, therefore can obtain very huge size of key.
Description of drawings
Fig. 1 is the structural representation that embodiments of the invention 1 internal cylinder and outer lock core are in locked state.
Fig. 2 is the sectional view at A-A place among Fig. 1.
Fig. 3 is the structural representation that embodiments of the invention 1 internal cylinder and outer lock core are in released state.
Fig. 4 is the sectional view at H-H place among Fig. 3.
Fig. 5 is the sectional view at B-B place among Fig. 4.
Fig. 6 is the structural representation that embodiments of the invention 2 internal cylinder and outer lock core are in locked state.
Fig. 7 is the sectional view at C-C place among Fig. 6.
Fig. 8 is the structural representation that embodiments of the invention 3 internal cylinder and outer lock core are in locked state.
Fig. 9 is the structural representation of key in the embodiments of the invention 3.
Figure 10 is the sectional view at D-D place among Fig. 8.
Figure 11 is the sectional view at E-E place among Fig. 8.
Figure 12 is the sectional view that the internal cylinder at E-E place among Fig. 8 turns to the another one configuration state.
Figure 13 is the sectional view at F-F place among Fig. 8.
Figure 14 is the front view that embodiments of the invention 4 internal cylinder and outer lock core are in released state.
Figure 15 is the left view that embodiments of the invention 4 internal cylinder and outer lock core are in released state.
Figure 16 is the sectional view at G-G place among Figure 14.
Figure 17 is that embodiments of the invention 4 internal cylinder and outer lock core are in the locked state sectional view.
Figure 18 is the sectional view at I-I place among Figure 14.
The specific embodiment
Below in conjunction with the accompanying drawing instance, the present invention is made further detailed description:
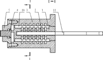
The mechanical lock of embodiment 1 such as Fig. 1 are to shown in Figure 5:
The lock core of Fig. 1, instance shown in Figure 2 has an outer lock core 3; The lateral surface of outer lock core 3 is the face of cylinder; There is the shaft shoulder structure of one section convexity its outer end; Its inner is fixedly connected with a lock core inner cap 5 through screw 9, and the slideway of the center of lock core inner cap 5 through a manhole structure is equipped with the part 4 of unblanking that drives the column that lockset unblanks, and the part 4 of unblanking is the part of unblanking that slides; The part 4 of unblanking can endwisely slip in the slideway of inner cap 5, and through its in Fig. 1 to the left a side slide and drive lockset (lockset of this mechanical lock of assignment dress) and unblank.The inside of outer lock core 3 is provided with a slideway that is provided with raised ribs by circular hole with at the circular hole wall; An internal cylinder 1 is housed in this slideway; The outside of internal cylinder 1 also is provided with and is enclosed within the outer groove that plays the keyway effect of outer lock core 3 slideway muscle; Make internal cylinder 1 can only be in the circular slideway of outer lock core 3 axial motion, and can not rotate with respect to outer lock core 3.
Be provided with the keyhole that cross section is a rectangle in the internal cylinder 1; The lateral surface of internal cylinder 1 has the face of cylinder that engages with the outer lock core slideway, and internal cylinder 1 respectively is provided with 7 lock pin slideways that a row laterally arranges in two relative sides of keyhole, and these lock pin slideway shapes are all identical with structure; It all is groove in the lateral surface moulding of internal cylinder 1; Lock pin 2 shown in Fig. 1, Fig. 2 all is housed in every lock pin slideway, and lock pin 2 is processed, in the form of sheets by stainless steel, and lock pin slideway notch one side that is positioned at of lock pin 2 is provided with a breach; The notch place of each row's lock pin slideway is embedded with a lock pin strip of paper used for sealing 10; Lock pin strip of paper used for sealing 10 just in time snaps in the breach of 7 lock pins 2, and this is limited in the lock pin slideway to make each lock pin 2, and the groove bottom of each bar lock pin slideway all has a slotted hole; The finger portion of lock pin 2 in these slotted holes through in the keyhole that stretches into internal cylinder 1, as depicted in figs. 1 and 2.
Also be provided with 7 roads in the chute wall of outer lock core 3 and be the lock pin socket that groove structure supplies each lock pin 2 to insert, when internal cylinder 1 moved to latched position in the slideway of outer lock core 3, these lock pin sockets docked with the external port of many lock pin slideways of internal cylinder 1 respectively.In the present embodiment, two external port of the lock pin slideway in the internal cylinder 1 are meant that the lock pin slideway of flute profile supplies lock pin 2 to stretch out two notches of lock core 1.
When internal cylinder 1 moves to latched position in the slideway of outer lock core 3; Each lock pin 2 just can in the lock pin slideway, slide and come in and go out lock pin socket of outer lock core 3; At this moment inserting the key 11 of internal cylinder 1 keyhole could transfer to or insertion in keyhole; When the institute bitting was inserted internal cylinder 1 keyhole and put in place, all lock pins 2 all were driven into the unlocked position of setting by the lock pin driver slot on the key 11, and promptly these lock pins 2 are when its end moves to when concordant with its external port of lock pin slideway; Its other end is just in time concordant with another external port of this lock pin slideway; This state is the released state of internal cylinder 1 of the present invention with outer lock core 3, and to shown in Figure 5, alleged released state all refers to this location status of lock pin 2 and internal cylinder 1 among following each embodiment of the present invention like Fig. 3.Internal cylinder 1 and outer lock core 3 are under released state, and internal cylinder 1 can be gone here and there moving under external force in the circular slideway of outer lock core 3.When the operator promotes internal cylinder 1 when move the inside of outer lock core 3 through key, the part 4 that can promote to unblank drives locksets and unblanks.When internal cylinder 1 departs from latched position inwardly promoting to unblank part 4, the position that needs drive part lock pin 2 to depart from released state when transfering to keyholes owing to key 11, therefore, lock pin 2 can stop key 11 in keyhole, to be transferred to.Have only the action of transfering to key to drive internal cylinder 1 and return to locked state; Be that the external port of whole lock pin slideways is when docking with the lock pin socket of outer lock core 3 respectively; Each lock pin 2 could be gone here and there moving by key actuated in the lock pin slideway of internal cylinder 1, thereby can key 11 be withdrawed from the keyhole of internal cylinder 1.
When key 11 withdraws from the keyhole of internal cylinder 1; Meeting driving lock pin 2 is gone here and there moving in the lock pin slideway and is departed from the position that released state sets; As long as have a lock pin 2 in the lock pin slideway not when the position of the released state of setting; End in lock pin 2 two ends all can insert in the lock pin socket of outer lock core 3, thereby it is moving to stop internal cylinder 1 in the circular slideway of outer lock core 3, to be gone here and there, and this state is the locked state of internal cylinder 1 and outer lock core 3; State as depicted in figs. 1 and 2, the alleged locked state of the present invention are meant that all being in this internal cylinder 1 between internal cylinder 1 and the outer lock core 3 can not go here and there moving state relatively in the slideway of outer lock core 3.Under this locked state, internal cylinder 1 left of part 4 in Fig. 1 that can not inwardly promote to unblank moves and drives lockset and unblank.
Under locked state; 14 lock pins 2 are the state of being free to slide in lock pin slideway separately; Illegal key is when perhaps attempting to unblank with the keyhole of unlocking tool insertion internal cylinder 1, owing to have no spring element in the lock core; Theft can not rely on the stress of lock pin 2 to judge whether the two ends of lock pin 2 are concordant with the two-port of lock pin slideway; 14 lock pins are all just in time retracted in the lock pin slideway of internal cylinder 1, therefore, can not make internal cylinder 1 and outer lock core 3 be in released state.
Since lock pin 2 be used to insert outer lock core 3 two termination shapes of lock pin opening can process the cylindrical shape that engages with internal cylinder 1 and outer lock core 3; And need as existing cylinder lock, not make rounding or chamfering in termination portion; Therefore, as long as stretching out internal cylinder 1, lock pin 2 just can make internal cylinder 1 and the reliable locked state of outer lock core 3 realizations for outer 0.05 millimeter.If each lock pin 2 can be provided with to two termination directions length of stretching out be 1.5 millimeters; With per 0.2 millimeter is differential; Just can obtain 14 differential, 14 lock pins, each lock pin have 14 differential these mechanical locks that just can make and have very huge size of key.
The mechanical lock of embodiment 2 such as Fig. 6 are to shown in Figure 7:
One of Fig. 6, mechanical lock shown in Figure 7 and difference of embodiment 1 are that the slideways in the outer lock core 3 are circular hole; Its slideway does not have the muscle portion of embodiment 1; The internal cylinder 1 that is contained in outer lock core 3 slideways does not have like the slide groove among the embodiment 1 yet; It is moving to be that internal cylinder 1 not only can be gone here and there in the slideway of outer lock core 3 under unlocking condition, also can under locked state, in the slideway of outer lock core 3, freely rotate.Two of the difference of present embodiment 2 and embodiment 1 is to unblank part 4 for rotating the part of unblanking, and is to drive lockset through its rotation to unblank.The part 4 of unblanking is provided with one near an end of internal cylinder 1 and departs from the finger socket that its revolution axial line is provided with; Internal cylinder 1 is provided with the finger of unblanking near an end of the part 4 of unblanking; It is that the finger of unblanking through internal cylinder 1 inserts in the finger socket of the part 4 of unblanking that present embodiment is unblanked, and is driven lockset and is unblanked by the unblank rotation of part 4 of the driving of internal cylinder 1.
The shape and structure of the lock pin 2 in the present embodiment 2, screw 9 and inner cap 5 is identical with embodiment 1.The central through hole of inner cap 5 is as the axis hole of the part 4 of unblanking, and the gage 8 of unblanking is equipped with through pin 6 in the inner of the part 4 of unblanking, through the jump ring 7 that is contained in gage 8 draw-in grooves of unblanking the part 4 of unblanking is fixed in the through hole of inner cap 5 with the gage 8 of unblanking.
The quantity of the lock pin slideway of internal cylinder 1 and lock pin 2 in the present embodiment 2, arrangement and position are provided with identical with embodiment 1, and each notch of arranging the lock pin slideway is embedded with a lock pin strip of paper used for sealing 10 too.
The unlocked position that the mechanical lock of present embodiment its each lock pin 2 is set, used key, and the locked state of lock core 1 and outer lock core 3 is all identical to embodiment 1 shown in Figure 5 with Fig. 1 with released state.Under released state; When internal cylinder 1 turns to its finger of unblanking when aiming at the finger socket of the part 4 of unblanking; Internal cylinder 1 can be under the effect of external force in the slideway of outer lock core 3 with respect to outer lock core 3 inwardly the moving finger of unblanking of internal cylinder 1 that lets of string insert in the finger socket of the part 4 of unblanking, thereby then through the rotation of internal cylinder 1 stir the part 4 of unblanking, the gage 8 of unblanking rotates and drives locksets and unblank; Present embodiment is under locked state; Internal cylinder 1 can not be moving with respect to outer lock core 3 strings in the slideway of outer lock core 3; When illegal key or other instrument insert keyhole and attempt to unblank; Although internal cylinder 1 can turn to the finger socket that the part 4 of unblanking is aimed at by its opening finger portion with respect to outer lock core 3, the finger socket that internal cylinder 1 can not be inserted the part 4 of unblanking drives the part 4 of unblanking and rotates and unblank.
Because the two all can relatively rotate when the mechanical lock of present embodiment was in locked state at internal cylinder 1 and outer lock core 3, therefore, can prevent that theft from passing through to bore, this lock core of sled instrument pirate of the open.
The mechanical lock of embodiment 3 is the mechanical lock of European lock, like Fig. 8~shown in Figure 13:
Shown in Figure 8 is the agent structure sketch map of present embodiment; This mechanical lock has one except the part that does not have pellet shot from a slingshot hole and pellet shot from a slingshot hole envelope thing; Other part and the existing identical lock core body 12 of European lock cylinder part; The part 4 of unblanking is equipped with through jump ring 13 in middle part at lock core body 12, and it is shown in figure 13 outside the part 4 of unblanking, to be set with the finger 14 of unblanking.The part 4 of unblanking, jump ring 13, lock core body 12 and unblank their outer shape of finger 14 and the syndeton between them and existing European lock cylinder identical.In the circular hole of lock core body 12, the part that a cover is made up of internal cylinder 1, lock pin 2, outer lock core 3 and lock pin strip of paper used for sealing 10 (shown in Figure 10) is housed symmetrically, the right-hand member of lock core body 12 shrouding 15 that has been welded among Fig. 8 respectively outside the two ends of part 4 of unblanking.
Fig. 8 combines shown in Figure 10; It is the rectangle keyhole that internal cylinder 1 in the present embodiment is established cross section in being; Lateral surface is the part on the face of cylinder, and the outer end of internal cylinder 1 is a keyhole inlet, and the inner of internal cylinder 1 is provided with and the corresponding tooth alveolar part of tooth alveolar part of the opposite end of the part 4 of unblanking.The quantity of the lock pin slideway of internal cylinder 1 and position are provided with, and lock pin 2 is identical with the appropriate section of embodiment 1 with the mounting means and the position setting of internal cylinder 1.Internal cylinder 1 respectively is provided with 7 lock pin slideways that a row laterally arranges in the both sides of its keyhole; These lock pin slideway shape and structures are all identical; All be the groove in the lateral surface moulding of internal cylinder 1, a lock pin 2 as shown in Figure 10 all is housed in every lock pin slideway, lock pin 2 is processed, in the form of sheets by stainless steel; Lock pin 2 is positioned at lock pin slideway notch one side and is provided with a breach; The notch place of each row's lock pin slideway is embedded with a lock pin strip of paper used for sealing 10, and lock pin strip of paper used for sealing 10 just in time snaps in the breach of 7 lock pins 2, and each lock pin 2 is limited in the lock pin slideway; The groove bottom of each bar lock pin slideway all has a slotted hole, the finger portion of lock pin 2 in these slotted holes through in the keyhole that stretches into internal cylinder 1.
Internal cylinder 1 is contained in the slideway of outer lock core 3 of a tubular, and the slideway of outer lock core 3 is provided with convex tendon, and the outside of internal cylinder 1 is provided with and is sleeved on the outer muscle groove of outer lock core 3 slideway convex tendons, make internal cylinder 1 can not be in the slideway of outer lock core 3 relatively outer lock core 3 rotate.Outer lock core 3 is contained in the circular hole of lock core body 12 relatively, and lock core body 12 rotates.
Fig. 9 is the key 11 of present embodiment 3 mechanical locks.Outer lock core 3 is provided with the lock pin socket of the flute profile of the external port butt joint that supplies internal cylinder 1 each lock pin slideway, and internal cylinder 1 is identical with the corresponding state of locked state, released state and the embodiment 1 of outer lock core 3.When key 11 breaks away from internal cylinder 1; Internal cylinder 1 is in locked state with outer lock core 3; Like Fig. 8 and shown in Figure 10; This moment, internal cylinder 1 can dally in the circular hole of lock core body 12 with outer lock core 3, and outer lock core 3 is limited in the circular hole of lock core body 12 can not axial motion, and internal cylinder 1 can not be with respect to outer lock core 3 axial motions under this locked state; In this state; The tooth alveolar part of the inner of internal cylinder 1 can not be chimeric each other with the tooth alveolar part of the part 4 of unblanking, and this idle running of internal cylinder 1 can not drive the part 4 of unblanking and unblank with finger 14 rotations of unblanking, and internal cylinder 1 also can prevent theft this mechanical lock of mode pirate of the open with brill and sled with the idle running of outer lock core 3 under locked state; Identical with the release principle of embodiment 1, when the keyhole of key 11 insertion internal cylinder 1 put in place, each lock pin 2 was just driven by the driver slot of key 11 and gets back to the position that release is set; Get into released state in the internal cylinder of promptly withdrawing 1; Under released state, internal cylinder 1 is rotated simultaneously and is inwardly promoted, when internal cylinder 1 inner tooth alveolar part forwards its tooth over against the alveolus of the part 4 tooth alveolar parts of unblanking to; Shown in figure 11; Internal cylinder 1 inner tooth alveolar part just can be chimeric each other with the tooth alveolar part of the part 4 of unblanking, and is rotated further internal cylinder 1 through key, can drive the part 4 of unblanking and unblank with finger 14 rotations of unblanking.
This mechanical lock not only has huge size of key as previously mentioned; Can prevent that theft is with master key and unlocking tool technology unlocking; And because the inner of internal cylinder 1 is used for mutual chimeric tooth alveolar part with unblanking to be provided with between the part 4; Even if theft applies violence in locked state to internal cylinder 1, also can be and can not make their tooth alveolar part chimeric each other owing to the position that is difficult to find the internal cylinder 1 and the tooth alveolar part of the part 4 of unblanking just in time to be aimed at, shown in figure 12.Therefore, no matter this mechanical lock is that violence rotation or violence promotion internal cylinder 1 all can't be implemented the pirate of the open to this mechanical lock under locked state.
The mechanical lock of embodiment 4 is the mechanical lock of American lock, and is extremely shown in Figure 180 like Figure 14:
Shown in Figure 14 is the agent structure sketch map of this mechanical lock; This mechanical lock has one except the part that does not have pellet shot from a slingshot hole and pellet shot from a slingshot hole envelope thing; Other part and the existing identical lock core body 12 of American lock cylinder; In the inside of lock core body 12 circular hole that is used to install outer lock core 3 is arranged, be provided with one section through hole that is slightly less than this Circularhole diameter in the inner of this circular hole, the part 4 of unblanking is housed in this section through hole; Unblank part 4 for rotating the part of unblanking; A finger 8 of unblanking shown in figure 15 is equipped with through screw 9 in the unblank rear end of part 4, and the shrouding 15 that is welded in the port of lock core body 12 circular holes is enclosed in outer lock core 3 in the circular hole of lock core body 12 and can not goes here and there vertically, but can freely rotate with respect to lock core body 12.
It is the triangle keyhole that internal cylinder 1 is established cross section in being, lateral surface is the part on the face of cylinder, and the outer end of internal cylinder 1 is the keyhole inlet, and the inner of internal cylinder 1 is provided with and the corresponding tooth alveolar part of tooth alveolar part of the opposite end of the part 4 of unblanking.The lock pin slideway is provided with three rows to internal cylinder 1 in the side of keyhole; Each row has 7 lock pin slideways, and same row's lock pin slideway shape and structure all is identical, is arranged on the groove of internal cylinder 1 side; All be equipped with one in every lock pin slideway like Figure 16, the lock pin 2 shown in 17; Lock pin 2 is processed, in the form of sheets by stainless steel, and lock pin 2 is positioned at lock pin slideway notch one side and is provided with a breach, and notch place of each row's lock pin slideway is embedded with a lock pin strip of paper used for sealing 10; Lock pin strip of paper used for sealing 10 just in time snaps in the breach of 7 lock pins 2; Each lock pin 2 is limited in the lock pin slideway, and the groove bottom of each bar lock pin slideway all has a slotted hole, the finger portion of lock pin 2 in these slotted holes through in the keyhole that stretches into internal cylinder 1.
Figure 14, Figure 16 and shown in Figure 17; Internal cylinder 1 is contained in the circle hole shape slideway of outer lock core 3 of a tubular; Outer lock core 3 is provided with groove in slideway, the outside of internal cylinder 1 is provided with the convex tendon that embeds outer lock core 3 slideway grooves, and internal cylinder 1 can not be rotated by relative outer lock core 3 in the slideway of outer lock core 3.Outer lock core 3 is contained in the circular hole of lock core body 12, and no matter internal cylinder 1 is locked state or released state with outer lock core 3, and internal cylinder 1 all can lock core body 12 idle running relatively in the circular hole of lock core body 12 with outer lock core 3.
Outer lock core 3 is provided with the lock pin socket of the flute profile of the external port butt joint that supplies internal cylinder 1 each lock pin slideway; When key 11 breaks away from internal cylinder 1; Internal cylinder 1 is in locked state with outer lock core 3, and is shown in figure 17, and this moment, internal cylinder 1 can dally in the circular hole of lock core body 12 with outer lock core 3; Outer lock core 3 is limited in the circular hole of lock core body 12 can not axial motion; Internal cylinder 1 can not be with respect to outer lock core 3 axial motions under this locked state, and in this state, the tooth alveolar part of the inner of internal cylinder 1 can not be chimeric each other with the tooth alveolar part of the part 4 of unblanking; This idle running of internal cylinder 1 can not drive the part 4 of unblanking and unblank with finger 14 rotations of unblanking, and internal cylinder 1 can prevent theft this mechanical lock of mode pirate of the open with brill and sled with the idle running of outer lock core 3 under locked state.
The cross section that the key of present embodiment is used to insert the part of internal cylinder 1 keyhole is a triangle, and in this part, three sides of key respectively are provided with the lock pin driver slot one; When the keyhole of key 11 insertion internal cylinder 1 puts in place; Each lock pin 2 is just driven by the driver slot of key 11 and gets back to the position that release is set, and gets into released state in the internal cylinder of promptly withdrawing 1, like Figure 14 and shown in Figure 16; Under released state; Internal cylinder 1 is rotated simultaneously and is inwardly promoted, and when internal cylinder 1 inner tooth alveolar part forwarded its tooth over against the alveolus of the part 4 tooth alveolar parts of unblanking to, internal cylinder 1 inner tooth alveolar part just can be chimeric each other with the tooth alveolar part of the part 4 of unblanking; Be rotated further internal cylinder 1 through key, can drive the part 4 of unblanking and unblank with finger 14 rotations of unblanking.
This mechanical lock not only has huge size of key as previously mentioned; Can prevent that theft is with master key and unlocking tool technology unlocking; And because the inner of internal cylinder 1 is used for mutual chimeric tooth alveolar part with unblanking to be provided with between the part 4; Even if theft applies violence in locked state to internal cylinder 1, also can be and can not make their the tooth alveolar part can not be chimeric each other owing to the position that is difficult to find the internal cylinder 1 and the tooth alveolar part of the part 4 of unblanking just in time to be aimed at, shown in figure 18.Therefore, no matter this mechanical lock is that violence rotation or violence promotion internal cylinder 1 all can't be implemented the pirate of the open to this mechanical lock under locked state.
Only as understanding the present invention, for realizing embodiment preferably of the present invention, the specific embodiment of the present invention is not limited to the foregoing description to the foregoing description.As in above-mentioned each embodiment, be located at the outer lock pin arrangement of internal cylinder and be merely 2-3 row, in like manner, in other embodiment commonly used, its lock pin arrangement mode can also be that 1 row and 4 rows are set.Generally speaking, arranging greater than 4 rows' lock pin is non-common embodiment, for example is arranged in more rows to lock pin, or even still feasible around the keyhole helical arrangement, and prominent anti-difficulty can be bigger, but can therefore strengthen manufacture difficulty.In addition; Rotate in outer lock core in order to limit internal cylinder; It is non-circular slideway that the slideway that is used to install internal cylinder in the outer lock core also can adopt square hole or other cross sections, also can also adopt protruding pin to cooperate the groove of pin and adopts spline and spline slotted eye or the like various forms.Have again, the concrete effect of lock pin be receive key actuated to stretch out internal cylinder that inside and outside lock core is locked each other is coaxial to the position, therefore, the concrete shape of internal cylinder and structure also can have varied.Therefore; The arrangement mode of lock pin outside keyhole; And the slideway structure or the shape and structure of lock pin that outer lock core cooperates with internal cylinder can be varied, can not be exhaustive, and these technical characterictics variation and resulting mechanical lock of combination of variation separately all belongs to interest field of the present invention.

Claims (9)

1. a mechanical lock comprises the internal cylinder that is provided with keyhole, it is characterized in that: said internal cylinder is contained in the slideway in the outer lock core; Said internal cylinder is provided with a plurality of lock pins that are contained in each self-lock pin slideway on the keyhole side; Each lock pin is equipped with the finger portion that stretches in the said keyhole, and said outer lock core is provided with a plurality of lock pin sockets that when said internal cylinder moves to latched position in said slideway, dock respectively with the external port of many lock pin slideways of this internal cylinder.
2. mechanical lock according to claim 1 is characterized in that: have a said lock pin at least when its end moves to when concordant with its external port of lock pin slideway, its other end is just in time concordant with another external port of this lock pin slideway.
3. mechanical lock according to claim 1 and 2 is characterized in that: described lock pin slideway is arranged in 1~4 row, and each the bar lock pin slideway in same row's lock pin slideway is parallel to each other.
4. according to claim 1,2 or 3 described mechanical locks, it is characterized in that: the part of unblanking that slides is equipped with through slideway in the inner of said internal cylinder.
5. according to claim 1,2 or 3 described mechanical locks, it is characterized in that: said outer lock core is contained in the circular hole of lock core body.
6. according to claim 1,2 or 3 described mechanical locks, it is characterized in that: distolateral being equipped with rotated the part of unblanking in the said internal cylinder, and said internal cylinder and said rotation the two the central side of part that unblanks is provided with the finger of unblanking, and the opposing party is provided with the finger socket.
7. mechanical lock according to claim 5 is characterized in that: distolateral being equipped with rotated the part of unblanking in the said internal cylinder, and said internal cylinder and said rotation the two the central side of part that unblanks is provided with the finger of unblanking, and the opposing party is provided with the finger socket.
8. according to claim 1,2 or 3 described mechanical locks, it is characterized in that: the inner of said internal cylinder is equipped with and is rotated the part of unblanking, the inner of said internal cylinder and said rotation unblank part the two be equipped with mutual chimeric tooth and alveolus.
9. mechanical lock according to claim 5 is characterized in that: the inner of said internal cylinder is equipped with and is rotated the part of unblanking, the inner of said internal cylinder and said rotation unblank part the two be equipped with mutual chimeric tooth and alveolus.
CN201110275663.0A 2011-09-16 2011-09-16 Mechanical lock cylinder Expired - Fee Related CN102337849B (en)

Priority Applications (2)

Application Number Priority Date Filing Date Title
CN201110275663.0A CN102337849B (en) 2011-09-16 2011-09-16 Mechanical lock cylinder
PCT/CN2012/081447 WO2013037316A1 (en) 2011-09-16 2012-09-15 Mechanical lock core

Applications Claiming Priority (1)

Application Number Priority Date Filing Date Title
CN201110275663.0A CN102337849B (en) 2011-09-16 2011-09-16 Mechanical lock cylinder

Publications (2)

Publication Number Publication Date
CN102337849A true CN102337849A (en) 2012-02-01
CN102337849B CN102337849B (en) 2014-07-02

Family

ID=45513774

Family Applications (1)

Application Number Title Priority Date Filing Date
CN201110275663.0A Expired - Fee Related CN102337849B (en) 2011-09-16 2011-09-16 Mechanical lock cylinder

Country Status (2)

Country Link
CN (1) CN102337849B (en)
WO (1) WO2013037316A1 (en)

Cited By (2)

* Cited by examiner, † Cited by third party
Publication number Priority date Publication date Assignee Title
WO2013037316A1 (en) * 2011-09-16 2013-03-21 Fan Yucheng Mechanical lock core
CN103015804A (en) * 2013-01-21 2013-04-03 刘细裕 Antitheft gourd-shaped lock

Families Citing this family (1)

* Cited by examiner, † Cited by third party
Publication number Priority date Publication date Assignee Title
CN109930907B (en) * 2019-04-02 2024-01-23 珠海优特电力科技股份有限公司 Lock cylinder system, key system and lockset system

Citations (9)

* Cited by examiner, † Cited by third party
Publication number Priority date Publication date Assignee Title
US5956986A (en) * 1995-12-11 1999-09-28 R. Berchtold A.G. Locking device with a cylinder lock and a flat key
CN2428543Y (en) * 2000-06-20 2001-05-02 姜方冰 Pin-type lock and key
CN2620025Y (en) * 2003-03-05 2004-06-09 李善桐 Blade lock
CN201059099Y (en) * 2007-04-13 2008-05-14 黄伟敏 Idle run anti-theft lock
CN101187271A (en) * 2007-12-13 2008-05-28 程友良 Pull-draw rotation type composite lock core
CN101196086A (en) * 2007-11-08 2008-06-11 黄其安 Theftproof lock core
CN201165786Y (en) * 2008-02-04 2008-12-17 黄伟敏 Lock head with lock core capable of idling
RU2373359C1 (en) * 2008-04-22 2009-11-20 Михаил Юрьевич Рылеев Lock cylinder mechanism
CN202249235U (en) * 2011-09-16 2012-05-30 樊俞成 Mechanical lock core

Family Cites Families (10)

* Cited by examiner, † Cited by third party
Publication number Priority date Publication date Assignee Title
JPH0739774B2 (en) * 1992-04-09 1995-05-01 朝日電装株式会社 Sidebar cylinder lock
CN2127409Y (en) * 1992-07-31 1993-02-24 黄明浩 Clutch type three-proofing lock core
FR2754297B1 (en) * 1996-10-09 1998-11-27 Valeo Securite Habitacle MOTOR VEHICLE LOCK HAVING IMPROVED GLITTER RETENTION MEANS
CN2723621Y (en) * 2004-09-07 2005-09-07 吴颂达 Spring less cluster slide sheet lock
CN200978568Y (en) * 2006-09-29 2007-11-21 胡昕 Anti-theft locking device
JP4145334B2 (en) * 2006-10-19 2008-09-03 株式会社五味製作所 Variable code cylinder lock
CN201193424Y (en) * 2008-04-25 2009-02-11 岑华标 Blade snakelike lock
CN101555738A (en) * 2009-04-21 2009-10-14 钟坚波 Idle running lock
CN201661131U (en) * 2010-03-31 2010-12-01 胡就辉 Door lock
CN102337849B (en) * 2011-09-16 2014-07-02 樊俞成 Mechanical lock cylinder

Patent Citations (9)

* Cited by examiner, † Cited by third party
Publication number Priority date Publication date Assignee Title
US5956986A (en) * 1995-12-11 1999-09-28 R. Berchtold A.G. Locking device with a cylinder lock and a flat key
CN2428543Y (en) * 2000-06-20 2001-05-02 姜方冰 Pin-type lock and key
CN2620025Y (en) * 2003-03-05 2004-06-09 李善桐 Blade lock
CN201059099Y (en) * 2007-04-13 2008-05-14 黄伟敏 Idle run anti-theft lock
CN101196086A (en) * 2007-11-08 2008-06-11 黄其安 Theftproof lock core
CN101187271A (en) * 2007-12-13 2008-05-28 程友良 Pull-draw rotation type composite lock core
CN201165786Y (en) * 2008-02-04 2008-12-17 黄伟敏 Lock head with lock core capable of idling
RU2373359C1 (en) * 2008-04-22 2009-11-20 Михаил Юрьевич Рылеев Lock cylinder mechanism
CN202249235U (en) * 2011-09-16 2012-05-30 樊俞成 Mechanical lock core

Cited By (2)

* Cited by examiner, † Cited by third party
Publication number Priority date Publication date Assignee Title
WO2013037316A1 (en) * 2011-09-16 2013-03-21 Fan Yucheng Mechanical lock core
CN103015804A (en) * 2013-01-21 2013-04-03 刘细裕 Antitheft gourd-shaped lock

Also Published As

Publication number Publication date
CN102337849B (en) 2014-07-02
WO2013037316A1 (en) 2013-03-21

Similar Documents

Publication Publication Date Title
CN201050225Y (en) Anti-opening and anti-prying lock
CN100999959B (en) Lock core clutch structure with idle rotation of spring lock core
CN201050224Y (en) Idle running cylinder lock
CN101368461B (en) Universal lock head and its suited key
CN102337849B (en) Mechanical lock cylinder
CN101117860B (en) Safety lock head with lock pin capable of idling
CN202249235U (en) Mechanical lock core
CN201059099Y (en) Idle run anti-theft lock
EP2982817A1 (en) Lock core
CN201103276Y (en) Idle run anti-theft spring lock
CN102852394A (en) Axial spring lock core and key
CN201125576Y (en) Lock head for preventing toggling thumb wheel to open
CN101117857A (en) Clutch structure with lock cylinder capable of idling and lock head thereof
CN103216163A (en) Dual-functional horseshoe lock
CN201137345Y (en) Lock possessing idle rotation lock master
CN103243976B (en) Mechanical lock
CN201050223Y (en) Anti-theft lock
CN201850855U (en) Special-shaped ball idling lock head
CN204418826U (en) Mechanical lock
JP2015094195A (en) Cylinder lock
CN201031531Y (en) Lock head
CN101122191B (en) Lock with idle rotation lock core structure
CN201137346Y (en) Lock possessing idle rotation lock master
CN203257187U (en) Mechanical lock
CN202627671U (en) Lock body and key of anti-theft rotary pin tumbler lock

Legal Events

Date Code Title Description
C06 Publication
PB01 Publication
C10 Entry into substantive examination
SE01 Entry into force of request for substantive examination
C14 Grant of patent or utility model
GR01 Patent grant
ASS Succession or assignment of patent right

Owner name: TAIZHOU ZHEN'AN LOCK TECHNOLOGY CO., LTD.

Free format text: FORMER OWNER: FAN YUCHENG

Effective date: 20150810

Free format text: FORMER OWNER: WEI JIANKUI

Effective date: 20150810

C41 Transfer of patent application or patent right or utility model
TR01 Transfer of patent right

Effective date of registration: 20150810

Address after: 317000, Taizhou, Zhejiang City, Liaoning Province, Daejeon Street Daejeon Liu Village

Patentee after: Taizhou is really an Lock Technology Co.,Ltd.

Address before: 545100, No. 42 Liu Xi Street, pull Town, the Liujiang River, the Guangxi Zhuang Autonomous Region, Liuzhou

Patentee before: Fan Yucheng

Patentee before: Wei Jiankui

TR01 Transfer of patent right

Effective date of registration: 20211008

Address after: 317000 Datian Liu Cun, Datian street, Linhai City, Taizhou City, Zhejiang Province (No. 2508, Baiye East Road, Datian Liu Cun, Datian street, Linhai City)

Patentee after: ZHEJIANG TIANTIAN ELECTRONIC Co.,Ltd.

Address before: 317000 Da Tian Jie Dao Da Tian Liu Cun, Linhai City, Taizhou City, Zhejiang Province

Patentee before: Taizhou is really an Lock Technology Co.,Ltd.

TR01 Transfer of patent right
CF01 Termination of patent right due to non-payment of annual fee

Granted publication date: 20140702

CF01 Termination of patent right due to non-payment of annual fee