CN101864924A - Drilling fixed-point plugging method - Google Patents
Drilling fixed-point plugging method Download PDFInfo
- Publication number
- CN101864924A CN101864924A CN 201010212911 CN201010212911A CN101864924A CN 101864924 A CN101864924 A CN 101864924A CN 201010212911 CN201010212911 CN 201010212911 CN 201010212911 A CN201010212911 A CN 201010212911A CN 101864924 A CN101864924 A CN 101864924A
- Authority
- CN
- China
- Prior art keywords
- plugging
- point
- fixed
- drilling
- mud
- Prior art date
- Legal status (The legal status is an assumption and is not a legal conclusion. Google has not performed a legal analysis and makes no representation as to the accuracy of the status listed.)
- Pending
Links
Images
Landscapes
- Earth Drilling (AREA)
Abstract
本发明涉及一种钻井定点堵漏的方法,将钻井定点堵漏的装置的堵漏装置上接头连接钻杆柱,钻杆柱上部连接水龙头,水龙头与泥浆泵之间通过水龙带连接;将钻井定点堵漏的装置下到井壁漏失点后,打开泥浆泵,泥浆泵将液体从钻杆内部注入,在泥浆压力下使堵漏钢球密封内部的滑套并向下运动,在滑套推力作用下,中心滑杆向下运动,打开下密封挡板,当滑套运动到限位挡圈部位时停止,泥浆通过径向通孔、竖向通孔将堵漏材料挤入地层,实现定点堵漏的目的并将堵漏材料挤入地层。本发明的有益效果在于:本发明堵漏针对性强,能够满足常规堵漏,而且可以将膨胀性堵漏材料定时输送到漏失地层部位,提高了膨胀性堵漏材料封堵地层的抗压能力。
The invention relates to a fixed-point plugging method for drilling. The upper joint of the plugging device of the fixed-point plugging device for drilling is connected to a drill string, and the upper part of the drill string is connected to a faucet. The water tap and the mud pump are connected through a hose; After the fixed-point plugging device is lowered to the leakage point on the well wall, the mud pump is turned on, and the mud pump injects liquid from the inside of the drill pipe. Under the mud pressure, the plugging steel ball seals the sliding sleeve inside and moves downward. Under the action, the center sliding rod moves downward, opens the lower sealing baffle, and stops when the sliding sleeve moves to the position of the limit retaining ring, and the mud squeezes the plugging material into the formation through the radial through hole and the vertical through hole to realize fixed point The purpose of plugging and extruding the plugging material into the formation. The beneficial effect of the present invention is that: the plugging of the present invention has strong pertinence, can satisfy conventional plugging, and can regularly transport the expansive plugging material to the part of the lost formation, thereby improving the compressive capacity of the expansive plugging material to seal the formation .
Description
技术领域technical field
本发明涉及一种钻井定点堵漏的方法。The invention relates to a method for fixed-point leakage plugging in well drilling.
背景技术Background technique
井漏是石油工程中普遍存在、经常遇到的复杂问题。由于井漏引起的井下复杂,对钻井、完井施工危害极大,井漏一直是国内外石油工程界关注的问题。钻井作业中,一旦发生漏失,不仅延误钻井时间,损失钻井液,损害油气层等,而且还可能引起井壁失稳导致井塌、卡钻、井喷等一系列复杂情况与事故,甚至导致井眼报废,造成重大经济损失。Lost circulation is a common and often encountered complex problem in petroleum engineering. Due to the complex downhole caused by lost circulation, it is extremely harmful to drilling and completion construction, and lost circulation has always been a concern of petroleum engineering circles at home and abroad. In the drilling operation, once leakage occurs, not only the drilling time will be delayed, the drilling fluid will be lost, and the oil and gas layers will be damaged, but it may also cause a series of complex situations and accidents such as well collapse, stuck pipe, blowout, etc. due to the instability of the well wall, and even lead to the failure of the wellbore. scrapped, resulting in major economic losses.
在钻井过程中,由于地层复杂,地层压力系数变化较大,漏层位置不易确定。产生漏失的层段往往不在钻孔底部,甚至随着钻井作业的不断深入,以前封堵的地层往往会产生重复漏失。如果采用传统的堵漏方法,往往是将堵漏材料挤满漏失点以下的所有井筒空间,这样会造成堵漏材料的极大浪费,而且延长了作业时间,提高了堵漏成本。另外,随着堵漏技术的发展,堵漏材料也发生了很大的变化,有很多吸水膨胀率大的材料,如凝胶聚合物等用于地层堵漏。然而,这些材料遇水膨胀速度很难控制,有时堵漏材料还没有进入预定地层就已经吸水膨胀,等到预定地层时,膨胀后的凝胶体积已经大于裂缝、孔隙及溶洞的体积而无法进入地层空隙,即使挤入地层,堵漏材料已经失去了进一步膨胀的空间,其封堵强度严重下降,基本上失去了堵漏的目的。During the drilling process, due to the complex formation, the formation pressure coefficient changes greatly, and it is difficult to determine the location of the leakage layer. The interval where the leakage occurs is often not at the bottom of the borehole, and even with the continuous deepening of the drilling operation, the previously blocked formations often have repeated leakage. If the traditional plugging method is adopted, the plugging material is often packed into all the wellbore space below the leakage point, which will cause a great waste of plugging material, prolong the operation time and increase the cost of plugging. In addition, with the development of plugging technology, great changes have taken place in plugging materials. There are many materials with high water expansion rate, such as gel polymer, which are used in formation plugging. However, it is difficult to control the swelling speed of these materials when encountering water. Sometimes the lost circulation plugging material has already absorbed water and swelled before entering the predetermined formation. When the predetermined formation is reached, the volume of the expanded gel is already greater than the volume of fractures, pores and caves and cannot enter the formation. Even if the gap is squeezed into the formation, the plugging material has lost the space for further expansion, and its plugging strength has seriously decreased, basically losing the purpose of plugging.
发明内容Contents of the invention
本发明所要解决的问题是针对上述现有技术提出一种钻井定点堵漏方法,其封堵强度高,极大地提高经济效率,操作简单。The problem to be solved by the present invention is to propose a fixed-point plugging method for drilling in view of the above-mentioned prior art, which has high plugging strength, greatly improves economic efficiency, and is easy to operate.
本发明为解决上述提出的问题所采用的解决方案为:钻井定点堵漏的方法,其特征在于包括有以下步骤:The solution adopted by the present invention for solving the above-mentioned problems is: a method for fixed-point plugging of well drilling, which is characterized in that it includes the following steps:
1)根据井壁漏失空间大小L,计算出需要挤入井壁漏失空间的堵漏材料的体积;1) Calculate the volume of the plugging material that needs to be squeezed into the lost space on the well wall according to the size L of the lost space on the well wall;
2)根据堵漏材料的体积计算出堵漏套管容积、套管长度和中心滑竿的长度并连接;2) Calculate and connect the plugging casing volume, casing length and center sliding rod length according to the volume of the plugging material;
3)将堵漏材料装入套管与中心滑竿之间的空间,组装钻井定点堵漏的装置;3) Put the plugging material into the space between the casing and the center sliding rod, and assemble the device for drilling fixed-point plugging;
4)根据井壁漏失点的位置计算出钻井定点堵漏的装置下部到井口的距离,将钻井定点堵漏的装置的堵漏装置上接头连接钻杆柱,钻杆柱上部连接水龙头,水龙头与泥浆泵之间通过水龙带连接;4) Calculate the distance from the lower part of the drilling fixed-point plugging device to the wellhead according to the position of the leakage point on the well wall, connect the upper joint of the plugging device of the drilling fixed-point plugging device to the drill string, and connect the upper part of the drill string to the faucet. Mud pumps are connected by hoses;
5)将钻井定点堵漏的装置下到井壁漏失点后,打开泥浆泵,泥浆泵将液体从钻杆内部注入,在泥浆压力下使堵漏钢球密封内部的滑套并向下运动,在滑套推力作用下,中心滑杆向下运动,打开下密封挡板,当滑套运动到限位挡圈部位时停止,泥浆通过径向通孔、竖向通孔将堵漏材料挤入地层,实现定点堵漏的目的并将堵漏材料挤入地层,然后将钻杆柱及钻井定点堵漏的装置提出井口,完成堵漏作业。5) After the fixed-point plugging device for drilling is lowered to the leakage point on the well wall, the mud pump is turned on, and the mud pump injects liquid from the inside of the drill pipe. Under the mud pressure, the plugging steel ball seals the internal sliding sleeve and moves downward. Under the thrust of the sliding sleeve, the center sliding rod moves downward to open the lower sealing baffle, and stops when the sliding sleeve moves to the position of the limit retaining ring, and the mud squeezes the plugging material in through the radial and vertical through holes. Formation, to achieve the purpose of fixed-point plugging and squeeze the plugging material into the formation, and then lift the drill string and the device for fixed-point plugging out of the wellhead to complete the plugging operation.
本发明是根据石油钻井过程中,井深、地层复杂,地层经常会发生漏失,造成巨大的经济损失。石油钻井地层复杂,漏失点往往并不在井底,有时堵漏完成后随着钻井作业深度的增加,原来已堵地层或者井中位置会重新发生漏失。本发明是将堵漏材料装于特制的堵漏工具,用钻杆将堵漏专用工具输送到漏失地层部位,用高压泥浆泵将液体从钻杆内部注入,在泥浆压力下使堵漏钢球密封内部滑套,从而使滑套向下运动,在滑套推力作用下,滑杆向下运动,打开下部密封挡板。当滑套运动到限位挡圈部位时停止,泥浆通过径向、竖向通孔将堵漏材料挤入地层,实现定点堵漏的目的。The invention is based on the fact that in the oil drilling process, the well depth and the formation are complex, and the formation often leaks, causing huge economic losses. The oil drilling formation is complex, and the loss point is often not at the bottom of the well. Sometimes after the plugging is completed, as the drilling depth increases, the original plugged formation or the position in the well will re-occur. In the present invention, the plugging material is installed in a special plugging tool, the special plugging tool is transported to the lost stratum by a drill pipe, the liquid is injected from the inside of the drill pipe by a high-pressure mud pump, and the plugging steel ball is used under mud pressure. The inner sliding sleeve is sealed, so that the sliding sleeve moves downward, and under the thrust of the sliding sleeve, the sliding rod moves downward to open the lower sealing baffle. When the sliding sleeve moves to the position of the limit retaining ring, it stops, and the mud squeezes the plugging material into the formation through the radial and vertical through holes to achieve the purpose of fixed-point plugging.
本发明的有益效果在于:The beneficial effects of the present invention are:
本发明堵漏针对性强,不仅能够满足常规堵漏,而且可以将膨胀性堵漏材料定时输送到漏失地层部位,减缓了膨胀堵漏材料在输送过程中的膨胀,提高了膨胀性堵漏材料封堵地层的抗压能力。另外,该堵漏方法可以对井段中间的漏失实施定点堵漏,改变了以往堵漏材料需要灌满整个井筒的方法,不仅节约成本、堵漏效果好、经济高效,而且操作简单,使用便捷。The plugging of the present invention has strong pertinence, not only can satisfy the conventional plugging, but also can regularly transport the expansive plugging material to the lost stratum, which slows down the expansion of the expansive plugging material in the transportation process and improves the efficiency of the expansive plugging material. Compressive capacity of the sealed formation. In addition, this plugging method can implement fixed-point plugging for the leakage in the middle of the well section, which changes the previous method of filling the entire wellbore with plugging materials. It not only saves costs, has a good plugging effect, is economical and efficient, but also is easy to operate and easy to use .
附图说明Description of drawings
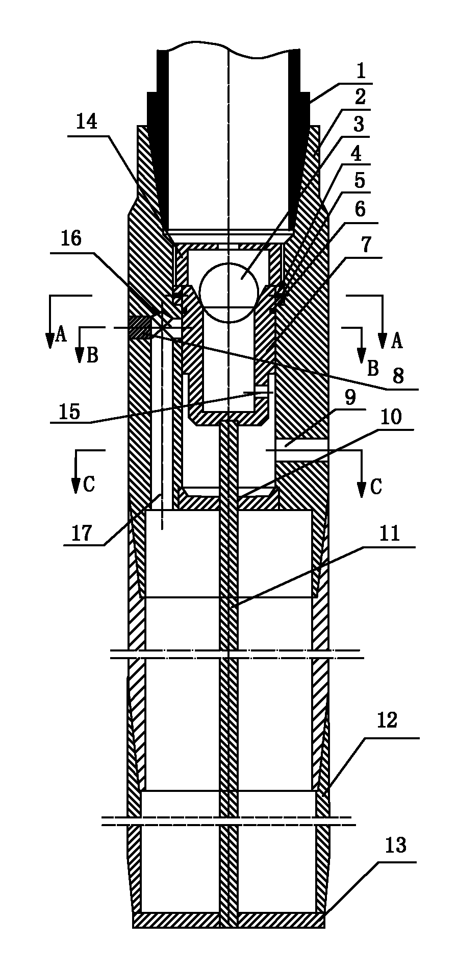
图1是本发明的钻井定点堵漏的装置结构示意图;Fig. 1 is the device structural representation of fixed-point plugging of drilling of the present invention;
图2是图1的A-A向结构示意图;Fig. 2 is a schematic diagram of the structure of A-A in Fig. 1;
图3是图1的B-B向结构示意图;Fig. 3 is the B-B direction structural schematic diagram of Fig. 1;
图4是图1的C-C向结构示意图。Fig. 4 is a schematic diagram of the structure along the direction C-C of Fig. 1 .
图中,1-钻杆柱;2-堵漏装置上接头;3-堵漏钢球;4-支撑环;5-密封圈;6-销钉;7-中心滑套;8-丝堵;9-外管通孔;10-限位挡圈、11-中心滑竿;12-套管;13-下密封挡板;14-卡圈;15-滑套通孔;16-径向通孔;17-竖向通孔。In the figure, 1-drill string; 2-upper joint of plugging device; 3-plugging steel ball; 4-support ring; 5-sealing ring; 6-pin; 7-central sliding sleeve; 8-screw plug; 9 -outer tube through hole; 10-limit retaining ring, 11-center sliding rod; 12-sleeve; 13-lower sealing baffle; 14-collar; 15-sliding sleeve through hole; 16-radial through hole; 17 - Vertical through holes.
具体实施方式Detailed ways
下面结合附图通过实施例进一步详细介绍本发明,但是实施例不会构成对本发明的限制。The present invention will be further described in detail through the embodiments below in conjunction with the accompanying drawings, but the embodiments will not constitute a limitation to the present invention.
钻井定点堵漏的装置组装后是一个技术短接,其中堵漏装置上接头2为短接的主要本体,在该本体下部径向加工有外管通孔9(3个外管通孔在水平面呈120°分布)、竖向通孔17和径向通孔16(3个径向通孔16在水平面呈120°分布),径向通孔16和竖向通孔17连通,为了便于加工和保证径向通孔16和竖向通孔17连通,径向通孔16外部通过丝堵8密封;After the assembly of the fixed-point plugging device for drilling, it is a technical short connection, wherein the
限位挡圈10安装在堵漏装置上接头2内部下端,限位挡圈10和堵漏装置上接头2之间以螺纹方式连接,限位挡圈的内孔和中心滑竿11之间以滑动方式连接;The
堵漏装置上接头2内部上端设置有中心滑套7,其上部安装有堵漏钢球3,卡圈14安装在支撑环4的上部,通过螺纹与堵漏装置上接头2以螺纹连接。The inner upper end of the
在堵漏装置上接头2上的内径上部加工有一个内台肩,在内台肩上安装支撑环4和密封圈5;在该堵漏装置上接头的A-A剖面的位置径向方向加工有三个小孔,用来安装销钉6,用来固定中心滑套;An inner shoulder is processed on the upper part of the inner diameter of the
中心滑套下部加工有滑套通孔15,且中心滑套下部连接中心滑竿11,中心滑竿的下部螺纹连接挡板13,挡板和堵漏装置上接头2下端连接的套管12以插接方式连接。The lower part of the central sliding sleeve is processed with a sliding sleeve through
下面详细介绍本发明的定点堵漏作业工作原理The working principle of the fixed-point plugging operation of the present invention will be introduced in detail below
根据漏失地层条件,预估井壁漏失空间(空隙、裂隙及溶洞)大小,根据井壁漏失空间大小L,计算出需要挤入井壁漏失空间的堵漏材料的体积,根据堵漏材料的体积计算出堵漏套管容积、套管长度和中心滑竿的长度并连接,将堵漏材料装入套管与中心滑竿之间的空间,假设套管12的内径为d,中心滑竿11的外径为D,井壁漏失空间大小为L,则需要连接套管柱的最小长度为组装钻井定点堵漏的装置。According to the lost formation conditions, estimate the size of the lost space (voids, fissures, and caves) on the well wall, and calculate the volume of the plugging material that needs to be squeezed into the lost space on the well wall according to the size L of the lost space on the well wall, and calculate according to the volume of the plugged material The volume of the plugging casing, the length of the casing and the length of the central sliding rod are connected together, and the plugging material is loaded into the space between the casing and the central sliding rod. Assuming that the inner diameter of the
根据井壁漏失点的位置计算出钻井定点堵漏的装置下部到井口的距离,将钻井定点堵漏的装置的堵漏装置上接头2连接钻杆柱1,钻杆柱上部连接水龙头,水龙头与泥浆泵之间通过水龙带连接。Calculate the distance from the lower part of the drilling fixed-point plugging device to the wellhead according to the position of the leakage point on the well wall, connect the
将钻井定点堵漏的装置的下部挡板位置下到井壁漏失点位置后(一般是井壁漏失点最下部),打开泥浆泵,泥浆泵将液体从钻杆内部注入,在泥浆压力下使堵漏钢球密封内部的滑套并向下运动,在滑套推力作用下,中心滑杆向下运动,打开下密封挡板,当滑套运动到限位挡圈部位时停止,泥浆通过径向通孔、竖向通孔将堵漏材料挤入地层,实现定点堵漏的目的并将堵漏材料挤入地层,然后将钻杆柱及钻井定点堵漏的装置提出井口,完成堵漏作业。Lower the position of the lower baffle of the fixed-point plugging device for drilling to the position of the leakage point on the well wall (generally the lowest part of the leakage point on the well wall), turn on the mud pump, and the mud pump will inject liquid from the inside of the drill pipe, and use it under the mud pressure. The plugging steel ball seals the sliding sleeve inside and moves downward. Under the thrust of the sliding sleeve, the center sliding rod moves downward to open the lower sealing baffle. When the sliding sleeve moves to the position of the limit retaining ring, it stops and the mud passes through the diameter Squeeze the plugging material into the formation through the through hole and vertical through hole to achieve the purpose of fixed-point plugging and squeeze the plugging material into the formation, then lift the drill string and the fixed-point plugging device out of the wellhead to complete the plugging operation .
本发明的钻井定点堵漏的装置下井过程中,因为有时钻井液并未完全漏失,为了减小井内未漏失泥浆对装置的浮力,避免泥浆脉动造成井壁不稳定,井内泥浆可以经过外管通孔9和滑套通孔15,挤开堵漏钢球进入钻杆内部。当整个装置下到预定位置时,打开高压泥浆泵,在泥浆压力下推动堵漏钢球3及中心滑套7将销钉6切断,中心滑套7和中心滑竿11向下滑动,将最底端的下卡入式挡板13与套管12打开,泥浆通过径向通孔16和竖向通孔17进入套管,将堵漏材料挤入井壁封堵地层漏失空间。下卡入式挡板起到下部限位作用,防止堵漏材料进入井筒下部。During the downhole process of the fixed-point plugging device for drilling of the present invention, because sometimes the drilling fluid is not completely lost, in order to reduce the buoyancy of the unleaked mud in the well on the device and avoid the instability of the well wall caused by mud pulsation, the mud in the well can be passed through the outer pipe.
该方法可以对井筒内任意位置的漏失点起到定点堵漏的作用,克服了以前需要堵漏材料注满堵漏点一下整个井筒的确定,节约了成本及堵漏时间,起到快速高效堵漏的目的。This method can play the role of fixed-point plugging for the leakage point at any position in the wellbore, and overcomes the previous need to fill the plugging point with the plugging material to determine the entire wellbore, saves cost and plugging time, and achieves fast and efficient plugging leak purpose.
Claims (1)
Priority Applications (1)
| Application Number | Priority Date | Filing Date | Title |
|---|---|---|---|
| CN 201010212911 CN101864924A (en) | 2010-06-30 | 2010-06-30 | Drilling fixed-point plugging method |
Applications Claiming Priority (1)
| Application Number | Priority Date | Filing Date | Title |
|---|---|---|---|
| CN 201010212911 CN101864924A (en) | 2010-06-30 | 2010-06-30 | Drilling fixed-point plugging method |
Publications (1)
| Publication Number | Publication Date |
|---|---|
| CN101864924A true CN101864924A (en) | 2010-10-20 |
Family
ID=42956831
Family Applications (1)
| Application Number | Title | Priority Date | Filing Date |
|---|---|---|---|
| CN 201010212911 Pending CN101864924A (en) | 2010-06-30 | 2010-06-30 | Drilling fixed-point plugging method |
Country Status (1)
| Country | Link |
|---|---|
| CN (1) | CN101864924A (en) |
Cited By (8)
| Publication number | Priority date | Publication date | Assignee | Title |
|---|---|---|---|---|
| CN106351603A (en) * | 2016-08-24 | 2017-01-25 | 中国石油集团渤海钻探工程有限公司 | Crack or cave serious leakage plugging method and plugging material feeding pipe string |
| CN108505968A (en) * | 2018-05-10 | 2018-09-07 | 中国地质大学(武汉) | A kind of site-directed quantitative slurry casting machine and system |
| CN109944582A (en) * | 2018-12-29 | 2019-06-28 | 贵州省地质矿产勘查开发局一一五地质大队 | Method for analyzing position of stratum containing fractures in shaft |
| CN109989726A (en) * | 2018-11-22 | 2019-07-09 | 上海中煤物探测量有限公司 | Cellular-type underground, which pinpoints syringe and its applies, is repairing the method in water supply well |
| CN112004986A (en) * | 2018-02-14 | 2020-11-27 | 沙特阿拉伯石油公司 | Repairing lost circulation zones in wellbores |
| CN112983341A (en) * | 2019-12-13 | 2021-06-18 | 中国石油天然气股份有限公司 | Leakage stopping device and leakage stopping method |
| CN113818800A (en) * | 2021-10-20 | 2021-12-21 | 中国地质大学(北京) | An emergency rescue drilling water plugging device while drilling |
| CN117468888A (en) * | 2023-12-27 | 2024-01-30 | 中国石油集团川庆钻探工程有限公司 | Underground airtight plugging tool and plugging method |
Citations (3)
| Publication number | Priority date | Publication date | Assignee | Title |
|---|---|---|---|---|
| CN2732989Y (en) * | 2004-09-16 | 2005-10-12 | 中国石油化工股份有限公司江苏油田分公司石油工程技术研究院 | Down-hole by-pass valve type lost circulation material running tool used in oil field |
| CN2811554Y (en) * | 2005-02-07 | 2006-08-30 | 杜晓瑞 | Negative pressure well drilling snubbing tripping device |
| US20080272931A1 (en) * | 2007-05-04 | 2008-11-06 | Francois Auzerais | Method and Apparatus for Measuring a Parameter within the Well with a Plug |
-
2010
- 2010-06-30 CN CN 201010212911 patent/CN101864924A/en active Pending
Patent Citations (3)
| Publication number | Priority date | Publication date | Assignee | Title |
|---|---|---|---|---|
| CN2732989Y (en) * | 2004-09-16 | 2005-10-12 | 中国石油化工股份有限公司江苏油田分公司石油工程技术研究院 | Down-hole by-pass valve type lost circulation material running tool used in oil field |
| CN2811554Y (en) * | 2005-02-07 | 2006-08-30 | 杜晓瑞 | Negative pressure well drilling snubbing tripping device |
| US20080272931A1 (en) * | 2007-05-04 | 2008-11-06 | Francois Auzerais | Method and Apparatus for Measuring a Parameter within the Well with a Plug |
Cited By (12)
| Publication number | Priority date | Publication date | Assignee | Title |
|---|---|---|---|---|
| CN106351603A (en) * | 2016-08-24 | 2017-01-25 | 中国石油集团渤海钻探工程有限公司 | Crack or cave serious leakage plugging method and plugging material feeding pipe string |
| CN106351603B (en) * | 2016-08-24 | 2018-11-20 | 中国石油集团渤海钻探工程有限公司 | A kind of crack or solution cavity severe leakage blocking method and plugging material are sent into pipe string |
| CN112004986A (en) * | 2018-02-14 | 2020-11-27 | 沙特阿拉伯石油公司 | Repairing lost circulation zones in wellbores |
| CN108505968A (en) * | 2018-05-10 | 2018-09-07 | 中国地质大学(武汉) | A kind of site-directed quantitative slurry casting machine and system |
| CN109989726A (en) * | 2018-11-22 | 2019-07-09 | 上海中煤物探测量有限公司 | Cellular-type underground, which pinpoints syringe and its applies, is repairing the method in water supply well |
| CN109989726B (en) * | 2018-11-22 | 2024-06-11 | 中煤地质集团有限公司 | Separated downhole fixed-point injector and method for using same in repairing water supply pipe well |
| CN109944582A (en) * | 2018-12-29 | 2019-06-28 | 贵州省地质矿产勘查开发局一一五地质大队 | Method for analyzing position of stratum containing fractures in shaft |
| CN112983341A (en) * | 2019-12-13 | 2021-06-18 | 中国石油天然气股份有限公司 | Leakage stopping device and leakage stopping method |
| CN113818800A (en) * | 2021-10-20 | 2021-12-21 | 中国地质大学(北京) | An emergency rescue drilling water plugging device while drilling |
| CN113818800B (en) * | 2021-10-20 | 2022-06-07 | 中国地质大学(北京) | Emergency rescue drilling is along with boring water shutoff device |
| CN117468888A (en) * | 2023-12-27 | 2024-01-30 | 中国石油集团川庆钻探工程有限公司 | Underground airtight plugging tool and plugging method |
| CN117468888B (en) * | 2023-12-27 | 2024-03-19 | 中国石油集团川庆钻探工程有限公司 | Underground airtight plugging tool and plugging method |
Similar Documents
| Publication | Publication Date | Title |
|---|---|---|
| CN101864924A (en) | Drilling fixed-point plugging method | |
| CN101975041B (en) | Well cementing method for avoiding coal bed and device thereof | |
| CN103382851B (en) | Device and method for sucking and pumping water in cracks of bottom plate | |
| CN100538003C (en) | The expansion sieve tube hanging method | |
| CN105804786B (en) | A kind of weak seam bottom plate layer-through drilling pressure rushes anti-reflection method | |
| CN203081417U (en) | Multifunctional integrated gas lift process string | |
| CN209083252U (en) | A kind of brill downhole explosion and water filling or fracturing integrated hole packer | |
| CN107387035A (en) | Gas injection High Pressure Drain system in a kind of well | |
| CN201705283U (en) | Leaking stoppage device for drilling fixed points | |
| CN111075363A (en) | Horizontal well segmentation water control pipe post | |
| CN202531133U (en) | Two-end water plugging process pipe string for oil well sealing middle layer | |
| CN217001793U (en) | Oil exploitation well structure for improving reservoir injection and production capacity | |
| CN107420091B (en) | Annular pressure monitoring and controlling device for deep water oil-gas well | |
| CN107642329A (en) | A kind of process of the U-shaped docking geothermal well casings pipeline sealing operation of mid-deep strata | |
| CN202215193U (en) | Water expansion self-sealing packer | |
| CN204941345U (en) | A kind of radial well transfer with packing function | |
| CN210685919U (en) | Underground water blowout prevention back pressure device | |
| CN103790529A (en) | Coalbed methane drainage extraction and backwashing device and method | |
| CN108071376A (en) | An injection-production pipe string in a coalbed methane well | |
| CN205089297U (en) | Multilayer becomes hole sand screen | |
| CN203394451U (en) | A production string for leak sealing and water plugging in heavy oil horizontal wells | |
| CN111472685B (en) | Intermittent dynamic condensation deep hole drilling method | |
| CN207245702U (en) | The annular pressure monitoring of deep water hydrocarbon well well head and control device | |
| CN201738865U (en) | Well bore annulus hydraulic expansion packer | |
| CN107420035A (en) | Easily cave in difficult pore-forming stratigraphical drilling construction method |
Legal Events
| Date | Code | Title | Description |
|---|---|---|---|
| C06 | Publication | ||
| PB01 | Publication | ||
| C10 | Entry into substantive examination | ||
| SE01 | Entry into force of request for substantive examination | ||
| C12 | Rejection of a patent application after its publication | ||
| RJ01 | Rejection of invention patent application after publication |
Application publication date: 20101020 |

