CN101474651B - Integrated pipe bender - Google Patents
Integrated pipe bender Download PDFInfo
- Publication number
- CN101474651B CN101474651B CN2008100257388A CN200810025738A CN101474651B CN 101474651 B CN101474651 B CN 101474651B CN 2008100257388 A CN2008100257388 A CN 2008100257388A CN 200810025738 A CN200810025738 A CN 200810025738A CN 101474651 B CN101474651 B CN 101474651B
- Authority
- CN
- China
- Prior art keywords
- pipe
- flaring
- cylinder
- rotating shaft
- pipe bending
- Prior art date
- Legal status (The legal status is an assumption and is not a legal conclusion. Google has not performed a legal analysis and makes no representation as to the accuracy of the status listed.)
- Active
Links
Images
Landscapes
- Bending Of Plates, Rods, And Pipes (AREA)
Abstract
本发明涉及的一体化弯管机,其包括有机床工作台,工作台上依次装有管件校直机构、管件送料结构以及弯管成型机构,其设计要点在于在管件送料结构与弯管成型机构之间还设置有切料装置和管头扩口装置,切料装置包括有一供管件穿过的空心旋转轴、安装在旋转轴上的切割刀以及控制切割刀头张合的控制机构;管头扩口装置包括可平移的扩口冲头、扩口夹紧模机构以及驱动扩口冲头移动的驱动机构,扩口冲头可顶靠在上述扩口夹紧模机构一侧。本发明的目的是提供一种可将管件材料扩口和弯管一次成型的一体化弯管机。
The integrated pipe bending machine of the present invention comprises a machine tool worktable, on which a pipe straightening mechanism, a pipe feeding mechanism and a pipe bending forming mechanism are sequentially installed. The key point of the design is that a cutting device and a pipe head expanding device are also arranged between the pipe feeding mechanism and the pipe bending forming mechanism. The cutting device comprises a hollow rotating shaft for the pipe to pass through, a cutting knife installed on the rotating shaft and a control mechanism for controlling the opening and closing of the cutting knife head; the pipe head expanding device comprises a translatable expanding punch, an expanding clamping die mechanism and a driving mechanism for driving the expanding punch to move, and the expanding punch can be pressed against one side of the above-mentioned expanding clamping die mechanism. The purpose of the present invention is to provide an integrated pipe bending machine that can expand pipe materials and bend pipes at one time.
Description
[技术领域][technical field]
本发明涉及一种弯管机,进一步说的是一种管件扩口和弯管一体化弯管机,其主要应用于五金水暖管件行业。 The invention relates to a pipe bending machine, in particular to a pipe fitting flaring and pipe bending integrated pipe bending machine, which is mainly used in the industry of hardware plumbing pipe fittings. the
[背景技术][Background technique]
目前,在五金行业水暖管件中所涉及到的弯管机,其种类包括液压、电动和机械式弯管机。现有的各种弯管机通常包括有一送料机构和一弯管成型机构,用于完成将管件送入弯管模具进行弯管,这样加工出来的产品结构单一,而实际使用的弯管件往往还要对其管口进行扩口处理,使得弯管后续加工定位难,而且加工工序增多了,生产成本也高了,不便于弯管产品的推广使用。 At present, the types of pipe benders involved in plumbing pipe fittings in the hardware industry include hydraulic, electric and mechanical pipe benders. The existing various pipe bending machines usually include a feeding mechanism and a pipe bending forming mechanism, which are used to complete the feeding of the pipe fittings into the pipe bending mold for pipe bending, so that the processed product has a single structure, and the actual bent pipe fittings are often It also needs to carry out flaring treatment on the mouth of the pipe, which makes the subsequent processing and positioning of the bent pipe difficult, and the processing steps are increased, and the production cost is also high, which is not convenient for the popularization and use of the bent pipe product. the
[发明内容][Content of the invention]
本发明的目的是克服现有技术的不足,提供了一种可将管件材料扩口和弯管一次成型的一体化弯管机。 The purpose of the present invention is to overcome the deficiencies of the prior art and provide an integrated pipe bending machine capable of flaring pipe material and forming the pipe at one time. the
为了解决上述存在的技术问题,本发明采用下述技术方案: In order to solve the above-mentioned technical problems that exist, the present invention adopts the following technical solutions:
一体化弯管机,其包括有工作台,工作台上依次装有管件校直机构、管件送料结构以及弯管成型机构,其特征在于在管件送料结构与弯管成型机构之间还设置有切料装置和管头扩口装置,所述切料装置包括有一供管件穿过的空心旋转轴、安装在旋转轴上的切割刀以及控制切割刀头张合的控制机构;所述管头扩口装置包括可平移的扩口冲头、扩口夹紧模机构以及驱动扩口冲头移动的驱动机构,所述扩口冲头可顶靠在上述扩口夹紧模机构一侧; An integrated pipe bending machine, which includes a workbench, on which a pipe fitting straightening mechanism, a pipe fitting feeding structure, and a pipe bending forming mechanism are sequentially installed. A material device and a pipe head flaring device, the material cutting device includes a hollow rotating shaft for pipes to pass through, a cutting knife installed on the rotating shaft, and a control mechanism for controlling the opening and closing of the cutting head; the pipe head flaring The device includes a translatable flaring punch, a flaring clamping die mechanism, and a driving mechanism for driving the flaring punch to move, and the flaring punch can lean against one side of the flaring clamping die mechanism;
如上所述的一体化弯管机,其特征在于所述扩口夹紧模机构包括有活动上扩口模、固定下扩口模以及气缸,上扩口模固定连接在气缸活动杆上,上、下扩口模位于所述旋转轴外端一侧; The above-mentioned integrated pipe bending machine is characterized in that the flare clamping die mechanism includes a movable upper flare die, a fixed lower flare die and a cylinder, the upper flare die is fixedly connected to the movable rod of the cylinder, and the upper , The lower flaring die is located on the outer side of the rotating shaft;
如上所述的一体化弯管机,其特征在于所述工作台还设置有拉断气缸,所述扩口夹紧模机构安装在上述拉断气缸的活塞推杆上; The above-mentioned integrated pipe bending machine is characterized in that the workbench is also provided with a breaking cylinder, and the flared clamping die mechanism is installed on the piston push rod of the breaking cylinder;
如上所述的一体化弯管机,其特征在于所述驱动机构包括有驱动所述扩口冲头垂直于所述旋转轴轴向移动的第一气缸和驱动扩口冲头平行于旋转轴轴向移动的扩口油缸;第一气缸固定安装在所述工作台上,第一气缸的推杆上装有一可垂直于旋转轴轴向的活动架,所述扩口油缸固定安装在活动架上; The above-mentioned integrated pipe bending machine is characterized in that the driving mechanism includes a first cylinder that drives the expansion punch to move axially perpendicular to the rotation axis, and drives the expansion punch to move axially parallel to the rotation axis. The flaring oil cylinder that moves toward; The first cylinder is fixedly installed on the described workbench, and the push rod of the first cylinder is equipped with a movable frame that can be perpendicular to the axial direction of the rotating shaft, and the described flared oil cylinder is fixedly installed on the movable frame;
如上所述的一体化弯管机,其特征在于所述控制机构包括有固定在旋转轴外端的定位盘、用于防止切割刀滑脱的压板,定位盘和压板固定相连,所述切割刀沿轴向限制在定位盘和压板之间; The above-mentioned integrated pipe bending machine is characterized in that the control mechanism includes a positioning plate fixed on the outer end of the rotating shaft, a pressure plate for preventing the cutting knife from slipping, the positioning plate and the pressure plate are fixedly connected, and the cutting knife The direction is limited between the positioning plate and the pressure plate;
如上所述的一体化弯管机,其特征在于所述定位盘上设有多个滑槽,压板上对应开有多个供切割刀穿过的条形孔,所述切割刀有多个,各切割刀尾部对应装在上述各滑槽内并可沿滑槽滑动; The above-mentioned integrated pipe bending machine is characterized in that the positioning plate is provided with a plurality of slide grooves, and the pressing plate is correspondingly provided with a plurality of strip-shaped holes for the cutting knives to pass through. There are a plurality of cutting knives, The tails of each cutting knife are correspondingly installed in the above-mentioned chute and can slide along the chute;
如上所述的一体化弯管机,其特征在于所述控制机构还包括有套装在旋转轴外的轴套以及驱动轴套沿轴向移动的气缸,滑槽内还分别设置有可将切割刀往外顶出的弹簧,各切割刀上分别设有一带斜角的压块,该压块可顶靠在上述轴套外端周边上。 The above-mentioned integrated pipe bending machine is characterized in that the control mechanism also includes a bushing set outside the rotating shaft and a cylinder that drives the bushing to move axially, and the chute is also equipped with a cutting knife For the spring ejected outward, each cutting knife is respectively provided with a pressing block with an oblique angle, and the pressing block can lean against the periphery of the outer end of the above-mentioned shaft sleeve. the
本发明的有益效果是: The beneficial effects of the present invention are:
1、经过工作台上的管件校直机构、管件送料结构切料装置、管头扩口装置以及弯管成型机构依次有序加工,可以得到弯管并一端扩口的管件产品,集合程度高,实现了自动化,大大降低了生产成本,避免了操作者不确定因数的出现,生产质量得到了保证; 1. Through the sequential processing of the pipe straightening mechanism on the workbench, the pipe fitting feeding structure cutting device, the pipe head flaring device and the pipe bending forming mechanism, a pipe fitting product with a bent pipe and one end flared can be obtained, with a high degree of integration. Realized automation, greatly reduced production costs, avoided the emergence of operator uncertainty factors, and ensured production quality;
2、弯管成型机构可以弯出不在同一平面的管件,弯管灵活,方便对各种形状水暖管件的加工。 2. The pipe bending mechanism can bend pipe fittings that are not on the same plane, and the pipe bending is flexible, which is convenient for processing various shapes of plumbing pipe fittings. the
[附图说明][Description of drawings]
图1为本发明使用状态的立体结构示意图; Fig. 1 is the three-dimensional structure schematic diagram of the use state of the present invention;
图2为本发明左视图; Fig. 2 is the left view of the present invention;
图3为图2中A处放大图; Figure 3 is an enlarged view of A in Figure 2;
图4为本发明中管件送料结构和切料装置组装结构图; Fig. 4 is a pipe fitting feeding structure and a material cutting device assembly structure diagram in the present invention;
图5为图4中B处放大图; Figure 5 is an enlarged view at B in Figure 4;
图6为本发明中电机通过同步带驱动旋转轴的结构示意图; Fig. 6 is the structural representation of motor driving rotating shaft by synchronous belt among the present invention;
图7为本发明中切割刀头张合的控制机构与旋转轴、拉断气缸装配结构示意图; Fig. 7 is a schematic diagram of the assembly structure of the control mechanism for opening and closing the cutting head, the rotating shaft, and the breaking cylinder in the present invention;
图8为本发明中旋转轴与切割刀组装结构示意图; Figure 8 is a schematic diagram of the assembly structure of the rotating shaft and the cutting knife in the present invention;
图9为本发明中定位盘和压板结构示意图; Fig. 9 is a schematic structural view of positioning plate and pressing plate in the present invention;
图10为本发明中扩口冲头驱动机构结构示意图; Fig. 10 is a schematic structural view of the flaring punch driving mechanism in the present invention;
图11为图9的左视图; Fig. 11 is the left view of Fig. 9;
图12为本发明中弯管成型机构结构示意图。 Fig. 12 is a schematic structural view of the elbow forming mechanism in the present invention. the
[具体实施方式][Detailed ways]
下面结合附图与具体实施方式对本发明作进一步详细描述: Below in conjunction with accompanying drawing and specific embodiment the present invention is described in further detail:
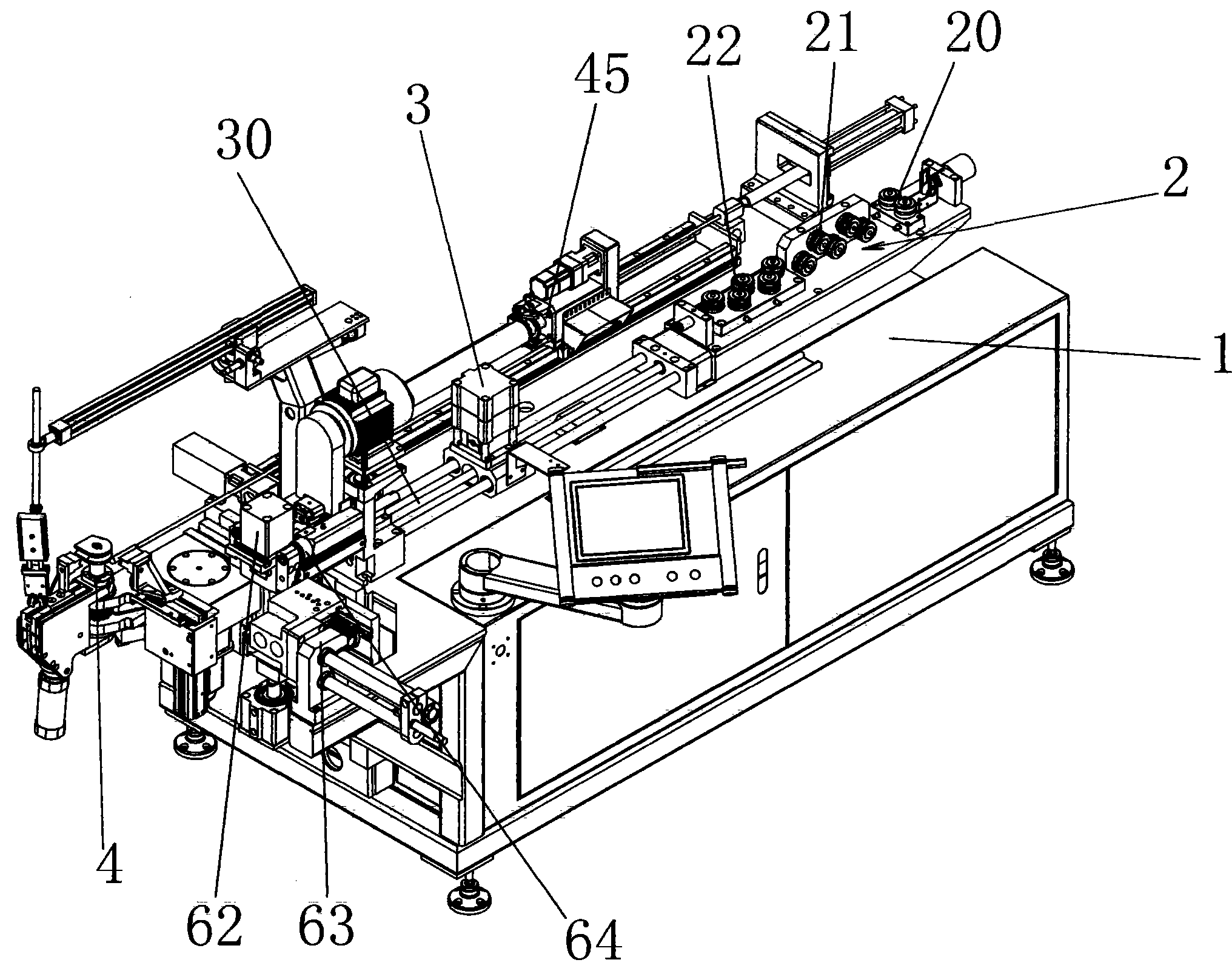
如图所示,一体化弯管机,其包括有工作台1,工作台1上依次装有管件校直机构2、管件送料结构3以及弯管成型机构4,在管件送料结构3与弯管成型机构4之间还设置有切料装置和管头扩口装置。 As shown in the figure, the integrated pipe bending machine includes a
切料装置包括有一供管件穿过的空心旋转轴51、安装在旋转轴51上的切割刀52以及控制切割刀头张合的控制机构53,本发明中旋转轴51采用电动机驱动。管头扩口装置包括可平移的扩口冲头61、扩口夹紧模机构62以及驱动扩口冲头61移动的驱动机构63,扩口冲头61可顶靠在上述扩口夹紧模机构62一侧。 The cutting device includes a hollow rotating
其中,管件校直机构2包括垂直分布的第一校直轮组21和呈水平分布的第二校直轮组22,在第一校直轮组21前侧还设置有用于管件进入的水平限位双轮20。第一校直轮组21和第二校直轮组22为相互错位排列且相临两轮之间最短距离等于管件外径的校轮组,各校轮圆周开有圆环轮槽。 Wherein, the
管件送料结构3包括一安装在丝杆30上的夹紧气缸31、送料上夹模32和送料下夹模33,送料上夹模32固定连接在夹紧气缸31的推杆上。工作时,工作台1上的控制器控制夹紧气缸31带动送料上夹模32提升,待管件穿过后夹紧气缸31带动送料上夹模32下压,使得管件被夹制在的送料上、下夹模32、33之间,随后工作台1上的控制器启动电机并带动丝杆30转动,丝杆30带动夹紧气缸31、送料上夹模32和送料下夹模33一起向前移动,实现管件的向前传送。丝杆30转动一段时间后,送料上夹模32提升松开管件,工作台1上 的控制器控制电机又带动丝杆30反向旋转,丝杆30带着夹紧气缸31、送料上夹模32和送料下夹模33回到原位,完成一次送料。一次送料的长度根据弯管件所需的长度而定,长度不同,丝杆30带动夹紧气缸31、送料上夹模32和送料下夹模33向前移动的长度就不同。 The
弯管成型机构4包括有一滑动架41和安装在滑动架41上的弯管模具42、夹模43和靠模44,以及位于工作台1上并可沿管件轴向来回移动的定位件45;弯管模具42和夹模43固定在同一转轴46上,滑动架41上还装有驱动转轴46转动的侍服电机47、驱动夹模43上下平移的夹模气缸48,以及驱动靠模44左右平移的靠模气缸49。本发明中,工作台1上还装有推动滑动架41平移的另一侍服电机。滑动架41平移可完成将弯管模具42和靠模44靠近管件,然后靠模44与弯管模具42共同夹紧管件;滑动架41反向移动,带着管件移向一侧再完成弯管。 The
控制机构53包括有固定在旋转轴51外端的定位盘531、用于防止切割刀52滑脱的压板530、套装在旋转轴51外的轴套532以及驱动轴套532沿轴向移动的气缸533,,定位盘531和压板530固定相连,切割刀52沿轴向限制在定位盘531和压板530之间。 The
定位盘53 1上设有多个滑槽5310,压板530上对应开有多个供切割刀52穿过的条形孔5300,切割刀52有多个,各切割刀52尾部对应装在上述各滑槽5310内并可沿滑槽滑动。
本发明中,切割刀52有三个,其中两个为定位转轮,第三个为带有刀片的转轮,三个切割刀52对应装在三个滑槽5310内并可沿滑 槽滑动;各滑槽5310内还分别设置有可将切割刀52往外顶出的弹簧,各切割刀52上分别设有一带斜角的压块520,该压块520可顶靠在轴套532外端周边上。工作时,工作台1上的控制器控制控制机构53上的气缸推动轴套532向前移动,轴套532顶压各斜角压块520向旋转轴51轮心靠拢,从而使得三个切割刀52压缩弹簧并沿着各自的滑槽5310向旋转轴51轮心靠拢,这样,三个切割刀52可以对穿过旋转轴51的管件进行切割了。 In the present invention, there are three cutting
扩口夹紧模机构62包括有活动上扩口模621、固定下扩口模622以及气缸,上扩口模621固定连接在气缸活动杆上,上、下扩口模621、622位于所述旋转轴51外端一侧。 Flaring clamping
驱动机构63包括有驱动所述扩口冲头61垂直于所述旋转轴51轴向移动的第一气缸630和驱动扩口冲头61平行于旋转轴51轴向移动的扩口油缸631;第一气缸630固定安装在所述工作台1上,第一气缸630的推杆上装有一可垂直于旋转轴51轴向的活动架632,所述扩口油缸631固定安装在活动架632上。工作时,第一气缸630先启动并带动活动架632移动,使得活动架632上的扩口冲头61对准扩口夹紧模机构62上、下扩口模621、622中心,然后,第一气缸630停止,同时扩口油缸631推动扩口冲头61向扩口夹紧模机构62移动,使得扩口冲头61对扩口夹紧模机构62上的管件进行扩口加工。 The
本发明的工作过程如下: Working process of the present invention is as follows:
工作时,毛坯管件经过管件校直机构2后被送料结构3夹紧进行送料。一次送料的长度根据弯管件所需的长度而定,长度不同,丝杆 带动夹紧气缸31、送料上夹模32和送料下夹模33向前移动的长度就不同。 When working, the blank pipe fittings are clamped by the feeding
传送后管件进入切料装置上的空心旋转轴51内,管件前端穿过旋转轴51,旋转轴51上的三个切割刀52沿管件圆周均布但不接触。工作台1上的控制器控制管头扩口装置上的扩口夹紧模机构62夹制住管件前端,随后驱动机构63带动扩口冲头61移动并顶靠在上述扩口夹紧模机构62一侧进行扩口加工。扩口完成后,工作台1上的控制器控制扩口夹紧模机构62、驱动机构63回到原始状态。 After conveying, the pipe enters the hollow rotating
完成对管件的扩口加工后,工作台1上的控制器控制弯管成型机构4上的滑动架41靠近待弯件准备接料。 After the flaring processing of the pipe fittings is completed, the controller on the
然后,管件送料结构3进行第二次送料,即管件向前移动一个待弯件长度。扩口夹紧模机构62再次夹紧管件,同时启动电机带动旋转轴51及其上的切割刀52旋转,并对管件进行切割,随后控制机构53上的气缸恢复原位,三个切割刀52在弹簧的作用下沿着各自的滑槽5310张开,切割刀52上的斜角压块520挤压轴套532,轴套532反向移动恢复原位。 Then, the pipe fitting feeding
为了保证管件能沿切割处断开,本发明中工作台1还设置有两个水平放置的拉断气缸64,两拉断气缸64位于旋转轴51两侧,扩口夹紧模机构62安装在上述拉断气缸64的推杆上,即切割管件后拉断气缸64可向前推动扩口夹紧模机构62向前移动一小段距离,由于扩口夹紧模机构62此时正夹紧着管件,所以向前移动出的待弯件从切割处与后续管件分离。 In order to ensure that the pipe fittings can be disconnected along the cutting place, the
待弯件被拉断同时,工作台1上的控制器控制滑动架41上的靠模44在靠模气缸49驱动下将待弯件压靠在弯管模具42一侧,扩口夹紧模机构62松开管件,回到原来位置。然后控制器控制滑动架41回到原来位置,此时定位件45在气缸驱动下向前移动并顶在待弯件尾端,防止待弯件在弯管中摆动而影响弯管质量。 At the same time when the bent piece is pulled off, the controller on the
随后,夹模气缸48驱动夹模43上移,侍服电机47驱动弯管模具42和夹模43绕转轴46旋转进行弯管,弯管过程中,定位件45可带动管件转动,从而弯出立体的弯管件。 Subsequently, the clamping
最后,工作台1上的机械手将弯成的管件夹注并送入机床旁的容器中。 Finally, the manipulator on the
Claims (6)
Priority Applications (1)
| Application Number | Priority Date | Filing Date | Title |
|---|---|---|---|
| CN2008100257388A CN101474651B (en) | 2008-01-05 | 2008-01-05 | Integrated pipe bender |
Applications Claiming Priority (1)
| Application Number | Priority Date | Filing Date | Title |
|---|---|---|---|
| CN2008100257388A CN101474651B (en) | 2008-01-05 | 2008-01-05 | Integrated pipe bender |
Publications (2)
| Publication Number | Publication Date |
|---|---|
| CN101474651A CN101474651A (en) | 2009-07-08 |
| CN101474651B true CN101474651B (en) | 2010-12-01 |
Family
ID=40835473
Family Applications (1)
| Application Number | Title | Priority Date | Filing Date |
|---|---|---|---|
| CN2008100257388A Active CN101474651B (en) | 2008-01-05 | 2008-01-05 | Integrated pipe bender |
Country Status (1)
| Country | Link |
|---|---|
| CN (1) | CN101474651B (en) |
Cited By (1)
| Publication number | Priority date | Publication date | Assignee | Title |
|---|---|---|---|---|
| WO2012075888A1 (en) * | 2010-12-09 | 2012-06-14 | 中山市奥美森工业有限公司 | Long u-shape pipe bending machine |
Families Citing this family (37)
| Publication number | Priority date | Publication date | Assignee | Title |
|---|---|---|---|---|
| IT1401361B1 (en) * | 2010-06-10 | 2013-07-18 | Blm Spa | TUBE BENDER MACHINE WITH AUTOMATIC LOADING SYSTEM AND METHOD FOR THE AUTOMATIC LOADING OF TUBES ON THE BENDING HEAD OF A TUBE BENDER. |
| CN102049439B (en) * | 2010-09-30 | 2012-08-29 | 黄伟明 | Pipe bending machine integrating straightening, cutting and three-dimensional numerical control pipe bending functions |
| CN102950217B (en) * | 2011-08-29 | 2015-08-12 | 珠海格力电器股份有限公司 | Method for forming special-shaped pipe end and special-shaped clamping die used by same |
| CN102909283B (en) * | 2011-12-30 | 2015-08-26 | 郴州智造科技有限公司 | Automatic charging machine |
| CN102672955B (en) * | 2012-05-22 | 2014-02-26 | 吴江市三达五金工具厂 | Plastic pipe head processor with replaceable heating heads |
| CN103658266B (en) * | 2012-09-24 | 2016-11-23 | 珠海格力电器股份有限公司 | numerical control pipe bender |
| CN103084458B (en) * | 2013-01-22 | 2015-05-27 | 黄伟明 | Metal pipe fitting forming pipe-bending all-in-one machine |
| CN103212989B (en) * | 2013-04-19 | 2015-04-15 | 资阳晨风电气有限公司 | Multifunctional tool for machining pipeline |
| CN103341521A (en) * | 2013-06-19 | 2013-10-09 | 武汉理工大学 | Method for optimization of pipe integrated numerical control machining process |
| CN103447363A (en) * | 2013-08-15 | 2013-12-18 | 冯东 | Novel pipe bending machine |
| CN103878267B (en) * | 2013-11-29 | 2016-03-23 | 中山市奥美森工业有限公司 | A kind of bending machine |
| CN103736793B (en) * | 2014-02-13 | 2015-11-04 | 安庆市江城冶金机械有限公司 | A kind of pin shaft hole shaped device of pipe joint |
| CN104056975B (en) * | 2014-07-06 | 2016-09-14 | 广东长征电气工程有限公司 | Electric power splicing pipe material expansion machine |
| CN104826925B (en) * | 2015-04-13 | 2017-01-11 | 张家港江苏科技大学产业技术研究院 | Bending and forming production line |
| CN104759499A (en) * | 2015-04-27 | 2015-07-08 | 岳阳筑盛阀门管道有限责任公司 | Method and system for cold bending of four major power pipes |
| CN104889209B (en) * | 2015-05-26 | 2017-01-04 | 天津万豪科技发展有限公司 | A kind of metal pipe material bender |
| CN105149957B (en) * | 2015-07-01 | 2018-01-19 | 浙江和良智能装备有限公司 | A kind of blanking, pipe end and bend pipe integration apparatus |
| CN106001210B (en) * | 2016-06-30 | 2019-07-16 | 浙江顺信机械有限公司 | Fluid pressure type Full-automatic tube bending machine |
| CN106238528B (en) * | 2016-08-30 | 2018-07-03 | 中山精达特克机械有限公司 | Pipe bending device and numerical control cutting pipe end pipe bending all-in-one machine with same |
| CN106216457A (en) * | 2016-08-31 | 2016-12-14 | 佛山市南海新锐机电设备有限公司 | A kind of pipe end molding bending integral machine and processing method |
| CN106694650A (en) * | 2017-03-31 | 2017-05-24 | 合肥智慧龙图腾知识产权股份有限公司 | Pipe bending machine integrated with multiple functions into whole |
| CN107639421B (en) * | 2017-11-04 | 2023-11-24 | 台州市通力制冷元件有限公司 | Gas collecting tube processing equipment and processing technology thereof |
| CN107876859A (en) * | 2017-11-23 | 2018-04-06 | 中山市科力高自动化设备有限公司 | A device for processing pipe ends |
| CN107983857B (en) * | 2018-01-17 | 2024-10-29 | 广东东箭汽车科技股份有限公司 | Double-end pipe expanding equipment for hardware pipe |
| CN108213257A (en) * | 2018-03-09 | 2018-06-29 | 宁波泰茂车业有限公司 | A kind of bicycle front fork automatic moulding stock equipment |
| CN108543873A (en) * | 2018-03-26 | 2018-09-18 | 江苏通盛换热器有限公司 | A kind of craft enlarging apparatus and its manual flared method |
| CN108672535B (en) * | 2018-07-03 | 2024-03-26 | 张家港市友胜机械制造有限公司 | Novel pipe bending machine |
| CN108672589A (en) * | 2018-07-18 | 2018-10-19 | 中山精达特克机械有限公司 | A kind of long U tube bending machines and its operating method |
| CN108672517A (en) * | 2018-07-18 | 2018-10-19 | 中山精达特克机械有限公司 | A kind of pipe fitting Combined machining equipment |
| CN108941274A (en) * | 2018-07-19 | 2018-12-07 | 珠海格力智能装备有限公司 | Bending mechanism and pipe bending equipment with same |
| CN109047515A (en) * | 2018-09-19 | 2018-12-21 | 苏州工业园区虹逸精密机械有限公司 | Open side type metal winding pipe and alignment multifunctional numerical control hydraulic press |
| CN109500163B (en) * | 2018-12-10 | 2024-05-14 | 三之信(天津)自动化设备有限公司 | Full-automatic pipe fitting bender |
| CN111958253B (en) * | 2020-08-06 | 2022-03-11 | 四川同一热能设备有限公司 | Heat exchanger mechanical tubes shaping all-in-one |
| CN112222305B (en) * | 2020-09-23 | 2022-10-04 | 无锡金羊管件有限公司 | Pipe bending and flaring integrated equipment |
| CN112935020B (en) * | 2021-04-20 | 2023-02-28 | 苏州硕控自动化设备有限公司 | Automatic pipe fitting forming all-in-one machine |
| CN113600684B (en) * | 2021-09-09 | 2024-11-05 | 佛山市莱诺自动化设备有限公司 | Cutting pipe end bending integrated processing equipment |
| CN117000835A (en) * | 2023-09-04 | 2023-11-07 | 浙江长兴和良智能装备有限公司 | U-shaped pipe machining equipment and method |
-
2008
- 2008-01-05 CN CN2008100257388A patent/CN101474651B/en active Active
Cited By (1)
| Publication number | Priority date | Publication date | Assignee | Title |
|---|---|---|---|---|
| WO2012075888A1 (en) * | 2010-12-09 | 2012-06-14 | 中山市奥美森工业有限公司 | Long u-shape pipe bending machine |
Also Published As
| Publication number | Publication date |
|---|---|
| CN101474651A (en) | 2009-07-08 |
Similar Documents
| Publication | Publication Date | Title |
|---|---|---|
| CN101474651B (en) | Integrated pipe bender | |
| CN201168732Y (en) | Integrated pipe bender | |
| CN206567810U (en) | Punching and drawing machine | |
| CN109909750B (en) | Full-automatic turntable pipe end machine | |
| CN203843031U (en) | Pipe diameter reducing machine | |
| CN104016126B (en) | Cylinder circular disc class workpiece feeding mechanical hand | |
| CN102049448A (en) | Cutting pipe end machine | |
| CN202622478U (en) | Multi-station pipe end processing device | |
| CN110421358A (en) | A metal pipe automatic shrink sealing machine | |
| KR101617674B1 (en) | Molding apparatus of the hydraulic pipe | |
| CN104608260A (en) | Automatic processing device used for manufacturing spectra graphite electrode | |
| CN207872796U (en) | A kind of feeding main shaft device, bending machine and feed collet mechanism | |
| CN113579090B (en) | Chipless cutting pipe end machine and pipe fitting processing method | |
| CN201529814U (en) | A fully automatic gear hobbing machine | |
| CN204075008U (en) | A kind of small-sized bender for solenoid coiling stitch | |
| CN107876859A (en) | A device for processing pipe ends | |
| CN209850335U (en) | Full-automatic rotary disc pipe end machine | |
| CN108637277B (en) | Surface high-precision turning process of curved workpiece and its processing equipment | |
| CN2513716Y (en) | Side feeder for processing machines | |
| CN216501858U (en) | A multi-station automatic flanging machine for thin-walled bushings | |
| CN106890901B (en) | A kind of the multistation system of processing and processing method of new energy battery stainless steel casing | |
| CN111016199B (en) | Poling mechanism and automatic poling device | |
| CN203903462U (en) | Feeding mechanical arm for cylinder and disc type workpieces | |
| CN202447547U (en) | Fully automatic metal tube double head sealing machine | |
| CN115446217B (en) | Pipe end cutting machine |
Legal Events
| Date | Code | Title | Description |
|---|---|---|---|
| C06 | Publication | ||
| PB01 | Publication | ||
| C10 | Entry into substantive examination | ||
| SE01 | Entry into force of request for substantive examination | ||
| C14 | Grant of patent or utility model | ||
| GR01 | Patent grant | ||
| C56 | Change in the name or address of the patentee | ||
| CP03 | Change of name, title or address |
Address after: 528400 Guangdong province Zhongshan City, New Road No. 1 of Patentee after: OMS MACHINERY Co.,Ltd. Address before: 528400 Zhongshan Torch Development Zone, Guangdong Patentee before: ZHONGSHAN OMS INDUSTRIAL Co.,Ltd. |
|
| CP03 | Change of name, title or address | ||
| CP03 | Change of name, title or address |
Address after: 528455 Guangdong Province Zhongshan City Nanqu Street Shengdu South Road 88 Aomesen Intelligent Equipment Co., Ltd. Patentee after: OMS MACHINERY Co.,Ltd. Country or region after: China Address before: 528400 Guangdong province Zhongshan City, New Road No. 1 of Patentee before: OMS MACHINERY Co.,Ltd. Country or region before: China |
