CN101117857A - Clutch structure with lock cylinder capable of idling and lock head thereof - Google Patents
Clutch structure with lock cylinder capable of idling and lock head thereof Download PDFInfo
- Publication number
- CN101117857A CN101117857A CNA2007100357023A CN200710035702A CN101117857A CN 101117857 A CN101117857 A CN 101117857A CN A2007100357023 A CNA2007100357023 A CN A2007100357023A CN 200710035702 A CN200710035702 A CN 200710035702A CN 101117857 A CN101117857 A CN 101117857A
- Authority
- CN
- China
- Prior art keywords
- lock
- lock core
- lock pin
- side column
- core
- Prior art date
- Legal status (The legal status is an assumption and is not a legal conclusion. Google has not performed a legal analysis and makes no representation as to the accuracy of the status listed.)
- Granted
Links
- 239000004579 marble Substances 0.000 claims description 10
- 238000010586 diagram Methods 0.000 description 4
- XEEYBQQBJWHFJM-UHFFFAOYSA-N Iron Chemical compound [Fe] XEEYBQQBJWHFJM-UHFFFAOYSA-N 0.000 description 2
- 230000000903 blocking effect Effects 0.000 description 1
- 230000001066 destructive effect Effects 0.000 description 1
- 230000000694 effects Effects 0.000 description 1
- 230000037431 insertion Effects 0.000 description 1
- 238000003780 insertion Methods 0.000 description 1
- 229910052742 iron Inorganic materials 0.000 description 1
- 239000008188 pellet Substances 0.000 description 1
Landscapes
- Braking Arrangements (AREA)
Abstract
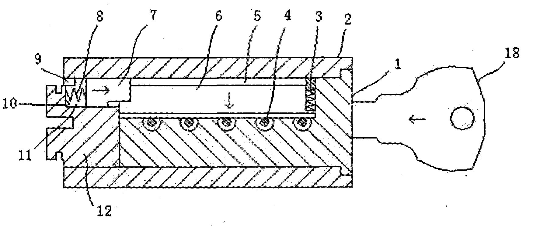
本发明公开了一种锁芯可以空转的离合结构,包括锁体内的锁芯,其特征是锁芯分为前锁芯和后锁芯,前锁芯上的锁定边柱槽内设有可与锁芯弹子凹槽相配合的锁定边柱;在后锁芯上与前锁芯锁定边柱对应设置锁销滑槽,锁销滑槽在后锁芯的尾部有一端壁,锁销滑槽内放置锁销,在锁销滑槽内的端壁与锁销之间设置锁销复位弹簧;锁定边柱与锁销之间为凹凸配合;锁销或锁定边柱槽中至少有一个采用斜面与另一个接触。采用本发明锁芯离合结构的锁,如果使用非配套钥匙开锁,插入锁芯后只能带动前锁芯空转,不能使固定有锁尺的后锁芯转动,实现有效防止暴力工具撬扭锁芯开锁。
The present invention discloses a clutch structure in which a lock core can rotate idly, including a lock core in a lock body, characterized in that the lock core is divided into a front lock core and a rear lock core, a locking side column groove on the front lock core is provided with a locking side column that can match with the lock core pin groove; a lock pin slide groove is provided on the rear lock core corresponding to the locking side column of the front lock core, the lock pin slide groove has an end wall at the tail of the rear lock core, a lock pin is placed in the lock pin slide groove, a lock pin reset spring is provided between the end wall in the lock pin slide groove and the lock pin; the locking side column and the lock pin are concave-convex matched; at least one of the lock pin or the locking side column groove contacts the other with an inclined surface. For a lock adopting the lock core clutch structure of the present invention, if a non-matching key is used to unlock the lock, after the lock core is inserted, only the front lock core can be driven to rotate idly, and the rear lock core with a lock ruler fixed thereon cannot be rotated, thereby effectively preventing the lock core from being unlocked by prying and twisting with violent tools.
Description
Claims (2)
Priority Applications (1)
| Application Number | Priority Date | Filing Date | Title |
|---|---|---|---|
| CN2007100357023A CN101117857B (en) | 2007-09-07 | 2007-09-07 | Clutch structure with lock cylinder capable of idling and lock head thereof |
Applications Claiming Priority (1)
| Application Number | Priority Date | Filing Date | Title |
|---|---|---|---|
| CN2007100357023A CN101117857B (en) | 2007-09-07 | 2007-09-07 | Clutch structure with lock cylinder capable of idling and lock head thereof |
Publications (2)
| Publication Number | Publication Date |
|---|---|
| CN101117857A true CN101117857A (en) | 2008-02-06 |
| CN101117857B CN101117857B (en) | 2011-07-20 |
Family
ID=39054106
Family Applications (1)
| Application Number | Title | Priority Date | Filing Date |
|---|---|---|---|
| CN2007100357023A Active CN101117857B (en) | 2007-09-07 | 2007-09-07 | Clutch structure with lock cylinder capable of idling and lock head thereof |
Country Status (1)
| Country | Link |
|---|---|
| CN (1) | CN101117857B (en) |
Cited By (3)
| Publication number | Priority date | Publication date | Assignee | Title |
|---|---|---|---|---|
| CN103573037A (en) * | 2012-07-18 | 2014-02-12 | 稻田太一 | Anti-theft lock device |
| CN105350832A (en) * | 2015-08-04 | 2016-02-24 | 朱嘉斌 | A front and rear locking mechanism mutual control radial displacement blade lock |
| CN110318600A (en) * | 2019-07-30 | 2019-10-11 | 浙江中立集团有限公司 | A kind of chain lock |
-
2007
- 2007-09-07 CN CN2007100357023A patent/CN101117857B/en active Active
Cited By (5)
| Publication number | Priority date | Publication date | Assignee | Title |
|---|---|---|---|---|
| CN103573037A (en) * | 2012-07-18 | 2014-02-12 | 稻田太一 | Anti-theft lock device |
| CN103573037B (en) * | 2012-07-18 | 2016-04-27 | 稻田太一 | Anti-theft lock device |
| CN105350832A (en) * | 2015-08-04 | 2016-02-24 | 朱嘉斌 | A front and rear locking mechanism mutual control radial displacement blade lock |
| CN105350832B (en) * | 2015-08-04 | 2017-06-23 | 朱嘉斌 | A front and rear locking mechanism mutual control radial displacement blade lock |
| CN110318600A (en) * | 2019-07-30 | 2019-10-11 | 浙江中立集团有限公司 | A kind of chain lock |
Also Published As
| Publication number | Publication date |
|---|---|
| CN101117857B (en) | 2011-07-20 |
Similar Documents
| Publication | Publication Date | Title |
|---|---|---|
| CN100999959B (en) | Lock core clutch structure with idle rotation of spring lock core | |
| CN101139886A (en) | Coupling structure of spring (lamina) lock idle-run lock pin | |
| CN101153521B (en) | Anti-theft blade lock with lock cylinder capable of idling | |
| CN101117857A (en) | Clutch structure with lock cylinder capable of idling and lock head thereof | |
| CN101117860B (en) | A safety lock head with lock core capable of idling rotation | |
| CN200996218Y (en) | Safety tapered end against prizing | |
| CN102337849B (en) | Mechanical lock cylinder | |
| CN201137342Y (en) | Idle rotation lock insertion engaging-disengaging structure | |
| CN201110027Y (en) | On-off structure with racing lock core as well as lock head thereof | |
| CN201137345Y (en) | Lock possessing idle rotation lock master | |
| CN101117858B (en) | Clutch structure of lock pin capable of idling | |
| CN101139874A (en) | Coupling structure for lock pin capable of idling | |
| CN201137346Y (en) | Lock possessing idle rotation lock master | |
| CN101122191B (en) | Lock with idle rotation lock core structure | |
| CN201137349Y (en) | Anti-theft vane lock with lock insertion capable of being idle rotation | |
| CN201110029Y (en) | Safety lock head with racing lock core | |
| CN201110028Y (en) | Lock head with racing lock core | |
| CN200992844Y (en) | Lock core clutching structure capable of idle operating for ball lock | |
| CN101122190B (en) | Lock with idle rotation lock core structure | |
| CN201137335Y (en) | Idle rotation lock insertion engaging-disengaging structure | |
| CN101117859B (en) | Lock head with lock core capable of idling | |
| CN100590285C (en) | Lock guarding against unlocking and breaking open | |
| CN205277064U (en) | Avoid violence to rotate lock core that damages | |
| CN101265763B (en) | Lock head and key with blade marble idle rotation lock core structure | |
| CN101122193B (en) | Double-blade inner pushing side column lock with lock cylinder capable of idling |
Legal Events
| Date | Code | Title | Description |
|---|---|---|---|
| C06 | Publication | ||
| PB01 | Publication | ||
| C10 | Entry into substantive examination | ||
| SE01 | Entry into force of request for substantive examination | ||
| C14 | Grant of patent or utility model | ||
| GR01 | Patent grant | ||
| EE01 | Entry into force of recordation of patent licensing contract |
Assignee: Zhongshan Gold Atom Lock Manufacture Co., Ltd. Assignor: Lei Xianming Contract record no.: 2011440000984 Denomination of invention: Clutch structure of lock pin capable of idling and its lock head Granted publication date: 20110720 License type: Exclusive License Open date: 20080206 Record date: 20110905 |
|
| ASS | Succession or assignment of patent right |
Owner name: GUANGDONG GOLD-ATOM LOCK MANUFACTURER CO., LTD. Free format text: FORMER OWNER: LEI XIANMING Effective date: 20120401 |
|
| C41 | Transfer of patent application or patent right or utility model | ||
| COR | Change of bibliographic data |
Free format text: CORRECT: ADDRESS; FROM: 518000 SHENZHEN, GUANGDONG PROVINCE TO: 528415 ZHONGSHAN, GUANGDONG PROVINCE |
|
| TR01 | Transfer of patent right |
Effective date of registration: 20120401 Address after: Luxi two Lianfeng Industrial Zone 528415 in Guangdong Province, Zhongshan City Xiaolan Town Patentee after: Guangdong Jindian Atom Lock Manufacturing Co., Ltd. Address before: 518000 Guangdong city of Shenzhen province Futian District Fuqiang Road, Beijing Garden room 10 7AB Patentee before: Lei Xianming |
