AT520751A4 - Vorrichtung zum Erfassen und Auswerten von Tremor - Google Patents
Vorrichtung zum Erfassen und Auswerten von Tremor Download PDFInfo
- Publication number
- AT520751A4 AT520751A4 ATA50161/2018A AT501612018A AT520751A4 AT 520751 A4 AT520751 A4 AT 520751A4 AT 501612018 A AT501612018 A AT 501612018A AT 520751 A4 AT520751 A4 AT 520751A4
- Authority
- AT
- Austria
- Prior art keywords
- housing
- evaluation
- expediently
- patient
- tremor
- Prior art date
Links
- 206010044565 Tremor Diseases 0.000 title claims abstract description 56
- 238000011156 evaluation Methods 0.000 claims abstract description 102
- 238000005259 measurement Methods 0.000 claims abstract description 87
- 230000001133 acceleration Effects 0.000 claims abstract description 34
- 230000004913 activation Effects 0.000 claims abstract description 29
- 210000003811 finger Anatomy 0.000 claims abstract description 29
- 210000003813 thumb Anatomy 0.000 claims abstract description 12
- 238000000034 method Methods 0.000 claims description 41
- 230000003213 activating effect Effects 0.000 claims description 6
- 239000004033 plastic Substances 0.000 claims description 4
- 239000004417 polycarbonate Substances 0.000 claims description 3
- 229920000515 polycarbonate Polymers 0.000 claims description 3
- 210000005224 forefinger Anatomy 0.000 abstract description 2
- 238000003745 diagnosis Methods 0.000 description 5
- 238000012854 evaluation process Methods 0.000 description 4
- 230000005540 biological transmission Effects 0.000 description 2
- 238000012790 confirmation Methods 0.000 description 2
- 230000000694 effects Effects 0.000 description 2
- 238000012545 processing Methods 0.000 description 2
- 238000011002 quantification Methods 0.000 description 2
- 208000018737 Parkinson disease Diseases 0.000 description 1
- 206010072377 Psychogenic tremor Diseases 0.000 description 1
- 238000004026 adhesive bonding Methods 0.000 description 1
- 238000004891 communication Methods 0.000 description 1
- 230000008602 contraction Effects 0.000 description 1
- 230000006735 deficit Effects 0.000 description 1
- 238000013461 design Methods 0.000 description 1
- 238000010586 diagram Methods 0.000 description 1
- 238000005516 engineering process Methods 0.000 description 1
- 201000006517 essential tremor Diseases 0.000 description 1
- 230000009395 genetic defect Effects 0.000 description 1
- 230000005484 gravity Effects 0.000 description 1
- 238000000691 measurement method Methods 0.000 description 1
- 210000003205 muscle Anatomy 0.000 description 1
- 238000011369 optimal treatment Methods 0.000 description 1
- 208000020016 psychiatric disease Diseases 0.000 description 1
- 230000001953 sensory effect Effects 0.000 description 1
- 238000002560 therapeutic procedure Methods 0.000 description 1
- 238000011282 treatment Methods 0.000 description 1
Classifications
-
- A—HUMAN NECESSITIES
- A61—MEDICAL OR VETERINARY SCIENCE; HYGIENE
- A61B—DIAGNOSIS; SURGERY; IDENTIFICATION
- A61B5/00—Measuring for diagnostic purposes; Identification of persons
- A61B5/103—Measuring devices for testing the shape, pattern, colour, size or movement of the body or parts thereof, for diagnostic purposes
- A61B5/11—Measuring movement of the entire body or parts thereof, e.g. head or hand tremor or mobility of a limb
- A61B5/1101—Detecting tremor
-
- A—HUMAN NECESSITIES
- A61—MEDICAL OR VETERINARY SCIENCE; HYGIENE
- A61B—DIAGNOSIS; SURGERY; IDENTIFICATION
- A61B5/00—Measuring for diagnostic purposes; Identification of persons
- A61B5/68—Arrangements of detecting, measuring or recording means, e.g. sensors, in relation to patient
- A61B5/6801—Arrangements of detecting, measuring or recording means, e.g. sensors, in relation to patient specially adapted to be attached to or worn on the body surface
- A61B5/6813—Specially adapted to be attached to a specific body part
- A61B5/6825—Hand
-
- A—HUMAN NECESSITIES
- A61—MEDICAL OR VETERINARY SCIENCE; HYGIENE
- A61B—DIAGNOSIS; SURGERY; IDENTIFICATION
- A61B2560/00—Constructional details of operational features of apparatus; Accessories for medical measuring apparatus
- A61B2560/04—Constructional details of apparatus
- A61B2560/0406—Constructional details of apparatus specially shaped apparatus housings
- A61B2560/0418—Pen-shaped housings
-
- A—HUMAN NECESSITIES
- A61—MEDICAL OR VETERINARY SCIENCE; HYGIENE
- A61B—DIAGNOSIS; SURGERY; IDENTIFICATION
- A61B2560/00—Constructional details of operational features of apparatus; Accessories for medical measuring apparatus
- A61B2560/04—Constructional details of apparatus
- A61B2560/0431—Portable apparatus, e.g. comprising a handle or case
-
- A—HUMAN NECESSITIES
- A61—MEDICAL OR VETERINARY SCIENCE; HYGIENE
- A61B—DIAGNOSIS; SURGERY; IDENTIFICATION
- A61B2562/00—Details of sensors; Constructional details of sensor housings or probes; Accessories for sensors
- A61B2562/02—Details of sensors specially adapted for in-vivo measurements
- A61B2562/0219—Inertial sensors, e.g. accelerometers, gyroscopes, tilt switches
Landscapes
- Health & Medical Sciences (AREA)
- Life Sciences & Earth Sciences (AREA)
- Medical Informatics (AREA)
- Biophysics (AREA)
- Pathology (AREA)
- Engineering & Computer Science (AREA)
- Biomedical Technology (AREA)
- Heart & Thoracic Surgery (AREA)
- Physics & Mathematics (AREA)
- Molecular Biology (AREA)
- Surgery (AREA)
- Animal Behavior & Ethology (AREA)
- General Health & Medical Sciences (AREA)
- Public Health (AREA)
- Veterinary Medicine (AREA)
- Physiology (AREA)
- Dentistry (AREA)
- Oral & Maxillofacial Surgery (AREA)
- Measurement Of The Respiration, Hearing Ability, Form, And Blood Characteristics Of Living Organisms (AREA)
Abstract
Vorrichtung (1) zum Erfassen und Auswerten von Tremor im Hand- oder Armbereich eines Patienten, die bei der Benutzung in nur einer Hand (H) des Patienten gehalten wird. Die Vorrichtung (1) umfasst: ein sich in einer Längsrichtung (x) erstreckendes Gehäuse (10), das im wesentlichen rohrförmig ausgestaltet ist, wobei das Gehäuse (10) in einem vorderen Abschnitt (11) wenigstens einen ersten Abstützpunkt (AP1) für das dritte Fingerglied (Phalanx distalis) von wenigstens einem Finger (F) der Hand (H) des Patienten und in einem hinteren Abschnitt (13) wenigstens einen zweiten Abstützpunkt (AP2) in dem Zwischenraum zwischen Daumen (D) und Zeigefinger (Z) der Hand (H) des Patienten bildet; einen Beschleunigungssensor (20) zum Erfassen von Messdaten (MD) über den Tremor; eine Auswertungseinrichtung (30) zum autarken Auswerten der Messdaten (MD) und Bereitstellen von Auswertungsdaten (AD); eine Speichereinrichtung (40) zum Speichern der Messdaten (MD) oder der Auswertungsdaten (AD); eine Anzeigeeinrichtung (50) zum Anzeigen der Auswertungsdaten (AD); eine Aktivierungseinrichtung (60) und eine Batterie (70);
Description
Zusammenfassung
Vorrichtung (1) zum Erfassen und Auswerten von Tremor im Hand- oder Armbereich eines Patienten, die bei der Benutzung in nur einer Hand (H) des Patienten gehalten wird. Die Vorrichtung (1) umfasst:
ein sich in einer Längsrichtung (x) erstreckendes Gehäuse (10), das im wesentlichen rohrförmig ausgestaltet ist, wobei das Gehäuse (10) in einem vorderen Abschnitt (11) wenigstens einen ersten Abstützpunkt (AP1) für das dritte Fingerglied (Phalanx distalis) von wenigstens einem Finger (F) der Hand (H) des Patienten und in einem hinteren Abschnitt (13) wenigstens einen zweiten Abstützpunkt (AP2) in dem Zwischenraum zwischen Daumen (D) und Zeigefinger (Z) der Hand (H) des Patienten bildet;
einen Beschleunigungssensor (20) zum Erfassen von Messdaten (MD) über den Tremor;
eine Auswertungseinrichtung (30) zum autarken Auswerten der Messdaten (MD) und Bereitstellen von Auswertungsdaten (AD);
eine Speichereinrichtung (40) zum Speichern der Messdaten (MD) oder der Auswertungsdaten (AD);
eine Anzeigeeinrichtung (50) zum Anzeigen der Auswertungsdaten (AD);
eine Aktivierungseinrichtung (60) und eine Batterie (70);
(Fig.1)
1/31
Tremitas GmbH
9020 Klagenfurt
Unser Zeichen: 0551 0001 P-AT
Vorrichtung zum Erfassen und Auswerten von Tremor
Die Erfindung betrifft eine Vorrichtung zum Erfassen und Auswerten von Tremor im Hand- oder Armbereich eines Patienten, die bei der Benutzung in nur einer Hand des Patienten gehalten wird. Die Erfindung betrifft ferner ein Verfahren zum Erfassen und Auswerten von Tremor im Hand- oder Armbereich eines Patienten.
Als Tremor wird das unwillkürliche, sich rhythmisch wiederholende Zusammenziehen einander entgegenwirkender Muskelgruppen bezeichnet. Es gibt verschiedene Arten von Tremor, die verschiedene Ursachen haben können. So wird beispielsweise unter anderem zwischen psychogenem Tremor, meist verursacht durch psychische Störungen, essentiellem Tremor, meist verursacht durch Gendefekte oder Parkinsontremor, verursacht durch die Parkinsonkrankheit, unterschieden. Für einen Menschen ist es allerdings nahezu unmöglich die einzelnen Arten von Tremor nur durch menschliche Beobachtung zu unterscheiden. Um Fehldiagnosen zu vermeiden, wird versucht, anhand von sensorischen Messungen eine objektive Diagnostik oder Quantifizierung zur Verfügung zu stellen, bei der die verschiedenen Arten des Tremors beziehungsweise deren Stärke erfasst werden können.
Stand der Technik ist es unter anderem, Tremor mit Hilfe einer im Wesentlichen in Form eines Schreibgeräts ausgebildeten Vorrichtung zu erfassen, wie es AT 515 976 B1 offenbart. Die Vorrichtung umfasst wenigstens einen Drucksensor im Griffbereich, wenigstens einen gyroskopischen Sensor und wenigstens einen Beschleunigungssensor und einen Sensor zum Messen des Hautwiderstands. Die mit der Vorrichtung aufgenommenen Daten können überein Übertragungsmittel an einen Computer übergeben werden, wo sie ausgewertet werden können.
Allerdings muss der Computer mit einer entsprechenden Software ausgestattet sein und zum Auswerten der Daten von einem Fachmann mit Erfahrung in Technik und Diagnostik betrieben werden.
2/31
Der Erfindung liegt die Aufgabe zugrunde, eine Vorrichtung zum Erfassen und Auswerten von Tremor zu schaffen, mit der eine effiziente, objektive Diagnose oder Quantifizierung möglich ist.
Die Aufgabe wird durch eine Vorrichtung nach Anspruch 1 und ein Verfahren nach Anspruch 12 gelöst.
Die erfindungsgemäße Vorrichtung zum Erfassen und Auswerten von Tremor im Hand- oder Armbereich eines Patienten, die bei der Benutzung in nur einer Hand des Patienten gehalten wird, umfasst ein sich in einer Längsrichtung erstreckendes Gehäuse, das im wesentlichen rohrförmig ausgestaltet ist und einen in der Längsrichtung vorderen Abschnitt, einen in der Längsrichtung mittleren Abschnitt und einen in der Längsrichtung hinteren Abschnitt. Das Gehäuse bildet in dem vorderen Abschnitt wenigstens einen ersten Abstützpunkt für das dritte Fingerglied (Phalanx distalis) von wenigstens einem Finger der Hand des Patienten und in dem hinteren Abschnitt wenigstens einen zweiten Abstützpunkt in dem Zwischenraum zwischen Daumen und Zeigefinger der Hand des Patienten. Die Vorrichtung umfasst einen Beschleunigungssensor zum Erfassen von Messdaten über den Tremor, der in dem Gehäuse angeordnet ist, eine Auswertungseinrichtung zum autarken Auswerten der Messdaten und Bereitstellen von Auswertungsdaten, die in dem Gehäuse angeordnet ist, eine Speichereinrichtung zum Speichern der Messdaten und/oder der Auswertungsdaten, die in dem Gehäuse angeordnet ist, eine Anzeigeeinrichtung zum Anzeigen der Auswertungsdaten, die an dem Gehäuse angeordnet ist, eine Aktivierungseinrichtung zum Aktivieren von zumindest dem Beschleunigungssensor, der Auswertungseinrichtung, der Speichereinrichtung und/oder der Anzeigeeinrichtung, die an dem Gehäuse angeordnet ist, und eine Batterie zum Versorgen von zumindest dem Beschleunigungssensor, der Auswertungseinrichtung, der Speichereinrichtung, der Anzeigeeinrichtung und/oder der Aktivierungseinrichtung mit elektrischer Energie.
Das rohrförmige Gehäuse erinnert an die Form eines Schreibgerätes, wodurch es für den Patienten intuitiv zu greifen ist.
Für eine optimale Messung des Tremors wird die Vorrichtung locker in den Fingern eines Patienten gehalten. Durch das Abstützen der Vorrichtung an dem zweiten Abstützpunkt, wird das Halten der Vorrichtung an dem ersten Abstützpunkt
3/31 unterstützt und beugt einem unnatürlichen Krafteinfluss durch die Griffkraft oder Verkrampfen der Finger vor.
Durch die integrierte Auswertungseinrichtung sind keine separate Auswertungseinrichtung oder sonstige weitere externe Komponenten nötig. Der Patient kann demnach auf einfache Weise selbst Messdaten aufnehmen, welche durch die Auswertungseinrichtung aufbereitet und ausgewertet werden. Ein technisch und/oder medizinisch versierter Fachmann ist somit in einem ersten Schritt nicht nötig. Für eine endgültige Diagnose oder Therapieentscheidung kann ein Arzt mit Hilfe der durch die Vorrichtung gemessenen und ausgewerteten Daten unterstützt werden.
Die Vorrichtung ist zweckmäßigerweise als sogenanntes Handheld Device ausgebildet, welches in einer Hand bedient werden kann.
Die Aktivierungseinrichtung dient zusätzlich als Orientierungshilfe beim Ausrichten der Vorrichtung während des Messens. Beispielsweise ist die Vorrichtung während des Messens regelmäßig derart zu halten, dass die Aktivierungsvorrichtung nach oben zeigt. Auf diese Weise ist die Vorrichtung bei jeder Benutzung gleich ausgerichtet, was die Genauigkeit der Messungen erhöht.
Vorteilhaft ist der Beschleunigungssensor in dem vorderen Abschnitt angeordnet.
Somit ist der Beschleunigungssensor in der Nähe des ersten Abstützpunkts angeordnet, an dem das dritte Fingerglied (Phalanx distalis) von wenigstens einem Finger der Hand des Patienten an der Vorrichtung anliegt. Der Weg zwischen Beschleunigungssensor und den Fingern ist auf diese Weise möglichst gering und ungedämpft. Je stärker ein Wert ist, den der Beschleunigungssensor messen kann, desto geringer fallen externe Störeffekte, wie beispielsweise das Grundzittern des Patienten, ins Gewicht. Die Qualität der Messdaten des Beschleunigungssensors kann somit verbessert werden.
Durch die Verbesserung der Qualität der Messdaten des Beschleunigungssensors, werden beispielsweise Daten von weiteren Sensoren, wie insbesondere Sensoren des Hautwiderstands, Drucksensoren oder gyroskopische Sensoren überflüssig. Je weniger Sensoren vorhanden sein müssen, desto kostengünstiger kompakter lässt sich die Vorrichtung herstellen.
4/31
Vorteilhaft ist die Aktivierungseinrichtung als Druckknopf ausgestaltet.
Ein Druckknopf stellt, die einfachste und bekannteste Ausgestaltung einer Aktivierungseinrichtung dar. Auch der durchschnittliche Benutzer kann diesen intuitiv benutzen. Außerdem erleichtert das haptische Feedback des Druckknopfes die Bedienbarkeit der Vorrichtung.
Vorteilhaft umfassen die Auswertungsdaten eine Amplitude des Tremors oder eine Frequenz des Tremors oder einen Energiegehalt des Tremors.
Die Amplitude des Tremors stellt die Beschleunigung des Tremors in g-Kraft, insbesondere milli-g dar. Beispielsweise liegt das Grundzittern eines gesunden Menschen im Bereich von 3 milli-g, während bei einem Tremor die Amplitude im Bereich von 20 bis 300 milli-g liegt. Zusätzlich werden die Frequenz des Tremors und der Energiegehalt des Tremors ausgewertet. Aufgrund der vorliegenden Daten kann ein Hinweis auf die Art des Tremors gegeben werden.
Vorteilhaft umfasst die Vorrichtung eine Schnittstelle, zweckmäßigerweise eine drahtlose Schnittstelle, zum Übertragen der Auswertungsdaten.
Die ausgewerteten Daten werden auf der Vorrichtung gespeichert. Zweckmäßigerweise finden die Messung und Auswertung des Tremors über einen längeren Zeitraum, beispielsweise mehrere Wochen statt. Die endgültige Diagnose und Art der Behandlung soll jedoch abschließend von einer medizinischen Fachkraft festgestellt werden. Durch die Schnittstelle, können die gemessenen und/oder ausgewerteten Daten an die medizinische Fachkraft übersendet werden, welche die Daten erneut evaluieren kann, was zu einer optimalen Diagnose und folglich zu einer optimalen Behandlung führen soll.
Vorteilhaft umfasst die Vorrichtung einen Lautsprecher zum Ausgeben von akustischen Signalen.
Um die Bedienbarkeit der Vorrichtung weiter zu verbessern und sie insbesondere intuitiver zu gestalten, kann die Vorrichtung akustische Signale ausgeben. Akustisches Feedback gibt dem Patienten eine Bestätigung für die korrekte Bedienung der Vorrichtung. Beispielsweise gibt der Lautsprecher ein akustisches Signal aus, wenn die Vorrichtung aktiviert und/oder deaktiviert wird, wenn die
5/31
Messung beginnt und/oder endet und/oder wenn die Auswertung der gemessenen Daten beginnt und/oder endet.
Zusätzlich kann der Lautsprecher eine bestimmte Reihenfolge von akustischen Signalen ausgeben, um beispielsweise Fehlercodes zu signalisieren, wie zum Beispiel einen niedrigen Ladezustand der Batterie, ein Fehler in der Messung oder Auswertung.
Vorteilhaft weist das Gehäuse eine Länge zwischen 10 cm und 20 cm, insbesondere zwischen 14 cm und 17 cm, in der Längsrichtung auf und zweckmäßigerweise einen Durchmesserzwischen 10 mm und 40 mm, insbesondere zwischen 15 mm und 30 mm auf, wobei zweckmäßigerweise der vordere Abschnitt zwischen 10% und 60% der Länge aufweist, der mittlere Abschnitt zwischen 10% und 60% der Länge aufweist und der hintere Abschnitt zwischen 10% und 60% der Länge aufweist, wobei ferner zweckmäßigerweise das Gehäuse zumindest in dem vorderen Abschnitt sich in der Längsrichtung konisch verjüngend ausgestaltet ist.
Die Abmessungen des Gehäuses der Vorrichtung sind entsprechend der Anwendung optimiert. Die Länge des Gehäuses ist mindestens so lang, dass es bei üblichen Handgroßen möglich ist, das dritte Fingerglied (Phalanx distalis) von wenigstens einem Finger der Hand des Patienten an dem ersten Abstützpunkt abzustützen und der zweite Abstützpunkt in dem Zwischenraum zwischen Daumen und Zeigefinger der Hand des Patienten abstützt. Ist die Länge des Gehäuses allerdings zu groß, verlagert sich der Schwerpunkt der Vorrichtung weg von dem ersten und zweiten Abstützpunkt. Dieser Effekt hat durch seine Hebelwirkung zu dem ersten und zweiten Abstützpunkt eine erhebliche negative Auswirkung auf die Qualität der Messung. Am bevorzugtesten hat sich eine Länge von 16 cm herausgestellt.
Das Gehäuse weist einen Durchmesser auf, der für eine übliche Fingergröße eines Patienten gut greifbar ist. Allerdings haben Patienten, welche die Vorrichtung benutzen, häufig feinmotorische Einschränkungen. Der Durchmesser des Gehäuses ist deshalb groß genug, dass Patienten mit feinmotorischen Einschränkungen das Gehäuse sicher greifen können.
6/31
Das Gehäuse der Vorrichtung verjüngt sich in dem vorderen Abschnitt in der Längsrichtung. Die Form des Gehäuses erinnert dadurch der Form eines üblichen Schreibgeräts und erlaubt es dem Patienten intuitiv wahrzunehmen, wie die Vorrichtung zu halten ist. Am bevorzugtesten hat sich ein Durchmesser von 20 mm herausgestellt.
Der vordere, mittlere und hintere Abschnitt muss nicht gleichmäßig auf die Länge der Vorrichtung verteilt sein. Je nach Ausgestaltung kann jeder der Abschnitte 10% bis 60% der Länge der Vorrichtung aufweisen.
Vorteilhaft umfasst die Vorrichtung eine Platine, auf welcher der Beschleunigungssensor, die Auswertungseinrichtung, die Speichereinrichtung, die Anzeigeeinrichtung, die Aktivierungseinrichtung, die Batterie, die drahtlose Schnittstelle oder der Lautsprecher angeordnet sind, wobei zweckmäßigerweise die Platine formschlüssig und/oder kraftschlüssig in dem Gehäuse gehalten ist und wobei ferner zweckmäßigerweise das Gehäuse wenigstens eine Führungsschiene zum Aufnehmen der Platine aufweist.
Die Anordnung des Beschleunigungssensors, der Auswertungseinrichtung, der Speichereinrichtung und/oder der Batterie auf einer Platine vereinfacht die Kommunikation unter den einzelnen Elementen. Damit eine möglichst optimale Messung durch den Beschleunigungssensor sichergestellt wird, ist die Platine formschlüssig und/oder kraftschlüssig in dem Gehäuse gehalten. Eine besondere bevorzugte Methode ist das Vorsehen einer Führungsschiene zum Aufnehmen der Platine in dem Gehäuse. Nach dem Herstellen des Gehäuses kann die Platine über die Führungsschiene einfach in das Gehäuse geschoben werden. Anschließend wird die Platine mit der Führungsschiene formschlüssig und/oder kraftschlüssig verbunden, um einen sicheren Halt zu gewährleisten.
Vorteilhaft sind die Anzeigeeinrichtung in dem mittleren Abschnitt und zweckmäßigerweise die Batterie in dem hinteren Abschnitt angeordnet, wobei zweckmäßigerweise das Gehäuse mit wenigstens einer Öffnung zur Aufnahme der Anzeigeeinrichtung, der Aktivierungseinrichtung und/oder des Lautsprechers versehen ist.
7/31
Zweckmäßigerweise kann auch die Anzeigeeinrichtung, die Aktivierungseinrichtung und/oder der Lautsprecher direkt an dem Gehäuse angeordnet sein und durch eine Verbindung, insbesondere eine Kabelverbindung, mit der Platine im inneren der Vorrichtung verbunden sein. In diesem Fall ist für das jeweilige Element keine Öffnung im Gehäuse notwendig.
Die Anzeigeeinrichtung kann zweckmäßigerweise auch während des Messvorgangs einsehbar sein. Der mittlere Abschnitt der Vorrichtung ist während des Messvorgangs kaum durch die Hand und nicht durch Finger des Patienten verdeckt. Das Anordnen der Anzeigeeinrichtung im mittleren Abschnitt ermöglicht es dem Patienten somit auch während des Messvorgangs die darauf angezeigten Daten einzusehen. Obwohl es naheliegt, die Aktivierungseinrichtung und die Anzeigeeinrichtung nebeneinander anzuordnen, kann die Anzeigeeinrichtung auch auf dem Gehäuse versetzt angeordnet werden, sodass bei Bedienung der Vorrichtung während des Messvorgangs die Aktivierungseinrichtung zur Ausrichtung der Vorrichtung nach oben zeigt und die Anzeigeeinrichtung derart versetzt ist, dass der Patient diese in geradem Winkel einsehen kann.
Die Batterie weist ein hohes Gewicht im Vergleich zu den weiteren Komponenten der Vorrichtung auf. Deshalb ist es vorteilhaft die Batterie in dem hinteren Abschnitt anzuordnen. Dort unterstützt das Gewicht der Batterie das Abstützen der Vorrichtung am zweiten Abstützpunkt an dem Zwischenraum zwischen Daumen und Zeigefinger der Hand des Patienten.
Vorteilhaft weist das Gehäuse einen abnehmbaren Deckel zum Einlegen der Batterie auf, wobei zweckmäßigerweise die Platine durch den Deckel in dem Gehäuse eingespannt ist.
Vorteilhaft besteht das Gehäuse aus Kunststoff, insbesondere Polykarbonat.
Kunststoff ermöglicht es dem Gehäuse eine bevorzugte Mischung aus Stabilität und Gewicht zu erreichen. Ein bevorzugtes Gewicht des Gehäuses beträgt 35 Gramm.
Das erfindungsgemäße Verfahren zum Erfassen und Auswerten von Tremor im Hand- oder Armbereich eines Patienten mit Hilfe von der oben genannten Vorrichtung, umfasst die Schritte:
Aktivieren der Vorrichtung mittels der Aktivierungseinrichtung;
8/31
Halten der Vorrichtung derart, dass das dritte Fingerglied (Phalanx distalis) von wenigstens einem Finger der Hand des Patienten an dem wenigstens einen ersten Abstützpunkt, den das Gehäuse bildet, und der hintere Abschnitt des Gehäuses in dem Zwischenraum zwischen Daumen und Zeigefinger der Hand des Patienten an dem wenigstens einen zweiten Abstützpunkt, den das Gehäuse bildet, abgestützt wird;
Messen von Messdaten überden Tremor mittels des Beschleunigungssensors;
Auswerten der Messdaten und Bereitstellen von Auswertungsdaten mittels der Auswertungseinrichtung während einer vorbestimmten Auswertungsdauer;
Speichern der Messdaten oder der Auswertungsdaten mittels der Speichereinrichtung;
Anzeigen der Auswertungsdaten mittels der Anzeigeeinrichtung für eine vorbestimmte Anzeigedauer; und
Deaktivieren der Vorrichtung nach Ablauf der Anzeigedauer.
Das Verfahren zeichnet sich durch seine intuitive Führung des Patienten durch die einzelnen Verfahrensschritte aus. Zudem bietet das Verfahren eine kompakte, zeiteffiziente Möglichkeit den Tremor eines Patienten zu messen und autark auszuwerten. Für den Patienten entspricht die Komplexität der Anwendung der Vorrichtung und des Verfahrens in etwa der Komplexität der Anwendung eines üblichen Fieberthermometers.
Das Verfahren ermöglicht eine autarke Messung und Auswertung des Tremors eines Patienten. Externe Komponenten sind somit nicht nötig.
Außerdem wird der Patient nicht gezwungen die Vorrichtung während der Messung zu bewegen. Ein Zeichnen von Formen, wie es bei bekannten Messverfahren eines Tremors üblich ist, entfällt. Der Patient muss während der Messdauer die Vorrichtung lediglich entspannt und unbelastet in der vorgesehenen Position halten.
Vorteilhaft werden die Messdaten durch die Auswertungseinrichtung gefiltert und zweckmäßigerweise von dem Zeitbereich in den Frequenzbereich transformiert.
9/31
Die Auswertungseinrichtung filtert unnötige oder störende Teile der Messdaten aus. Die restlichen relevanten Daten werden dann direkt ausgewertet oder abhängig von den auszuwertenden Auswertungsdaten zuerst von dem Zeitbereich in den Frequenzbereich transformiert, um effizienter weiterverarbeitet zu werden.
Vorteilhaft beträgt die Messdauer weniger als 60 Sekunden, insbesondere weniger als 40 Sekunden. In der Praxis hat sich eine Messdauer von ca. 30 Sekunden als besonders geeignet herausgestellt. Zweckmäßigerweise beträgt die Auswertungsdauerweniger als 10 Sekunden. Die Anzeigedauer beträgt bevorzugt wenigstens 20 Sekunden, insbesondere mehr als 45 Sekunden, beträgt. Eine Anzeigedauer von ca. 30 Sekunden hat sich jedoch in vielen Fällen als besonders praxisgerecht herausgestellt.
Der gesamte Mess-, Auswerte- und Anzeigevorgang hält somit einen überschaubaren zeitlichen Rahmen ein. Die Messdauer und die Auswertungsdauer sollen so kurz wie möglich sein, jedoch ist eine gewisse Messdauer für ein belastbares Messergebnis nötig und die Auswertungsdauer abhängig von der Rechenleistung der Auswertungseinrichtung und der Komplexität der auszuwertenden Daten. Die Anzeigedauer kann je nach Präferenz eingestellt werden.
Zweckmäßigerweise wird durch den Lautsprecher zu Beginn der Messdauer und/oder zu Beginn Auswertungsdauer und/oder zu Beginn der Anzeigedauer wenigstens ein akustisches Signal abgegeben, wobei zweckmäßigerweise wenigstens ein weiteres akustisches Signal am Ender der Messdauer und/oder am Ende der Auswertungsdauer und/oder am Ende der Anzeigedauer abgegeben wird. Akustisches Feedback gibt dem Patienten zusätzliche zu der Anzeigeeinrichtung Feedback und stellt eine Bestätigung für die korrekte Bedienung der Vorrichtung dar.
Ein Ausführungsbeispiel wird im Folgenden anhand der beigefügten Zeichnungen näher erläutert. Darin zeigt:
Fig. 1 eine Draufsicht auf die Vorrichtung im geöffneten Querschnitt;
Fig. 2 eine Draufsicht auf die Vorrichtung;
10/31
Fig. 3 eine Perspektivansicht der Vorrichtung mit geöffnetem Deckel;
Fig. 4 die Vorrichtung gehalten in der Hand eines Patienten während des Messvorgangs; und
Fig. 5a und 5b jeweils ein Flussdiagramm eines Mess-/Auswertungsvorgangs der Vorrichtung.
Fig. 1 zeigt eine Draufsicht der Vorrichtung 1 zum Erfassen und Auswerten von Tremor im geöffneten Querschnitt, umfassend das Gehäuse 10. Die Vorrichtung 1 ist aufgeteilt in einen vorderen Abschnitt 11, einen mittleren Abschnitt 12 und einen hinteren Abschnitt 13. Auf einer Platine 100, die sich innerhalb des vorderen Abschnitts 11, des mittleren Abschnitts 12 und des hinteren Abschnitts 13 erstreckt, sind ein Beschleunigungssensor 20, eine Auswertungseinrichtung 30, eine Speichereinrichtung 40, eine Anzeigeeinrichtung 50, eine Aktivierungseinrichtung 60 in Form eines Druckknopfes, eine Batterie 70, eine drahtlose Schnittstelle 80 und ein Lautsprecher 90 angeordnet. Die jeweiligen Elemente werden durch eine Steuereinrichtung (nicht gezeigt) gesteuert. Die Auswertungseinrichtung 30 und die Speichereinrichtung 40 können je nach Anwendungsfall auch in einem gemeinsamen Chip verbaut sein.
Der Beschleunigungssensor 20 ist derart auf der Platine 100 platziert, dass er im vorderen Abschnitt 11 der Vorrichtung 1 angeordnet ist.
Während des Messens erfasst der Beschleunigungssensor 20 Messdaten MD über den Tremor, welche von der Auswertungseinrichtung 30 autark ausgewertet werden. Die Auswertungseinrichtung 30 stellt dann Auswertungsdaten AD bereit. Die Auswertungsdaten AD können daraufhin in der Speichereinrichtung 40 gespeichert werden.
Im hinteren Abschnitt 13 der Vorrichtung 1 ist die Batterie 70 angeordnet, welche die Platine 100 und alle darauf befindlichen weiteren Elemente mit elektrischer Energie versorgt.
Das Gehäuse 10 weist eine Länge L und einen Durchmesser d auf. Die Länge L beträgt 16 cm und der Durchmesser d beträgt 20 mm.
Im vorderen Abschnitt 13 verjüngt sich das Gehäuse 10 in Längsrichtung x konisch.
11/31
Fig. 2 zeigt eine Draufsicht der Vorrichtung 1 in geschlossenem Zustand. Ein Deckel 18 zum Öffnen und Schließen des Gehäuses 10 ist in dem hinteren Abschnitt 13 angeordnet. Die Aktivierungseinrichtung 60 und die Anzeigeeinrichtung 50 sind, wie Fig. 3 zu erkennen gibt, in Öffnungen 16,17 des Gehäuses 10 im mittleren Abschnitt 12 angeordnet und somit von außen sichtbar. Im vorderen Abschnitt 11 weist das Gehäuse Vertiefungen 19 auf, welche als Anlageflächen für die Finger der Patienten dienen sollen.
Fig. 3 zeigt eine Perspektivansicht der Vorrichtung 1, wobei der Deckel 18 zum Öffnen der Vorrichtung 1 entfernt ist. Das Gehäuse 10 weist Führungsschienen 14, 15 auf, in welchen die Platine 100 in das Gehäuse 10 eingeschoben ist. Zum Befestigen der Platine 100 an dem Gehäuse 10 ist die Platine 100 stoffschlüssig, beispielsweise durch Verkleben, und/oder kraftschlüssig, etwa vorteilhafterweise durch ein Einklemmen mittels des Deckels 18, an dem Gehäuse 10 befestigt.
Fig. 4 zeigt die Vorrichtung 1 gehalten in der Hand H eines Patienten während des Messvorgangs. Der Patient greift die Vorrichtung 1 mit den Fingern seiner Hand, sodass die Vorrichtung 1 mit dem vorderen Abschnitt 11 an dem dritten Fingerglied (Phalanx distalis) von wenigstens einem Finger F der Hand H des Patienten an dem ersten Abstützpunkt AP1 abgestützt ist. Dabei wird die Vorrichtung 1 in dem hinteren Abschnitt 13 an einem zweiten Abstützpunkt AP2 in dem Zwischenraum zwischen Daumen D und Zeigefinger Z der Hand H des Patienten abgestützt. Diese Position wird entsprechend Messposition genannt.
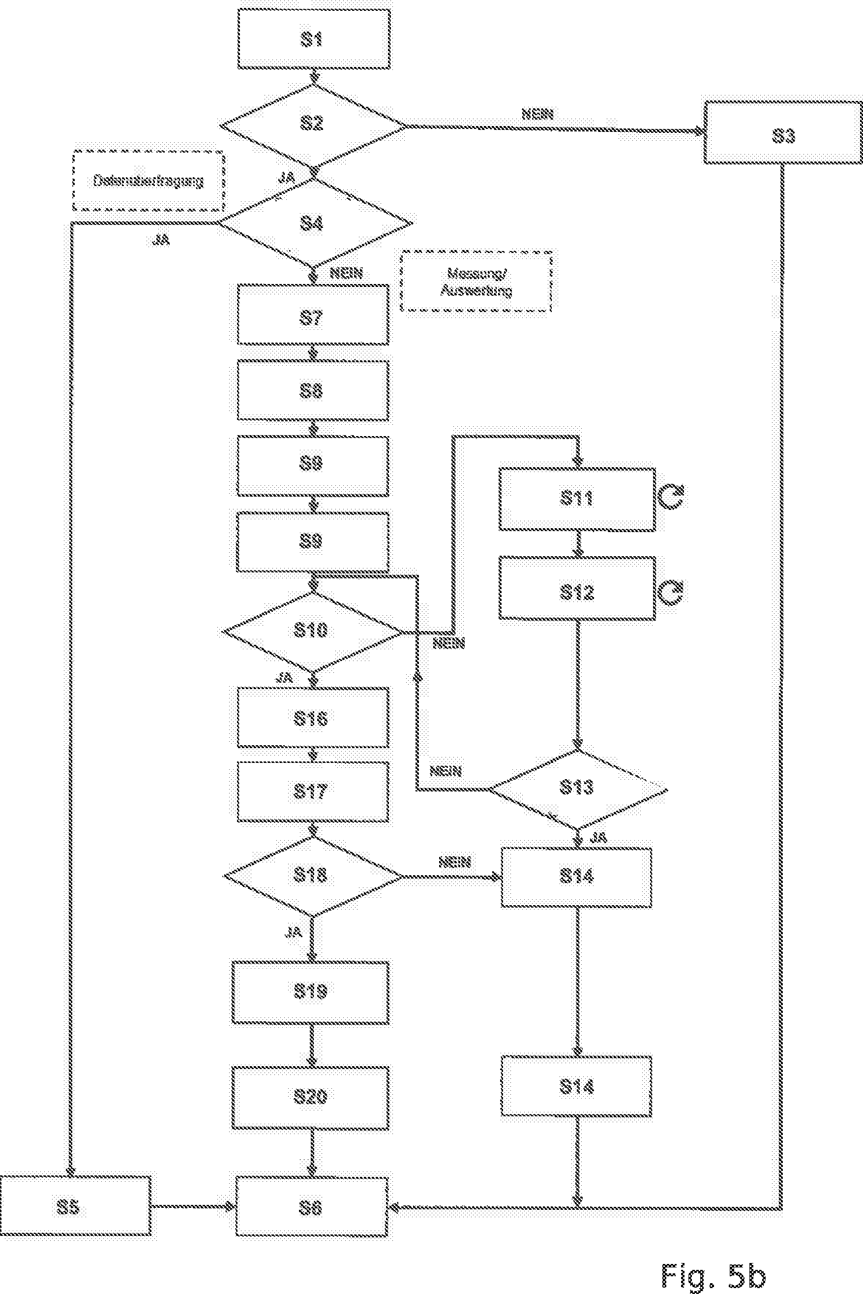
Die Fig. 5a und 5b zeigen jeweils ein Flussdiagramm eines Mess/Auswertungsvorgangs der Vorrichtung 1. In Schritt S1 wird der Druckknopf 60 der Vorrichtung 1 betätigt. Anschließend wird in einem Schritt S2 geprüft, ob die Ladung der Batterie 70 für einen Mess-/Auswerteprozess ausreicht.Falls die Ladung der Energie nicht ausreicht gibt der Lautsprecher 90 in Schritt S3 ein akustisches Signal von Typ 2 aus, wobei ein akustisches Signal von Typ 2 mehrere schnell hintereinander ab folgende Töne sind. Das Verfahren geht anschließend zu Schritt S6 und die Vorrichtung 1 wird deaktiviert.
Falls die Ladung der Batterie 70 für einen Mess-/Auswerteprozess ausreicht, gibt der Lautsprecher 90 kein akustisches Signal von Typ 2 aus und der Patient kann in Schritt S4 der Druckknopf 60 für mindestens fünf Sekunden, also lange, drücken,
12/31 um eine Datenübertragung, vorteilhafterweise mittels Bluetooth, einzuleiten. Folglich werden in Schritt S5 in der Speichereinrichtung 40 gespeicherte, noch nicht übermittelte Auswertungsdaten AD über die drahtlose Schnittstelle 80 an eine externe Datenverarbeitungsvorrichtung übermittelt. Das Verfahren springt danach zu Schritt S6 und die Vorrichtung 1 wird deaktiviert.
Wird hingegen in Schritt S4 der Druckknopf 60 nicht lange, sondern nur kurz gedrückt, springt das Verfahren zu Schritt S7. Je nach Ausgestaltung ist es möglich, dass auch in diesem Fall die Auswertungsdaten AD parallel über die drahtlose Schnittstelle 80 an eine externe Datenverarbeitungsvorrichtung übermittelt werden. In Schritt S7 wird weitere fünf Sekunden lang gewartet, damit der Patient Vorbereitungszeit hat, um die Vorrichtung 1 anleitungsgemäß in der Messposition zu halten. Anschließend wird mit Schritt S8 fortgefahren.
In Schritt S8 gibt der Lautsprecher 90 ein akustisches Signal von Typ 1 aus, das anzeigt, dass die Messung beginnt. Das akustische Signal von Typ 1 zeichnet sich durch die Wiedergabe eines einzelnen Tons aus. Anschließend wird mit Schritt S9 fortgefahren.
In Schritt S9 erfasst der Beschleunigungssensor 20 Messdaten MD über den Tremor. Das Erfassen der Messdaten MD dauert eine Messdauer T1 von ca. 30 Sekunden. Innerhalb der Messdauer T1 beginnt die Auswertungseinrichtung 30 bereits erfasste Messdaten MD auszuwerten. Das Verfahren springt zu Schritt S10.
In Schritt S10 wird überprüft, ob die Messdauer T1 bereits abgelaufen ist. Ist Die Messdauer T1 noch nicht abgelaufen springt das Verfahren zu Schritt S11.
In Schritt S11 werden je 100 Messdaten MD durch die Auswertungseinrichtung 30 mittels Windowing gefiltert, das heißt gefenstert. Anschließend springt das Verfahren zu Schritt S12.
In Schritt S12 werden die je 100 zuvor in Schritt S11 gefensterten Messdaten MDdurch die Auswertungseinrichtung 30 Fourier transformiert. Anschließend springt das Verfahren zu Schritt S13.
Für jedes Teilergebnis wird in Schritt S13 überprüft, ob ein sogenannter Overflow vorliegt, also ob ein Teilergebnis derart unrealistisch erscheint, dass es sich um einen Messfehler handelt, der wahrscheinlich durch eine Fehlbenutzung der 12
13/31
Vorrichtung 1 hervorgerufen wurde. Solch ein Messfehler kann sowohl durch ein unrealistisch zu hohes, als auch eine unrealistisch zu niedriges Teilergebnis auftreten. Tritt solch eine Overflow auf, springt das Verfahren zu Schritt S14.
In Schritt S14 gibt der Lautsprecher 90 ein akustisches Signal von Typ 2 aus. Es wird zudem festgestellt, dass ein Messfehler aufgetreten ist, die Messdaten MD werden verworfen, und das Verfahren springt zu Schritt S6, in dem die Vorrichtung 1 deaktiviert wird.
Tritt in Schritt S13 kein Overflow auf und ist die Messdauer T1 in Schritt S10 abgelaufen, dann springt das Verfahren zu Schritt S16.
In Schritt S16 gibt der Lautsprecher 90 ein akustisches Signal vom Typ 1 aus und das Erfassen von Messdaten MD durch den Beschleunigungssensor 20 wird beendet. Anschließend springt das Verfahren zu Schritt S 17.
In Schritt S17 ermittelt die Auswertungseinrichtung 30 für den Auswertungszeitraum T2 verschiedene Auswertungsdaten AD, wie die Amplitude des Tremors, die Frequenz des Tremors und/oder der Energiegehalt beziehungsweise die Energie des Tremors. Anschließend springt das Verfahren zu Schritt S18.
In Schritt S18 wird überprüft, ob die Messung und Auswertung in Ordnung ist. Falls ein Fehler realistisch erscheint, springt das Verfahren zu Schritt S14, ein akustisches Signal von Typ 2 wird ausgegeben, die Messung wird verworfen und die Vorrichtung 1 wird in Schritt S6 deaktiviert. Stellt sich die Messung und Auswertung als in Ordnung heraus, spring das Verfahren zu schritt S19.
In Schritt S19 wird von sämtlichen Auswertungsdaten AD bevorzugt nur ein einziger Parameter des Tremors, etwa die Amplitude, in der Einheit mg, die Frequenz oder die Energie, in der Einheit mJ, mittels der Anzeigeeinrichtung 50 für einen Anzeigezeitraum T3 von vorzugsweise ca. 30 Sekunden ausgegeben. Die weiteren Auswertungsdaten AD werden nicht angezeigt.
Zeitgleich werden in Schritt S20 sämtliche Auswertungsdaten AD in der Speichereinrichtung 40 gespeichert. Das Verfahren springt anschließend zu Schritt S6, und die Vorrichtung 1 wird deaktiviert.
14/31
Bezugszeichenliste
| 10 | Gehäuse | AP1 | erster Abstützpunkt |
| 11 | vorderer Abschnitt | AP2 | zweiter Abstützpunkt |
| 12 | mittlerer Abschnitt | H | Hand |
| 13 | hinterer Abschnitt | F | Finger |
| 14 | Führungsschiene | Z | Zeigefinger |
| 15 | Führungsschiene | D | Daumen |
| 16 | Öffnung | L | Länge |
| 17 | Öffnung | d | Durchmesser |
| 18 | Deckel | MD | Messdaten |
| 19 | Vertiefung | AD | Auswertungsdaten |
| 20 | Beschleunigungssensor | X | Längsrichtung |
| 30 | Auswertungseinrichtung | T1 | Messdauer |
| 40 | Speichereinrichtung | T2 | Auswertungsdauer |
| 50 | Anzeigeeinrichtung | T3 | Anzeigedauer |
| 60 | Aktivierungseinrichtung | ||
| 70 | Batterie | ||
| 80 | drahtlose Schnittstelle | ||
| 90 | Lautsprecher | ||
| 100 | Platine |
15/31
Claims (31)
1. Vorrichtung zum Erfassen und Auswerten von Tremor im Hand- oder Armbereich eines Patienten, die bei der Benutzung in nur einer Hand (H) des Patienten gehalten wird und umfasst:
ein sich in einer Längsrichtung (x) erstreckendes Gehäuse (10), das im wesentlichen rohrförmig ausgestaltet ist und einen in der Längsrichtung (x) vorderen Abschnitt (11), einen in der Längsrichtung (x) mittleren Abschnitt (12) und einen in der Längsrichtung (x) hinteren Abschnitt (13) aufweist;
einen Beschleunigungssensor (20) zum Erfassen von Messdaten (MD) über den Tremor, der in dem Gehäuse (10) angeordnet ist, und eine Batterie (70);
gekennzeichnet durch eine Auswertungseinrichtung (30) zum autarken Auswerten der Messdaten (MD) und Bereitstellen von Auswertungsdaten (AD), die in dem Gehäuse (10) angeordnet ist;
eine Speichereinrichtung (40) zum Speichern der Messdaten (MD) oder der Auswertungsdaten (AD), die in dem Gehäuse (10) angeordnet ist;
eine Anzeigeeinrichtung (50) zum Anzeigen der Auswertungsdaten (AD), die an dem Gehäuse (10) angeordnet ist, und eine Aktivierungseinrichtung (60) zum Aktivieren von zumindest dem Beschleunigungssensor (20), der Auswertungseinrichtung (30), der Speichereinrichtung (40) oder der Anzeigeeinrichtung (50), die an dem Gehäuse (10) angeordnet ist;
wobei das Gehäuse (10) in dem vorderen Abschnitt (11) wenigstens einen ersten Abstützpunkt (AP1) für das dritte Fingerglied (Phalanx distalis) von wenigstens einem Finger (F) der Hand (H) des Patienten und in dem hinteren Abschnitt (13) wenigstens einen zweiten Abstützpunkt (AP2) in dem Zwischenraum zwischen Daumen (D) und Zeigefinger (Z) der Hand (H) des Patienten bildet, und wobei die Batterie (70) dazu dient, zumindest den Beschleunigungssensor (20), die Auswertungseinrichtung (30), die
1. Vorrichtung zum Erfassen und Auswerten von Tremor im Hand- oder Armbereich eines Patienten, die bei der Benutzung in nur einer Hand (H) des Patienten gehalten wird und umfasst:
ein sich in einer Längsrichtung (x) erstreckendes Gehäuse (10), das im wesentlichen rohrförmig ausgestaltet ist und einen in der Längsrichtung (x) vorderen Abschnitt (11), einen in der Längsrichtung (x) mittleren Abschnitt (12) und einen in der Längsrichtung (x) hinteren Abschnitt (13) aufweist, wobei das Gehäuse (10) in dem vorderen Abschnitt (11) wenigstens einen ersten Abstützpunkt (AP1) für das dritte Fingerglied (Phalanx distalis) von wenigstens einem Finger (F) der Hand (H) des Patienten und in dem hinteren Abschnitt (13) wenigstens einen zweiten Abstützpunkt (AP2) in dem Zwischenraum zwischen Daumen (D) und Zeigefinger (Z) der Hand (H) des Patienten bildet;
einen Beschleunigungssensor (20) zum Erfassen von Messdaten (MD) über den Tremor, der in dem Gehäuse (10) angeordnet ist;
eine Auswertungseinrichtung (30) zum autarken Auswerten der Messdaten (MD) und Bereitstellen von Auswertungsdaten (AD), die in dem Gehäuse (10) angeordnet ist;
eine Speichereinrichtung (40) zum Speichern der Messdaten (MD) oder der Auswertungsdaten (AD), die in dem Gehäuse (10) angeordnet ist;
eine Anzeigeeinrichtung (50) zum Anzeigen der Auswertungsdaten (AD), die an dem Gehäuse (10) angeordnet ist;
eine Aktivierungseinrichtung (60) zum Aktivieren von zumindest dem Beschleunigungssensor (20), der Auswertungseinrichtung (30), der Speichereinrichtung (40) oder der Anzeigeeinrichtung (50), die an dem Gehäuse (10) angeordnet ist, und eine Batterie (70) zum Versorgen von zumindest dem Beschleunigungssensor (20), der Auswertungseinrichtung (30), der Speichereinrichtung (40), der Anzeigeeinrichtung (50) oder der Aktivierungseinrichtung (60) mit elektrischer Energie.
2. Vorrichtung nach Anspruch 1, dadurch gekennzeichnet, dass der Beschleunigungssensor (20) in dem vorderen Abschnitt (11) angeordnet ist.
2. Vorrichtung nach Anspruch 1, dadurch gekennzeichnet, dass der Beschleunigungssensor (20) in dem vorderen Abschnitt (11) angeordnet ist.
3. Vorrichtung nach einem Anspruch 1 oder 2, dadurch gekennzeichnet, dass die Aktivierungseinrichtung (60) als Druckknopf ausgestaltet ist.
3. Vorrichtung nach einem Anspruch 1 oder 2, dadurch gekennzeichnet, dass die Aktivierungseinrichtung (60) als Druckknopf ausgestaltet ist.
4. Vorrichtung nach einem der Ansprüche 1 bis 3, dadurch gekennzeichnet, dass die Auswertungsdaten (AD) eine Amplitude des Tremors oder eine Frequenz des Tremors oder einen Energiegehalt des Tremors umfassen.
4. Vorrichtung nach einem der Ansprüche 1 bis 3, dadurch gekennzeichnet, dass die Auswertungsdaten (AD) eine Amplitude des Tremors oder eine Frequenz des Tremors oder einen Energiegehalt des Tremors umfassen.
5. Vorrichtung nach einem der Ansprüche 1 bis 4, gekennzeichnet durch eine Schnittstelle, zweckmäßigerweise eine drahtlose Schnittstelle (80), zum Übertragen der Auswertungsdaten (AD).
5/6
5. Vorrichtung nach einem der Ansprüche 1 bis 4, gekennzeichnet durch eine Schnittstelle, zweckmäßigerweise eine drahtlose Schnittstelle (80), zum Übertragen der Auswertungsdaten (AD).
6. Vorrichtung nach einem der Ansprüche 1 bis 5, gekennzeichnet durch einen Lautsprecher (90) zum Ausgeben von akustischen Signalen.
6. Vorrichtung nach einem der Ansprüche 1 bis 5, gekennzeichnet durch einen Lautsprecher (90) zum Ausgeben von akustischen Signalen.
7. Vorrichtung nach einem der Ansprüche 1 bis 6, dadurch gekennzeichnet, dass das Gehäuse (10) eine Länge (L) zwischen 10 cm und 20 cm, insbesondere zwischen 14 cm und 17 cm, in der Längsrichtung (x) hat und zweckmäßigerweise einen Durchmesser (d) zwischen 10 mm und 40 mm, insbesondere zwischen 15 mm und 30 mm, aufweist;
wobei zweckmäßigerweise der vordere Abschnitt (11) zwischen 10% und 60% der Länge (L) aufweist, der mittlere Abschnitt (12) zwischen 10% und 60% der Länge (L) aufweist und der hintere Abschnitt (13) zwischen 10% und 60% der Länge (L) aufweist;
wobei ferner zweckmäßigerweise das Gehäuse (10) zumindest in dem vorderen Abschnitt (11) sich in der Längsrichtung (x) konisch verjüngend ausgestaltet ist.
7. Vorrichtung nach einem der Ansprüche 1 bis 6, dadurch gekennzeichnet, dass das Gehäuse (10) eine Länge (L) zwischen 10 cm und 20 cm, insbesondere zwischen 14 cm und 17 cm, in der Längsrichtung (x) hat und zweckmäßigerweise einen Durchmesser (d) zwischen 10 mm und 40 mm, insbesondere zwischen 15 mm und 30 mm, aufweist;
wobei zweckmäßigerweise der vordere Abschnitt (11) zwischen 10% und 60% der Länge (L) aufweist, der mittlere Abschnitt (12) zwischen 10% und 60% der Länge (L) aufweist und der hintere Abschnitt (13) zwischen 10% und 60% der Länge (L) aufweist;
wobei ferner zweckmäßigerweise das Gehäuse (10) zumindest in dem vorderen Abschnitt (11) sich in der Längsrichtung (x) konisch verjüngend ausgestaltet ist.
8. Vorrichtung nach einem der Ansprüche 1 bis 7, gekennzeichnet durch eine Platine (100), auf welcher der Beschleunigungssensor (20), die Auswertungseinrichtung (30), die Speichereinrichtung (40), die Anzeigeeinrichtung (50), die Aktivierungseinrichtung (60), die Batterie (70), die drahtlose Schnittstelle (80) oder der Lautsprecher (90) angeordnet sind, wobei zweckmäßigerweise die Platine (100) formschlüssig oder kraftschlüssig in dem Gehäuse (10) gehalten ist und wobei ferner zweckmäßigerweise das Gehäuse (10) wenigstens eine Führungsschiene (14, 15) zum Aufnehmen der Platine (100) aufweist.
8. Vorrichtung nach einem der Ansprüche 1 bis 7, gekennzeichnet durch eine Platine (100), auf welcher der Beschleunigungssensor (20), die Auswertungseinrichtung (30), die Speichereinrichtung (40), die Anzeigeeinrichtung (50), die Aktivierungseinrichtung (60), die Batterie (70), die drahtlose Schnittstelle (80) oder der Lautsprecher (90) angeordnet sind, wobei zweckmäßigerweise die Platine (100) formschlüssig oder kraftschlüssig in dem Gehäuse (10) gehalten ist und wobei ferner zweckmäßigerweise das Gehäuse (10) wenigstens eine Führungsschiene (14, 15) zum Aufnehmen der Platine (100) aufweist.
9. Vorrichtung nach einem der Ansprüche 1 bis 8, dadurch gekennzeichnet, dass die Anzeigeeinrichtung (50) in dem mittleren Abschnitt (12) und zweckmäßigerweise die Batterie (70) in dem hinteren Abschnitt (13) angeordnet sind, wobei zweckmäßigerweise das Gehäuse (10) mit wenigstens einer Öffnung (16, 17) zur Aufnahme der Anzeigeeinrichtung (50), der Aktivierungseinrichtung (60) oder des Lautsprechers (90) versehen ist.
9. Vorrichtung nach einem der Ansprüche 1 bis 8, dadurch gekennzeichnet, dass die Anzeigeeinrichtung (50) in dem mittleren Abschnitt (12) und zweckmäßigerweise die Batterie (70) in dem hinteren Abschnitt (13) angeordnet sind, wobei zweckmäßigerweise das Gehäuse (10) mit wenigstens einer Öffnung (16, 17) zur Aufnahme der Anzeigeeinrichtung (50), der Aktivierungseinrichtung (60) oder des Lautsprechers (90) versehen ist.
10. Vorrichtung nach einem der Ansprüche 1 bis 9, dadurch gekennzeichnet, dass das Gehäuse (10) einen abnehmbaren Deckel (19) zum Einlegen der Batterie (70) aufweist, wobei zweckmäßigerweise die Platine (100) durch den Deckel (19) in dem Gehäuse (10) eingespannt ist.
10. Vorrichtung nach einem der Ansprüche 1 bis 9, dadurch gekennzeichnet, dass das Gehäuse (10) einen abnehmbaren Deckel (19) zum Einlegen der Batterie (70) aufweist, wobei zweckmäßigerweise die Platine (100) durch den Deckel (19) in dem Gehäuse (10) eingespannt ist.
11. Vorrichtung nach einem der Ansprüche 1 bis 10, dadurch gekennzeichnet, dass das Gehäuse (10) aus Kunststoff, insbesondere Polykarbonat, besteht.
11. Vorrichtung nach einem der Ansprüche 1 bis 10, dadurch gekennzeichnet, dass das Gehäuse (10) aus Kunststoff, insbesondere Polykarbonat, besteht.
12. Verfahren zum Erfassen und Auswerten von Tremor im Hand- oder Armbereich eines Patienten mit Hilfe von einer Vorrichtung (1) nach einem der Ansprüche 1 bis 11, umfassend die Schritte:
12. Verfahren zum Erfassen und Auswerten von Tremor im Hand- oder Armbereich eines Patienten mit Hilfe von einer Vorrichtung (1) nach einem der Ansprüche 1 bis 11, umfassend die Schritte:
13. Verfahren nach Anspruch 12, dadurch gekennzeichnet, dass die Messdaten (MD) durch die Auswertungseinrichtung (40) gefiltert und zweckmäßigerweise von dem Zeitbereich in den Frequenzbereich transformiert werden.
13. Verfahren nach Anspruch 12, dadurch gekennzeichnet, dass die Messdaten (MD) durch die Auswertungseinrichtung (40) gefiltert und zweckmäßigerweise von dem Zeitbereich in den Frequenzbereich transformiert werden.
14. Verfahren nach Anspruch 12 oder 13, dadurch gekennzeichnet, dass die Messdauer (T1) weniger als 60 Sekunden, insbesondere weniger als 40 Sekunden, bevorzugt ca. 30 Sekunden, beträgt, wobei zweckmäßigerweise die Auswertungsdauer (T2) weniger als 10 Sekunden beträgt, und wobei zweckmäßigerweise die Anzeigedauer (T3) wenigstens 20 Sekunden, insbesondere mehr als 45 Sekunden, beträgt.
14. Verfahren nach Anspruch 12 oder 13, dadurch gekennzeichnet, dass die Messdauer (T1) weniger als 60 Sekunden, insbesondere weniger als 40 Sekunden, bevorzugt ca. 30 Sekunden, beträgt, wobei zweckmäßigerweise die Auswertungsdauer (T2) weniger als 10 Sekunden beträgt, und wobei zweckmäßigerweise die Anzeigedauer (T3) wenigstens 20 Sekunden, insbesondere mehr als 45 Sekunden, beträgt.
15. Verfahren nach einem der Ansprüche 12 bis 14, dadurch gekennzeichnet, dass durch den Lautsprecher (90) zu Beginn der Messdauer (T1) oder zu Beginn Auswertungsdauer (T2) oder zu Beginn der Anzeigedauer (T3) wenigstens ein akustisches Signal abgegeben wird, wobei zweckmäßigerweise wenigstens ein weiteres akustisches Signal am Ender der Messdauer (T1) oder am Ende der Auswertungsdauer (T2) oder am Ende der Anzeigedauer (T3) abgegeben wird.
15. Verfahren nach einem der Ansprüche 12 bis 14, dadurch gekennzeichnet, dass durch den Lautsprecher (90) zu Beginn der Messdauer (T1) oder zu Beginn Auswertungsdauer (T2) oder zu Beginn der Anzeigedauer (T3) wenigstens ein akustisches Signal abgegeben wird, wobei zweckmäßigerweise wenigstens ein weiteres akustisches Signal am Ender der Messdauer (T1) oder am Ende der Auswertungsdauer (T2) oder am Ende der Anzeigedauer (T3) abgegeben wird.
16/31
17/31
18/31
Aktivieren der Vorrichtung (1) mittels der Aktivierungseinrichtung (60);
Halten der Vorrichtung (1) derart, dass das dritte Fingerglied (Phalanx distalis) von wenigstens einem Finger (F) der Hand (H) des Patienten an dem wenigstens einen ersten Abstützpunkt (AP1), den das Gehäuse (10) bildet, und der hintere Abschnitt (13) des Gehäuses (10) in dem Zwischenraum zwischen Daumen (D) und Zeigefinger (Z) der Hand (H) des Patienten an dem wenigstens einen zweiten Abstützpunkt (AP2), den das Gehäuse (10) bildet, abgestützt wird;
Messen von Messdaten (MD) über den Tremor mittels des Beschleunigungssensors (20) während einer bestimmten Messdauer (T1);
Auswerten der Messdaten (MD) und Bereitstellen von Auswertungsdaten (AD) mittels der Auswertungseinrichtung (30) während einer vorbestimmten Auswertungsdauer (T2);
Speichern der Messdaten (MD) oder der Auswertungsdaten (AD) mittels der Speichereinrichtung (40);
Anzeigen der Auswertungsdaten (AD) mittels der Anzeigeeinrichtung (50) für eine vorbestimmte Anzeigedauer (T3) und
Deaktivieren der Vorrichtung (1) nach Ablauf der Anzeigedauer (T3).
19/31
24/31
26/31
Patentansprüche
27/31 [ ZULETZT VORGELEGTE ANSPRÜCHE*)
Speichereinrichtung (40), die Anzeigeeinrichtung (50) oder die Aktivierungseinrichtung (60) mit elektrischer Energie zu versorgen.
28/31
ZULETZT VORGELEGTE ANSPRÜCHE
29/31 ( ZULETZT VORGELEGTE ANSPRÜCHE)
Aktivieren der Vorrichtung (1) mittels der Aktivierungseinrichtung (60);
Halten der Vorrichtung (1) derart, dass das dritte Fingerglied (Phalanx distalis) von wenigstens einem Finger (F) der Hand (H) des Patienten an dem wenigstens einen ersten Abstützpunkt (AP1), den das Gehäuse (10) bildet, und der hintere Abschnitt (13) des Gehäuses (10) in dem Zwischenraum zwischen Daumen (D) und Zeigefinger (Z) der Hand (H) des Patienten an dem wenigstens einen zweiten Abstützpunkt (AP2), den das Gehäuse (10) bildet, abgestützt wird;
Messen von Messdaten (MD) über den Tremor mittels des Beschleunigungssensors (20) während einer bestimmten Messdauer (T1);
Auswerten der Messdaten (MD) und Bereitstellen von Auswertungsdaten (AD) mittels der Auswertungseinrichtung (30) während einer vorbestimmten Auswertungsdauer (T2);
Speichern der Messdaten (MD) oder der Auswertungsdaten (AD) mittels der Speichereinrichtung (40);
Anzeigen der Auswertungsdaten (AD) mittels der Anzeigeeinrichtung (50) für eine vorbestimmte Anzeigedauer (T3) und
Deaktivieren der Vorrichtung (1) nach Ablauf der Anzeigedauer (T3).
30/31
ZULETZT VORGELEGTE ANSPRÜCHE
31/31 [ ZULETZT VORGELEGTE ANSPRÜCHE ]
Priority Applications (1)
| Application Number | Priority Date | Filing Date | Title |
|---|---|---|---|
| ATA50161/2018A AT520751B1 (de) | 2018-02-22 | 2018-02-22 | Vorrichtung zum Erfassen und Auswerten von Tremor |
Applications Claiming Priority (1)
| Application Number | Priority Date | Filing Date | Title |
|---|---|---|---|
| ATA50161/2018A AT520751B1 (de) | 2018-02-22 | 2018-02-22 | Vorrichtung zum Erfassen und Auswerten von Tremor |
Publications (2)
| Publication Number | Publication Date |
|---|---|
| AT520751A4 true AT520751A4 (de) | 2019-07-15 |
| AT520751B1 AT520751B1 (de) | 2019-07-15 |
Family
ID=67209572
Family Applications (1)
| Application Number | Title | Priority Date | Filing Date |
|---|---|---|---|
| ATA50161/2018A AT520751B1 (de) | 2018-02-22 | 2018-02-22 | Vorrichtung zum Erfassen und Auswerten von Tremor |
Country Status (1)
| Country | Link |
|---|---|
| AT (1) | AT520751B1 (de) |
Families Citing this family (1)
| Publication number | Priority date | Publication date | Assignee | Title |
|---|---|---|---|---|
| IT202000006793A1 (it) * | 2020-03-31 | 2021-10-01 | Milano Politecnico | Strumento di scrittura, sistema e metodo per il monitoraggio e l'analisi trasparente della scrittura |
Citations (3)
| Publication number | Priority date | Publication date | Assignee | Title |
|---|---|---|---|---|
| WO2011141734A1 (en) * | 2010-05-14 | 2011-11-17 | Manus Neurodynamica Ltd | Apparatus for use in diagnosing and/or treating neurological disorder |
| AT515976A1 (de) * | 2014-06-26 | 2016-01-15 | Forschungsgesellschaft Der Fachhochschule Kärnten Mbh | Vorrichtung zum Erfassen von Tremor |
| WO2016133621A1 (en) * | 2015-02-20 | 2016-08-25 | Verily Life Sciences Llc | Measurement and collection of human tremors through a handheld tool |
-
2018
- 2018-02-22 AT ATA50161/2018A patent/AT520751B1/de not_active IP Right Cessation
Patent Citations (3)
| Publication number | Priority date | Publication date | Assignee | Title |
|---|---|---|---|---|
| WO2011141734A1 (en) * | 2010-05-14 | 2011-11-17 | Manus Neurodynamica Ltd | Apparatus for use in diagnosing and/or treating neurological disorder |
| AT515976A1 (de) * | 2014-06-26 | 2016-01-15 | Forschungsgesellschaft Der Fachhochschule Kärnten Mbh | Vorrichtung zum Erfassen von Tremor |
| WO2016133621A1 (en) * | 2015-02-20 | 2016-08-25 | Verily Life Sciences Llc | Measurement and collection of human tremors through a handheld tool |
Also Published As
| Publication number | Publication date |
|---|---|
| AT520751B1 (de) | 2019-07-15 |
Similar Documents
| Publication | Publication Date | Title |
|---|---|---|
| DE69128044T2 (de) | Verfahren und Gerät zur Anzeige und Auswertung der Schluckbewegung eines Patienten | |
| DE69216404T2 (de) | Vorrichtung zum bestimmen des zustands des vegetativen nervensystems | |
| DE69726447T2 (de) | Implantierbares medizinisches gerät mit beschleunigungssensor | |
| DE69603326T2 (de) | Spreiseröhrenkatheter mit messvorrichtung | |
| DE10211765B4 (de) | Vorrichtung zur Lokalisation des Zielpunktes von Elektroden zur Hirnstimulation, insbesondere zur Tiefenhirnstimulation | |
| DE102007060551A1 (de) | Vorrichtung und Verfahren für selbst ausgeführte EKG-Untersuchungen | |
| DE69127543T2 (de) | Klinisches gerät sowie griff | |
| EP0802766B1 (de) | Tragbares medizinisches mess- und diagnosegerät | |
| AT520751B1 (de) | Vorrichtung zum Erfassen und Auswerten von Tremor | |
| EP3672484B1 (de) | Vorrichtung zum erfassen, auswerten und differenzieren von tremor und bradykinese und verfahren zum erfassen, auswerten und differenzieren von tremor | |
| DE2810344C2 (de) | ||
| EP1417926A1 (de) | Verfahren und Vorrichtung zum nichtinvasiven Messen des Blutflusses sowie zum Erfassen und Bearbeiten eines EKG-Signals und Verwendung eines EKG-Geräts | |
| DE19602347A1 (de) | Herzdiagnosegerät | |
| WO1989003194A1 (fr) | Procede et equipement pour mesurer indirectement la pression sanguine et le pouls, en particulier chez l'homme | |
| DE202023103512U1 (de) | Chronische Elektroneurografie des Rückenmarks als Parameter zur Früherkennung degenerativer Nervenerkrankungen wie diabetische Neuropathie | |
| DE2944600A1 (de) | Verfahren und geraet zum nachweis der bewegung von koerpergewebe | |
| DE102012018124A1 (de) | Isometrische Finger-Greifkraft-Ziel-Messvorrichtung | |
| DE4140055A1 (de) | Vorrichtung zur funktionsdiagnose des kontinenzorgans | |
| DE4235079A1 (de) | Vorrichtung zum Untersuchen des Auges, insbesondere des menschlichen Auges | |
| DE10250273A1 (de) | Vorrichtung zur akustischen Zustandskontrolle von implantierten mechnischen Herzklappenprothesen | |
| DE102023116506B4 (de) | Kraftsensor | |
| DE102021005907B4 (de) | Mechanischer Pulsmeter | |
| DE19631577C2 (de) | Anordnung zur Überwachung eines Feten während der Geburt | |
| DE102012218673A1 (de) | Vorrichtung und Verfahren zur Messung des Verankerungszustandes von Implantaten | |
| DE102004023966A1 (de) | Vorrichtung mit einer Sensoreinheit zur Erfassung wenigstens einer von einer Körperfunktion abhängigen Kenngröße |
Legal Events
| Date | Code | Title | Description |
|---|---|---|---|
| MM01 | Lapse because of not paying annual fees |
Effective date: 20230222 |









